|
|
(21), (22) Заявка: 2008105057/09, 08.02.2008
(24) Дата начала отсчета срока действия патента:
08.02.2008
(46) Опубликовано: 10.06.2009
(56) Список документов, цитированных в отчете о поиске:
РЫЖКОВ К.В., Сто великих открытий. – М.: ВЕЧЕ, 2005, с.92-94, рис.50-14. SU 335769 А, 29.06.1972. SU 33893 А, 31.01.1934. RU 2313884 С2, 27.12.2007. RU 2294587 С1, 27.02.2007. GB 1261556 А, 26.01.1972. WO 2006029551 А1, 23.03.2006.
Адрес для переписки:
620039, г.Екатеринбург, ул. Лукиных, 4, кв.57, И.Н. Чулкову
|
(72) Автор(ы):
Чулков Илья Николаевич (RU)
(73) Патентообладатель(и):
Чулков Илья Николаевич (RU)
|
(54) ЭЛЕКТРИЧЕСКАЯ МАШИНА
(57) Реферат:
Изобретение относится к области электротехники, а именно к электрическим машинам, и может быть использовано для передачи крутящего момента, например, к колесам электротранспортного средства, валку прокатного стана и прочему. Технический результат – повышение КПД, мощности, скорости, ускорения и равномерности вращения, снижение массы и пускового тока якоря, удешевление машины и снижение вредного воздействия магнитного поля на человека. Указанный технический результат достигается тем, что электрическая машина содержит установленные в корпусе кольцевой якорь с обмоткой, обмотку возбуждения и коллектор со щетками, по меньшей мере, три шестерни, удерживающие якорь и установленные с возможностью вращения вокруг своих осей, закрепленных в корпусе, по периметру большой окружности якоря выполнены зубья, находящиеся в зацеплении с зубьями шестерен. Обмотка возбуждения образует полый тор, охватывающий всю обмотку якоря, обмотка возбуждения является двухполюсным электромагнитом для охватываемого данной обмоткой участка обмотки якоря, а пластины коллектора прикреплены по окружности малого диаметра якоря непосредственно к виткам его обмотки. 8 з.п. ф-лы, 5 ил.
Изобретение относится к коллекторным машинам и может быть использовано для передачи крутящего момента, например, к колесам электротранспорта, валку прокатного стана и прочее.
Известны электрические двигатели для передачи крутящего момента к потребителю, однако всех их характеризует наличие якоря (или ротора), насаженного на вал, который его удерживает, и вращающегося вокруг него.
Известен, например, коллекторный электродвигатель по авторскому свидетельству СССР 335769, Н02К 23/66, Н02Р 5/08, содержащий установленный в корпусе малоинерционный якорь с обмоткой, который закреплен на валу с возможностью вращения, коллектор, магнитные полюса и центробежный регулятор скорости.
Основным недостатком является наличие удерживающего якорь вала, не позволяющего использовать силу магнитного поля внутри якорной обмотки, что снижает КПД двигателя.
Известна также динамо-машина Грамма (источник: «Сто великих изобретений», К.В.Рыжков, М., «ВЕЧЕ», 2005, с.92-94, рис.50-14), принятая за прототип и содержащая кольцевой якорь со спиральной замкнутой на себя обмоткой, который закреплен на валу с возможностью вращения, коллектор с двумя щетками, установленный на том же валу, неподвижные полюса электромагнитов (обмотка возбуждения). Кольцевая обмотка якоря намотана на изолированные друг от друга отдельные железные проволоки, скрепленные железными спицами с многослойным коллектором, и изолирована от его токоведущих частей. Обмотки возбуждения навиты на большие цилиндрические электромагниты, расположенные диаметрально противоположно друг другу и под углом 90 градусов к щеткам, которые прилегают к коллектору с диаметрально противоположных сторон. Вся конструкция, в том числе вал, удерживающий якорь, закреплены между двумя массивными железными вертикальными стойками, соединенными снизу и сверху тяжелыми, с большим количеством слоев обмотки стержнями двух электромагнитов. Полюсы этих электромагнитов расположены в середине стоек и обращены друг к другу.
Каждая щетка контактирует с коллектором практически в одной точке, что приводит к прерывистой коммутации и неравномерности вращения двигателя.
Наличие вала, массивных железных стоек, якоря, содержащего сердцевину из железной проволоки, железных спиц, массивного коллектора и обмотки возбуждения с большим количеством витков увеличивает массу устройства и расход металла, что удорожает его.
Обмотка возбуждения и обмотка якоря составляют одну последовательную электрическую цепь, поэтому ток, выполнив свою работу по созданию магнитного поля в обмотке якоря, теряет значительную часть энергии и ослабленным поступает в обмотку возбуждения, где создает соответствующее магнитное поле в полюсах машины. Для обеспечения работоспособности машины используют обмотку возбуждения большой массы, что повышает массу машины и удорожает ее.
Использование каждого электромагнита как одного полюса, северного или южного, требует расположить их диаметрально противоположно относительно якоря. Это требует создания сильного магнитного поля с длинными силовыми линиями, проходящими от северного магнитного полюса к южному через якорь, и приводит к использованию обмотки возбуждения с большим количеством витков, что повышает активное сопротивление этой обмотки, приводящее к потерям тока, и снижает КПД машины.
Магнитные линии, проходя через сердечник якоря, собранный из изолированных друг от друга железных проволок, нагревают его и обмотку якоря. В результате повышается сопротивление, что увеличивает потери тока и снижает КПД машины.
Соединение проволочного кольца сердечника якоря с одним из изолированных слоев многослойного коллектора выполнено при помощи железных спиц, утяжеляющих машину, которые пронизывают силовые линии магнитных полей якоря и обмотки возбуждения, что нагревает их и все соприкасающиеся с ними детали. Это снижает КПД машины.
Щетки касаются коллекторных пластин на линии геометрической нейтрали (линия, находящаяся в плоскости, расположенной посередине между электромагнитами и центральной осью машины), поэтому ток якоря протекает через спирали кольцевой обмотки, расположенные параллельно линии геометрической нейтрали. Максимальное взаимодействие (отталкивание) магнитных полей якоря и обмотки возбуждения происходит в плоскости, проходящей через линию геометрической нейтрали и ось вала машины.
Силовые линии магнитного поля обмотки возбуждения проходят расстояние от северного магнитного полюса к южному через железные насадки и якорь. Создание столь длинных силовых магнитных линий обеспечивает применение массивной, с большим количеством витков обмотки возбуждения. Такие обмотки возбуждения создают кроме полезных силовых линий магнитных полей (используемых для работы машины) еще и паразитные силовые линии, пронизывающие пространство вне кольцевой обмотки, которые оказывают вредное воздействие на человека.
Между электромагнитами расположены особой формы железные насадки, которые входят в пространство между ними и охватывают кольцевой якорь. Насадки нагреваются от магнитного поля обмоток возбуждения, проходящего через них, что приводит к потерям тока, снижая КПД машины, а также утяжеляют и удорожают ее.
Машина Грамма имеет невысокую мощность, поскольку наиболее эффективное взаимодействие (отталкивание) магнитных полей якоря и обмоток возбуждения происходит только в одной плоскости, проходящей через линию геометрической нейтрали и центральную ось вала машины. Это снижает скорость вращения якоря и не позволяет быстро изменять скорость его вращения (ускорение), а также повышает пусковой ток якоря для запуска машины.
Две железные стойки, соединенные снизу и сверху стержнями двух электромагнитов, пронизываются силовыми линиями магнитных полей обмоток возбуждения, что нагревает их и увеличивает потери тока в обмотках возбуждения, снижая КПД машины.
Наличие вала, вокруг которого вращается якорь, и металлических стержней внутри двух электромагнитов, на которые навиты обмотки возбуждения, т.е. наличие заполненного пространства внутри обмоток, не позволяет использовать силу магнитного поля внутри этих обмоток. Это также снижает КПД машины.
В машине используют многослойный с изолированными слой от слоя и от вала машины массивный коллектор с крупными контактными коллекторными пластинами в виде секторов цилиндра, что не только утяжеляет конструкцию, но и косвенно влияет на снижение КПД машины.
Задачей изобретения является повышение КПД, мощности, скорости, ускорения и равномерности вращения, снижение массы и пускового тока якоря, удешевление машины и снижение влияния ее магнитного поля на человека.
Электрическая машина содержит установленные в корпусе кольцевой якорь с обмоткой, обмотку возбуждения и коллектор со щетками.
В отличие от прототипа она снабжена, по меньшей мере, тремя шестернями, удерживающими якорь и установленными с возможностью вращения вокруг своих осей, закрепленных в корпусе, по периметру большой окружности якоря выполнены зубья, находящиеся в зацеплении с зубьями шестерен, обмотка возбуждения образует полый тор, охватывающий всю обмотку якоря, обмотка возбуждения является двухполюсным электромагнитом для охватываемого ею участка обмотки якоря, пластины коллектора прикреплены по окружности малого диаметра якоря непосредственно к виткам его обмотки.
Корпус выполнен в форме полого тора. Шестерни выполнены с выступами по окружности для фиксации якоря, между которыми он вращается.
Количество обмоток возбуждения от одной до n. Каждая обмотка возбуждения имеет собственный источник питания. Каждый участок обмотки якоря, охватываемый одной независимой обмоткой возбуждения, имеет собственный источник питания.
Щетки разнополярными парами закреплены в корпусе по окружности с внутренней стороны обмотки якоря между витками обмоток возбуждения, количество щеточных пар равно числу независимых обмоток возбуждения. Одна из шестерен связана с полезной нагрузкой. Обмотка якоря намотана на кольцо якоря через пазы, выполненные на вершинах зубьев якоря.
Наличие шестерен, удерживающих якорь, обеспечивает возможность его вращения без центрального вала, а также возможность размещения обмотки якоря внутри обмоток возбуждения, что позволяет использовать силовые линии магнитного поля, замыкающиеся по кругу внутри обмоток возбуждения и не выходящие наружу. Это повышает КПД двигателя и снижает вредное воздействие магнитного поля на человека.
Расположение обмотки якоря внутри обмоток возбуждения позволяет использовать обмотки возбуждения с малым количеством витков. Ток, протекая по этим обмоткам, создает короткие силовые линии магнитного поля. Силовые линии магнитного поля соседних обмоток возбуждения суммируются и образуют практически круглые и замкнутые сами на себя кольцевые силовые линии магнитного поля, не выходящие за пределы витков этих обмоток, что делает заявляемый двигатель максимально безопасным по сравнению с прототипом.
Взаимодействие каждой обмотки возбуждения с охватываемым ею участком обмотки якоря, находящихся в разных плоскостях, обеспечивает запуск машины суммой малых пусковых токов, проходящих по каждому независимо запитанному участку обмотки якоря. Кроме того, пересечение силовых линий магнитных полей всех обмоток происходит в максимально возможных плоскостях, проходящих через центральную воображаемую ось вращения якоря, что обеспечивает возможность увеличения мощности машины, скорости вращения и ускорения.
Каждый участок обмотки якоря, охватываемый одной независимой обмоткой возбуждения, представляет собой один двухполюсной электромагнит, который взаимодействует с обмоткой якоря одновременно своим северным и южным магнитными полюсами, что позволяет использовать один электромагнит вместо двух в прототипе. Это снижает массу машины, удешевляя ее, снижает активное сопротивление всех обмоток и потери тока, ведущие к повышению КПД машины.
Расстояние между витками обмотки возбуждения и якоря минимальное. Это позволяет использовать слабое магнитное поле по сравнению с прототипом и уменьшить количество витков в обмотке возбуждения, что снижает активное сопротивление провода и потери тока на тепловыделение.
В заявляемой машине одна двухполюсная, одновитковая обмотка возбуждения по отношению к охватываемой ею якорной обмотке заменяет два тяжелых однополюсных электромагнита обмотки возбуждения в прототипе. Если рассматривать единственный виток обмотки возбуждения заявляемой машины как один виток соленоида, по которому протекает электрический ток, то силовые линии магнитного поля, пронизывающие его, будут замкнуты и расположены по окружности с радиусом r вокруг поперечного сечения провода этого соленоида. Максимальное отталкивание магнитного поля каждого витка якоря от магнитного поля витка обмотки возбуждения, охватывающего этот виток якоря, происходит в одной плоскости. Условием работы заявляемой машины является постоянное отталкивание встречных магнитных полей якоря и обмотки возбуждения на суммарном протяжении встречных радиусов своих силовых линий.
Если принять магнитное поле якоря минимальным по значению, то радиус r силовой линии магнитного поля средней длины обмотки возбуждения будет равным среднему межвитковому расстоянию якорной обмотки. Силовая линия обмотки возбуждения должна дотянуться до плоскости, охватываемой следующим витком якорной обмотки, чтобы отталкивание поля якоря от поля обмотки возбуждения проходило по всему радиусу этой линии от центра к периферии. Вращение якоря сопровождается перемещением витка якорной обмотки вдоль радиуса силовой магнитной линии обмотки возбуждения и при прохождении им межвиткового расстояния в плоскости, пересекающей виток обмотки возбуждения, входит в следующий виток якорной обмотки, и отталкивание продолжается далее.
Сравним магнитные поля обмоток возбуждения заявляемой машины, фиг.4, и прототипа, фиг.5. Для удобства расчета размеры якоря заявляемой машины и прототипа примем равными, а отношение внешнего радиуса этих якорей R к радиусу поперечного сечения тора этих якорей R1 примем 1:7. Радиус поперечного сечения тора якорей R1 примерно в 6 раз больше межвиткового расстояния r (фиг.2).

где r – радиус силовой линии магнитного поля средней длины от одного витка обмотки возбуждения (общее среднее расстояние между витками обмоток возбуждения и якоря);
R1 – радиус поперечного сечения тора якоря.
Средняя длина силовой линии магнитного поля (окружности) каждого витка обмоток возбуждения заявляемой машины составит:

где L – средняя длина силовой линии магнитного поля одного витка обмотки возбуждения заявляемой машины;
– постоянное число «пи»;
r – радиус силовой линии магнитного поля средней длины от одного витка обмотки возбуждения (общее среднее расстояние между витками обмоток возбуждения и якоря в заявляемой машине);
R1 – радиус поперечного сечения тора якоря.
В прототипе полезная силовая линия магнитного поля обмоток возбуждения средней длины 22 (фиг.5) замкнута и пронизывает электромагниты в четырех местах, между которыми расположены особой формы железные насадки, входящие в пространство между электромагнитами и охватывающие кольцевой якорь. Радиус каждого электромагнита визуально в 3 раза больше радиуса поперечного сечения тора якоря R1. Подсчитаем сначала часть длины средней (полезной) силовой магнитной линии, проходящей через электромагниты в четырех местах, равную 4 R1. Остальную часть длины силовой магнитной линии можно мысленно замкнуть в правильный круг, пересекающий все витки якорной обмотки, фиг.5.
Для прототипа средняя длина (полезной) силовой магнитной линии составит:

где L1 – средняя длина (полезной) силовой линии магнитного поля от обмоток возбуждения в прототипе;
– постоянное число «пи»;
R – внешний радиус якоря;
R1 – радиус поперечного сечения тора якоря.
Из формул (2) и (3) следует, что средняя длина силовой магнитной линии от одного витка обмотки возбуждения в заявляемой машине в 53,3 раза меньше, чем от двух электромагнитов обмотки возбуждения в прототипе, это позволяет снизить массу медного провода в обмотке возбуждения в 53,3 раза. Это снижает массу машины, удешевляет ее и уменьшает вредное воздействие магнитного поля на человека.
Наличие зубчатого зацепления между шестернями и якорем обеспечивает передачу крутящего момента от якоря шестерням и потребителю через приводную шестерню.
Наличие выступов по окружности шестерен, например, в виде ободков, между которыми расположены зубья, обеспечивает надежную фиксацию зубчатого зацепления.
Подбирая диаметры шестерней и якоря и размеры их зубьев, получают необходимый момент силы для потребителя. Таким образом, машина выполняет дополнительную функцию редуктора.
Масса шестерен меньше массы вала, на котором крепят якорь в прототипе, что снижает массу машины (~ на 70%). Визуально из 30% вала якоря в прототипе можно изготовить требуемые шестерни.
Применение графитовых щеток в заявляемой машине взамен латунных в прототипе позволяет сузить ширину коллекторных пластин не менее чем в 5 раз, а закрепление коллекторных пластин непосредственно к виткам обмотки якоря по окружности его внутреннего диаметра позволяет увеличить длину окружности коллектора в 2,5 раза. Это приводит к увеличению числа коллекторных пластин в 12,5 раз, снижению массы меди на их изготовление, так как используют небольшие и тонкие прямоугольные пластины в сравнении с прототипом, где используются пластины в виде секторов цилиндра. Это улучшает коммутацию и равномерность вращения машины, снижает силу трения между щетками и коллектором, повышает КПД машины.
Закрепление щеточных пар между витками обмоток возбуждения в корпусе и при количестве щеточных пар, равных числу независимых разделенных обмоток возбуждения, обеспечивает непрерывную коммутацию обмоток возбуждения. На каждую обмотку возбуждения параллельно подается напряжение, что приводит к постоянному взаимному отталкиванию магнитных полей обмоток возбуждения и якоря. Это повышает равномерность вращения двигателя.
Отсутствие центрального вала, на котором закреплены якорь и коллектор в прототипе, обеспечивает возможность выполнения корпуса в виде кожуха в форме полого тора в заявляемом двигателе, что снижает его массу.
Намотка обмотки якоря на кольцо якоря через пазы, выполненные на вершинах зубьев якоря, охватывает каждым витком максимально возможную площадь и, как следствие, обеспечивает максимально возможный магнитный поток якоря.
Таким образом, все заявляемые признаки являются существенными и решают поставленную задачу.
Изобретение представлено на чертежах.
Фиг.1 – электрическая машина.
Фиг.2 – фрагмент кольцевого якоря, увеличено.
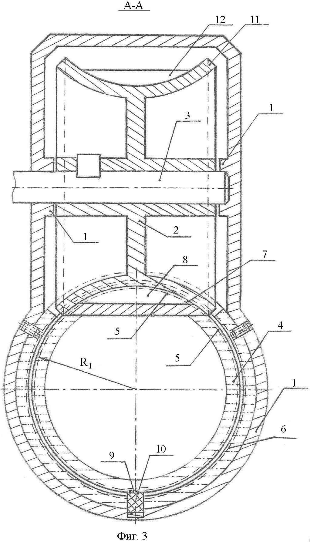
Фиг.3 – разрез по А-А на фиг.1.
Фиг.4 – расположение силовых линий магнитных полей обмоток возбуждения и якоря в заявляемой машине.
Фиг.5 – расположение силовых линий магнитных полей обмоток возбуждения и якоря в прототипе.
Заявляемая машина, фиг.1, 2, 3, содержит тороидальный корпус 1 и закрепленные в нем шестерни 2, вращающиеся вокруг своих осей на валах 3 и удерживающие вращающийся кольцевой зубчатый якорь 4 с обмоткой 5 и находящиеся с ним в зубчатом зацеплении, неподвижную обмотку возбуждения 6, охватывающую обмотку якоря 5. Обмотка возбуждения 6 залита компаундом, например эпоксидной смолой, имеет вырезы для шестерен 2, закреплена в корпусе 1 и образует полый тор, в котором вращается якорь 4. Обмотка возбуждения 6 может состоять из множества независимых и разделенных обмоток, каждая из которых соединена с независимым источником питания (не показано). Обмотка якоря 5 намотана на кольцо якоря 4 через пазы 7, выполненные в зубьях якоря 8. Коллектор состоит из пластин 9, впрессованных по окружности малого диаметра якоря 4 непосредственно в витки его обмотки 5, фиг.2. Токопередающие разнополярные пары графитовых щеток 10 (одна – минусовая, другая – плюсовая) закреплены в корпусе по окружности внутреннего диаметра между витками обмоток возбуждения 6. Количество щеточных пар равно числу независимых разделенных обмоток возбуждения 6. Одна из шестерен 2, которая является приводной для полезной нагрузки, т.е. передает крутящий момент, например, к колесам электротранспорта и т.п., выполнена в виде вала-шестерни. Шестерни 2 имеют выступы 11 по окружности и зубья 12, фиг.3. Корпус 1 выполнен, например, из двух половинок, стянутых винтами, между половинками установлены уплотнительные прокладки (не показано).
Машина работает в режиме двигателя следующим образом. Постоянное напряжение подают на внешнюю обмотку – обмотку возбуждения 6. Передача электроэнергии на внутреннюю обмотку – обмотку якоря 5 происходит посредством графитовых щеток 10 (плюс на входе перед каждой разделенной обмоткой возбуждения 6 и минус на выходе из нее). Ток, проходя по внешней обмотке 6, создает магнитное поле с силовыми линиями 13, а ток, проходя по внутренней обмотке 5, создает магнитное поле с силовыми линиями 14, направленное встречно магнитному полю обмотки 6, фиг 4. В результате разнонаправленные поля отталкиваются друг от друга, приводя во вращение якорь 4, от него вращение передается на шестерни 2 и полезную нагрузку.
Для охлаждения машины в корпусе выполнены два отверстия 15. Холодный воздух входит в нижнее отверстие корпуса 1 и, нагреваясь от внутренних частей двигателя, поднимается вверх, выходя через верхнее отверстие. При этом вращающийся зубчатый якорь 4 дополнительно перемещает его вверх, а при больших оборотах зубья якоря 8 будут создавать турбулентный поток воздуха, повышающий эффективность охлаждения.
В режиме генератора машина работает следующим образом. Постоянное напряжение подают на обмотку возбуждения 6. Затем приводную шестерню 2, в качестве которой используют, например, вал-шестерню, приводят во вращение механической нагрузкой. Через зубчатое зацепление вращение передается якорю 4 и его обмотке 5, которая, вращаясь, преодолевает силу магнитного поля обмотки возбуждения 6 и индуцирует якорный ток, снимаемый со щеток 10.
Для сравнения с заявляемой машиной на фиг.5 изображены силовые линии магнитных полей обмотки возбуждения и якоря прототипа: 16 – полезные силовые линии магнитного поля обмотки возбуждения, пересекающие обмотку якоря в плоскости геометрической нейтрали 17; 18 – силовые линии магнитного поля обмотки якоря; 19 – силовые линии магнитного поля обмотки возбуждения, бесполезные и вредные для человека; 20 – северный магнитный полюс обмотки возбуждения; 21 – южный магнитный полюс обмоток возбуждения и 22 – полезная силовая линия магнитного поля обмоток возбуждения средней длины.
Формула изобретения
1. Электрическая машина, содержащая установленные в корпусе кольцевой якорь с обмоткой, обмотку возбуждения и коллектор со щетками, отличающаяся тем, что она снабжена, по меньшей мере, тремя шестернями, удерживающими якорь и установленными с возможностью вращения вокруг своих осей, закрепленных в корпусе, по периметру большой окружности якоря выполнены зубья, находящиеся в зацеплении с зубьями шестерен, обмотка возбуждения образует полый тор, охватывающий всю обмотку якоря, обмотка возбуждения является двухполюсным электромагнитом для охватываемого ею участка обмотки якоря, пластины коллектора прикреплены по окружности малого диаметра якоря непосредственно к виткам его обмотки.
2. Электрическая машина по п.1, отличающаяся тем, что корпус выполнен в форме полого тора.
3. Электрическая машина по п.1, отличающаяся тем, что шестерни выполнены с выступами по окружности для фиксации якоря, между которыми он вращается.
4. Электрическая машина по п.1, отличающаяся тем, что количество обмоток возбуждения от одной до n.
5. Электрическая машина по п.4, отличающаяся тем, что каждая обмотка возбуждения имеет собственный источник питания.
6. Электрическая машина по п.1, отличающаяся тем, что каждый участок обмотки якоря, охватываемый одной независимой обмоткой возбуждения, имеет собственный источник питания.
7. Электрическая машина по п.1, отличающаяся тем, что щетки разнополярными парами закреплены в корпусе по окружности с внутренней стороны обмотки якоря между витками обмоток возбуждения, количество щеточных пар равно числу независимых обмоток возбуждения.
8. Электрическая машина по п.1, отличающаяся тем, что одна из шестерен связана с полезной нагрузкой.
9. Электрическая машина по п.1, отличающаяся тем, что обмотка якоря намотана на кольцо якоря через пазы, выполненные на вершинах зубьев якоря.
РИСУНКИ
|
|