|
|
(21), (22) Заявка: 2007142199/09, 25.05.2005
(24) Дата начала отсчета срока действия патента:
25.05.2005
(30) Конвенционный приоритет:
15.04.2005 AT A641/2005
(46) Опубликовано: 10.06.2009
(56) Список документов, цитированных в отчете о поиске:
US 6107565 А, 22.08.2000. SU 936141, 15.06.1982. US 2002/108365 A1, 15.08.2002. US 4104871 A, 08.08.1978.
(85) Дата перевода заявки PCT на национальную фазу:
15.11.2007
(86) Заявка PCT:
AT 2005/000180 20050525
(87) Публикация PCT:
WO 2006/108199 20061019
Адрес для переписки:
103735, Москва, ул. Ильинка, 5/2, “Союзпатент”, А.А.Силаевой
|
(72) Автор(ы):
РАЙС Герхард (AT), КАДРНОСКА Хельмут (AT)
(73) Патентообладатель(и):
ВИН КАНАЛЬ-АБВАССЕРТЕХНОЛОГИЕН ГЕЗМБХ (AT)
|
(54) КАНАЛ ДЛЯ КАБЕЛЯ
(57) Реферат:
Канал для кабелей для передачи энергии, обмена данными и информации, в частности световодных кабелей, подлежащих прокладке вдоль стенок или перекрытий подземных труб, каналов и т.п., которые предусмотрены для транспортировки воды или сточных вод, причем кабельный канал может быть с поверхности затянут в трубу или т.п. через ствол, обеспечивающий доступ, и затем закреплен на стенке канала или его перекрытии. Кабельный канал образован расположенными последовательно друг за другом в продольном направлении (r1), соответственно соединенными своими концами с возможностью бокового углового поворота вокруг перпендикулярной оси (as), идентичными друг другу продольными секционными элементами (10) канала для кабеля, причем каждый из них образован двумя перекрывающими пластинами (2, 2′), которые соединены друг с другом и закреплены параллельно друг другу с помощью расположенной по середине перемычки (3), и открытые сбоку полости (20, 20′), расположенные по обеим сторонам перемычки (3) между перекрывающими пластинами (2, 2′), заранее предусмотренные для последующего размещения кабеля (6), могут быть закрыты с обеих сторон с помощью располагаемых по обоим бокам, идущих всплошную, оснащенными на своих продольных краях (51) соответствующими элементами (52), обеспечивающими соединение с геометрическим замыканием с соответствующими встречными элементами (22) для геометрического замыкания на продольных краях (21) перекрывающих пластин (2, 2′) секционных элементов (10), закрывающих стороны лент (51), образованных для обеспечения геометрического замыкания и выполненных из способного изгибаться материала, благодаря чему образуются две отделенные друг от друга перемычкой (3) каждого из секционных элементов (10) закрытые, сплошные продольные полости (200, 200′) для протягивания кабеля (6), которые идут по всему кабельному каналу (1), образованному соединенными друг с другом, имеющими возможность поворачиваться на угол секционными элементами (10). Изобретение позволяет создать канал из отдельных модулей как в горизонтальном, так и в вертикальном направлении с наименьшими затратами. 10 з.п. ф-лы, 7 ил.
Изобретение относится к каналу для кабеля или жгутов кабеля для передачи энергии, телефонии, обмена данными и информации, в частности волоконных и световодных кабелей или жгутов кабелей, подлежащих прокладке вдоль стенок, перегородок и, в частности, перекрытий подземных труб, подвалов, тоннелей, каналов, стволов и т.д., которые предусмотрены или используются преимущественно для транспортировки воды, сточных вод и которые проходят в основном горизонтально, наклонно вверх или вниз и/или с поворотами или с закруглениями, причем кабельный канал может быть направлен или затянут с поверхности соответственно через в основном вертикальные или наклонные обеспечивающие доступ или ответвляющие стволы в названные трубы, подвалы и т.д. и закреплен на их стенке, перегородке и, в частности, перекрытии.
Высокие темпы роста в области информационной технологии и телекоммуникаций, и все более растущая потребность в энергии сделали необходимым в последние годы создание систем передающих магистралей и кабелей самого различного вида и их объединения в сеть.
Даже в условиях неплотной застройки прокладка магистралей или кабелей, предусмотренных для названных выше целей, все в большей степени осуществляется, например, не виде воздушных линий на местности, которые чувствительны к помехам, обусловленным влиянием погоды, а там, где это возможно под земной поверхностью, причем необходимые для этого земляные работы хотя и требуют относительных затрат, но при этом не создаются помехи другими инфраструктурными сооружениями, зданиями, строительными конструкциями и т.д.
Значительно сложнее прокладка подземных магистралей подобного рода в городских поселениях с высокой плотностью, причем при этом следует хотя бы упомянуть в качестве недостатка аспект, связанный с нарушением транспортного сообщения.
В ходе создания систем магистралей и информационной сети с высокими плотностью передач и скоростью обмена данными световодные и стекловолоконные кабели имеют решающие преимущества, при этом уже длительное время для прокладки этих кабелей стараются по возможности избежать проведения необходимых земляных и строительных работ за счет использования для прокладки подобного рода специальных магистралей и кабелей уже имеющейся подземной инфраструктуры городского подземного хозяйства, в частности, например, канализационную сеть в городских поселках, городах и т.д. В различных больших городах в настоящее время в подземной канализационной сети, в уже имеющейся системе штолен прокладываются не только кабели для передачи данных, управления и в качестве носителей информации, но и, например, кабели для силового электроснабжения.
Большое преимущество подобного рода прокладки заключается в том, что вскрытие поверхности с неизбежным нарушением при этом площадей, необходимых транспортным средствам, покрытия и связанным с этим значительным ущербом транспортному сообщению людей и транспорта при укладке соответственно прокладке кабеля или жгутов кабелей со всеми этими неприятными явлениями становится больше не нужным, что дает существенную экономию при чрезвычайной высокой гибкости относительно направления прокладки.
Существенное требование заключается, разумеется, именно в том, что прокладка в сетях городского хозяйства должна сопровождаться по возможности более низкими затратами, и что эта прокладка кабелей, магистралей и др. должна проводиться по возможности быстро и эффективно в сложных условиях, которые присущи сети каналов.
Старая техника прокладки кабелей и жгутов кабелей в каналах среди прочего заключается в основном в том, что на стенках канала или на других элементах на относительно небольших расстояниях друг от друга соответственно монтируются кабельные скобы с зажимами в виде захватов или желобов для крепления, соответственно зажимного крепления кабелей, которые подлежат прокладке, и на этих кабельных скобах по обеим сторонам с боков и с помощью закрывающих спереди защитных пластин, чехлов или т.п., которые изготавливаются из относительно жестких, в частности, синтетических материалов, осуществляется крепление кабелей.
Известен целый ряд различных предложений для непрерывно укладываемых, например, способных изгибаться, сматываемых с барабана, кабельных каналов, выполненных с некоторым количеством желобов или полых профилей для размещения и крепления в них кабелей.
Задачей настоящего изобретения является создание нового вида канала для кабеля, который образован одинаковыми отдельными модулями, с помощью которых в области входного отверстия ответвляющего ствола, ведущего к каналу, где собственно предусмотрена прокладка канала для кабеля, с небольшими затратами на манипуляции может быть собрана практически “бесконечная” непрерывная нитка канала для кабеля, который потом может быть заведен в этот канал и там – преимущественным образом с помощью известных автоматически действующих монтажных кареток – закреплен на его перекрытии, стенках и др. элементах, так чтобы потом, по меньшей мере, в одной непрерывной, простирающейся по длине приемной полости в этом кабельном канале можно было бы разместить кабель или связку кабелей, подлежащих укладке.
Таким образом, предметом настоящего изобретения является описываемый канал для кабеля, который имеет признаки, приведенные в отличительной части пункта 1 формулы изобретения.
Новый кабельный канал, образованный преимущественным образом идентичными модульными единицами, соединенными друг с другом в виде звеньев цепи, имеющими возможностью (бокового) углового поворота относительно друг друга, отличается высокой механической устойчивостью, и, кроме того, очень хорошей защитой кабелей, магистралей и т.п., уложенных внутри канала, от загрязнения, а также простой и не создающей проблем способностью укладки в соответствующей системе каналов, что является следствием уже вкратце упомянутой способностью поворачиваться относительно друг друга новых имеющих вид модулей секционных элементов канала для кабеля. В известной мере возможно также получение кривизны соответственно изгиба в вертикальном направлении или кручение соответственно трехмерное скручивание нового канала для кабеля, составленного из отдельных модулей, которые имеют возможность поворачиваться взаимно, по меньшей мере, вокруг своей продольной оси. Это, с одной стороны, облегчает приспособление к топографическим условиям, имеющим место внутри канализационного канала, и с другой стороны, введение нового канала для кабеля в каналы через обычные вертикальные или наклонные, обеспечивающие доступ или ответвляющие стволы, которые выходят в собственно в канализационные каналы.
Чтобы облегчить ввод одного или нескольких кабелей соответственно ответвляющих кабелей в выходящий из канала ответвляющий ствол, вертикальный ствол, ведущий к подключению дома к сети или к нечто подобному, является предпочтительным, что с внешней стороны предусмотрено наличие закрывающих стороны лент с профильными желобами с кабельными скобами или т.п., как это можно заключить из пункта 2 формулы изобретения.
Пункт 3 формулы изобретения раскрывает в рамках изобретения особо предпочтительный вариант осуществления объединяемых друг с другом в канал для кабеля и затем соединенных имеющих вид модулей секционных элементов канала для кабеля, которые отличаются высокой механической устойчивостью и эффективным отделением проложенного соответственно уложенного в них кабеля в отношении окружающей среды, которая присутствует в канализационном канале.
Из пункта 4 формулы изобретения вытекают предпочтительные детали осуществления механизма углового поворота, с помощью которого осуществляется соединение друг с другом отдельных секционных элементов канала для кабеля.
Пункт 5 формулы изобретения касается просто осуществляемого монтажа нового канала для кабеля внутри канализационного канала, в частности на его перекрытии, например, с помощью автоматически работающих монтажных кареток для кабельных каналов или т.п.
Высокую гибкость формообразования дает вариант исполнения модуля, представляющего секционный элемент нового канала для кабеля, согласно пункту 6 формулы изобретения, при котором отдельные секционные элементы канала для кабеля образованы соответственно двумя идентичными друг другу половинами секционного элемента, соединяемыми друг с другом, например, с помощью вставных штифтов или т.п.
Пункт 7 формулы изобретения касается преимущественного вида соединения названных выше половин модуля друг с другом соответственно в целый секционный элемент канала для кабеля.
Пункт 8 формулы изобретения раскрывает “симметричный относительно центра” вариант осуществления нового секционного элемента канала для кабеля, отличающегося от основного варианта, причем в образованном таким образом кабельном канале его верхние перекрывающие пластины по принципу “голова-хвост”, т.е. через поворотный выступ и поворотную выемку, и его “нижние” перекрывающие пластины по принципу “хвост-голова”, т.е. диаметрально или наоборот относительно выше названного расположения, т.е. соответственно с помощью поворотной выемки и поворотного выступа, соединены друг с другом с возможностью углового поворота.
При варианте осуществления выемок под поворотную ось в поворотных выступах перекрывающих пластин секционных элементов канала для кабеля, например, в форме продольных отверстий, как это предусмотрено согласно пункту 9 формулы изобретения, обеспечивается относительно высокая “вертикальная способность к изгибу” соответственно возможность изгибаться вверх или вниз нового канала для кабеля, образованного секционными элементами, что повышает его приспособляемость к топографии внутреннего пространства канализационного канала.
Наконец пункт 10 формулы изобретения в рамках изобретения касается особо предпочтительных материалов для отдельных секционных элементов канала для кабеля, а также сплошных лент или профилей, закрывающих бока соответственно стороны.
Благоприятно, если эти закрывающие стороны ленты состоят из искусственного материала, который хотя и имеет меньшую жесткость, чем более жесткий искусственный материал, образующий секционные элементы канала для кабеля и обладающий из соображений несущей способности и механической прочности принципиально относительно небольшой гибкостью на изгиб, однако ни в коем случае его нельзя охарактеризовать как “слабый”. Способность к изгибу лент, закрывающих стороны, должна быть таковой, чтобы боковой изгиб канала для кабеля мог проходить, не встречая особого сопротивления, с другой стороны, должна обеспечиваться механическая устойчивость, прочность, несущая способность и надежность канала для кабеля, при этом должна исключаться дезинтеграция составных элементов и лент, закрывающих стороны, при которой закрывающие ленты будут иметь возможность отсоединения от секционных элементов.
Пункт 11 формулы изобретения касается варианта осуществления канала для кабеля, с помощью которого в значительной степени предотвращаются нежелательные нарушения в системе каналов, например их засорение, и могут не проводиться в широком масштабе подлежащие проведению в остальных случаях работы по обслуживанию.
Изобретение более подробно поясняется с помощью чертежей.
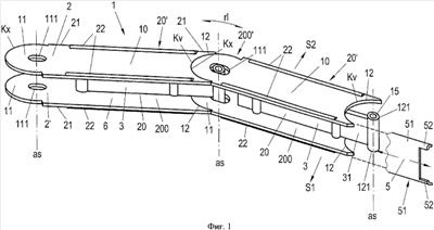
На фиг.1 показаны два соединенных друг с другом поворотных секционных элемента канала для кабеля, предложенного в соответствии с изобретением, на фиг.2 показана половина секционного элемента канала для кабеля, которая согласно изобретению может быть соединена или состыкована со второй, здесь не показанной, имеющей такой же вид половиной секционного элемента канала для кабеля для образования цельного секционного элемента канала для кабеля, на фиг.3 показаны два фрагмента канала для кабеля, которые составлены из нескольких секционных элементов канала для кабеля, на фиг.3а схематически показана деталь соединения с геометрическим замыканием обеих перекрывающих пластин секционного элемента канала для кабеля со сплошными гибкими закрывающими сбоку или со стороны лентами, и фиг.3b показывает вид поперечного сечения ленты, закрывающей сторону, которая выполнена для крепления ответвляющихся кабелей или т.п.с проходящими снаружи профилями для крепления кабелей. Фиг.4 показывает более детально кабельный канал в соответствии с изобретением с установленными по обеим сторонам закрывающими лентами, и фиг.5 показывает другой предпочтительный вариант осуществления нового канала для кабеля “с симметричным относительно центра” с секционным элементом канала для кабеля.
Фрагмент предложенного в соответствии с изобретением канала 1 для кабеля, показанный на фиг.1, включает два идентичных друг другу, выполненных в виде модулей продольных секционных элемента 10 канала для кабеля, которые имеют возможность углового поворота вокруг общей, идущей перпендикулярно к направлению продольного распространения r1 поворотной оси as, с верхней и нижней перекрывающими пластинами 2, 2′, которые расположены параллельно друг другу и на расстоянии друг от друга, причем между этими обеими перекрывающими пластинами 2, 2′ по середине в продольном направлении находится перемычка 3, соединяющая их друг с другом.
Обе перекрывающие пластины 2, 2′ секционного элемента 10 – здесь с левой стороны – выполнены с поворотным выступом 11, с имеющим форму дуги окружности выпуклым контуром Кх с расположенной в центре этой круговой дуги выемкой 111 под поворотную ось. С правой стороны обе перекрывающие пластины 2, 2′ имеют поворотную выемку 12, в которую выдается выступ 31 упоминавшейся выше перемычки 3, соединяющей перекрывающие пластины 2, 2′ друг с другом. Перемычка 3 имеет, наконец, в месте центра, поворотной выемки 12, имеющей вогнутый контур Kv, образованный дугой окружности, утолщение в виде столбика 121, служащего в качестве поворотной оси, которое направлено вверх и вниз от названного продолжения 31 перемычки в основном на величину толщины материала перекрывающих пластин 2, 2′. Через этот столбик 121, служащий в качестве поворотной оси, и такое же несущее, подробно не обозначенное здесь, имеющее также вид столбика утолщение продолжения 31 перемычки проходят сквозные отверстия 15, которые служат для размещения проходящих через них крепежных средств, в частности винтов или т.п., для монтажа канала для кабеля 1, например, на перекрытии канализационного канала. Оба столбика 121, служащих в качестве поворотных осей, каждого из секционного элемента канала для кабеля 10 выходят всякий раз в соответствующую выемку 111 под поворотную ось поворотных выступов 11 обеих перекрывающих пластин 2, 2′ соответственно смежного секционного элемента 10 нитки 1 канала для кабеля и образуют соединение, обеспечивающее поворот перекрывающих пластин.
На изображении фиг.1 у правого секционного элемента 10 показано, что выемка 111 под ось может быть выполнена в виде вытянутого в продольном направлении продольного отверстия, благодаря чему обеспечивается возможность изгиба соответственно изгиба вверх или вниз канала 1 для кабеля, образованного из установленных последовательно друг за другом секционных элементов 10, в “вертикальном направлении”, что обеспечивает приспосабливаемость канала для кабеля к соответственно поднимающемуся или опускающемуся перекрытию канализационного канала.
Выпуклый контур Кх имеющих форму дуги окружности выступов 11 обеих перекрывающих пластин 2, 2′ расположенного справа на фиг.1 секционного элемента 10 канала для кабеля соответствует в основном подходящему для поворота со скольжением вогнутому контуру Kv поворотных выемок 12 перекрывающих пластин 2, 2′ секционного элемента 10 канала для кабеля, который примыкает слева. По обеим сторонам центральной перемычки 3 в каждом секционном элементе 10 канала для кабеля между обеими перекрывающими пластинами 2, 2′ соответственно образуются открытые полости 20, 20′, открытые в обе стороны S1, S2.
С помощью соединения нескольких секционных элементов 10 в кабельный канал 1 в итоге получаются две “перекрывающие” все эти секционные элементы 10 идущие всплошную продольные полости 200, 200′, в которые после их закрытия с обеих сторон S1, S2 могут быть уложены и там, наконец, найти свое размещение подлежащие прокладке кабели 6 соответственно жгуты кабелей.
Полости 20, 20′ по обеим сторонам S1, S2 секционных элементов 10 канала для кабеля затем закрываются с помощью закрывающей стороны идущей всплошную ленты 5, из гибкого в плане изгиба искусственного материала, короткий отрезок которой изображен на фиг.1, лента на своих обоих продольных краях 51 снабжена элементами 52, обеспечивающими геометрическое замыкание, которые выполнены с соответствующими пазами и пружинящими выступами. Эти элементы 52, обеспечивающие геометрическое замыкание, входят во взаимодействие с соответствующими встречными элементами 22, также обеспечивающими геометрическое замыкание, на продольных краях 21 обеих перекрывающих пластин 2, 2′ каждого секционного элемента 10 канала для кабеля или взаимодействуют с ними с использованием принципа защелки пружинящего элемента в пазе. Таким образом, обеспечивается соединение не только с геометрическим замыканием, но с силовым замыканием между сплошными, закрывающими соответственно с двух сторон кабельный канал 1 лентами 5 и перекрывающими пластинами 2, 2′, а также прочность секционных элементов 10, а это имеет значение, в частности, в случае, когда секционные элементы 10, как ниже описывается, образованы из “двух частей”, в частности, например, из разделенных по середине вдоль и соединенных друг с другом в цельный сцепной элемент 10 половин сцепного элемента 100, 100′ канала для кабеля.
На фиг.2 показана, при сохранении тех же обозначений позиций, “нижняя”, упоминавшаяся ранее половина 100′ секционного элемента канала для кабеля. Он имеет одинаковую конструкцию с секционным элементом 10 канала для кабеля, представленного на фиг.1, однако с помощью деления перемычки 3 по середине образована “нижняя” перекрывающая пластина 2′ и связанная с ней “полуперемычка” 30 разделенной по середине перемычки 3.
По ходу перемычки на расстоянии друг от друга расположены имеющие вид столбиков утолщения 33 с центральными выемками, в которых расположены вставные штифт, шипы 35 или т.п., которые предусмотрены для соединения половины сцепного элемента 100′ со второй – не показанной – “верхней” половиной сцепного элемента [100] канала для кабеля. Эта – здесь не показано – половина сцепного элемента [100] канала для кабеля выполнена идентично показанной здесь нижней половине сцепного элемента 100′ и расположена симметрично относительно идущей по середине в продольном направлении плоскости сечения перемычки 3, обе половины сцепного элемента 100′ [100] соединены друг с другом с помощью вставного штифта 35.
Существенным преимуществом показанной здесь “раздельной” конструкции секционного элемента 10 канала для кабеля, предложенного в соответствии с изобретением, является то, что в распоряжении будут иметься только однородные половины секционных элементов 100′ [100] и их сборка в секционные элементы 10 канала для кабеля и соответственно в сплошной, образованный этими элементами кабельный канал 1 существенно облегчена.
С помощью фиг.3, где сохранены обозначения позиций, на которой изображены два фрагмента нового канала для кабеля 1, состоящие соответственно из некоторого количества секционных элементов 10 канала для кабеля, изобретение поясняется еще более подробно.
Там показан фрагмент канала для кабеля 1, собранного из некоторого количества секционных элементов, с лентой 5, закрывающей боковые стороны, которая закрывает открытую с передней стороны S1 полость 20 для размещения кабеля одного из секционных элементов 10 канала для кабеля и своими элементами 52 для соединения с геометрическим замыканием взаимодействует с соответствующими встречными элементами 22, обеспечивающими геометрическое замыкание, обеих перекрывающих пластин 2, 2′, причем осуществляется геометрическое и силовое замыкание. На фиг.3 можно видеть позиции 101 и 102, которыми обозначены оба “конца” третьего секционного элемента 10.
Разрез на фиг.3а показывает это, при сохранении обозначений позиций, более подробно в деталях.
На фиг.3b показан в перспективе фрагмент ленты 5, закрывающей стороны, выполненной здесь с тремя желобами или канавками 55, имеющими профили, несущие кабель, для крепления с помощью зажима ответвления 6′ кабелей. В них могут укладываться, например, вытянутые из канала для кабеля 1 через соответствующие отверстия ответвления 6′ кабеля, которые, например, могут быть проложены через ответвляющийся ствол, ведущий к подключению дома к сети или т.п., и фиксироваться в соответствующем желобе 55 с помощью гибкой защелки. Естественно, что в профильных желобах 55 ленты 5, закрывающей стороны, могут укладываться по всей длине канала для кабеля 1 сопутствующие, дополнительные “прочие” кабели, линии или т.п.
Фиг.4 показывает – при оставшихся прежними обозначениях позиций – предмет изобретения в варианте осуществления с выполненными “симметрично относительно центра” секционными элементами 10 канала для кабеля, у которых поворотные выступы 11 и поворотные выемки 12 перекрывающих пластин 2, 2′, взаимодействующие друг с другом в плане возможности поворота со скольжением, расположены попеременно или диаметрально друг к другу на соответственно различных концах секционных элементов 10 канала для кабеля. Для подобного рода выполненных секционных элементов 10 может иметь особое преимущество, что показанные на фиг.2 половины секционных элементов 100, 100′ нужно только развернуть диаметрально по направлению и соединить друг с другом.
Наконец, фиг.5 показывает – при оставшихся прежними обозначениях позиций – предложенный в соответствии с изобретением кабельный канал 1 с установленными на его секционном элементе 10 по обеим сторонам сплошными закрывающими стороны лентами 5.
Что касается введения нового канала для кабеля через вертикальный – ответвляющийся ствол в трубу или канал, предусмотренные для прокладки кабеля, то в области устья ствола секционные элементы собираются в новый кабельный канал и непрерывно направляются вниз таким образом, что поворотные оси секционных элементов располагаются в основном горизонтально, чтобы, предпочтительно при применении отклоняющего направляющего стального листа или т.п., перекрывающего переход от ответвляющего ствола в канал, иметь возможность без проблем переводить кабельный канал при отклонении секционных элементов из вертикали в горизонталь. Потом может, например, осуществляться крепление к боковой стенке трубы или канала. Если монтаж должен проводиться в кровле канала, то, например, уже в ходе подачи после достижения “горизонтального” канала может быть осуществлен поворот канала для кабеля таким образом, чтобы поворотные оси между секционными элементами в основном были ориентированы вертикально и через “полые” оси можно было бы устанавливать средства для крепления к перекрытию.
Формула изобретения
1. Канал для кабеля или жгутов кабеля для передачи энергии, телефонии, обмена данными и информации и т.п., в частности волоконных и световодных кабелей или жгутов кабелей, подлежащих прокладке вдоль стенок, перегородок и, в частности, перекрытий, подземных труб, подвалов, тоннелей, каналов, стволов, которые предусмотрены или используются преимущественно для транспортировки воды, сточных вод и которые проходят в основном горизонтально, наклонно вверх или вниз и/или с поворотами или с закруглениями, причем кабельный канал может быть направлен или затянут с поверхности соответственно через в основном вертикальные или наклонные обеспечивающие доступ или ответвляющие стволы в названные трубы, подвалы и закреплен на их стенке, перегородке и, в частности, перекрытии, отличающийся тем, что канал (1) – выполнен в виде приводной велосипедной цепи – с расположенными последовательно друг за другом в направлении продольной протяженности (1), соответственно соединенными обоими своими концами, концевыми областями или концевыми зонами друг с другом с возможностью взаимного бокового поворота на угол вокруг поворотной оси (as) в основном перпендикулярной направлению продольной протяженности (r1), преимущественным образом одинаковыми по форме и размерам продольными секционными элементами (10) канала, причем каждый из секционных элементов (10) канала образован двумя перекрывающими пластинами (2, 2′), которые соединены друг с другом и закреплены параллельно друг другу на расстоянии друг от друга с помощью, по меньшей мере, одной расположенной предпочтительно в середине в продольном направлении – перемычки (3), и сначала открытые сбоку в обе стороны (S1, S2) полости (20, 20′), расположенные по обеим сторонам названной перемычки (3) между перекрывающими пластинами (2, 2′), предусмотренные для последующего размещения кабеля (6) или жгута кабелей, по обеим сторонам могут закрываться или закрыты с помощью расположенных или располагаемых по обеим сторонам идущих всплошную закрывающих стороны лент (51), образованных для взаимодействия с геометрическим и преимущественным образом силовым замыканием, имеющих при необходимости гладкую поверхность, или профильную поверхность закрывающих лент (55) из несколько уменьшенного в части способности изгибаться или менее гибкого материала, которые на своих продольных краях (51) оснащены соответствующими элементами для соединения с геометрическим замыканием или встречными элементами (52) для соединения с геометрическим замыканием с соответствующими встречными элементами или элементами (22) для геометрического замыкания на продольных краях перекрывающих пластин (2, 2′) секционных элементов (10) канала, вследствие чего в каждом из секционных элементов (10) образованы с помощью перемычки (3) соответственно две отделенные друг от друга кругом закрытые, сплошные продольные полости (200, 200′) для укладки и размещения названных кабелей или жгутов кабелей (6), которые проходят по всему кабельному каналу (1), образованному наподобие велосипедной цепи примыкающими друг к другу, имеющими возможность взаимного бокового поворота на угол секционными элементами (10) канала.
2. Канал по п.1, отличающийся тем, что, по меньшей мере, одна из сплошных лент (5), закрывающих стороны, или даже обе ленты (5), закрывающие стороны, с наружной стороны выполнена с профилем (55) с, по меньшей мере, одним идущим непрерывно пазом, желобом или т.п. для размещения, проводки и крепления других кабелей, магистралей или т.п. и/или выведенного из канала для кабеля (1) и, например, в конечном счете, ответвляющих кабелей (6′), которые подлежат подведению через ответвляющий или разветвляющий ствол или т.п. к подключению дома к сети.
3. Канал по п.1, отличающийся тем, что каждая из перекрывающих пластин (2, 2′) секционного элемента (10) канала на одном конце секционного элемента (10) канала для кабеля образована поворотным выступом (11), имеющим выпуклый контур (Кх) в форме дуги окружности с центральной выемкой (111) под ось и на другом конце поворотной выемкой (12), имеющей вогнутый контур (Kv), соответствующий названному выпуклому контуру (Кх) в форме дуги окружности, в которой образована перемычка (3) или ее продолжение (31), выступающая до области центра дуги окружности, со столбиком (121), служащим в качестве поворотной оси, выступающим или поднимающимся от перемычки, по меньшей мере, в одну сторону или вверх и/или вниз, причем он имеет внешний контур, соответствующий внутреннему контуру выемки (111) под ось на поворотном выступе (11) перекрывающих пластин (2, 21).
4. Канал по одному из пп.1-3, отличающийся тем, что секционные элементы (10) канала соединены друг с другом с возможностью бокового углового поворота за счет того, что соответственно столбик (121) одного из секционных элементов (10) канала, служащий в качестве поворотной оси, входит в выемку (111) под поворотную ось, которой его охватывает с возможностью поворота со скольжением поворотный выступ (11) перекрывающих пластин (2, 21) соответственно смежного секционного элемента (10) канала.
5. Канал по п.3, отличающийся тем, что, например, столбик (121), служащий в качестве поворотной оси, поворотного выступа (31) перемычки и сам поворотный выступ (31) образованы со сквозным отверстием (15) для установки через него крепежных элементов, например анкерных винтов для монтажа канала (1) на стене, перегородке и, в частности, на перекрытии трубы или канала и т.д., по которому подается вода или отводятся канализационные стоки.
6. Канал по одному из пп.1-3, отличающийся тем, что каждый из секционных элементов (10) образован в основном из двух частей, из двух идентичных половин секционного элемента или полуэлементов секций канала для кабеля (100, 100′) с одной из перекрывающих пластин (2, 2′) и одной половиной перемычки (30), образованной продольным разделением перемычки (3).
7. Канал по п.6, отличающийся тем, что обе половины секционного элемента или полуэлементы секций (100, 100′) могут быть соединены друг с другом и объединены в секционный элемент (10) канала помощью, например, вставных соединительных элементов (35), например, в виде штифтов или цапф при соединении их полуперемычек (30) в перемычку (3).
8. Канал по одному из пп.1-3, отличающийся тем, что каждый из таких образованных секционных элементов (10) выполнен из перекрывающих пластин (2, 2′) и полуперемычек (30), причем поворотный выступ (11) с выемкой (111) под ось одной из перекрывающих пластин (2) направлен в одну сторону и поворотная выемка (12) и выступ (31) перемычки со столбиком (121), служащим в качестве поворотной оси, направлены в другую сторону, а поворотный выступ (11) с выемкой (111) под ось другой перекрывающей пластины (2′), а также поворотная выемка (111) и выступ (31) перемычки со столбиком (121), служащим в качестве поворотной оси, направлены в соответственно “противоположные” или “диаметральные” стороны.
9. Канал по п.8, отличающийся тем, что для обеспечения возможности изгиба в вертикальном направлении или кручения канала выемки (111) под ось поворотных выступов (11) перекрывающих пластин выполнены с внутренним контуром, имеющим допуск по расстоянию или зазор относительно внешнего контура столбика (121), служащего в качестве поворотной оси, или, по меньшей мере, в виде продольного отверстий, ориентированных в продольном направлении (r1).
10. Канал по одному из пп.1-3, отличающийся тем, что секционные элементы (10) канала соответственно половины секционного элемента или полуэлементы секций (100, 100′) выполнены из искусственного материала, имеющего относительно небольшую способность к изгибу, с длительным сроком службы, инертного относительно веществ, имеющихся в сточных водах, при необходимости усиленного волокнами, преимущественно на базе поликарбоната, полиамида, полипропилена, поливинилхлорида, полиуретана и т.д. и ленты, закрывающие стороны, или закрывающие стороны профили (5, 55) выполнены равным образом из имеющего длительный срок службы инертного искусственного материала, преимущественным образом на базе поливинилхлорида, полиамида, полипропилена, РУС.
11. Канал по п.10, отличающийся тем, что он или образующие его секционные элементы (10) и обе ленты (5), закрывающие стороны, имеют гладкую поверхность, благодаря чему предотвращается налипание крупных загрязнений и таким образом предотвращается засорение канала или трубопровода для сточных вод.
РИСУНКИ
PD4A – Изменение наименования обладателя патента СССР или патента Российской Федерации на изобретение
(73) Новое наименование патентообладателя:
ВИН КАНАЛЬ БЕТАЙЛИГУНГС ГМБХ (AT)
Адрес для переписки:
101000, Москва, ул. Мясницкая, д. 13, стр.5, ООО “Союзпатент”
Извещение опубликовано: 27.05.2010 БИ: 15/2010
|
|