|
(21), (22) Заявка: 2007147946/09, 10.05.2006
(24) Дата начала отсчета срока действия патента:
10.05.2006
(30) Конвенционный приоритет:
23.05.2005 FR 0551327
(46) Опубликовано: 10.06.2009
(56) Список документов, цитированных в отчете о поиске:
US 5017147 А, 21.05.1991. SU 1695427 A1, 30.11.1991. US 5727969 А, 17.03.1998. WO 2004/077624 A1, 10.09.2004. US 4867699 A, 19.09.1989.
(85) Дата перевода заявки PCT на национальную фазу:
24.12.2007
(86) Заявка PCT:
FR 2006/050426 20060510
(87) Публикация PCT:
WO 2007/003803 20070111
Адрес для переписки:
103735, Москва, ул.Ильинка, 5/2, ООО “Союзпатент”, пат.пов. С.В.Истомину
|
(72) Автор(ы):
ШОВЕЛЬЕ Эрик (FR), МАРШ Фредерик (FR), МОЛЛЕ Жан-Клод (FR)
(73) Патентообладатель(и):
РЕНО С.А.С. (FR)
|
(54) УСТРОЙСТВО ДЛЯ ЗАЩИЩЕННОГО СОЕДИНЕНИЯ ЭЛЕКТРОННОГО УСТРОЙСТВА С ПО МЕНЬШЕЙ МЕРЕ ДВУМЯ ДРУГИМИ ЭЛЕКТРОННЫМИ УСТРОЙСТВАМИ
(57) Реферат:
Изобретение касается устройства для электрического соединения вспомогательного оборудования (10) автомобиля с источником электрической энергии и с, по меньшей мере, одним электронным устройством этого автомобиля, которое может быть использовано в электрических усилителях рулевого управления. Устройство содержит: силовой электрический соединитель (12), предназначенный для соединения вспомогательного оборудования (10) с источником электрической энергии; сигнальный электрический соединитель (14), предназначенный для соединения этого вспомогательного оборудования (10) с упомянутым электронным устройством автомобиля; средства (20) блокировки силового электрического соединителя (12) в подключенном положении и средства (22) блокировки сигнального электрического соединителя (14) в подключенном положении, отличающееся тем, что средства (20) блокировки силового электрического соединителя (12) и средства (22) блокировки сигнального электрического соединителя (14) спроектированы таким образом, чтобы сигнальный электрический соединитель (14) мог быть заблокирован в подключенном положении только после блокировки силового электрического соединителя (12) в смонтированном положении. Технический результат – повышение надежности блокировки электрических соединителей в смонтированном положении. 5 з.п. ф-лы, 3 ил.
В данном изобретении предлагается устройство для электрического соединения вспомогательного оборудования автомобиля, в частности электрического усилителя рулевого управления, с источником электрической энергии и с по меньшей мере одним другим электронным устройством этого автомобиля, позволяющее ограничить опасность несанкционированного разъединения.
Говоря более конкретно, в данном изобретении предлагается устройство для электрического соединения вспомогательного оборудования автомобиля с источником электрической энергии и с по меньшей мере одним другим электронным устройством этого автомобиля, имеющего в своем составе силовой электрический соединитель, который может быть установлен на данном вспомогательном оборудовании в подключенном положении для соединения этого вспомогательного оборудования с источником электрической энергии, сигнальный электрический соединитель, который может быть установлен на этом вспомогательном оборудовании в подключенном положении для соединения этого вспомогательного оборудования с упомянутым электронным устройством автомобиля, средства блокировки силового электрического соединителя в подключенном положении на этом вспомогательном оборудовании и средства блокировки сигнального электрического соединителя в подключенном положении на этом вспомогательном оборудовании.
Такое устройство используется, в частности, для электрического соединения усилителя рулевого управления автомобиля с аккумуляторной батареей этого автомобиля, с одной стороны, и с одним или несколькими датчиками, размещенными в автомобиле, с другой стороны.
В соответствии с известным способом реализации установка и блокировка в подключенном состоянии силового электрического соединителя и сигнального электрического соединителя обычно контролируются оператором. Однако контрольные операции, осуществляемые одним человеком, иногда могут оказаться ошибочными.
Таким образом, существует возможность того, что на некоторых автомобилях силовой электрический соединитель не будет заблокирован в подключенном положении и, следовательно, этот силовой электрический соединитель в любой момент может отсоединиться от электрического усилителя рулевого управления.
Такое отсоединение силового электрического соединителя вызывает прекращение функционирования электрического усилителя рулевого управления и водитель при этом должен прикладывать к рулевому колесу более значительные усилия для того, чтобы управлять автомобилем.
Отсоединение силового электрического соединителя в некоторых случаях может оказаться особенно мешающим водителю автомобиля и может привести к опасной ситуации, в частности, в том случае, когда это отсоединение происходит в процессе движения автомобиля.
Существует множество вариантов устройств для электрического соединителя усилителя рулевого управления, которые позволяют упростить монтаж и блокировку электрических соединителей, причем такие устройства описаны, например, в патентных документах US-A-6707185 и US-A-5844386.
Однако такие устройства не позволяют повысить надежность блокировки электрических соединителей в смонтированном положении.
Техническая задача данного изобретения состоит в том, чтобы предложить устройство для электрического соединения усилителя рулевого управления, позволяющее определенным образом обеспечить блокировку силового электрического соединителя.
Для решения этой технической задачи в данном изобретении предлагается устройство описанного выше типа, отличающееся тем, что средства блокировки силового электрического соединителя и средства блокировки сигнального электрического соединителя спроектированы таким образом, чтобы сигнальный электрический соединитель мог быть заблокирован в подключенном положении только после блокировки силового электрического соединителя в смонтированном положении.
В соответствии с другими характеристиками предлагаемого изобретения:
– силовой электрический соединитель, средства блокировки этого силового электрического соединителя и средства блокировки сигнального электрического соединителя спроектированы таким образом, что этот силовой электрический соединитель мог быть смонтирован на вспомогательном оборудовании только перед монтажом сигнального электрического соединителя на этом вспомогательном оборудовании;
– средства блокировки силового электрического соединителя содержат выступ, который имеет возможность взаимодействовать с дополняющим его выступом средств блокировки сигнального электрического соединителя;
– средства блокировки силового электрического соединителя располагаются на сигнальном электрическом соединителе;
– средства блокировки сигнального электрического соединителя спроектированы таким образом, чтобы препятствовать монтажу силового электрического соединителя после монтажа и блокировки в подключенном положении сигнального электрического соединителя;
– упомянутое вспомогательное оборудование представляет собой электронный усилитель рулевого управления автомобиля.
Другие характеристики и преимущества предлагаемого изобретения будут лучше поняты из приведенного ниже описания примера его реализации, где даются ссылки на приведенные в приложении фигуры, среди которых:
– Фиг.1 представляет собой схематический вид устройства в соответствии с предлагаемым изобретением, в котором силовой электрический соединитель и сигнальный электрический соединитель показаны в положении отсоединения от вспомогательного оборудования;
– Фиг.2 представляет собой схематический вид, подобный виду, показанному на фиг.1, в котором упомянутые электрические соединители показаны в положении подключения к вспомогательному оборудованию, но не заблокированы в этом положении;
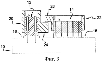
– Фиг.3 представляет собой схематический вид, подобный виду, показанному на фиг.2, в котором упомянутые электрические соединители показаны в положении подключения к вспомогательному оборудованию, и заблокированы в этом подключенном положении.
На приведенных в приложении фигурах схематически представлено вспомогательное оборудование 10 автомобиля, которое представляет собой, например, электрический усилитель рулевого управления этого автомобиля.
Обычным образом такой электрический усилитель 10 рулевого управления автомобиля содержит силовой привод (на приведенных в приложении фигурах не показан), который воздействует на систему рулевого управления автомобиля для того, чтобы уменьшить усилия, которые водитель должен прикладывать к рулевому колесу этого автомобиля, и электронное устройство управления (на приведенных в приложении фигурах не показано), предназначенное для определения того воздействия, которое должно быть осуществлено упомянутым силовым приводом, в функции различных параметров функционирования данного автомобиля, например, в функции скорости его движения.
Усилитель 10 рулевого управления питается электрической энергией, поступающей от того или иного источника электрической энергии, в частности от аккумуляторной батареи автомобиля (на приведенных в приложении фигурах не показана), и его электронное устройство управления присоединено электрическим образом к одному или к нескольким электронным устройствам этого автомобиля (на приведенных в приложении фигурах не показаны), таким, например, как датчики скорости движения и датчики положения рулевого колеса, для того, чтобы принимать информацию, относящуюся к параметрам функционирования данного автомобиля.
Электрическое соединение усилителя 10 рулевого управления с источником электрической энергии осуществляется посредством первого электрического соединителя 12, который в последующем изложении будет называться “силовым электрическим соединителем”, и электрическое соединение этого усилителя 10 рулевого управления с электронными устройствами автомобиля осуществляется посредством второго электрического соединителя 14, который в последующем изложении будет называться “сигнальным электрическим соединителем”.
Силовой электрический соединитель 12 может быть установлен в розетку 16 или в дополняющую ответную часть усилителя 10 рулевого управления в положение подключения, в котором этот усилитель 10 рулевого управления присоединен к аккумуляторной батарее автомобиля.
Аналогичным образом, сигнальный электрический соединитель 14 может быть установлен в розетку 16 или в дополняющую ответную часть усилителя 10 рулевого управления в положение подключения, в котором этот усилитель 10 рулевого управления присоединен к электронным устройствам автомобиля.
Усилитель 10 рулевого управления подвергается воздействию многочисленных вибраций, которые могут вызвать несанкционированное отсоединение электрических соединителей 12, 14 от усилителя 10 рулевого управления.
Для того чтобы не допустить нежелательного разъединения силового электрического соединителя 12 и сигнального электрического соединителя 14 с усилителем 10 рулевого управления, силовой электрический соединитель 12 и сигнальный электрический соединитель 14 содержат, каждый, средства 20, 22, предназначенные для их блокировки в подключенном положении.
В рассматриваемом здесь варианте реализации каждое из средств 20 блокировки силового электрического соединителя 12 и средств 22 блокировки сигнального электрического соединителя 14 в целом представляют собой кольцо, установленное с возможностью скольжения в вертикальном направлении сверху вниз по отношению к силовому электрическому соединителю 12 или к сигнальному электрическому соединителю 14 соответственно, как это можно видеть на приведенных в приложении фигурах.
Однако здесь должно быть понятно, что этот способ реализации средств 20 блокировки силового электрического соединителя 12 и средств 22 блокировки сигнального электрического соединителя 14 описан здесь лишь в качестве иллюстративного примера, и что предлагаемое изобретение не ограничивается только описанными здесь средствами блокировки.
Так, например, известным образом сигнальный электрический соединитель 14 и его средства 22 блокировки содержат так называемую систему “с пружиной выталкивания”, которая препятствует тому, чтобы этот сигнальный электрический соединитель 14 имел возможность оставаться в положении подключения в том случае, когда его средства 22 блокировки не находятся в своем положении блокировки.
В соответствии с предлагаемым изобретением средства 20 блокировки силового электрического соединителя 12 спроектированы таким образом, чтобы взаимодействовать со средствами 22 блокировки сигнального электрического соединителя 14 для того, чтобы этот сигнальный электрический соединитель 14 имел возможность быть заблокированным в своем подключенном положении только после блокировки силового электрического соединителя 12 в его подключенном положении.
Таким образом, как это можно видеть на фиг.2, в том случае, когда средства 20 блокировки силового электрического соединителя 12 не находятся в своем положении блокировки, средства 22 блокировки сигнального электрического соединителя 14 не могут быть перемещены в их положение блокировки этого сигнального электрического соединителя 14 в его подключенном положении.
Кроме того, в том случае, когда сигнальный электрический соединитель 14 и его средства 22 блокировки содержат упомянутую в предшествующем изложении систему “с пружиной выталкивания”, этот сигнальный электрический соединитель 14 не имеет возможности оставаться в подключенном положении, если средства 20 блокировки силового электрического соединителя 12 не находятся в своем положении блокировки.
В соответствии с вариантом реализации предлагаемого изобретения электрический усилитель рулевого управления автомобиля имеет в своем составе средства, предназначенные для определения положения средств 22 блокировки сигнального электрического соединителя 14, которые выдают информацию, относящуюся к положению блокировки или к положению отсутствия блокировки этого сигнального электрического соединителя 14 в диагностическое устройство автомобиля.
В соответствии с другим аспектом предлагаемого изобретения средства 22 блокировки сигнального электрического соединителя 14 спроектированы таким образом, чтобы препятствовать монтажу силового электрического соединителя 12 после монтажа и блокировки сигнального электрического соединителя 14 в его подключенном положении на соответствующей розетке 18.
В этом случае, поскольку силовой электрический соединитель 12 не может быть смонтирован на соответствующей розетке 16, электрический усилитель 10 рулевого управления не имеет возможности функционировать, и такой дефект монтажа силового электрического соединителя 12 при этом может быть выявлен непосредственно на линии сборки автомобиля, даже перед началом его движения.
В соответствии с предлагаемым изобретением средства 20 блокировки силового электрического соединителя 12 содержат первый выступ 24, который имеет возможность взаимодействовать со вторым выступом 26, размещенным на средствах 22 блокировки сигнального электрического соединителя 14.
Как это можно видеть на фиг.2, упомянутые выступы 24 и 26 спроектированы таким образом, чтобы в том случае, когда средства 20 блокировки силового электрического соединителя 12 находятся в положении, отличном от их положения блокировки этого силового электрического соединителя 12, второй выступ 26 упирается в первый выступ 24, препятствуя таким образом тому, чтобы средства 22 блокировки сигнального электрического соединителя 14 могли быть перемещены в их положение блокировки.
Зато, как это можно видеть на фиг.3, в том случае, когда средства 20 блокировки силового электрического соединителя 12 находятся в положении блокировки этого силового электрического соединителя 12, второй выступ 26 больше не упирается в первый выступ 24 и средства 22 блокировки сигнального электрического соединителя 14 могут быть перемещены в их положение блокировки.
В соответствии с возможным вариантом реализации предлагаемого изобретения (не показанным на приведенных в приложении фигурах) средства 20 блокировки силового электрического соединителя 12 спроектированы таким образом, чтобы препятствовать монтажу сигнального электрического соединителя 14 на соответствующей розетке 18 усилителя 10 рулевого управления в том случае, когда эти средства блокировки находятся в положении, отличном от их положения блокировки силового электрического соединителя 12 в подключенном положении.
В соответствии с этим вариантом реализации предлагаемого изобретения второй выступ 26 размещается на сигнальном электрическом соединителе 14 и, как об этом уже было сказано в предшествующем изложении, этот второй выступ 26 упирается в первый выступ 24 в том случае, когда средства 20 блокировки силового электрического соединителя 12 находятся в положении, отличном от положения блокировки этого силового электрического соединителя 12 в подключенном положении.
В соответствии с еще одним другим вариантом реализации предлагаемого изобретения (не показанным на приведенных в приложении фигурах) средства 20 блокировки силового электрического соединителя 12 располагаются на сигнальном электрическом соединителе 14 и спроектированы таким образом, чтобы блокировка силового электрического соединителя 12 осуществлялась перед блокировкой сигнального электрического соединителя 14 или одновременно с ней.
В соответствии с предпочтительным способом реализации этого другого варианта предлагаемого изобретения средства 22 блокировки сигнального электрического соединителя 14 образуют средства 20 блокировки силового электрического соединителя 12.
Следовательно, блокировка силового электрического соединителя 12 осуществляется одновременно с блокировкой сигнального электрического соединителя 14.
Устройство средств 20, 22 блокировки силового электрического соединителя 12 и сигнального электрического соединителя 14 в соответствии с предлагаемым изобретением позволяет непосредственно выявлять дефект блокировки силового электрического соединителя 12 в том случае, когда сигнальный электрический соединитель 14 не заблокирован.
Действительно, в том случае, когда силовой электрический соединитель 12 находится в подключенном положении в соответствующей розетке 16, но не заблокирован в этом положении, упомянутый второй выступ 26 упирается в упомянутый первый выступ 24 в процессе блокировки сигнального электрического соединителя 14, что препятствует осуществлению блокировки этого сигнального электрического соединителя 14.
Таким образом, средства выявления положения средств 22 блокировки сигнального электрического соединителя 14 дают первую информацию, относящуюся к отсутствию блокировки сигнального электрического соединителя 14, и, следовательно, к отсутствию блокировки силового электрического соединителя 12.
Кроме того, в том случае, когда сигнальный электрический соединитель 14 и связанные с ним средства 22 блокировки содержат упомянутую выше систему “с пружиной выталкивания”, и в том случае, когда силовой электрический соединитель 12 не заблокирован в подключенном положении, эта система “с пружиной выталкивания” вызывает разъединение сигнального электрического соединителя 14, поскольку в таком случае этот соединитель не может быть заблокирован в подключенном положении. При этом электрический усилитель 10 рулевого управления не имеет возможности функционировать.
И, наконец, в том случае, когда силовой электрический соединитель 12 не был подключен раньше, чем сигнальный электрический соединитель 14, как об этом уже было сказано в предшествующем изложении, упомянутый второй выступ 26 препятствует установке силового электрического соединителя 12 в соответствующую розетку 16. При этом электрический усилитель 10 рулевого управления не имеет возможности функционировать.
В том случае, когда электрический усилитель 10 рулевого управления не имеет возможности функционировать, поскольку силовой электрический соединитель 12 или сигнальный электрический соединитель 14 не находятся в подключенном положении и не заблокированы в этом подключенном положении, этот дефект легко обнаруживается и может быть устранен перед началом движения автомобиля.
Предлагаемое изобретение, описанное в предшествующем изложении, использовалось применительно к электронному усилителю 10 рулевого управления. Однако должно быть понятно, что это изобретение не ограничивается одним лишь этим его применением и что оно может быть использовано и в других типах вспомогательного электронного оборудования автомобиля, которые содержат контур питания электрической энергией и контур передачи по меньшей мере одного электронного сигнала, например, в системе срабатывания надувной подушки безопасности типа “Airbag”.
Формула изобретения
1. Устройство для электрического соединения вспомогательного оборудования (10) автомобиля с источником электрической энергии и с по меньшей мере одним электронным устройством автомобиля, содержащее силовой электрический соединитель (12), который может быть смонтирован на вспомогательном оборудовании (10) в подключенном положении для соединения этого вспомогательного оборудования (10) с источником электрической энергии; сигнальный электрический соединитель (14), который может быть смонтирован на вспомогательном оборудовании (10) в подключенном положении для соединения этого вспомогательного оборудования (10) с упомянутым электронным устройством автомобиля; средства (20) блокировки силового электрического соединителя (12) в подключенном положении на вспомогательном оборудовании (10); средства (22) блокировки сигнального электрического соединителя (14) в подключенном положении на вспомогательном оборудовании (10), отличающееся тем, что средства (20) блокировки силового электрического соединителя (12) и средства (22) блокировки сигнального электрического соединителя (14) спроектированы таким образом, чтобы сигнальный электрический соединитель (14) мог быть заблокирован в подключенном положении только после блокировки силового электрического соединителя (12) в смонтированном положении.
2. Устройство по предшествующему пункту, отличающееся тем, что силовой электрический соединитель (12), средства (20) блокировки этого силового электрического соединителя (12) и средства (22) блокировки сигнального электрического соединителя (14) спроектированы таким образом, что силовой электрический соединитель (12) может быть смонтирован на вспомогательном оборудовании (10) только перед монтажом сигнального электрического соединителя (14) на этом вспомогательном оборудовании.
3. Устройство по п.1, отличающееся тем, что средства (20) блокировки силового электрического соединителя (12) содержат выступ (24), который имеет возможность взаимодействовать с дополняющим его выступом (26) средств (22) блокировки сигнального электрического соединителя (14).
4. Устройство по п.1, отличающееся тем, что средства (20) блокировки силового электрического соединителя (12) располагаются на сигнальном электрическом соединителе (14).
5. Устройство по п.1, отличающееся тем, что средства (22) блокировки сигнального электрического соединителя (14) спроектированы таким образом, чтобы препятствовать монтажу силового электрического соединителя (12) после монтажа и блокировки в подключенном положении сигнального электрического соединителя (14).
6. Устройство по п.1, отличающееся тем, что упомянутое вспомогательное оборудование (10) представляет собой электронный усилитель рулевого управления автомобиля.
РИСУНКИ
|