|
|
(21), (22) Заявка: 2006143771/28, 10.05.2005
(24) Дата начала отсчета срока действия патента:
10.05.2005
(30) Конвенционный приоритет:
12.05.2004 DE 102004023856.1
(43) Дата публикации заявки: 20.06.2008
(46) Опубликовано: 10.06.2009
(56) Список документов, цитированных в отчете о поиске:
US 2003/0075215 A1, 24.04.2003. US 2002/0179141 A1, 05.12.2002. US 6278054 B1, 21.08.2001. RU 2200357 C1, 10.03.2003.
(85) Дата перевода заявки PCT на национальную фазу:
12.12.2006
(86) Заявка PCT:
EP 2005/005013 20050510
(87) Публикация PCT:
WO 2005/112131 20051124
Адрес для переписки:
129090, Москва, ул. Б.Спасская, 25, стр.3, ООО “Юридическая фирма Городисский и Партнеры”, пат.пов. Ю.Д.Кузнецову, рег. 595
|
(72) Автор(ы):
ШТРОБЛЬ Герхард (DE)
(73) Патентообладатель(и):
АЗУР СПЭЙС СОЛАР ПАУЭР ГМБХ (DE)
|
(54) СОЛНЕЧНЫЙ ЭЛЕМЕНТ СО ВСТРОЕННЫМ ЗАЩИТНЫМ ДИОДОМ
(57) Реферат:
Солнечной элемент с расположенными между передним и задним контактом фотоактивными полупроводниковыми слоями, с интегральным защитным диодом (шунтирующим диодом) с противоположной солнечному элементу полярностью и с проходящим на передней стороне р-проводящим полупроводниковым слоем, причем защитный диод соединен с передним контактом. Чтобы обеспечить высокую стабильность защитного диода, в частности предотвратить миграцию атомов металла, предлагается, чтобы на р-проводящем полупроводниковом слое (36) защитного диода (32) проходил туннельный диод (38), который через n+-слой может быть соединен с передним контактом (14). 10 з.п. ф-лы, 2 ил.
Изобретение относится к солнечному элементу с проходящими между передним и задним контактом фотоактивными полупроводниковыми слоями со встроенным, соединяемым с передним контактом защитным диодом (шунтирующим диодом) с противоположной солнечному элементу полярностью и проходящим на передней стороне p-проводящим полупроводниковым слоем, на котором проходит туннельный диод.
В крупных диодах с поверхностью в несколько квадратных сантиметров, таких как те, которые образуют солнечные элементы из полупроводникового материала с по меньшей мере одним p-n-переходом, часто неизбежны микрозамыкания, то есть локальные, малоразмерные электрические (омические) соединения через p-n-переход полупроводникового материала. Они возникают, например, из-за повреждений поверхности во время изготовления подложки в кристалле или из-за скопления легирующей примеси, например, на дефектах кристаллической решетки, таких как дислокации, в частности, при образовании эпитаксиальных p-n-переходов, например, в солнечных элементах на элементах III-IV групп Периодической системы.
Обычно возникающие таким образом микрозамыкания почти не нарушают или лишь в незначительной степени нарушают работу диода как солнечного элемента в прямом направлении. Однако неправильные состояния при работе элемента в запирающем направлении могут привести к выходу этого элемента из строя. Если, например, несколько солнечных элементов или солнечных батарей (фотоэлектрических генераторов) соединены друг с другом последовательно в так называемую цепь на панели солнечных батарей, то при запирающем p-n-переходе батареи – это может быть вызвано, например, затенением или трещиной солнечного элемента, – вызванный солнечным облучением ток от высокого напряжения цепи остальных освещенных солнечных элементов или батарей подавляется омическими микрозамыканиями. Это может привести к сильному локальному нагреву, легированию примесью противоположного типа до низкоомности, т.е. сильному локальному вырождению полупроводника и, в конечном счете, к порче самого элемента.
Для предотвращения соответствующих сильных локальных нагревов, так называемых «горячих пятен» (от англ. «Hot-Spots»), при последовательно включенных солнечных элементах известно размещение лежащих параллельно солнечным элементам защитных диодов, у которых прямое направление проходит противоположно солнечным элементам.
За сведениями о каскадных или многопереходных солнечных элементах со встроенным защитным диодом указанного в начале типа можно обратиться к документу WO-A-00/44052.
Из документа EP-A-1056137 известен солнечный элемент, у которого полупроводниковый слой защитного диода сам выполнен местами из слоя солнечного элемента, причем фотоактивные слои проходят на расстоянии от той области солнечного элемента, которая образует полупроводниковый слой защитного диода. Защитный диод может также быть выполнен как диод Шоттки, диод со структурой МДП-контакт, диод с p-n-переходом или как легированный металлом диод.
За сведениями о других солнечных элементах со встроенными защитными диодами можно обратиться к US-A-2002/0179141, US-B-6600100 или US-B-6359210. Под соответствующими солнечными элементами имеются в виду так называемые каскадные солнечные элементы, у которых несколько солнечных элементов расположены друг над другом и отделены друг от друга туннельными диодами. Солнечный элемент является элементом n-p-типа. Поэтому защитный диод является диодом p-n-типа. Тем самым находящийся со стороны переднего контакта полупроводниковый слой является проводником с дырочной проводимостью, вследствие чего происходит миграция атомов металла переднего контакта, из-за чего диод будет нестабильным. Повышенная миграция возникает, в частности, тогда, когда передний контакт содержит серебро.
В основе настоящего изобретения стоит задача так усовершенствовать солнечный элемент указанного в начале типа, чтобы обеспечить высокую стабильность защитного диода, а в частности, – предотвратить или в значительной мере предотвратить миграцию атомов металла.
Согласно изобретению эта проблема решается по существу тем, что на туннельном диоде проходит n+-проводящий слой, через который защитный диод соединен или может быть соединен с передним контактом.
Согласно изобретению защитный диод усовершенствован таким образом, что под областью контакта (металлизацией), которая подходящим образом соединена с передним контактом фотоактивной области солнечного элемента, проходит n-слой, то есть слой с электронной проводимостью, вследствие чего миграция подавляется, не оказывая отрицательного влияния на способность к функционированию защитного диода.
В частности, изобретение предусматривает, что солнечный элемент представляет собой каскадный или многопереходный солнечный элемент с n солнечными элементами-компонентами при n 2. Другими словами, солнечный элемент может иметь желаемое число p-n-переходов. В частности, под солнечным элементом имеется в виду тройной элемент с расположенными друг над другом первым, вторым и третьим солнечными элементами-компонентами n-p-типа, причем между соответствующими солнечными элементами-компонентами проходит туннельный диод, так что солнечный элемент разделен на фотоактивную первую область и имеющую на передней стороне защитный диод вторую область, полупроводниковые слои которой проходят на некотором расстоянии от выходящей из общей подложки фотоактивной первой области.
При этом, в частности, солнечные элементы-компоненты расположены так, что они поглощают излучение разных длин волн. Так, первый или нижний элемент может быть солнечным элементом на основе германия, над которым проходит средний элемент типа Ga1-xInxAs с, например, 0,01 x 0,03. На передней стороне предпочтительно предусмотрен элемент Ga1-yInyP-типа, причем предпочтительно 0,48 y 0,51.
Соответствующие солнечные элементы способны поглощать излучение с длинами волн 900-1800 нм (нижний элемент), 660-900 нм (средний элемент) и 300-660 нм (передний или верхний элемент).
Независимо от этого предусмотрено, в частности, что защитный диод состоит из проходящего на стороне солнечных элементов n-слоя и проходящего на передней стороне p-проводящего слоя, которые состоят соответственно из Ga1-xInxAs с, например, 0,01 x 0,03 и Ga1-yInyP с, например, 0,48 y 0,51.
Далее, p++-проводящий слой туннельного диода может состоять, например, из Al1-yGayAs с, например, 0,0 y 0,6, и/или n++-проводящий слой туннельного диода может состоять из Ga1-xInxAs с, например, 0,01 x 0,03. Допустимы также соответствующие слои с системой материалов AlGaInP.
Независимо от этого следует отметить, что слои защитного диода должны состоять из такой системы материалов, которая соответствует системе материалов солнечного элемента или одного из солнечных элементов-компонентов в случае каскадного или многопереходного солнечного элемента.
Другие подробности, преимущества и признаки изобретения следуют не только из пунктов формулы изобретения, приведенных в них признаков – самих по себе и/или в комбинации – но также и из последующего описания одного из чертежей, соответствующего предпочтительному варианту осуществления.
На чертежах показано:
Фиг.1 – принципиальная схема тройного элемента с защитным диодом.
Фиг.2 – строение тройного элемента в его фотоактивной области.
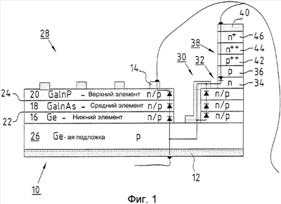
На Фиг.1 чисто схематически изображен каскадный или многопереходный солнечный элемент 10, который имеет задний контакт 12, а также передний контакт 14. Между задним контактом 12 и передним контактом 14 на германиевой подложке 26, которая может быть p-проводящим G монокристаллическим германием, расположено всего три элемента 16, 18, 20, которые отделены друг от друга туннельными диодами 22, 24.
Нижний или «задний» элемент 16 расположен на германиевой подложке 26. В германиевую подложку 26, которая является p-провододящей, путем диффузии мышьяка или фосфора вводят n-проводящий эмиттер германиевого нижнего элемента 16. При этом p-проводящая подложка уже является фотоактивным слоем нижнего или заднего элемента 16. Затем эпитаксиально наращивают первый туннельный диод 22, на котором, в свою очередь, выращивают средний элемент 18. При этом должно происходить согласование решетки по отношению к решетке германия. Поэтому средний элемент 18 состоит предпочтительно из арсенида галлия (GaAs), который, тем не менее, имеет незначительно отличающуюся от германия постоянную решетки. Поэтому предпочтительно добавляют 1-3% индия с тем, чтобы подогнать друг к другу постоянные решетки.
Затем на средний элемент 18 эпитаксиально наращивают туннельный диод 24.
Передний или верхний элемент 20 состоит из фосфида галлия-индия. Чтобы и в этом случае добиться согласования решеток, добавляют индий, причем выбирают, в частности, состав Ga0,51In0,49P.
Соответствующие солнечные элементы 10 обычно подключают последовательно в цепь.
Имеющиеся микрозамыкания в активных полупроводниковых слоях могут при работе элемента 10 в запирающем направлении привести к его выходу из строя. Для защиты от соответствующих повреждений параллельно солнечному элементу 10 подключают защитный диод. Для этого, в соответствии с указаниями EP-A-1056137, можно удалить, например, путем локального вертикального травления небольшую область фотоактивных слоев, то есть нижнего элемента 16, среднего элемента 18 и верхнего элемента 20, а также проходящих между ними туннельных диодов 22, 24 до подложки 26. Затем на проходящую по подложке 12 на некотором расстоянии от фотоактивной области 28 область 30 солнечного элемента 10 эпитаксиально наращивают защитный диод 32 p-n-типа, причем n-слой 34 проходит со стороны верхнего элемента, а p-слой 36 – с передней стороны.
Решетки слоев 34, 36 могут быть согласованы друг с другом или с решетками прилегающих слоев. Однако также существует возможность так выбирать состав материалов отдельного слоя, чтобы получалась система с согласованием дефектов решетки.
Согласно изобретению затем на p-слой 36 защитного диода 32, который предпочтительно соответствует материалу среднего элемента 18 или верхнего элемента 20, то есть арсенид галлия-индия или фосфид галлия-индия, эпитаксиально наращивают туннельный диод 38, причем предпочтительно находящийся со стороны защитного диода p++-слой 42 состоит из AlGaAs или AlGaInP, а находящийся с передней стороны n++-слой 44 – из GaInAs или GaAs, или InGaP. Соответственным образом выполненный туннельный диод 38 проявляет очень хорошие туннельные характеристики вплоть до очень высоких плотностей тока, которые имеются в шунтирующем диоде 32 (вплоть до 550 мА при примерно 8 мм2).
Затем на находящийся с передней стороны n++-слой 44 туннельного диода 38 может быть непосредственно нанесен передний контакт 40. Однако предпочтительно предусматривается контактный n+-слой 46, как это предусмотрено также для фотоактивной области 28 солнечного элемента 10.
Предпочтительно, для образования солнечного элемента 10 сначала формируют или эпитаксиально наращивают все слои, а также слои защитного диода 32 и туннельного диода 38, а также дополнительный контактный n+-слой 46, чтобы затем путем вертикального травления отделить фотоактивную область 28 от области 30, на которой проходит защитный диод 32 с туннельным диодом 38 и контактным слоем 46.
На Фиг.1 дополнительно показана схема коммутации этого солнечного элемента 10, подключаемого последовательно с другими солнечными элементами. На эквивалентной схеме можно видеть включенный антипараллельно солнечному элементу 10 защитный диод 32.
Фиг.2 более подробно показывает строение тройного элемента 10 в его активной области 28, которая соответствует части области 30 ниже защитного диода 32.
На задний контакт 12 нанесен нижний или задний элемент 16, который состоит из легированной примесью p-типа активной германиевой подложки 26 и проходящего по ней легированного примесью n-типа буферного слоя 48, являющегося также барьерным слоем. На этот буферный или барьерный слой 48 затем нанесен n++-слой 50 арсенида галлия-индия (GaInAs) или слой GaAs, или слой InGaP, а на него – p++-слой 52 из Al0,3Ga0,7As, которые образуют туннельный диод 22. Затем на туннельный диод 22 наносят средний элемент 18, который состоит из p+-проводящего барьерного слоя 54 из GaInAs, p-проводящего слоя 56 базы в виде GaInAs и n-проводящего слоя 58 эмиттера в виде GaInAs. При этом доля индия выбрана так, чтобы происходило согласование решеток слоев, образующих туннельный диод 22, и германиевой подложки. Доля индия предпочтительно составляет от 1% до 3%.
Затем средний элемент 18 может быть покрыт n+-проводящим барьерным слоем 60, который может состоять из AlGaInP/AlInAs.
На среднем элементе 18 простирается туннельный диод 24, состоящий из n++-проводящего нижнего слоя 62 из GaInAs или AlGaInP и p++-проводящего верхнего слоя 64 из AlGaAs или AlGaInP. Предпочтительно, этот туннельный диод состоит из материала с большой шириной запрещенной зоны, чтобы обеспечить достаточную светопроницаемость для лежащих под ним солнечных элементов. Затем этот туннельный диод может быть покрыт барьерным слоем 66, который является p+-проводящим и состоит из AlGaInP.
На туннельном диоде 24 эпитаксиально выращен передний или верхний элемент 20, который состоит из p+-проводящего барьерного слоя 68 из GaInP, слоя 70 базы, который является p-проводящим и состоит из GaInP, и n-проводящего слоя 72 эмиттера из GaInP. Слой 72 эмиттера покрыт слоем-окном 74, который является n+-проводящим и состоит из AlInP. Так как слой-окно 74 плохо контактирует с передним контактом 14, на некоторых участках слоя-окна 74 простирается n-проводящий верхний слой 76, который состоит из n-GaAs.
Что касается материала защитного диода, то предпочтительно выбирают тот же самый материал, что и материал среднего элемента 18, а именно GaAs, с некоторой долей In. В принципе мог бы использоваться также материал переднего или верхнего элемента 30, то есть GaInP. Однако в этом случае прямое напряжение на защитном диоде 32 было бы больше.
Материал проходящего по защитному диоду 32 туннельного диода 38 для достижения хороших туннельных характеристик должен быть материалом туннельного диода 22, т.е. p++-проводящий слой 42 должен состоять из Al0,3Ga0,7As, а n++-проводящего слой 44 – из GaInAs.
Затем передний контакт 40, покрывающий n+-слой, приводят в электрическое соединение, с одной стороны, с передним контактом 14 фотоактивной области 28, а также в электрическое соединение с задним контактом одного из подключаемых последовательно дополнительных солнечных элементов. Это проводится обычно при подключении солнечных элементов путем припаивания или приваривания стандартного соединителя, такого как тот, который используется также в солнечных элементах без защитного диода, причем обычно один из нескольких островков сварки выполнен как защитный диод. Защитный диод может также быть подключен уже встроенным в солнечный элемент.
Формула изобретения
1. Солнечный элемент с проходящими между передним и задним контактом фотоактивными полупроводниковыми слоями, со встроенным, соединяемым с передним контактом защитным диодом (шунтирующим диодом) с противоположной солнечному элементу полярностью и проходящим на передней стороне p-проводящим полупроводниковым слоем, на котором проходит туннельный диод, отличающийся тем, что на туннельном диоде (38) проходит n+-проводящий слой (46), через который защитный диод (32) соединен или может быть соединен с передним контактом (14).
2. Солнечный элемент по п.1, отличающийся тем, что защитный диод (32) состоит из проходящего на стороне солнечного элемента n-проводящего слоя (34) и проходящего на передней стороне p-проводящего слоя (36), которые предпочтительно состоят соответственно из GaInS или GaInP.
3. Солнечный элемент по п.1, отличающийся тем, что p++-проводящий слой (42) туннельного диода (38) состоит из AlGaAs, такого как Al1-yGayAs, предпочтительно с 0,0 y 0,6.
4. Солнечный элемент по п.1, отличающийся тем, что n++-проводящий слой (44) туннельного диода (38) состоит из GaInAs, такого как Ga1-xInxAs, предпочтительно с 0,01 x 0,03, или из GaAs, или из InGaP.
5. Солнечный элемент по п.1, отличающийся тем, что солнечный элемент (10) представляет собой каскадный или многопереходный солнечный элемент с n солнечными элементами-компонентами при n 2, в частности, в виде тройного элемента с расположенными друг на друге первым, вторым и третьим солнечными элементами-компонентами (16, 18, 20) n-p-типа.
6. Солнечный элемент по п.5, отличающийся тем, что фотоактивные слои первого элемента-компонента или нижнего элемента (16) состоят из германия.
7. Солнечный элемент по п.5, отличающийся тем, что фотоактивные слои второго элемента-компонента или среднего элемента (18) состоят из GaInAs, такого как Ga1-xInxAs, предпочтительно с 0,01 х 0,03.
8. Солнечный элемент по п.5, отличающийся тем, что фотоактивные слои третьего элемента-компонента или верхнего элемента (20) состоят из GaInP, такого как Ga1-zInzP, предпочтительно с 0,48 z 0,52.
9. Солнечный элемент по п.1, отличающийся тем, что солнечный элемент (10) состоит из фотоактивной первой области (28) и имеющей на передней стороне защитный диод (36) второй области (30), причем первая область (28) и вторая область выходят из одной общей подложки (26) на расстоянии друг от друга.
10. Солнечный элемент по п.5, отличающийся тем, что слои (34, 36) защитного диода (32) состоят из материалов, которые соответствуют слоям одного из солнечных элементов-компонентов (16, 18, 20) каскадного или многопереходного солнечного элемента (28).
11. Солнечный элемент по п.1, отличающийся тем, что n+-проводящий слой (46), соединяющий защитный диод (32) с передним контактом (14) солнечного элемента (10), покрыт металлическим контактом (40), который соединен с передним контактом (14) фотоактивных слоев солнечного элемента (28).
РИСУНКИ
|
|