|
|
(21), (22) Заявка: 2007145694/09, 10.12.2007
(24) Дата начала отсчета срока действия патента:
10.12.2007
(46) Опубликовано: 10.06.2009
(56) Список документов, цитированных в отчете о поиске:
SU 731484 A1, 30.04.1980. SU 469154 A1, 30.04.1975. DE 1145694 В, 21.03.1963. DE 1082652 В, 02.06.1960.
Адрес для переписки:
346413, Ростовская обл., г. Новочеркасск, ул. Машиностроителей, 3, ОАО “ВЭлНИИ”
|
(72) Автор(ы):
Бачурин Николай Ефремович (RU), Коновалов Григорий Яковлевич (RU), Романенко Владимир Васильевич (RU)
(73) Патентообладатель(и):
Открытое акционерное общество “Всероссийский научно-исследовательский и проектно-конструкторский институт электровозостроения” (ОАО “ВЭлНИИ”) (RU)
|
(54) КОНТАКТНАЯ СИСТЕМА КОНТРОЛЛЕРА
(57) Реферат:
Изобретение относится к области электромашиностроения, в частности к аппаратуре управления электроподвижным составом. Контактная система контроллера содержит неподвижные контакты, закрепленные на изоляционном корпусе, подвижные контакты, закрепленные на мостиковом контактодержателе, который взаимодействует с одним плечом поворотного двуплечевого рычага, установленного в корпусе на оси с возможностью взаимодействия другим концом с приводным элементом при помощи ролика, а также включающую пружину. Мостиковый контактодержатель, выполнен в виде металлической U-образной пластины с контактами, боковые стороны которой имеют форму трапеции. В середине на изгибах U-образной пластины имеются отверстия для крепления одного конца включающей пружины, другой конец которой закреплен к корпусу штифтом. Мостиковый контактодержатель своими боковыми сторонами установлен на оси, расположенной в плече поворотного двуплечевого рычага с возможностью свободно поворачиваться в отверстии этого плеча. Ось в плече поворотного двуплечевого рычага, отверстия на изгибах U-образной пластины для крепления включающей пружины и крепление ее второго конца к корпусу штифтом расположены на одной прямой, что гарантирует одновременное касание и отрыв контактов при коммутации. Технический результат – повышение надежности контактной системы контроллера и уменьшение ее габаритов. 2 ил.
Изобретение относится к области электромашиностроения, в частности к аппаратуре управления электроподвижным составом.
Известна контактная система контроллера, содержащая корпус, латунные выводы подвижного и неподвижного контактов, закрепленные на изоляторе, поворотный двуплечевой рычаг. На рычаге установлен ролик и узел подвижного контакта. В качестве ролика применен подшипник. Подвижной контакт состоит из пружинящей пластины, серебряного контакта и пластинчатого гибкого шунта. Контакт прикреплен к шунту и пластине. Форма рычага и пружинящей пластины выбраны так, что при замыкании контактов обеспечивается их провал и проскальзывание друг относительно друга. Величина провала обеспечивается подгибкой хвостовика пластины. Нажатие контактов обеспечивается включающей пружиной, воздействующей на хвостовик рычага (см. Руководство по эксплуатации. «Электровоз ЭП1», том 1, стр.289-294, издание г.Ростов-на-Дону. ООО «Белая Русь», 2006 г.).
Недостатком такой контактной системы является наличие одного коммутирующего разрывного контакта, что ограничивает коммутирующую способность при прохождение через него тока нагрузки, и пластинчатого гибкого шунта, который может ломаться при нарастании частоты срабатывания контактов контактной системы контроллера, что создает нестабильность в работе, снижает показатели надежности контактной системы. Для достижения стабильности в работе контактной системы необходимо увеличить число контактов, что позволит увеличить число разрывов, а соответственно, ток нагрузки или увеличить длину пластинчатого гибкого шунта, что позволит уменьшить амплитуду его изгиба при увеличении частоты срабатывания, но все это приведет к нежелательному увеличению конструкции контактной системы.
Наиболее близким по технической сущности к изобретению является контактная система контроллера, содержащая неподвижные контакты, закрепленные на изоляционном корпусе, подвижные контакты, закрепленные на мостиковом контактодержателе, и поворотный двуплечий рычаг, одно плечо которого взаимодействует с приводным элементом, а другое – с мостиковым контактодержателем, который на одном конце имеет прорезь, а на другом конце – шаровый выступ. Плечо двуплечего рычага, взаимодействующее с мостиковым контактодержателем, снабжено Т-образным выступом и выполнено с углублением, причем Т-образный выступ размещен в прорези мостикового контактодержателя, шаровый выступ которого входит в углубление на двуплечем рычаге (см. А.С. 731484 СССР, МКИ H01H 1/20. Контактная система контроллера, заяв 28.11.77, опуб. 30.04.80, БИ 16).
Недостатком конструкции прототипа является поломка на участке между контактом и выступом поворотного двуплечевого рычага в случае сваривания контактов и нарастания их частоты срабатывания, когда шаровый выступ поднимается над поворотным рычагом, а упор тяги подпирает поворотный рычаг снизу, вследствие чего поворотный рычаг – контактодержатель превращается в жесткую систему. Самым худшим вариантом является ситуация, когда происходит сваривание контактов только с одним неподвижным контактом. В этом случае на участке, имеющем прорезь, происходит поломка одного лепестка, т.е. имеет место ситуация наличия одного контактного разрыва, следствием которого является неравномерный износ контактов и сокращение срока службы контактной системы в целом, а это прямым образом снижает показатели надежности контактной системы контроллера. Для повышения прочности и устранения поломки лепестков пластины контактодержателя необходимо увеличить площадь контактов и размер самой пластины, а это приводит к нежелательному увеличению габаритов конструкции.
Задачей изобретения является повышение надежности контактной системы и уменьшение габаритов конструкции электрического аппарата.
Для решения поставленной задачи в контактную систему контроллера, содержащую неподвижные контакты, закрепленные на изоляционном корпусе, подвижные контакты, закрепленные на мостиковом контактодержателе, который взаимодействует с одним плечом поворотного двуплечевого рычага, установленного в корпусе на оси с возможностью взаимодействия другим концом с приводным элементом при помощи ролика, включающей пружины, введены новые признаки: мостиковый контактодержатель выполнен в виде металлической U-образной пластины с контактами, боковые стороны которой имеют форму трапеции, в середине на изгибах U-образной пластины имеются отверстия для крепления одного конца включающей пружины, другой конец которой закреплен к корпусу штифтом. Мостиковый контактодержатель своими боковыми сторонами установлен на оси, расположенной в плече поворотного двуплечевого рычага с возможностью свободно поворачиваться в отверстии этого плеча. Ось в плече поворотного двуплечевого рычага, отверстия на изгибах U-образной пластины для крепления включающей пружины и крепление ее второго конца к корпусу штифтом расположены на одной прямой, что гарантирует одновременное касание и отрыв контактов при коммутации.
Таким образом, по сравнению с прототипом контактная система контроллера, содержащая мостиковый контактодержатель, выполненный в виде металлической U-образной пластины с контактами, боковые стороны которой имеют форму трапеции, с металлической осью для крепления к плечу поворотного двуплечевого рычага и отверстиями на изгибе для включающей пружины имеет меньшие габариты, более надежное контактирование за счет непосредственного действия включающей пружины в зоне подвижных и неподвижных контактов, обладает большей механической прочностью и не подвергается поломке при нарастании частоты срабатывания контактов.
Изобретение поясняется чертежами, на которых изображены:
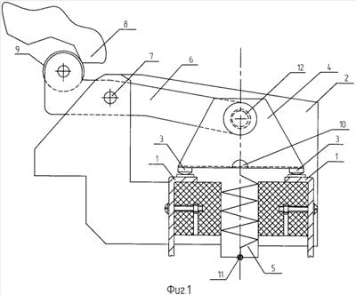
Фиг.1 Контактная система контроллера в сборе.
Фиг.2 Контактодержатель мостиковый в виде U-образной пластины (две проекции).
Контактная система контроллера, состоящая из неподвижных контактов 1, закрепленных на изоляционном корпусе 2, подвижных контактов 3, закрепленных на мостиковом контактодержателе 4, включающей пружины 5, и поворотного двуплечевого рычага 6, установленного в корпусе 2 на оси 7 с возможностью взаимодействия одним плечом с приводным элементом (кулачковой шайбой) 8 при помощи ролика 9, а другим плечом – с мостиковым контактодержателем 4, выполненным в виде металлической U-образной пластины с контактами, боковые стороны которой имеют форму трапеции. В середине на изгибах U-образной пластины имеются отверстия 10 для крепления одного конца включающей пружины 5, другой конец которой прикреплен к корпусу 2 штифтом 11. Мостиковый контактодержатель 4 своими боковыми сторонами крепится к плечу поворотного двуплечевого рычага 6 на оси 12 с возможностью свободно поворачиваться в отверстии 13 этого плеча, которое расположено на одной прямой с отверстиями 10 на изгибах U-образной пластины для крепления включающей пружины 5 и крепления ее второго конца к корпусу 2 штифтом 11.
Место и положение отверстий в середине на изгибах боковых сторон U-образной пластины для крепления включающей пружины подобраны практически с оптимальной точки зрения для выполнения условий:
– параллельности подвижных и неподвижных контактов для одновременного разрыва и замыкания;
– свободного хода включающей пружины при растягивании и сжатии по вертикальной прямой (то есть отсутствия у нее перекоса, заедания и поломки);
– сохранения жесткости U-образной пластины;
– простоты крепления пружины и мостикового контактодержателя к плечу поворотного двуплечевого рычага.
Контактная система контроллера работает следующим образом. Начальное состояние системы – нормально-замкнутое. Включающая пружина 5 прижимает мостиковый контактодержатель 4 в виде U-образной пластины к неподвижным контактам 1. При повороте приводного элемента 8 его поверхность нажимает на ролик 9 плеча двуплечевого рычага 6 и поворачивает его вокруг оси 7. Другое плечо двуплечевого рычага 6 поднимает мостиковый контактодержатель 4 вверх, растягивая включающую пружину 5, которая удерживает его параллельно неподвижным контактам 1. В случае залипания одного из контактов происходит небольшое смещение U-образной пластины, который вследствие жесткости самой пластины смещает отверстия 10 на изгибе для крепления пружины 5 в сторону относительно прямой с отверстием 13 на плече рычага 6 с расположением самой пружины 5 и вторым ее концом в корпусе на штифте 11, а это способствует притирке этих контактов и немедленному разрыву токоведущего перешейка. Включающая пружина 5 возвращается на одну прямую со своими точками крепления и отверстием 13 на плече рычага 6, выравнивая перекос U-образной пластины, делая параллельное положение подвижных контактов 3 относительно неподвижных контактов 1 контактной системы контроллера. При снятии воздействия приводного элемента 8 на двуплечевой рычаг 6 включающая пружина 5 возвращает в исходное положение контактную систему. При этом сила натяжения контактов определяется усилием включающей пружины 5.
Функцией провала является компенсация износа контактов, поэтому величина провала определяется прежде всего величиной максимального износа контактов. В предлагаемой контактной системе контроллера износ контактов компенсируется нажатием включающей прыжины.
Таким образом, использование мостикового контактодержателя, выполненного в виде металлической U-образной пластины с контактами, боковые стороны которой имеют форму трапеции, а в середине на изгибах U-образной пластины имеется отверстие для крепления включающей пружины, сама U-образная пластина своими боковыми сторонами крепится к плечу поворотного двуплечевого рычага на оси с возможностью свободно поворачиваться в отверстии этого плеча, позволило повысить надежность при коммутации и уменьшить габариты контактной системы, добиться простоты при ее изготовлении и сборке.
Формула изобретения
Контактная система контроллера, содержащая неподвижные контакты, закрепленные на изоляционном корпусе, подвижные контакты, закрепленные на мостиковом контактодержателе, который взаимодействует с одним плечом поворотного двуплечевого рычага установленного в корпусе на оси с возможностью взаимодействия другим концом с приводным элементом при помощи ролика, включающую пружину, отличающаяся тем, что мостиковый контактодержатель выполнен в виде металлической U-образной пластины с контактами, боковые стороны которой имеют форму трапеции, в середине на изгибах U-образной пластины имеются отверстия для крепления одного конца включающей пружины, другой конец которой закреплен к корпусе штифтом, мостиковый контактодержатель своими боковыми сторонами установлен на оси в плече поворотного двуплечевого рычага с возможностью свободно поворачиваться в отверстии этого плеча, причем ось в плече поворотного двуплечевого рычага, отверстия на изгибах U-образной пластины для крепления включающей пружины и крепление ее второго конца к корпусу штифтом расположены на одной прямой.
РИСУНКИ
|
|