|
(21), (22) Заявка: 2007130253/09, 07.08.2007
(24) Дата начала отсчета срока действия патента:
07.08.2007
(46) Опубликовано: 10.06.2009
(56) Список документов, цитированных в отчете о поиске:
RU 2046428 С1, 20.10.1995. SU 1690007 A1, 07.11.1991. SU 1541682 A1, 07.02.1990. SU 1399828 A2, 30.05.1988. SU 1262584 A1, 07.10.1986. SU 1589329 A1, 30.08.1990. SU 847385 A, 15.07.1981. GB 789434 A, 20.10.1995.
Адрес для переписки:
152934, Ярославская обл., г. Рыбинск, ул. Крестовая, 100, а/я 19, Общественная организация ВОИР
|
(72) Автор(ы):
Шестаков Владимир Николаевич (RU)
(73) Патентообладатель(и):
Общество с ограниченной ответственностью “Дарлинг” (RU)
|
(54) СПОСОБ ИЗОЛИРОВАНИЯ ТОРОИДАЛЬНОГО МАГНИТОПРОВОДА
(57) Реферат:
Изобретение относится к электротехнике, в частности к намоточному оборудованию для изолирования тороидальных магнитопроводов. Техническим результатом является повышение качества изоляции тороидальных сердечников. В способе изолирования тороидального магнитопровода конец изоляционной ленты закрепляют на магнитопроводе, производят укладку и обмотку изоляционной ленты вокруг магнитопровода путем вращения шпули с роликами с одновременной намоткой на шпулю. Натяжение изоляционной ленты осуществляют путем ее охвата вокруг роликов тормозным ремнем при каждом обороте шпули. 4 ил.
Изобретение относится к электротехнике, в частности к намоточному оборудованию для изолирования тороидальных магнитопроводов.
Известен способ нанесения изоляции на тороидальный магнитопровод, заключающийся в приклеивании конца изоляционной ленты к боковой поверхности магнитопровода клеем БФ-4, сушке на воздухе в течение 15-20 минут и обматывании магнитопровода так, что изоляция закрывала всю поверхность магнитопровода (см. Аренков А.Б., Климов А.К., Липатов Ю.Н. «Изготовление трансформаторов с ленточными магнитопроводами». Л.: Судостроение, 1976 г., с.107, рис.3.31).
Недостатками известного способа являются:
– увеличение длительности процесса нанесения изоляции за счет наличия вспомогательной операции, при которой необходимо размыкание и замыкание шпули при смене очередного изолируемого магнитопровода;
– низкое качество изолирования магнитопровода.
Наиболее близким к заявляемому изобретению является способ изолирования тороидального магнитопровода, согласно которому изоляционную ленту обматывают вокруг магнитопровода и закрепляют его конец, при этом перед обматыванием магнитопровода изоляционной лентой на его боковой поверхности закрепляют конец изоляционной ленты, закрывающий и часть его оснований, определяемую величиной коэффициента перекрытия по внутренней поверхности магнитопровода, а укладку этой ленты по периметру и обматывание магнитопровода осуществляют одновременно (см. МПК H01F 41/12 описание изобретения к патенту Российской Федерации 2046428, опубл. 20.10.1995 г.).
Недостатком известного способа является низкое качество намотки изоляционной ленты, обусловленное образованием петель и рыхлости (не плотности), так как намотка изоляционной ленты тороидальных сердечников является не симметричной. При выполнении технологической операции натяжения изоляционной ленты методом противовключения электрического двигателя происходит неравномерное натяжение ленты, приводящее к ухудшению заданного коэффициента ее перекрытия, что влияет на толщину изоляции и в конечном итоге на качество готового изделия.
Техническим результатом является повышение качества изоляции тороидальных магнитопроводов.
Сущность технического решения заключается в том, что в способе изолирования тороидального магнитопровода, согласно которому конец изоляционной ленты закрепляют на магнитопроводе, производят укладку и обмотку изоляционной ленты вокруг магнитопровода путем вращения шпули с роликами с одновременной намоткой на шпулю, натяжение изоляционной ленты, при этом натяжение изоляционной ленты осуществляют путем ее охвата вокруг роликов тормозным ремнем при каждом обороте шпули.
Сравнительный анализ с прототипом показывает, что заявляемый способ отличается тем, что натяжение изоляционной ленты осуществляют путем ее охвата вокруг роликов тормозным ремнем при каждом обороте шпули. Таким образом, заявляемый способ соответствует критерию «новизна».
Сравнение заявляемого технического решения с другими техническими решениями в данной области техники не позволило выявить в них признаки, отличающее заявляемое решение от прототипа. В предложенном техническом решении все отличительные признаки взаимосвязаны и в сочетании с другими признаками позволяют получить новый технический результат: повысить качество изолирования тороидальных магнитопроводов. На основании вышеизложенного можно сделать вывод о соответствии заявляемого способа критерию «изобретательский уровень»
Натяжение изоляционной ленты путем ее охвата вокруг роликов тормозным ремнем при каждом обороте шпули позволит повысить качество изолирования тороидального магнитопровода за счет устранения образования петель и рыхлости намотанной изоляционной ленты, а также улучшить заданный коэффициент перекрытия изоляционной ленты и плотность изоляции.
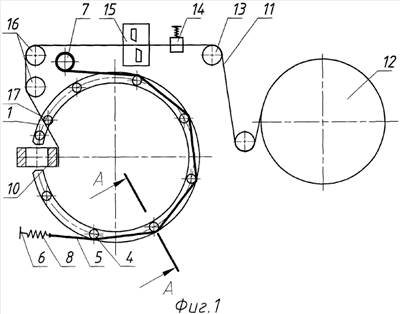
На фиг.1 изображено устройство для изолирования тороидального магнитопровода в момент закрепления изоляционной ленты; на фиг.2 – сечение А-А фиг.1; на фиг.3 – в момент начального вращения шпули; на фиг.4 – в момент натяжения изоляционной ленты тормозным ремнем.
Устройство представляет собой шпулю 1, выполненную в виде двух кольцевых щек 2, соединенных между собой осями 3, на которых расположены приводные ролики 4 независимого вращения, охватываемые тормозным ремнем 5, концы 6 и 7 которого закреплены на корпусе станка (не показан), при этом один конец 6 снабжен пружиной 8 натяжения тормозного ремня 5. Кольцевые щеки 2 имеют вырез 9 для установки изолируемого тороидального магнитопровода 10.
Способ изолирования тороидального магнитопровода осуществляется следующим образом. Магнитопровод 10 устанавливается в вырез 9 шпули 1 и закрепляется на столике круговой намотки (не показан). Слой изоляционной ленты 11 с бобины 12 через ролики 13 устройства счета метража (не показано), механизм удержания ленты 14, электромагнитные ножницы 15, направляющие ролики 16 и через ведущий ролик 17 шпули 1 подводится к магнитопроводу 10, конец ленты закрепляется на нем или удерживается пальцами руки (см. фиг.1). Включают станок. Происходит вращение шпули 1 вокруг тороидального магнитопровода 10, при котором осуществляется обматывание трубопровода слоем изоляционной ленты 11 с одновременной загрузкой ленты заданной длины в шпулю 1. При этом при каждом обороте шпули производят натяжение ленты путем ее охвата вокруг роликов 4 тормозным ремнем 5 при каждом обороте шпули (см. фиг.3). При достижении заданного значения метража изоляционной ленты, не прерывая процесса намотки, происходит ее обрезание при помощи электромагнитных ножниц 14, а оставшаяся часть ленты продолжает изолировать магнитопровод до заданного количества витков (см. фиг.4). После чего конец изоляционной ленты закрепляют к магнитопроводу.
ПРИМЕР. В качестве конкретного примера изолирован тороидальный магнитопровод в виде сердечника 80 вольт-ампер.
Размеры сердечника 80×45×25
Два слоя изоляционной ленты ПЭТ-Э 0,5
Ширина изоляционной ленты 15 мм
Толщина изоляционной ленты 0,5 мм
Количество витков 40
Коэффициент перекрытии 50%
Полное время изолирования 35 сек
Применение предлагаемого способа изолирования тороидального магнитопровода позволяет улучшить качество изготовления сердечников за счет надежного и ровного (равномерного) нанесения слоя изоляции на его поверхность, устранения образования петель и рыхлости при высокой динамике процесса и несимметричном расположении сердечника во время нанесения изоляции.
Формула изобретения
Способ изолирования тороидального магнитопровода, согласно которому конец изоляционной ленты закрепляют на магнитопроводе, производят укладку и обмотку изоляционной ленты вокруг магнитопровода путем вращения шпули с роликами с одновременной намоткой на шпулю, натяжением изоляционной ленты, отличающийся тем, что натяжение изоляционной ленты осуществляют путем ее охвата вокруг роликов тормозным ремнем при каждом обороте шпули.
РИСУНКИ
|