|
|
(21), (22) Заявка: 2007137144/12, 08.10.2007
(24) Дата начала отсчета срока действия патента:
08.10.2007
(46) Опубликовано: 10.06.2009
(56) Список документов, цитированных в отчете о поиске:
US 6420971 B1, 16.07.2002. SU 1377923 A1, 29.02.1988. SU 1085522 A, 07.04.1984. RU 45857 U1, 27.05.2005. US 5275548 A, 04.01.1994.
Адрес для переписки:
607186, Нижегородская обл., г. Саров, пр. Ленина, 32, кв.35, А.А. Шевцову
|
(72) Автор(ы):
Шевцов Андрей Анатольевич (RU)
(73) Патентообладатель(и):
Шевцов Андрей Анатольевич (RU)
|
(54) ЭЛЕКТРОННАЯ ПЛОМБА (ВАРИАНТЫ)
(57) Реферат:
Изобретение относится к области обеспечения автоматизированного контроля состояния запорно-пломбировочных устройств. Электронная пломба включает корпус и отрезок троса, состоящего из внешней оболочки, окружающей, по крайней мере, одну внутреннюю жилу, при этом один конец троса жестко зафиксирован в корпусе и соединен с блоком контроля целостности троса, другой рабочий конец троса, после установки на запираемом объекте, фиксируется запорным механизмом, расположенным в корпусе, средства хранения пломбировочной информации и обмена данными с переносным и/или стационарным считывающим устройством. Причем одна внутренняя жила выполнена из электропроводящего неметаллического материала, обладающего высоким значением относительного удлинения, в исходном состоянии растянута и образует электрический контур с другой проводящей жилой, выполненной, например, из медного проводника, и/или внешней оболочной троса, при этом указанный контур электрически соединяется с блоком контроля целостности троса. Также присутствуют еще два варианта исполнения изобретения. Изобретение позволяет улучшить эксплуатационно-технические характеристики электронной пломбы и повысить стойкость запирающего элемента. 3 н. и 4 з.п. ф-лы, 7 ил.
Изобретение предназначено для обеспечения автоматизированного контроля состояния запорно-пломбировочных устройств, используемых в качестве охранных устройств от несанкционированного проникновения, и может быть использовано для пломбирования транспортных средств, вагонов, контейнеров, гаражей, складов и т.п.
Известно зажимное приспособление для отрезка троса (п. РФ 2210690, опубл. 20.08.2003), содержащее корпус и стальной трос, выполненный с возможностью пропускания через проушины запираемого объекта, при этом первый конец троса жестко заделан в корпусе, а второй конец троса пропущен сквозь корпус и зажат в нем с помощью зажимных элементов. Данное приспособление содержит электронную метку (ЭМ), расположенную на корпусе и выполненную с возможностью передачи сигнала о нарушении целостности троса, при этом на наружной поверхности троса нанесен резистивный слой, обладающий заданным сопротивлением, наружные пряди первого и второго концов троса через, соответственно, первый и второй контакты соединены с мостовой схемой, соединенной с блоком контроля, причем мостовая схема и блок контроля выполнены в ЭМ или в виде отдельного электронного блока, электрически связанного с ЭМ.
Недостатком данного устройства является сложность конструкции и возможность возникновения ложной тревоги в связи со случайными внешними факторами в условиях эксплуатации, т.к. контролирующий целостность троса резистивный слой находится на его внешней стороне.
Известна электронная пломба (п. США 6420971 от 16.07.2002.), выбранная в качестве прототипа, включающая запирающий элемент, состоящий из внешней оболочки, окружающей, по крайней мере, одну внутреннюю жилу, и корпус, который соединяется с запирающим элементом и образует пломбу в закрытом состоянии; средства контроля целостности внутренней жилы и подготовки соответствующих данных; микропроцессор для сбора и обработки этих данных; инфракрасный излучатель, управляемый микроконтроллером, для передачи обработанных данных в дистанционное считывающее устройство, при этом микроконтроллер активирует в заранее заданные интервалы времени устройство контроля целостности внутренней жилы и записывает в память в качестве события любое изменение состояния жилы, в результате чего инфракрасный излучатель начинает передавать синхроимпульсы для того, чтобы инициировать обмен данными с дистанционным считывающим устройством.
Недостатком данного устройства является необходимость непрерывного контроля запирающего элемента, что значительно усложняет электронную составляющую пломбы и требует использования автономного элемента питания.
Задачей предлагаемого изобретения является улучшение эксплуатационно-технических характеристик электронной пломбы за счет исключения необходимости в непрерывном контроле целостности запирающего элемента и повышения стойкости запирающего элемента к попыткам скрытого нарушения его целостности с целью фальсификации пломбировочной информации, при этом не требуется обязательное применение автономного источника питания.
Для решения поставленной задачи ниже предлагается несколько вариантов исполнения электронной пломбы.
Первый вариант.
Электронная пломба включает корпус и отрезок троса, состоящего из внешней оболочки, окружающей, по крайней мере, одну внутреннюю жилу, при этом один конец троса жестко зафиксирован в корпусе и соединен с блоком контроля целостности троса, другой рабочий конец троса, после установки на запираемом объекте, фиксируется запорным механизмом, расположенным в корпусе, средства хранения пломбировочной информации и обмена данными с переносным и/или стационарным считывающим устройством. Пломбу отличает то, что, по крайней мере, одна внутренняя жила выполнена из электропроводящего неметаллического материала, обладающего высоким значением относительного удлинения, в исходном состоянии растянута и образует электрический контур с другой проводящей жилой, выполненной, например, из медного проводника, и/или внешней оболочной троса, при этом указанный контур электрически соединяется с блоком контроля целостности троса. Внутренняя жила из неметаллического материала может быть выполнена из токопроводящего силикона.
Второй вариант.
Электронная пломба включает корпус и отрезок троса, состоящего из внешней оболочки, окружающей, по крайней мере, одну внутреннюю жилу, при этом один конец троса жестко зафиксирован в корпусе и соединен с блоком контроля целостности троса, другой рабочий конец троса, после установки на запираемом объекте, фиксируется запорным механизмом, расположенным в корпусе, средства хранения пломбировочной информации и обмена данными с переносным и/или стационарным считывающим устройством. Пломбу отличает то, что, по крайней мере, одна внутренняя жила выполнена из материала, обладающего высоким значением относительного удлинения, в исходном состоянии растянута, блок контроля целостности троса снабжен коммутационным механизмом с управлением от пружины, при этом один конец внутренней жилы закреплен на рабочем конце троса, а другой конец жилы соединен с пружиной коммутационного механизма, которая в исходном состоянии сжата под действием сжимающих сил в жиле.
При этом коммутационный механизм может быть выполнен в виде разомкнутого участка электрической цепи, пружина иметь токопроводящую площадку, которая при ослаблении пружины замкнет упомянутый участок цепи. Или коммутационный механизм может быть выполнен в виде участка электрической цепи, пружина иметь заостренный выступ, который при ослаблении пружины разрушит упомянутый участок цепи.
Третий вариант.
Электронная пломба включает корпус и отрезок троса, состоящего из внешней оболочки, окружающей, по крайней мере, одну внутреннюю жилу, при этом один конец троса жестко зафиксирован в корпусе и соединен с блоком контроля целостности троса, другой рабочий конец троса, после установки на запираемом объекте, фиксируется запорным механизмом, расположенным в корпусе, средства хранения пломбировочной информации и обмена данными с переносным и/или стационарным считывающим устройством. Пломбу отличает то, что внутренняя жила состоит из нескольких визуально неотличимых друг от друга изолированных электрических проводников, соединенных с блоком контроля целостности троса, при этом, по крайней мере, один проводник образует электрический контур с другим проводником и/или внешней оболочкой троса, которая в таком случае тоже электрически соединена с блоком контроля целостности троса. Проводники, не входящие в вышеупомянутый контур, могут образовывать свои изолированные от других проводников электрические контуры.
Суть всех трех вариантов электронной пломбы состоит в том, что достигнута высокая степень противодействия попыткам восстановить целостность запирающего элемента после его перекусывания или разрыва, тем самым повышается степень доверия к системе пломбирования за счет повышенной стойкости к фальсификации и устранения “человеческого фактора” при проверке. Кроме того, разработанная пломба может не содержать автономных элементов питания и сложной электроники, в том числе и микроконтроллера. Проверка пломбы осуществляется считывающим устройством. Никаких специальных датчиков пломба не имеет, но есть специальная электрическая цепь, в зависимости от целостности которой передаваемые в считыватель данные меняются определенным образом.
Изобретение поясняется следующими чертежами:
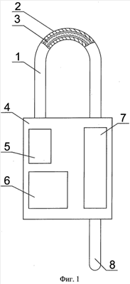
Фиг.1 – общая структура электронной пломбы,
Фиг.2 – трос пломбы с внутренней жилой из проводящего неметаллического материала с высоким значением относительного удлинения,
Фиг.3 – трос пломбы с пружиной и контактной площадной,
Фиг.4 – трос пломбы с пружиной и заостренным выступом,
Фиг.5 – трос пломбы с множеством проводников,
Фиг.6 – пример 1 схемы соединения проводников,
Фиг.7 – пример 2 схемы соединения проводников.
На чертежах позициями обозначены:
1 – трос
2 – внешняя оболочка троса
3 – внутренняя жила
4 – корпус пломбы
5 – блок контроля целостности троса
6 – средства хранения пломбировочной информации и обмена данными
7 – запорный механизм
8 – рабочий конец троса
9 – пружина
10 – токопроводящая площадка
11 – участок электрической цепи в блоке контроля целостности троса (контакт “1” и “2”)
12 – заостренный выступ пружины
13 – множество одинаковых проводников.
Ниже описаны варианты исполнения пломбы и принцип ее работы в каждом из вариантов.
Электронная пломба (фиг.1) состоит из корпуса 4, троса 1, блока контроля 5 целостности троса 1, средства хранения пломбировочной информации и обмена данными 6 с переносным и/или стационарным считывающим устройством (на фиг. не показан). Трос 1 состоит из внешней оболочки 2 и внутренней жилы 3, при этом один конец его жестко зафиксирован в корпусе 4, соединен с блоком контроля целостности троса 1, а другой, рабочий конец 8 троса, после установки на запираемом объекте, фиксируется запорным механизмом 7, расположенным в корпусе 4.
В первом варианте (фиг.2) исполнения пломбы внутренняя жила 3 выполнена из электропроводящего неметаллического материала с высоким значением относительного удлинения, например из токопроводящего силикона, в исходном состоянии растянута и образует электрический контур с другой проводящей жилой, выполненной, например, из медного проводника (на фиг. не показана), и/или внешней оболочкой троса 1, при этом указанный контур электрически соединяется с блоком контроля целостности троса 5. Целостность цепи контролируется внутренней электроникой пломбы по электрическим параметрам цепи. При перекусывании троса 1 внутренняя жила 3 перестает испытывать растягивающее усилие и сжимается до своего нормального состояния. Таким образом, внутри внешней оболочки 2 троса 1 на участках, примыкающих к месту перекуса, жила 3 будет отсутствовать. Это существенно затруднит возможность склеивания жилы 3 с целью скрыть ее разрыв.
Во втором варианте (фиг.3) исполнения пломбы, по крайней мере, одна внутренняя жила 3 выполнена из материала с высоким значением относительного удлинения, например, из силикона, и в исходном состоянии растянута, блок контроля 5 целостности троса 1 снабжен пружиной 9, при этом один конец внутренней жилы 3 закреплен на рабочем конце 8 троса 1, а другой конец жилы 3 соединен с пружиной 9 блока контроля 5 целостности троса 1, которая в исходном состоянии сжата под действием сжимающих сил в жиле 3, пружина 9 имеет контактную токопроводящую площадку 10, которая при ослаблении пружины 9 имеет возможность замыкания электрической цепи в блоке контроля 5 целостности троса 1. При перекусывании троса 1 внутренняя жила 3 перестает испытывать растягивающее усилие и сжимается до своего нормального состояния. В результате, внутри оболочки 2 троса 1 на участках, примыкающих к месту перекуса, жила 3 будет отсутствовать. В свою очередь, пружина 9 перестает испытывать сжимающее усилие и распрямляется. На конце пружины 9 имеется контактная площадка 10, которая при несжатой пружине замыкает контакты «1» и «2» цепи 11. Вернуть подпружиненный контакт в исходное положение является затруднительным, т.к. для этого необходимо вытянуть внутреннюю жилу 3 из внешней оболочки 2, что практически не возможно.
Или (фиг.4) внутренняя жила 3 выполнена из материала с высоким значением относительного удлинения, например из силикона, и в исходном состоянии растянута. Блок контроля 5 целостности троса 1 снабжен пружиной 9, при этом один конец внутренней жилы 3 закреплен на рабочем конце троса 1, а другой конец жилы 3 соединен с пружиной 9 блока контроля 5 целостности троса 1, которая в исходном состоянии сжата под действием сжимающих сил в жиле 3, при этом пружина 9 имеет заостренный выступ 12. При перекусывании троса 1 внутренняя жила 3 перестает испытывать растягивающее усилие и сжимается до своего нормального состояния. В результате, внутри оболочки 2 троса 1 на участках, примыкающих к месту перекуса, жила 3 будет отсутствовать. В свою очередь, пружина 9 перестает испытывать сжимающее усилие и распрямляется, перерезая цепь 11 на участке между контактами “1” и “2”. Даже если удастся вытащить внутреннюю жилу 3 из внешней оболочки 2 и заново сжать пружину 9, восстановить перерезанный участок цепи 11, расположенный внутри корпуса 4 пломбы, будет невозможно.
В третьем варианте (фиг.5) внутренняя жила 3 состоит из нескольких визуально неотличимых друг от друга изолированных электрических проводников 13, соединенных с блоком контроля 5 целостности троса 1, при этом, по крайней мере, один проводник образует электрический контур с другим проводником (фиг.6) и/или внешней оболочкой троса 2, который в таком случае тоже электрически соединен с блоком контроля 5 целостности троса 1. Проводники, не входящие в вышеупомянутый контур, могут образовывать свои изолированные от других проводников электрические контуры (фиг.7). Электрический контакт контура с проводником, не входящим в него, фиксируется встроенной электроникой как нарушение целостности троса. При перекусывании троса 1 целостность контура нарушается. Для восстановления контура необходимо соединить только те проводники, которые принадлежат этому контуру. Не допускается электрический контакт контура “1”-“2” и проводников, имеющих общую точку “3” (фиг.6). Также, ни один из контуров не должен иметь электрический контакт с другим контуром (фиг.7). Вероятность случайного правильного соединения проводников уменьшается с увеличением количества проводников в жиле.
Таким образом, данная электронная пломба обладает рядом преимуществ:
– возможность автоматизированного не визуального контроля целостности запирающего элемента,
– высокая степень противодействия попыткам скрытого восстановления целостности запирающего элемента после его перекусывания или разрыва,
– устраняется необходимость постоянного контроля целостности запирающего элемента,
– возможность работы без автономного элемента питания,
– простота конструкции.
Формула изобретения
1. Электронная пломба, включающая корпус и отрезок троса, состоящего из внешней оболочки, окружающей, по крайней мере, одну внутреннюю жилу, при этом один конец троса жестко зафиксирован в корпусе и соединен с блоком контроля целостности троса, другой рабочий конец троса, после установки на запираемом объекте, фиксируется запорным механизмом, расположенным в корпусе, средства хранения пломбировочной информации и обмена данными с переносным и/или стационарным считывающим устройством, отличающаяся тем, что, по крайней мере, одна внутренняя жила выполнена из электропроводящего неметаллического материала, обладающего высоким значением относительного удлинения, в исходном состоянии растянута, и образует электрический контур с другой проводящей жилой, выполненной, например, из медного проводника, и/или внешней оболочкой троса, при этом указанный контур электрически соединяется с блоком контроля целостности троса.
2. Устройство по п.1, отличающееся тем, что внутренняя жила из неметаллического материала выполнена из токопроводящего силикона.
3. Электронная пломба, включающая корпус и отрезок троса, состоящего из внешней оболочки, окружающей, по крайней мере, одну внутреннюю жилу, при этом один конец троса жестко зафиксирован в корпусе и соединен с блоком контроля целостности троса, другой рабочий конец троса, после установки на запираемом объекте, фиксируется запорным механизмом, расположенным в корпусе, средства хранения пломбировочной информации и обмена данными с переносным и/или стационарным считывающим устройством, отличающаяся тем, что, по крайней мере, одна внутренняя жила выполнена из материала, обладающего высоким значением относительного удлинения, в исходном состоянии растянута, блок контроля целостности троса снабжен коммутационным механизмом с управлением от пружины, при этом один конец внутренней жилы закреплен на рабочем конце троса, а другой конец жилы соединен с пружиной коммутационного механизма, которая в исходном состоянии сжата под действием сжимающих сил в жиле.
4. Устройство по п.3, отличающееся тем, что коммутационный механизм выполнен в виде разомкнутого участка электрической цепи, пружина имеет токопроводящую площадку, которая при ослаблении пружины имеет возможность замыкания упомянутого участка цепи.
5. Устройство по п.3, отличающееся тем, что коммутационный механизм выполнен в виде участка электрической цепи, пружина имеет заостренный выступ, который при ослаблении пружины разрушает упомянутый участок цепи.
6. Электронная пломба, включающая корпус и отрезок троса, состоящего из внешней оболочки, окружающей, по крайней мере, одну внутреннюю жилу, при этом один конец троса жестко зафиксирован в корпусе и соединен с блоком контроля целостности троса, другой рабочий конец троса, после установки на запираемом объекте, фиксируется запорным механизмом, расположенным в корпусе, средства хранения пломбировочной информации и обмена данными с переносным и/или стационарным считывающим устройством, отличающаяся тем, что внутренняя жила состоит из нескольких визуально неотличимых друг от друга изолированных электрических проводников, соединенных с блоком контроля целостности троса, при этом, по крайней мере, один проводник образует электрический контур с другим проводником и/или внешней оболочкой троса, которая в таком случае тоже электрически соединена с блоком контроля целостности троса.
7. Устройство по п.6, отличающееся тем, что проводники, не входящие в вышеупомянутый контур, могут образовывать свои изолированные от других проводников электрические контуры.
РИСУНКИ
|
|