|
|
(21), (22) Заявка: 2007111904/28, 02.09.2004
(24) Дата начала отсчета срока действия патента:
02.09.2004
(43) Дата публикации заявки: 10.10.2008
(46) Опубликовано: 10.06.2009
(56) Список документов, цитированных в отчете о поиске:
US 6204906 В1, 20.03.2001. RU 2003064 С1, 15.11.1993. RU 2172974 C2, 27.08.2001. US 6204906 B1, 20.03.2001.
(85) Дата перевода заявки PCT на национальную фазу:
02.04.2007
(86) Заявка PCT:
US 2004/028563 20040902
(87) Публикация PCT:
WO 2006/028445 20060316
Адрес для переписки:
129090, Москва, ул. Б.Спасская, 25, стр.3, ООО “Юридическая фирма Городисский и Партнеры”, пат.пов. Ю.Д.Кузнецову, рег. 595
|
(72) Автор(ы):
ТАННАС Лоренс Э. мл. (US)
(73) Патентообладатель(и):
ТАННАС Лоренс Э. мл. (US)
|
(54) УСТРОЙСТВО И СПОСОБ (ВАРИАНТЫ) ИЗМЕНЕНИЯ РАЗМЕРА ЭЛЕКТРОННЫХ ДИСПЛЕЕВ
(57) Реферат:
Изобретение относится к электронным дисплеям. Предложены устройство и способы изменения размеров серийных электронных дисплеев, а также измененные по размеру дисплеи, изготовленные с использованием этих устройства и способов. Электронный дисплей включает в себя переднюю пластину, заднюю пластину, расположенное по периметру уплотнение, отделяющее переднюю и заднюю пластины друг от друга, и формирующую изображение среду, содержащуюся в пространстве между передней и задней пластинами. Целевая часть дисплея может быть размечена и отделена от излишней части дисплея, например, посредством обрезания и разлома пластин дисплея, с созданием тем самым открытого края вдоль целевой части. Пластины целевой части сжимают по направлению друг к другу, например, чтобы закрепить или сжать целевую часть. На открытый край наносят клей и снимают давление, чтобы втянуть клей между пластинами вдоль открытого края. Технический результат – возможность выполнения дисплея по индивидуальному заказу. 6 н. и 22 з.п. ф-лы, 11 ил.
Область техники
Настоящее изобретение в общем относится к электронным дисплеям, а более конкретно, к устройству и способам модификации электронных дисплеев, например, к изготовлению на заказ, изменению размера и/или повышению прочности первоначального дисплея, и к дисплеям, изготовленным с использованием такого устройства и способов.
Определения
В этой заявке термин «серийный» означает «готовый коммерческий» (от англ. «Commercial Off-The-Shelf», COTS), ППД представляет собой акроним для термина «плоскопанельный дисплей» (от англ. «Flat-Panel Display», FPD), ЖКД – акроним для термина «жидкокристаллический дисплей» (от англ. «Liquid Crystal Display», LCD), ДПЖК – акроним для термина «жидкий кристалл с диспергированным полимером» (от англ. «Polymer-Dispersed Liquid Crystal», PDLC), ЖКДАМ – акроним для термина «жидкокристаллический дисплей с активной матрицей» (от англ. «Active Matrix Liquid Crystal Display», AMLCD), АСК – акроним для термина «автоматизированная сборка кристаллов на ленточном носителе» (от англ. «Tape-Automated-Bonding», TAB), ИССП – акроним для термина «интегральная схема на стеклянной подложке» (от англ. «Chip-On-Glass», COG), УФ – акроним для термина «ультрафиолет», СБИС – акроним для термина «сверхбольшая интегральная микросхема» (от англ. «Very Large Scale Integration», VLSI), и ТВВЧ – акроним для термина «телевидение высокой четкости» (от англ. «High-Definition Television», HDTV).
Уровень техники
Электронные дисплеи обычно используются для отображения данных, например, в форме видимого текста и/или других изображений, так что эти данные могут быть интерпретированы и/или задействованы. В типичном случае оператор связанного с дисплеем оборудования будет управлять этим оборудованием на основе, по меньшей мере частично, интерпретации отображенных данных. Простым примером является пилот самолета, который смотрит на дисплей панели управления, представляющий движение окружающих воздушных судов, и который затем управляет самолетом так, чтобы уклониться от этих воздушных судов.
В типичном случае дисплеи и связанные с ними обрамления (лицевые панели) и каркасы (аппаратные средства сопряжения и поддержки) конструируются для требуемых спецификаций по прочности, надежности и эксплуатационной долговечности, например, на основе промышленных технических регламентов и условий, и получающиеся в результате дисплеи могут иметь относительно сложные электрические, химические, оптические и/или физические характеристики. Каждое конкретное применение, например, может требовать от дисплея определенных эксплуатационных характеристик, таких как способность приспосабливаться к или сопротивляться изменяющимся условиям температуры, влажности, излучения, общего освещения, удару, вибрации, толчку, химикатам, солевому туману, воде и конденсации жидкости, погружению или другим окружающим, электрическим, физическим и/или другим условиям. Таким образом, из-за высоких цен, связанных с такими изменениями и спецификациями требований, для любого конкретного применения для изготовителей экономически желательно создать общий дизайн при большом объеме производства, в результате получая серийные дисплеи, которые все имеют в основном одинаковые характеристики и ограниченное число физических размеров. Размер может изменяться, но формы, как правило, являются прямоугольными с соотношением размеров сторон приблизительно три к четырем. Например, простые телевизионные и компьютерные дисплеи имеют соотношение размеров сторон приблизительно три к четырем, дисплеи ТВВЧ имеют соотношение размеров сторон девять к шестнадцати.
Для специализированных применений, где рынок может быть недостаточно большим, чтобы выйти на него серийным производителям, покупателям дисплеев требуется иметь дисплеи, изготовленные на заказ так, чтобы соответствовать их требованиям по размеру и форме, по цене, часто более чем в десять раз большей, чем цена серийного дисплея, имеющего приблизительно идентичные функциональные возможности. Альтернативно, покупатели могут выбрать встраивание серийного дисплея в существующую панель управления или отверстие в приборной панели, например, физически изменяя размер и/или форму отверстия панели управления с тем, чтобы они совпадали с размером и/или формой серийного дисплея. Однако для большинства применений такие модификации не могут быть проделаны без помех окружающим приборам, органам управления и дисплеям, уже встроенным в панель управления. Таким, например, является случай на панели управления самолета или панели управления другого транспортного средства, где большие количества приборов и органов управления компактно и эффективно уплотнены в относительно небольшом пространстве. Даже если соответствующие модификации и могли бы быть сделаны, они в типичном случае являются непомерно дорогостоящими.
Конкретной отраслью промышленности, где используются изготовленные на заказ дисплеи с высокой стоимостью, является отрасль авиационной радиоэлектроники, в которой традиционно используются квадратные отверстия в панели для того, чтобы поместить устройства с механическими дисплеями. Чтобы модернизировать панели управления самолетов электронными дисплеями, промышленность начала изготовление заказных дисплеев с относительно высокой стоимостью и относительно низким объемом по сравнению с неквадратными серийными дисплеями, которые коммерчески используются на практике в больших объемах. Фактически, панели управления во вновь построенных самолетах, рассчитанные на использование электронных дисплеев, все еще часто делаются с квадратными отверстиями в панели, несмотря на то, что серийные дисплеи являются неквадратными, для того, чтобы сохранить хорошо укоренившиеся и знакомые конфигурации панели управления.
Сущность изобретения
Настоящее изобретение направлено на устройство и способы модификации электронных дисплеев, например, чтобы выполнить по индивидуальному заказу, изменить размер и/или повысить прочность первоначального («оригинального») дисплея, и на дисплеи, изготовленные с использованием такого устройства и способов.
В типичном случае серийный ЖКДАМ или другой электронный дисплей включает в себя две пластины, переднюю и заднюю, которые включают в себя ортогональные строковые и столбцовые электрические проводники, распределенные по всей формирующей изображение среде, содержащейся между этими пластинами. Дисплей также включает в себя расположенное по периметру уплотнение, удерживающее пластины вместе, в то же время изолируя и защищая внутреннюю формирующую изображение среду от внешней окружающей среды. Пластины типично являются стеклянными или пластиковыми и могут иметь поляризаторы, фильтры, пленочные покрытия для улучшения изображения и/или пленочные покрытия для улучшения угла обзора, например, прикрепленные к их внешним поверхностям.
Пластины дисплея могут нести электронные схемы формирования на своих краях, и/или формирователи могут быть интегрированными в дисплее. Строковые и столбцовые электронные проводники выходят за пределы уплотнителя к внешним проводникам, к которым присоединяются электронные схемы формирователей. В типичном случае электронные формирователи представляют собой СБИС-схемы, присоединенные к прикрепленным к дисплею АСК-подложкам или непосредственно прикрепленные к дисплею в виде ИССП. В некоторых случаях СБИС электронные формирователи делаются встроенными по краям дисплея.
Настоящее изобретение включает в себя системы и способы модификации серийного дисплея, например, посредством изменения физического размера и/или формы серийного дисплея с тем, чтобы удовлетворять требованиям целевого применения. Это может быть сделано посредством разрезания серийного дисплея для того, чтобы уменьшить его физический размер и/или форму, а затем повторной герметизации дисплея для достижения желаемого исполнения. Основные функциональные возможности серийного дисплея могут остаться незатронутыми, то есть изготовленный на заказ дисплей может иметь новый размер и/или форму, а также может иметь измененные электронные формирователи, формирующую изображение среду, повторно размещенную электронику, дополнительные уплотнения, дополнительные покрытия и т.д. Необязательно, измененный по размеру дисплей может иметь улучшенные функциональные возможности. Вместе с тем, изготовленный на заказ дисплей должен быть способен работать при целевом применении, рассчитанном взаимодействовать с дисплеем того же типа (например, ЖКД), что и первоначальный (например, серийный) дисплей.
Когда пластины разрезают, внутренние электронные схемы могут также быть разрезаны, что часто требует восстановления электрической целостности. Похожим образом, электроника дисплея может быть удалена, повторно соединена и/или иным образом модифицирована, а связанные с дисплеем фильтры, поляризаторы и/или другие пленочные покрытия могут быть разрезаны, например, чтобы соответствовать размеру и/или форме изготовленного на заказ дисплея. Таким образом, существует возможность дополнить дисплей улучшенными функциональными возможностями. Необязательно, в этом случае может использоваться заказное обрамление и/или заказной каркас для размещения дисплея, позволяя, например, придать дополнительную жесткость всему устройству.
Чтобы повторно герметизировать дисплей, наносят клей вдоль, по меньшей мере, края или краев отреза, например, между пластинами дисплея вдоль края(ев) отреза. Необязательно, может быть добавлено второе уплотнение для того, чтобы минимизировать проникновение влаги и других загрязнений в отображающую среду (например, жидкокристаллический материал) внутри индикаторной ячейки дисплея. Может быть также нанесено третье уплотнение, например, служащее в качестве маски, чтобы предотвратить прохождение света, такого как используемый для задней подсветки ЖКД, через внешние края дисплея.
Электронные формирователи, в типичном случае – СБИС-схемы (соединенные с прикрепленными к дисплею АСК-подложками или прикрепленные непосредственно к дисплею в виде ИССП), могут быть добавлены, повторно размещены и/или повторно прикреплены, как это необходимо, и компоновка схем на пластинах дисплея может быть изменена с тем, чтобы создать электрическое соединение с новыми СБИС-схемами. Фильтры, пленочные покрытия, поляризаторы и т.д. могут затем быть отрезаны и/или установлены по желанию, и при этом могут быть добавлены дополнительные компоненты, такие как нагреватели, оптические элементы, инфракрасные фильтры, сенсорные панели, преобразователи и т.д. с тем, чтобы изменить и/или улучшить долговечность или функциональные возможности дисплея.
Наконец, приобретший новую форму, измененный по размеру и/или иным образом модифицированный дисплей может быть помещен в заказное обрамление или заказной каркас с соответствующими характеристиками жесткости. Обрамление и каркас могут быть сконструированы с возможностью размещения по-новому измененного в размерах и/или по форме дисплея подходящим образом и/или с возможностью правильного механического и электрического присоединения к целевому местоположению, такому как блок авиационной радиоэлектроники или индикаторная панель. Обрамление и каркас могут быть также сконфигурированы для установки таким образом, что соответствующая подсветка, оптические элементы, преобразователи, нагреватели, инфракрасные фильтры, сенсорные панели и т.д., связанные с целевым применением, работают правильно. Таким образом, каркас может защищать дисплей и обеспечивать интерфейс дисплея с целевым местоположением, таким как блок авиационной радиоэлектроники или индикаторная панель. Подходящие клеи, герметики, конформные покрытия, герметизирующие компаунды, электрические проводники и проводники тепла, винты, зажимы, заклепки, разъемы, прокладки и т.д. могут использоваться при необходимости или по желанию с тем, чтобы дополнительно повысить прочность (жесткость) всего узла и установить его в его целевое местоположение. Например, придание жесткости может потребоваться перед установкой изготовленного на заказ узла в обстановках для транспортных средств, кораблей, подводных аппаратов, ракет, воздушных судов (самолетов), космических кораблей, переносного оборудования и т.д., которые имеют тенденцию быть более ограниченными и неблагоприятными, чем те обстановки, для которых предназначены серийные дисплеи.
Таким образом, один аспект настоящего изобретения может включать в себя обрезку электронного дисплея по желаемым размерам, с получением в результате целевой части дисплея и излишней части дисплея, и наложение первого уплотнения между пластинами вдоль открытого края целевой части дисплея, причем это первое уплотнение создает препятствие для предотвращения вытекания формирующей изображение среды из пространства между пластинами. Могут быть добавлены второе уплотнение и/или третье уплотнение, например, для защиты от воздействия окружающей среды и управления освещенностью краев соответственно. Первое уплотнение также может служить для этих целей.
Другой аспект изобретения включает в себя изменение размера или иную модификацию связанной с дисплеем электроники. Например, электронные схемы внутри дисплея и/или периферийные по отношению к дисплею могут быть изменены в размерах до такой степени, которая необходима для получения желаемого размера дисплея.
В соответствии с еще одним аспектом изобретения предложен способ изменения размера, изготовления на заказ, улучшения или иной модификации электронного дисплея, который включает в себя один или более следующих этапов в этом или других порядках или последовательностях: снятие с дисплея излишней электроники; обрезку одной или более схемных плат дисплея; удаление по меньшей мере части поляризаторов и/или других пленочных покрытий, по необходимости, с одной или обеих пластин дисплея, например, вдоль намеченной линии(й) отреза; очистку вдоль намеченной линии(й) отреза; скрайбирование пластин вдоль желаемой линии(й), например, с помощью стеклореза, пилы, лазера и т.п.; разламывание пластин для отделения целевой части от излишней части, с созданием тем самым открытого края целевой части; закрепление дисплея, например, в зажимном приспособлении, для приложения достаточного давления с тем, чтобы восстановить первоначальное расстояние между пластинами и/или предотвратить расхождение пластин; удаление жидкого кристалла (ЖК) из пространства между пластинами вдоль открытого края, например, посредством впитывания, стекания, отсасывания, сжатия пластин вместе для выталкивания ЖК-материала и т.п., чтобы создать пространство для клея между пластинами; очистку открытого края; нанесение клея вдоль открытого края; дегазацию клея; принуждение клея или обеспечение клею возможности пройти между пластинами, например, без значительного изменения расстояния между пластинами, счистку клея и отверждение клея.
Еще в одном аспекте изобретения предложены измененные по размеру, изготовленные на заказ или иным образом модифицированные электронные дисплеи, которые включают в себя обрезанные или иным образом открытые края и/или одно или более уплотнений вдоль пластин и/или между пластинами дисплеев, например, изготовленные с использованием одного или более описанных здесь способов.
Другие аспекты и преимущества настоящего изобретения станут ясны из нижеследующего подробного описания при его изучении вместе с приложенными чертежами.
Краткое описание чертежей
Фиг.1A – вид сверху типичного серийного ЖКДАМ.
Фиг.1B – вид в сечении серийного ЖКДАМ согласно фиг.1A по линии 1B-1B со столбцовыми АСК, удаленными из сечения в целях ясности.
Фиг.2A – вид сверху изготовленного на заказ дисплея, сделанного из серийного ЖКДАМ, показанного на фиг.1A, посредством обрезания по линии 2-2 на фиг.1, а затем повторной герметизации сохранившейся части дисплея.
Фиг.2B – вид изготовленного на заказ дисплея согласно фиг.2A в сечении по линии 2B-2B со столбцовыми АСК, удаленными из сечения в целях ясности.
Фиг.3 – вид в сечении зажимного приспособления, включающего в себя пару прижимных пластин и удерживающий электронный дисплей между этими прижимными пластинами.
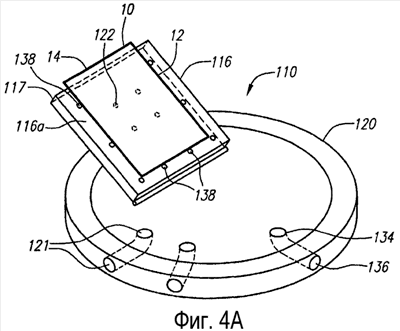
Фиг.4A – вид в перспективе устройства для измерения размера электронного дисплея, включающего в себя инструмент с прижимными пластинами в его открытом положении с дисплеем на месте первой прижимной пластины этого инструмента.
Фиг.4B – вид в перспективе устройства по фиг.4A со второй прижимной пластиной инструмента с прижимными пластинами, скрепленной с первой прижимной пластиной для удержания дисплея в ориентации, предназначенной для нанесения клея.
Фиг.4C – вид в перспективе устройства по фиг.4A и 4B, включающего в себя крышку, расположенную над инструментом с прижимными пластинами для дегазации дисплея.
Фиг.5A и 5B – виды соответственно сверху и сбоку первой прижимной пластины для инструмента с прижимными пластинами по фиг.4A-4C.
Фиг.6 – блок-схема, показывающая примерный способ изменения размера или изготовления на заказ электронного дисплея.
Подробное описание изобретения
Обращаясь к чертежам, фиг.1A и 1B показывают типичный неквадратный серийный ЖКДАМ 10, например, перед изменением размера и/или другой модификацией, как описано здесь, но после разборки и выемки из его первоначального обрамления, каркаса и других связанных с ним аппаратных средств и электроники. Для ясности, некоторые из связанных с дисплеем 10 внешних компонентов (отличных от схемных плат 15) не показаны, например, которые могут быть присоединены или иным образом прикреплены к пластинам 20f и 20b дисплея. Такие внешние компоненты могут быть удалены до или во время изготовления на заказ дисплея 10, как описано здесь в других местах.
Дисплей 10 обычно включает в себя переднюю пластину 20f и заднюю пластину 20b, например, сделанные из стекла или пластика, такого как боросиликатное или другое твердое (тугоплавкое) стекло. Пластины 20 удерживаются вместе расположенным по периметру уплотнением 25, и могут быть дополнительно закреплены в обрамлении (не показано), которое, в свою очередь, может быть закреплено в каркасе или другом аппаратном средстве (не показано), например для присоединения к целевому местоположению, например, в приборной доске самолета. Поляризующие пленочные покрытия 30f и 30b, фильтры (не показаны), пленочные покрытия для улучшения изображения (не показаны), пленочные покрытия для задержки (не показаны), пленочные покрытия для улучшения угла обзора (не показаны) и/или другие пленочные покрытия могут существовать на передней и/или задней внешних поверхностях пластин 20. Область 40 изображения первоначального дисплея, заданная изготовителем серийного дисплея 10, указывается проходящей по периметру штриховой линией 45. Штриховая линия 50 показывает желаемый правый край области 40 изображения дисплея после изготовления на заказ, как описано ниже. Блокирующая свет маска (не показана), например, непрозрачное покрытие, может быть предусмотрена на по меньшей мере одной из внутренних поверхностей пластин 20, например, покрывающей область по периметру вокруг области 40 изображения дисплея и простирающейся наружу на расстояние, достаточное для того, чтобы служить своему назначению. В типичном случае это расстояние может составлять вплоть до края обрамления или до внутреннего края 55 расположенного по периметру уплотнения 25, как указано стрелками 60 на фиг.1A. Без такой маски свет, просачивающийся от края области 40 изображения дисплея, может отвлекать смотрящего на дисплей 10 человека и/или иным образом ухудшать обзор изображения на дисплее 10.
Строковые и столбцовые электронные формирователи 65r и 65c соответственно связаны с АСК-подложками 70r и 70c соответственно, которые, в свою очередь, связаны с краями пластин 20, например, с использованием электрически анизотропных клеев 75, известных в данной области техники. В авиационной радиоэлектронике могут использоваться изогнутые АСК (не показаны), чтобы сэкономить площадь панели. В дополнение или альтернативно, формирователи 65 могут быть прикреплены непосредственно к пластинам 20 в виде ИССП. АСК 70 могут быть связаны или спаяны со схемными платами 15 и электрически соединяются с внешними источниками через соединения 90 со схемными платами 15. ИССП (не показаны) могут быть электрически соединены с краями пластин 20 дисплея, которые могут быть электрически соединены посредством плоских кабелей с внешними источниками (не показаны). Для простоты на фиг.2A показаны несколько примерных соединений 90, хотя должно быть понятно, что они могут быть предусмотрены по желанию или по необходимости.
Электронные формирователи 65 могут включать в себя СБИС-схемы, имеющие соответствующие внешние выводы 80r и 80c, которые электрически соединены через расположенное по периметру уплотнение 25 со строковыми и столбцовыми электрическими выводами 85r и 85c соответственно (см. фиг.2A). Опять же для простоты на фиг.2A показаны только несколько выводов 80 от одной строковой АСК 70r и двух столбцовых АСК 70c, но понятно, что каждая строковая АСК 70r и каждая столбцовая АСК 70c могут иметь множество или даже сотни индивидуальных выводов 80. Строковые и столбцовые электрические выводы 85 могут быть распределены по всей формирующей изображение среде, такой как жидкокристаллический материал (нормально прозрачный), содержащейся между пластинами 20, как видно на фиг.2A.
В дополнение к удерживанию пластин 20 вместе, расположенное по периметру уплотнение 25 по существу изолирует и защищает формирующую изображение среду от внешнего окружения. Кроме того, по всей формирующей изображение среде могут быть распределены выполненные точно по размеру прокладки (не показаны). После традиционного изготовления пространство между пластинами 20 может сохраняться при частичном вакууме для притягивания пластин 20 к прокладкам, например для того, чтобы гарантировать, что расстояние между пластинами 20 сохраняется с заданным промежутком ячейки или «зазором ячейки», например, между примерно пятью (5) и шестью (6) микрометрами, что подходит для нормальной работы дисплея 10. Хотя здесь описывается серийный ЖКДАМ, должно быть понятно, что описанные здесь инструменты и способы могут использоваться для того, чтобы изготовить на заказ или иным образом модифицировать другие электронные дисплеи, такие как ЖКД с пассивной матрицей, плазменные панели, органические светоизлучающие диоды (СИД) и т.п.
Со ссылкой на фиг.1A-2B теперь будет описан примерный способ изготовления на заказ серийного дисплея 10 по фиг.1A и 1B с тем, чтобы создать изготавливаемый на заказ дисплей 10′, показанный на фиг.2A и 2B. Серийный дисплей 10 может быть изготовлен на заказ в той или иной степени, по желанию или по необходимости, и предоставленные здесь примеры не должны рассматриваться как излагающие требуемые технологии, если это конкретно не указано.
Сначала может быть размечена линия отреза, такая как линия отреза 2-2 на фиг.1A, которая может отделять целевую часть 12 серийного дисплея 10 (например, соответствующую той части, которая должна сохраниться для получения изготавливаемого на заказ дисплея 10′) от излишней части 14 (например, соответствующей той части, которая может быть выброшена или сохранена для других целей). В показанном примере целевая часть 12 по существу является квадратной, например, соответствующей стандартной форме некоторой области в панели управления самолета (не показана).
После того, как линия отреза 2-2 размечена, схемные платы 15 могут быть разрезаны посредством известных технологий, таких как отпиливание, например, вдоль линии отреза 2-2. Альтернативно, схемные платы 15 могут быть удалены целиком, например, если к изготавливаемому на заказ дисплею 10′ должны быть присоединены новые схемные платы. В дополнение или альтернативно, АСК 70 могут также быть разрезаны или удалены, например, с использованием похожих процедур. Если линия отреза 2-2 требует разрезания через электронный формирователь 65, может потребоваться переместить и/или заменить этот формирователь.
Затем, если одна или обе пластины 20 включают в себя поляризатор 30 (и/или одно или более других пленочных покрытий), то по меньшей мере часть(и) поляризатора(ов) 30, перекрывающая(ие) линию отреза 2-2, могут быть удалены. Например, в одном варианте воплощения поляризатор(ы) 30 может/могут быть надрезан(ы), например, внутри линии отреза 2-2, чтобы создать целевую часть поляризатора, перекрывающую целевую часть, которая может быть сохранена во время процесса изготовления на заказ. Остаток или лишняя часть поляризатора (например, перекрывающая линию отреза 2-2 и излишнюю часть 14 серийного дисплея 10), может быть затем удалена и/или выброшена. В другом варианте воплощения поляризатор(ы) 30 может/могут быть надрезан(ы) вдоль двух линий с каждой стороны линии отреза 2-2, и получившаяся в результате полоска может быть удалена для обеспечения доступа к нижележащей(им) пластине(ам) 20.
Еще в одном варианте воплощения часть поляризатора(ов) 30, непосредственно перекрывающая линию отреза 2-2 (или сдвинутая в любую от линии отреза 2-2 сторону, если это желательно), может быть надрезана или иным образом удалена за один проход, например, посредством создания узкого канала или канавки через поляризатор(ы) 30 до поверхности пластин(ы) 20. Например, чтобы обнажить поверхность каждой из пластин 20, лезвие дисковой пилы (не показано) подходящей ширины, приводимое в движение электродвигателем, может быть проведено точно по намеченной разметочной линии на глубину, по существу равную толщине поляризатора 30 (и/или других пленочных покрытий).
Любые опилки, остающийся клей пленочного покрытия и/или другие остатки могут быть удалены, например, для того, чтобы очистить обнаженную поверхность пластины 20. Например, вакуумная линия, чистящее колесо, сопло для растворителя или другой жидкости и/или другой инструмент могут быть направлены вдоль по линии отреза 2-2 с тем, чтобы удалить любой такой остаток. Такие инструменты могут следовать за лезвием пилы, например, быть связанными с рукояткой или другим носителем, контролирующим движение лезвия пилы по пластине 20. В дополнение или альтернативно, получающийся в результате канал может быть очищен или иным образом подготовлен после создания канавки, что может облегчить доступ к поверхности пластин(ы) 20 во время последующей процедуры отрезания. Примерное устройство и способы создания такой канавки раскрыты в совместно поданной заявке на патент США под серийным 60/573421 от 21 мая 2004 года, озаглавленной «Устройство и способы разрезания электронных дисплеев при изменении размеров» (“Apparatus and Methods for Cutting Electronic Displays During Resizing”), полное раскрытие которой специально включено сюда посредством этой ссылки.
Таким образом, может быть желательно позволить первоначальному(ым) поляризатору(ам) 30 (и/или другим пленочным покрытиям) остаться нетронутыми в области 40′ изображения целевого дисплея, в то время как все еще обеспечивается беспрепятственный доступ к пластинам 20, например, для разрезания или разделения частей пластин 20 иным образом с использованием процедур, описанных здесь в других местах. Например, на фиг.1A область 40′ изображения целевого дисплея в целевой части 12 определяется квадратом A-B-C-D, и поляризатор(ы) 30 должен(ны) остаться нетронутым(и), по меньшей мере, над этой областью. Линия целевого надреза поляризатора(ов) 30 может быть такой же, что и линия 2-2. Если так, то получающаяся в результате канавка должна быть достаточно широкой для того, чтобы позволить колесу резака или другому инструменту резки стекла (не показан) достичь поверхности пластин(ы) 20 через поляризатор(ы) 30. Например, канавка может иметь ширину не более чем примерно 0,050 дюйма (1,25 мм) и/или менее чем примерно 0,030 дюйма (0,75 мм).
Альтернативно, серийный дисплей 10 может быть взят с его первоначальной технологической линии производства прежде, чем оно завершено, чтобы упростить изменение размера. Например, серийный дисплей 10 может быть перехвачен прежде, чем присоединяются поляризатор(ы) 30 (и/или другие пленочные покрытия) и/или электроника. Такие пропущенные элементы могут быть добавлены к изготовленному на заказ дисплею (соответствующим образом сконфигурированными для изготовленного на заказ дисплея 10′) после изменения размера.
Затем пластины 20 серийного ЖКД 10 могут быть разрезаны, например, с использованием технологии скрайбирования и разлома стекла, чтобы разделить целевую и лишнюю части 12, 14 серийного дисплея 10. Сначала пластины 20 «скрайбируют», т.е. в каждой из пластин формируют разрез по линии отреза 2-2. Например, с помощью стеклореза (не показан) разрез может быть последовательно создан на каждой из пластин, например, выровненным по линии отреза 2-2 или смещенным к одной стороне от линии отреза 2-2 и параллельно ей. Известно, что такие разрезы могут выглядеть просто как царапина на поверхности стекла, хотя они могут частично проникать в пластины 20. Будет понятно, что после скрайбирования пластин 20 целевая и лишняя части 12, 14 не разделены после того, как пластины 20 скрайбируются, и фактически внутреннее пространство серийного дисплея 10 может остаться по существу герметизированным, например, со своим первоначальным вакуумом или другим давлением, до тех пор, пока целевая и лишняя части 12, 14 не будут фактически отделены друг от друга. Альтернативно, целевая и лишняя части 12, 14 могут отделяться спонтанно или естественно после того, как они были скрайбированы.
Разметочная линия по каждой из пластин 20 может быть выполнена на одном этапе или на множестве этапов, например, с использованием стеклореза или, альтернативно, лазерным скрайбированием, отпиливанием, шлифовкой и т.д. Может использоваться любая другая процедура, достаточная для того, чтобы гарантировать по существу ровную разметочную линию на стекле (или других материалах пластин 20). Некоторые ЖКД, такие как ЖКДАМ, могут включать в себя пластины, сделанные из боросиликатного твердого стекла. Для таких материалов было показано, что для скрайбирования стекла с использованием стеклорезного колесика достаточно силы в приблизительно двадцать (20) фунтов. Стеклорезное колесико может быть сделано из алмаза или может быть колесиком типа твердого карбида, например, имеющим диаметр в примерно три-четыре миллиметра (3-4 мм) и острый угол, например, в приблизительно сто тридцать пять градусов (135°).
Чтобы облегчить скрайбирование пластин 20 серийного дисплея 10, этот серийный дисплей 10 может быть установлен в вакуумном зажиме или другом инструменте (не показан), например, чтобы закрепить серийный дисплей 10 и придать ему неподвижность. Примерные инструменты, которые могут использоваться для скрайбирования пластин 20, могут включать в себя изготовленные фирмой Villa Precision International, г.Феникс, штат Аризона, США. Инструмент может включать в себя процессор (также не показан) для точного управления компонентами инструмента, например, в ортогональных x, y и z направлениях. Например, процессор может направлять стеклорезное колесико по поверхности пластин 20 по желаемому маршруту при сохранении желательной степени давления/силы прижатия к пластинам 20. Необязательно, инструмент может вращать серийный дисплей 10 в плоскости пластин 20, например, если желательна изогнутая разметочная линия. Таким образом, инструмент может управлять пилой, чистящим колесом и/или скрайбированием в предварительно запрограммированной последовательности при сохранении достаточной точности и давлении, чтобы удалить пленочное покрытие, очистить канал и скрайбировать стекло вдоль желаемой линии отреза 2-2, например, с использованием одной или многочисленных инструментальных головок.
Затем, пластины 20 могут быть разломаны для отделения целевой части 12 от излишней части 14. Является необычным в отрасли промышленности по производству дисплеев ломать дисплей поперек линии внутреннего уплотнения. Однако пластины 20 могут разламываться по одной или более разметочным линиям, которые проходят через одну или более линии внутреннего уплотнения, с использованием способов, подобных используемым для резки стекол без таких линий уплотнения. Линия(и) внутреннего уплотнения может/могут создавать некоторое дополнительное сопротивление разделению этих двух частей 12, 14, и, следовательно, могут потребовать дополнительного перемещения частей 12, 14 относительно друг друга.
Необязательно, чтобы закончить разрезание серийного дисплея 10, этот серийный дисплей 10 может перемещаться из вакуумного зажима или другого инструмента скрайбирования (если он используется для скрайбирования пластин 20 серийного дисплея 10) в инструмент 110 с прижимными пластинами. Альтернативно, соответствующие инструменты для выполнения резки могут быть включены в состав инструмента скрайбирования.
Например, используя инструмент 110 с прижимными пластинами по фиг.3 и 4A-4C, пластины 20 серийного дисплея 10 могут быть разломаны вдоль скрайбированной(ых) линии(й) при по существу сохранении промежутка между пластинами 20, например, в целевой их части 12. Кроме того, инструмент 110 с прижимными пластинами может использоваться для того, чтобы дегазировать серийный дисплей 10 и/или повторно герметизировать любые открытые края серийного дисплея 10, например, в целевой части 12, как дополнительно описано ниже. Как правило, инструмент 110 с прижимными пластинами включает в себя пару прижимных пластин 116, 118 или другое зажимное приспособление (не показано) и камеру 114 давления. Пара прижимных пластин может включать в себя первую пластину 116, которая может быть установлена на основании 120, и вторую пластину 118, которая может быть установлена на первой пластине 116.
В варианте воплощения, показанном на фиг.4A и 4B, первая прижимная пластина 116 установлена на основании 120 с возможностью поворота, так что первая пластина может перемещаться между поперечной, например, по существу горизонтальной, ориентацией (показана на фиг.4A) и стоячей, или по существу вертикальной, ориентацией (показана на фиг.4B). Альтернативно, первая пластина 116 может быть съемной с основания 120 или же может быть зафиксирована, например, в вертикальной ориентации.
С дополнительной ссылкой на фиг.5A и 5B первая пластина 116 может иметь внутреннюю поверхность 116a с имеющейся на ней одним или более отверстиями 122, сообщающимися с подводом 124. Подвод 124 может быть соединен с первым источником вакуума (не показан), например, через одну или более секций трубопровода 112 (показан на фиг.4B, например, подключенных к подводам 121 в основании 120). После того как дисплей, например, серийный дисплей 10, уложен на внутренней поверхности 116a первой пластины, первый источник вакуума может быть приведен в действие, и получающийся в результате вакуум может прижать целевую часть 12 к внутренней поверхности 116. Отверстия 122 могут быть предусмотрены в заданной конфигурации, например, в виде множества концентрических каналов 122a, как показано на фиг.5A. Будет понятно, что могут быть предусмотрены и другие конфигурации расположения, подобные известным вакуумным зажимам (не показаны). Необязательно, первая прижимная пластина 116 может также использоваться в качестве вакуумного зажима, например, в поперечной ориентации, чтобы закрепить серийный дисплей 10 в то время, пока скрайбирующее колесико направляется вдоль открытой пластины 20 подобно описанным выше процедурам.
Возвращаясь к фиг.3 и 4A-4C, вторая прижимная пластина 118 может иметь внутреннюю поверхность 118a, к которой прикреплен или на которой иным образом располагается эластичный баллон 126. Вторая прижимная пластина 118 может иметь одно или более отверстий 128 (только одно показано на фиг.3 для иллюстрации) во внутреннее пространство эластичного баллона 126, которые сообщаются с подводом 130. Подвод 130 может сообщаться с насосом, контейнером сжатого газа или другим источником нагнетаемых сред (не показан), например, через трубопровод 112, соединенный с подводами 131 в основании 120, тем самым позволяя нагнетаемым средам, например воздуху, газу, маслу, воде и т.п., доставляться во внутреннее пространство эластичного баллона 126 с тем, чтобы расширить этот эластичный баллон 126. Эластичный баллон 126 может быть сформирован из эластичного материала или по существу неэластичного материала, например прозрачного силиконового каучука, имеющего толщину примерно 0,80 миллиметра (1/32 дюйма). Эластичный баллон 126 может быть предусмотрен в виде листа, края которого закреплены вокруг внутренней поверхности 118a второй пластины, например, с использованием клея, креплений и/или шпунта и выемки или другой механической неподвижной посадки (не показана). Альтернативно, эластичный баллон 126 может быть надувным баллоном или другим помещенным в оболочку элементом, например, с одним или более отверстиями, который может быть связан или иным образом присоединен к внутренней поверхности 118a.
Со ссылкой на фиг.4C, инструмент 110 может включать в себя крышку 132, которая может помещаться над прижимными пластинами 116, 118 с образованием камеры 114 давления. Например, крышка 132 может касаться основания 120 с тем, чтобы по существу изолировать камеру 114 давления от окружающей среды. Крышка 132 и/или основание 120 могут включать в себя одно или более уплотнений (не показаны) для улучшения герметизации между основанием 120 и крышкой 132 с тем, чтобы по существу герметизировать камеру 114 давления. Основание 120 может иметь внутри себя одно или более отверстий 134, сообщающихся с камерой 114 давления и с подводом 136 в основании 120. Подвод 136 может быть соединен со вторым источником вакуума (не показан), например, через трубопровод (не показан), который может быть тем же самым или другим источником, чем первый источник вакуума, для откачивания воздуха из камеры 114 давления, например, чтобы подвергнуть целевую часть 12 серийного дисплея 10 воздействию вакуума, как дополнительно описано ниже. Необязательно, один или более из первого и второго источников вакуума и источника нагнетаемых сред могут включать в себя стравливающий клапан 140 (два показаны на фиг.4B) для подвергания соответствующих подводов 121, 131 воздействию давления окружающей среды.
Возвращаясь к фиг.3 и 4A-4C, инструмент 110 может использоваться для того, чтобы облегчить разламывание и/или повторную герметизацию дисплея, например серийного дисплея 10. Первоначально, как показано на фиг.4A, с помощью первой прижимной пластины 116 в поперечной ориентации целевая часть 12 серийного дисплея 10 может быть помещена на внутреннюю поверхность 116a первой прижимной пластины 116. Как показано на фиг.4A, 5A и 5B, первая прижимная пластина 116 может включать в себя один или более ориентирующих штырьков 138, выступающих из внутренней поверхности 116a для размещения целевой части 12 в заданной ориентации на внутренней поверхности 116a. Штырьки 138 могут гарантировать, что серийный дисплей 10 будет закреплен с излишней частью 14 серийного дисплея 10, размещенной над верхним краем 117 первой прижимной пластины 116, предпочтительно с разметочной(ыми) линией(ями), выровненной(ыми) по этому верхнему краю 117. Необязательно, ориентирующие штырьки 138 могут быть подвижными между разными отверстиями под штырьки во внутренней поверхности 116a, например, которые соответствуют дисплеям с разными заданными размерами. В дополнение или альтернативно, один или более штырьков 138 могут быть приняты в соответствующие пазы (не показаны) во второй прижимной пластине 118, например, чтобы облегчить выравнивание первой и второй прижимных пластин 116, 118, когда они собираются вместе.
После того как серийный дисплей 10 помещается на внутренней поверхности 116a, источник вакуума может быть приведен в действие с тем, чтобы по существу прижать целевую часть 12 к первой прижимной пластине 116. При нахождении первой прижимной пластины 116 в ее поперечной ориентации, вторая прижимная пластина 118 может затем быть установлена на первой прижимной пластине 116, например, с использованием одного или более болтов или других креплений 127. Таким образом, серийный дисплей 10 может неподвижно закрепляться или иным образом удерживаться между прижимными пластинами 18. В одном варианте воплощения крепления или ориентирующие штырьки 138 могут фиксировать вторую прижимную пластину 118 отделенной от первой пластины 116 заданным расстоянием, например, примерно пять миллиметров (0,200 дюйма).
Эластичный баллон 126 затем может быть накачан с использованием источника нагнетаемых сред до первого заданного давления, между примерно одним и тремя фунтами на квадратный дюйм (1-3 фунт/дм2). Первое заданное давление может быть достаточным для поддержания пластин 20 серийного дисплея 10 с заданным промежутком. Например, первое заданное давление может поддерживать пластины 20 серийного дисплея 10 с желаемым для серийного дисплея 10 промежутком ячейки для его нормальной работы, как описано выше. Говоря по-другому, первое заданное давление может быть достаточным для того, чтобы удерживать пластины 20 прижатыми к внутренним прокладкам (не показаны) серийного дисплея 10 без неправильного сжатия или иного повреждения этих прокладок. Таким образом, первое заданное давление может предотвращать перемещение пластин 20 друг от друга, например, как только излишняя часть 14 отделена от целевой части 12, и внутреннее пространство целевой части 12 подвергается воздействию давления окружающей среды. Если пластины уже были разделены (как описано ниже), давление со стороны эластичного баллона 126 может вернуть пластины 20 к их первоначальному рабочему промежутку. Эластичный баллон 126 может распределять давление по существу равномерно по поверхности целевой части 12 серийного дисплея 10, например, чтобы гарантировать, что промежуток между пластинами 20 остается по существу одинаковым по всей площади целевой части 12.
Излишняя часть 14 серийного дисплея 10 может выступать над верхними краями 117, 119 прижимных пластин 116, 118, например, чтобы позволить излишней части 14 отломиться от целевой части 12. Излишняя часть 14 может быть отогнута, чтобы заставить пластины 20 сломаться вдоль разметочных линий, созданных вдоль линии отреза 2-2, как известно в отрасли ломки стекла. Например, изгибающий момент или другая по существу равномерная сила может быть приложена, например, вручную, к излишней части 14 по существу перпендикулярно плоскости пластин 20, чтобы сломать пластины 20.
Необязательно, один или оба верхних края 117, 119 прижимных пластин 116, 118 могут включать в себя брусок для ломки (не показан), чтобы зажать серийный дисплей 10 непосредственно по разметочной(ым) линии(ям). Брусок(ки) для ломки могут использоваться, чтобы зажать и удерживать серийный дисплей 10 ниже разметочной(ых) линии(ий) с целью обеспечения опоры для отламывания излишней части 14 серийного дисплея 10 и чтобы сохранить зазор ячейки вдоль открытого края целевой части 12 после разлома серийного дисплея 10 на две части. Бруски для ломки могут удерживаться на месте с помощью винтов, болтов и/или других креплений (не показаны), например, которые могут подгоняться в пазы (также не показаны) в прижимных пластинах 116, 118. Необязательно, любое выравнивание и сборка, например, прижимных пластин 116, 118 и/или брусков для ломки может выполняться при нахождении первой прижимной пластины 116 в горизонтальной ориентации, показанной на фиг.4A. Если две части 12, 14 уже были отделены, бруски для ломки могут быть не нужны.
После сборки, повышения давления и/или очистки прижимные пластины 116, 118 могут быть перемещены в вертикальную ориентацию, как показано на фиг.5B, тем самым ориентируя излишнюю часть 14 вверх, что может облегчить ломку и повторную герметизацию, как описано ниже. Таким образом, излишняя часть 14 серийного дисплея 10 может выступать из прижимных пластин 116, 118, причем разметочная(ые) линия(и) точно выровнены с верхними краями 117, 119 и/или с краем(ями) бруска(ов) для ломки. Например, разметочная(ые) линия(и) могут быть установлены на примерно 0,50-1,25 миллиметров (0,020 до 0,050 дюйма) выше верхних краев 117, 119 прижимных пластин 116, 118 и/или брусков для ломки. Излишняя часть 14 может быть отогнута на небольшой угол, заставляя каждую из пластин 20 серийного дисплея 10 переламываться вдоль разметочной(ых) линии(ий), например, одновременно или последовательно, с отламыванием и отделением тем самым излишней части 14 от целевой части 12, которая остается между прижимными пластинами 116, 118.
При отделенной излишней части 14 внутреннее пространство целевой части 14 подвергается воздействию атмосферного давления, которое может быть значительно выше, чем первоначальное давление во внутреннем пространстве целевой части 12. Так как целевая часть 12 закреплена между прижимными пластинами 116, 118, например, с использованием эластичного баллона 126, пластины 20 остаются по существу с заданным зазором ячейки. Без прижимных пластин 116, 118 пластины 20 будут иметь тенденцию отделяться, так как между ними всасывается воздух, что может ухудшить или уничтожить способность целевой части 12 отображать изображения. Из-за прижимных пластин 116, 118 пластины 20 остаются прижатыми к прокладкам во внутреннем пространстве, сохраняя заданный промежуток ячейки.
При удаленной излишней части 14 целевая часть 12 теперь имеет открытый край 16. Как показано на фиг.4B и 4C, одно или более уплотнений могут затем быть наложены вдоль открытого края 16, чтобы по существу герметизировать внутреннее пространство целевой части 12 и/или повысить прочность целевой части 12 для того, чтобы получить изготавливаемый по заказ дисплей 10′. Например, первое уплотнение 26 может быть наложено вдоль открытого края и предпочтительно между пластинами 20.
В одном варианте воплощения для того, чтобы наложить первое уплотнение 26 между пластинами 20, эластичный баллон 126 может быть расширен, например, введением в него дополнительных нагнетательных сред, чтобы сжать пластины 20 по направлению одна к другой. В примерном варианте воплощения эластичный баллон 126 может быть расширен до второго заданного давления, большего, чем первое заданное давление, например, посредством увеличения давления между примерно одним и двумя фунтами на квадратный дюйм (1-2 фунт/дм2). Второе заданное давление может привести к тому, что прокладки во внутреннем пространстве слегка сжимаются, но при этом не вызывая какой-либо постоянной деформации или повреждения.
В альтернативном варианте воплощения может быть необходимо уменьшить давление для того, чтобы извлечь жидкий кристалл из пространства между пластинами 20. В этом альтернативном варианте клей низкой вязкости может достаточно проникать между пластинами 20 при наличии достаточного времени, например, если пластины 20 удерживаются в вертикальной ориентации, показанной на фиг.4B и 4C. Хотя это может увеличить расстояние между пластинами 20 (так как клей затекает между пластинами 20), процент увеличения объема в пространстве между пластинами 20 может быть достаточно низким, так что на характеристики изготавливаемого на заказ дисплея может быть не оказано по существу никакого влияния. Альтернативно, клей может сместить по меньшей мере часть ЖК-материала и/или может достаточно смешаться с ЖК-материалом вдоль открытого края, чтобы создать уплотнение. В дополнение или альтернативно, клей может быть принудительно загнан в пространство между пластинами 20, например, вручную или механическим прижатием к открытому краю 16 после нанесения клея, например, с помощью инструмента, дозатора или даже указательным пальцем или большим пальцем, с вдавливанием клея между пластинами 20 (либо с созданием, либо без создания между пластинами 20 пространства для приема клея).
По мере того как пластины 20 сжимают, объем внутреннего пространства уменьшается, тем самым вынуждая по меньшей мере некоторое количество жидкокристаллического материала в нем выталкиваться вдоль открытого края 16 из пространства между пластинами 20 (так как жидкокристаллический материал является несжимаемым). Избыточный жидкокристаллический материал, который вытек вдоль открытого края 16, может затем быть удален, например, посредством промакивания, стирания, сушки и т.п., например, с помощью ткани, бумаги, ватного валика, сжатого воздуха и т.п. (не показано). Если желательно, открытый край 16 может быть также очищен или иным образом подготовлен в дополнение к удалению избыточного жидкокристаллического материала.
Клей, например валик текучего клея, может затем быть нанесен вдоль открытого края 16 для того, чтобы герметизировать целевую часть 12, например, в то время, как целевая часть 12 удерживается в вертикальном положении. Клей может иметь соответствующую вязкость, например, чтобы позволить ему затечь внутрь между пластинами 20 и/или заполнять любое пустое пространство в целевой части 12 между пластинами 20 и жидкокристаллическим материалом, остающимся между пластинами 20, как описано дополнительно ниже. Может использоваться смачивающее или разжижающее вещество, если желательно уменьшить вязкость клея. Было установлено, что имеющиеся в продаже и отверждаемые под действием УФ акриловые смолы с номинальной вязкостью соответствуют этим задачам. Другие клеи, такие как эпоксидные смолы и уретаны, могут также быть подходящими для использования в качестве первого уплотнения.
Клей и/или целевую часть 12 может оказаться необходимым дегазировать, например, удалить какие-либо захваченные газы и/или пустоты перед тем, как клей отверждают. Со ссылкой на фиг.4C, и дегазация, и отверждение могут быть выполнены с использованием инструмента 110 с прижимными пластинами или другого инструмента. Как показано, поверх основания 120 может быть помещена крышка 132 с тем, чтобы по существу изолировать камеру 114 давления, а следовательно, и целевую часть 12, от окружающей среды. Второй источник вакуума может быть приведен в действие для уменьшения давления до уровня, достаточного для того, чтобы удалить захваченные газы из клея и/или внутреннего пространства целевой части 12, например, ниже примерно одного фунта на квадратный дюйм (1 фунт/дм2) абсолютного давления. Газы могут наблюдаться в виде пузырьков наверху слоя клея. Когда пузырьки прекращают скапливаться на поверхности клея, дегазация может рассматриваться по существу завершенной.
После того, как достаточная дегазация была завершена, камера 114 давления может быть доведена обратно до атмосферного давления, например, посредством деактивации второго источника вакуума и/или открытия напускного клапана с тем, чтобы подвергнуть камеру 114 давления воздействию окружающего давления. Необязательно, крышка 132 может быть удалена или может остаться поверх основания 120. Альтернативно, камера 114 давления остается при втором заданном давлении во время последующих этапов.
Давление в эластичном баллоне 126 может затем быть уменьшено до третьего заданного давления, чтобы втянуть клей в открытый край 16 между пластинами 20. Так как давление в эластичном баллоне 126 уменьшается, пластины 20 могут отделиться, с увеличением тем самым объема внутреннего пространства и втягиванием по меньшей мере некоторое количество клея между пластинами 20 (чтобы сохранить объем материала во внутреннем пространстве). В примерном варианте воплощения третье заданное давление может быть таким же, что и первое заданное давление, так что пластины 20 возвращаются к первоначальному заданному промежутку ячейки. Таким образом, объем клея, втянутого между пластинами 20, может быть по существу таким же, что и объем жидкокристаллического материала, который вытолкнут из пространства между пластинами 20. В дополнение или альтернативно, давление в камере 114 давления может также слегка увеличиваться, например, чтобы загонять клей вдоль открытого края 16 между пластинами 20 или иным образом улучшить проникновение клея, если это желательно.
После того, как клей проник между пластинами 20, клей может быть отвержден подходящими способами, завершая изменение размера изготавливаемого на заказ дисплея 10′. Например, для отверждаемого под действием УФ-клея целевая часть 12 может подвергаться воздействию ультрафиолетового света в течение достаточного времени для того, чтобы по существу отвердить клей между пластинами, например, в течение, по меньшей мере, примерно от тридцати секунд до двух минут в зависимости от интенсивности УФ и чувствительности клея. Необязательно, отверждающая(ие) УФ-лампа(ы) и/или нагреватель(и) (не показаны) могут быть установлены в камере 114 давления инструмента 110 с прижимными пластинами с тем, чтобы способствовать отверждению. Альтернативно, могут использоваться другие клеи, которые отверждаются с использованием тепла и/или давления.
Необязательно, любой лишний клей, расположенный вдоль открытого края 16, может быть удален, например, вытерт перед тем, как клей отверждают, или срезан, отскоблен или иным образом удален, например, с использованием химикатов или механических устройств, после того, как клей отвержден. Альтернативно, излишний клей может остаться вдоль герметизированного открытого края 16. Например, излишнее количество клея может быть введено в дисплей 10′ с тем, чтобы использоваться во время последующей сборки или другой подготовки конечного продукта. Такой излишний клеевой материал может быть нанесен по контуру и иметь определенную форму, например, посредством формования и т.п., чтобы облегчить стыковку с обрамлением (не показано) и/или иным образом оптимизировать конструкцию дисплея.
После отверждения изготавливаемый на заказ дисплей 10′ удаляется из инструмента 110 с прижимными пластинами и, по необходимости, очищается и/или тестируется. Необязательно, в изготавливаемый на заказ дисплею 10′ могут быть введены одно или более дополнительных уплотнений вдоль теперь уже герметизированного открытого края 16 и/или вдоль одного или более дополнительных краев. Например, может быть по желанию введено второе уплотнение 27, а затем оно может быть дегазировано и/или отверждено по необходимости. Второе уплотнение 27 может быть силиконом или другим материалом, например, нанесенным для того, чтобы минимизировать проникновение влаги и/или других загрязняющих веществ в жидкокристаллический материал внутри ячейки, например, когда дисплей 10′ подвергается влиянию своего рабочего окружения. Необязательно, второе уплотнение 27 может иметь черные чернила, краску и/или другой пигмент, добавленный в него для того, чтобы придать по существу черный или другой темный цвет, и может быть нанесено вплоть до внешнего периметра области 40′ изображения целевого дисплея для того, чтобы предотвратить прохождение света задней подсветки через дисплей 10′ вокруг внешних краев области 40′ изображения целевого дисплея.
В дополнение или альтернативно, к вновь открытым краям пластины могут быть добавлены необязательная маска или третье уплотнение 28, например, поверх уплотнения 27, и/или нанесены вплоть до внешнего периметра области 40′ изображения целевого дисплея. Маска 28 видна частично удаленной на фиг.2A. Она должна быть темной, например черной, и может быть лентой, чернилами, герметиком, клеем, пластиком и/или любым другим подходящим материалом. По меньшей мере одно из второго уплотнения 27 или необязательной маски 28 может использоваться для того, чтобы заменить любую первоначальную маску (не показана), удаленную во время процесса изготовления на заказ. Дополнительно маска 28 может быть помещена по всему периметру ячейки, например, по существу перекрывающей первоначальное расположенное по периметру уплотнение 25 и первоначальную маску. Третье уплотнение или маска может покрывать часть активной области изготовленного на заказ дисплея 10′, которая не используется или желательно не должна быть видна пользователю в конечном исполнении. Способы нанесения таких второго и/или третьего уплотнений 27, 28 описываются в патенте США 6204906, полное раскрытие которого намеренно включено сюда посредством этой ссылки.
Альтернативно, первое уплотнение 26 может выполнять функции только что описанных второго и/или третьего уплотнений. В дополнение или альтернативно, одно или более из этих уплотнений могут быть «нагружены» теплопроводящим материалом, например, чтобы способствовать теплопроводности, и/или электропроводящим материалом, например, чтобы способствовать экранированию электромагнитных помех (EMI) и/или заземлению.
Если какая-либо из электронных схем, например, внутренняя или внешняя по отношению к изготовленному на заказ дисплею 10′, отрезана, повреждена и/или удалена, электрическую целостность может оказаться необходимым восстановить. Необязательно, могут быть необходимы новые схемы с тем, чтобы заменить отрезанные, поврежденные и/или удаленные или чтобы улучшить функциональные возможности изготовленного на заказ дисплея 10′. Способы ремонта или замены таких схем описываются в патенте США 6204906, включенного посредством ссылки выше. Необязательно, могут быть выполнены другие отрезы, и/или секции серийного дисплея могут быть удалены, например, с использованием примерных способов, описанных в патенте США 6204906.
Обращаясь к фиг.6, там показан примерный способ изменения размера, изготовления на заказ или иной модификации электронного дисплея, такого как серийный ЖКДАМ и т.п. Хотя этапы представлены в последовательном порядке, будет понятно, что тот порядок, в котором эти этапы выполняются, может быть изменен. Кроме того, один или более из этих этапов может быть исключен и/или может быть заменен одним или более из этапов из других описанных здесь способов.
Сначала на этапе 210, дисплей может быть удален из его рамочной сборки, например, если изменяется по размеру полностью собранное устройство отображения. Это может включать в себя удаление любой лишней электроники, которая может мешать части процедуры изменения размера и/или которая может быть модифицирована или заменена другой электроникой.
На этапе 212 одна или более схемных плат дисплея могут быть разрезаны, например, с использованием ручного или силового инструмента, такого как ручное лезвие. Необязательно, любые края отреза могут зачищаться или иным образом обрабатываться, например, с использованием фрезы, фасонной фрезы, наждачной бумаги и т.п.
На этапе 214 один или более поляризаторов и/или других пленочных покрытий могут быть удалены с по меньшей мере части дисплея, например, на открытых поверхностях одной или обеих пластин дисплея. Например, любые пленочные покрытия вдоль линии, которая должна быть размечена, могут быть разрезаны или иным образом удалены, например, с использованием небольшой электрической дисковой пилы. Эта пила может быть установлена в механическом инструментальном станке, например, вместе с фрезерным станком, шлифовальным станком и/или другими инструментами, используемыми во время процедуры изменения размера.
Необязательно, дисплей может быть установлен на вакуумном держателе, расположенном в механическом инструментальном станке, и/или на подвижном столике механического инструментального станка. Механический инструментальный станок может использоваться для того, чтобы точно удерживать дисплей и/или перемещать его под пилой. Управление механическим инструментом, например по осям X, Y и Z, может быть использовано для того, чтобы управлять движением вакуумного держателя, удерживающего дисплей под лезвием пилы и/или другими инструментами, подобно предыдущим вариантам воплощения.
Этот этап может включать в себя удаление полосы поляризатора и/или других пленочных покрытий с созданием канавки, имеющей ширину, например, примерно 1,25 миллиметра (0,050 дюйма) или менее, центрированной по намеченной линии отреза. Любые опилки или другие остатки от пленочных покрытий, созданные в результате отпиливания, могут быть удалены с помощью пылесоса, например, соответствующим образом расположенного на пиле и/или механическом инструментальном станке. Пленочный клей может быть очищен вдоль канавки, например, с использованием ватного валика, ткани, губки и т.п., одной или вместе с растворителем, таким как 91%-й раствор изопропилового спирта. Эта процедура может быть повторена на обеих сторонах дисплея, если поляризаторы или другие пленочные покрытия предусмотрены на обеих сторонах. Альтернативно, для удаления по меньшей мере части (а необязательно – всего или всех) поляризатора(ов) на пластине(ах) дисплея может использоваться другая процедура. Еще в одном альтернативном варианте дисплей может не включать в себя какие-либо поляризаторы или пленочные покрытия (например, как объяснено выше), и этот этап может быть опущен.
На этапе 216 одна или обе пластины дисплея могут быть скрайбированы по намеченной(ым) линии(ям) отреза. В одном варианте воплощения пластины могут быть скрайбированы с помощью скрайбирующего колесика стеклореза по намеченной линии отреза. Параметры скрайбирования с использованием скрайбирующего колесика, т.е. скорость и давление скрайбирования, подобны используемым в промышленности по производству ЖКД для скрайбирования стеклянных пластин ЖКД. Лезвие пилы для разрезания поляризатора(ов) и скрайбирующее колесико могут быть установлены в одной и той же инструментальной головке, например, так, что этапы отрезания и скрайбирования могут выполняться последовательно за один проход вдоль каждой пластины дисплея. Например, при использовании скрайбирующее колесико и/или пила могут опускаться последовательно, например, с использованием пневматических, гидравлических, механических или других приводов, которые управляют положениями инструментов вдоль оси Z.
На этапе 218 дисплей может быть разломан по разметочной(ым) линии(ям). Например, дисплей может быть удален из вакуумного держателя или другого инструмента и помещен на плоскую стеклянную пластину. Полоса материала, например, силиконовой или резиновой прокладки толщиной 0,008 дюйма, может быть помещена на эту плоскую пластину до дисплея так, что резиновая прокладка является по существу параллельной разметочной линии, смещенной к одной стороне, например, на примерно пятьдесят (50) миллиметров (два (2) дюйма) от разметочной линии. Разметочная линия верхней пластины может затем быть проглажена ватным валиком или другим инструментом с умеренным давлением, например, чтобы заставить нижнюю пластину дисплея сломаться вдоль разметочной линии. Дисплей может быть перевернут, помещен на плоскую пластину поверх резиновой прокладки и выровнен аналогичным образом, и другая пластина (теперь открытая) может быть проглажена подобным образом с тем, чтобы сломать эту (теперь) нижнюю пластину вдоль разметочной линии. Таким образом, дисплей может быть разделен на многочисленные куски, например на целевую часть и излишнюю часть.
Если пластины не сломаны после одного прохода, эти этапы могут повторятся, по необходимости, на одной или обеих сторонах дисплея до тех пор, пока дисплей не разделится. Как правило, только одна сторона дисплея будет сломана вдоль разметочной линии за раз (т.е. нижняя пластина, противоположная проглаживаемой верхней пластине). Однако во время некоторых процедур обе стороны могут быть сломаны одновременно по разметочным линиям. Кроме того, одна или обе пластины могут сломаться спонтанно во время операции скрайбирования, таким образом исключая один или оба этапа проглаживания. Альтернативно, резиновая прокладка под дисплеем может быть заменена непрерывным листом гибкого материала, и дисплей может быть сломан, например, с использованием инструмента, который однообразно ударяет дисплей по разметочной линии, такого как инструменты, используемые фирмой Villa Precision для выполнения ломки стекла в отрасли резки стекла. В дополнительном альтернативном варианте дисплей может быть сломан и/или разделен в инструменте с прижимными пластинами, подобно другим описанным здесь вариантам воплощения.
Когда дисплей ломается на целевую и излишнюю части, пластины дисплея могут расходиться, например, вдоль открытых краев целевой и излишней частей. Как объяснено выше, это может произойти из-за того, что пространство между пластинами дисплея может находиться под уменьшенным давлением, например, по существу в вакууме. Когда дисплей ломается или иным образом разделяется вдоль разметочной(ых) линии(й), атмосферное давление может войти в пространство между пластинами, тем самым заставляя пластины отделиться или иным образом отходить друг от друга на расстояние, большее, чем рабочий промежуток. Альтернативно, скрайбированный дисплей может быть сломан вдоль разметочной(ых) линии(й) при сохранении пластин на их первоначальном рабочем промежутке, например, путем устанавливания дисплея в зажимное приспособление или использования других процедур, подобных описанным здесь в других местах.
На этапе 220 целевая часть дисплея (часть, которая должна быть использована в измененном по размеру дисплее) может быть помещена в инструмент с прижимными пластинами, например, подобный описанному выше. Например, инструмент с прижимными пластинами может включать в себя две по существу жесткие параллельные пластины, по меньшей мере одна из которых покрывается эластичным баллоном, например, из гибкого силиконового каучука и т.п. Эластичный баллон может удерживаться на месте на одной из прижимных пластин, например, с использованием брусков на многочисленных (например, трех) сторонах прижимной пластины. Прижимные пластины и/или бруски могут быть выполнены из алюминия или другого по существу жесткого материала, способного работать с задействованными давлениями. Кроме того, эластичный баллон может включать в себя один или более подводов, например, на верхней стороне эластичного баллона для доставки нагнетаемых сред в этот баллон, подобно предшествующим вариантам воплощения.
Дисплей может быть помещен между прижимными пластинами с открытым или отрезанным краем целевой части, слегка выступающим от одного края инструмента с прижимными пластинами, например, вдоль верхних краев прижимных пластин. Прижимные пластины могут быть скреплены вместе, например, с использованием одного или более болтов, зажимов или других креплений. Давление внутри эластичного баллона может увеличиваться, например, регулироваться до приблизительно двух фунтов на квадратный дюйм (2 фунт/дм2) манометрического давления, например, чтобы вернуть расстояние между пластинами по существу к их исходному расстоянию – зазору. Как объяснено выше, это может быть облегчено, так как дисплей включает в себя внутренние прокладки между пластинами дисплея, и давление может прижимать пластины обратно к прокладкам.
На этапе 222 небольшое количество жидкокристаллического материала может быть вытолкнуто или иным образом удалено из пространства между пластинами дисплея вдоль открытого края, например, чтобы создать некоторое пространство между пластинами для приема клея или другого герметика. Например, давление в эластичном баллоне может быть слегка увеличено, например, на примерно один-три фунта/дм2, чтобы слегка сжать пластины дисплея вместе от их намеченного рабочего промежутка, тем самым вызывая вытеснение небольшого количества ЖК-материала вдоль открытого края. Вытесненный ЖК-материал может быть удален, например, с использованием ватного валика, ткани или другого впитывающего или невпитывающего материала. Кроме того, открытый край может быть очищен и/или иным образом обработан. Альтернативно, ЖК-материал может быть удален из пространства между пластинами, например, посредством промакивания, стекания и т.п., подобно описанным выше вариантам воплощения.
На этапе 224 клей или другой герметизирующий материал может быть нанесен вдоль открытого края. Необязательно, инструмент с прижимными пластинами (вместе с целевой частью дисплея) может быть установлен в вертикальное положение для приема клея, подобно предшествующим вариантам воплощения. Например, УФ-отверждаемый акриловый клей может быть нанесен из дозатора по существу равномерно вдоль открытого края. Любой излишний клей может быть удален, например, с использованием ватного валика, ткани и т.п.
На этапе 226 давление в эластичном баллоне может быть уменьшено, например, до манометрического давления примерно один фунт на квадратный дюйм, позволяя клею проникать и входить между пластинами вдоль открытого края. Клею, такому как Loctite 349, может потребоваться несколько минут для того, чтобы он достаточно проник между пластинами. Например, может потребоваться примерно четыре (4) минуты для того, чтобы клей проник на расстояние, по меньшей мере, примерно 0,040 дюйма в пространство между пластинами. Расстояние проникновения обычно пропорционально прошедшему времени. Давление может уменьшиться в достаточной мере для того, чтобы вернуть пластины дисплея к их первоначальному рабочему промежутку, подобно предшествующим вариантам воплощения.
На этапе 228 клей затем может быть отвержден. Например, одна или более ультрафиолетовых флуоресцентных ламп, например, с высокой энергией на длине волны в примерно триста пятьдесят нанометров (350 нм) могут быть задействованы в течение, по меньшей мере, примерно одной минуты. В примерном варианте воплощения может быть достаточно набора из пяти ламп, таких как лампы модели F8T5BL от фирмы Ushio. Клей может быть отвержден только частично, так что дисплей может быть удален, и любой излишний клей может быть счищен или иным образом удален без постоянного прикрепления к инструменту с прижимными пластинами или дисплею, например, в нежелательных местах. Дисплей и/или инструмент с прижимными пластинами может быть очищен, например, с помощью растворителя, такого как 91%-й раствор изопропилового спирта. Затвердевание клея может затем быть выполнено посредством подвергания дисплея воздействию УФ-ламп, например, в течение еще десяти (10) или более минут.
После этого дисплей может быть очищен по мере необходимости. Необязательно, после этого к дисплею может быть присоединена дополнительная электроника, и/или дисплей может быть установлен в обрамление, корпус или другую сборку, подобно первоначальным дисплеям.
В то время как на чертежах проиллюстрированы и здесь описаны конкретные варианты воплощения, включая предпочтительные варианты воплощения, специалистам в данной области техники будет понятно, что описанные здесь конкретные варианты воплощения могут быть модифицированы без отступления от описанных изобретательских замыслов.
Например, в зависимости от специальных требований конкретной области применения, могут быть применены различные комбинации описанных здесь технологий изготовления на заказ. Уплотнения 26, 27 и 28 могут наносится в различных комбинациях, различных количествах или пропорциях и изменяющихся последовательностях в зависимости от применения. Некоторые из этих уплотнений могут быть опущены или использованы с избытком, как может требовать данное применение. В дополнение или альтернативно, в некоторых областях применениях дегазация может быть необязательна.
Дополнительно хотя используемые здесь примеры в целом относились к серийным ЖКДАМ в качестве используемых в авиационной радиоэлектронике, где используются квадратные дисплеи, предложенные концепции одинаково применимы к другим типам ЖКД или другим технологиям изготовления дисплеев и для других промышленных областей применения, включая требующие других изготавливаемых на заказ форм. Кроме того, хотя использованные примеры показывают только один набор строковых АСК и два набора столбцовых АСК, на практике это может меняться с точностью до наоборот, или же может быть два набора каждых, и это количество каждых может меняться согласно тому, что желательно или необходимо для конкретного применения.
В то время как изобретение поддается различным модификациям и альтернативным формам, конкретные его примеры были показаны на чертежах и описаны здесь в деталях. Необходимо понимать, однако, что изобретение не ограничивается раскрытыми частными вариантами воплощения или способами, а наоборот, изобретение предназначено охватывать все модификации, эквиваленты и альтернативы, попадающие в рамки прилагаемой формулы изобретения.
Формула изобретения
1. Способ изменения размера электронного дисплея, содержащего переднюю пластину, заднюю пластину, расположенное по периметру уплотнение, отделяющее переднюю и заднюю пластины друг от друга, и формирующую изображение среду, содержащуюся в пространстве между передней и задней пластинами и в пределах границ расположенного по периметру уплотнения, причем передняя и задняя пластины отделяются друг от друга заданным зазором ячейки, содержащий: создание разметочной линии вдоль каждой из передней и задней пластин для разметки целевой части и излишней части дисплея; разламывание дисплея вдоль разметочных линий для разделения целевой и излишней частей дисплея, с созданием тем самым вдоль целевой части открытого края, сообщающегося с пространством между пластинами целевой части; причем перед тем, как дисплей разламывают, целевую часть дисплея устанавливают в зажимном приспособлении, сжатие пластин целевой части по направлению друг к другу; нанесение клея вдоль открытого края; и возвращение пластин целевой части к заданному зазору ячейки, с втягиванием тем самым клея между пластинами вдоль открытого края.
2. Способ по п.1, дополнительно содержащий отверждение клея после того, как пластины целевой части возвращены к заданному зазору ячейки, с созданием тем самым между пластинами вдоль открытого края первого уплотнения, которое создает препятствие для предотвращения вытекания формирующей изображение среды из пространства между пластинами целевой части.
3. Способ по п.2, в котором клей отверждают, подвергая клей воздействию ультрафиолетового света.
4. Способ по п.1, в котором, когда пластины целевой части сжимают по направлению друг к другу, формирующая изображение среда выталкивается из пространства между пластинами вдоль открытого края, при этом способ дополнительно содержит удаление формирующей изображение среды, которая вытолкнута вдоль открытого края.
5. Способ по п.4, в котором формирующую изображение среду удаляют до того, как наносят клей вдоль открытого края.
6. Способ по п.1, в котором целевую часть дисплея устанавливают в зажимном приспособлении для удерживания пластин с заданным зазором ячейки.
7. Способ по п.6, в котором зажимное приспособление сжимает пластины целевой части по направлению друг к другу и возвращает пластины целевой части к заданному зазору ячейки.
8. Способ по п.6, в котором зажимное приспособление содержит пару прижимных пластин, между которыми устанавливают целевую часть дисплея.
9. Способ по п.8, в котором по меньшей мере одна из прижимных пластин содержит эластичный баллон, расположенный между соответствующей одной из прижимных пластин и целевой частью дисплея, и при этом пластины целевой части сжимают по направлению друг к другу посредством расширения эластичного баллона.
10. Способ по п.9, в котором пластины целевой части возвращают к заданному зазору ячейки посредством по меньшей мере частичного опускания эластичного баллона.
11. Способ по п.9, в котором целевую часть дисплея устанавливают на первую из прижимных пластин, и при этом вторую из прижимных пластин устанавливают на первую из прижимных пластин с заданным промежутком.
12. Способ по п.9, в котором целевую часть дисплея устанавливают между парой прижимных пластин накачиванием эластичного баллона до первого давления для удерживания пластин целевой части с заданным зазором ячейки, в котором пластины целевой части сжимают по направлению друг к другу накачиванием эластичного баллона до второго давления, большего, чем первое давление, и в котором пластины целевой части возвращают к заданному зазору ячейки опусканием эластичного баллона до третьего давления, меньшего, чем второе давление.
13. Электронный дисплей, изготовленный с использованием любого из способов по пп.1-12.
14. Устройство для герметизации измененного по размеру электронного дисплея, содержащего переднюю пластину, заднюю пластину, расположенное по периметру уплотнение, отделяющее друг от друга эти пластины, формирующую изображение среду, герметизированную в пространстве между этими пластинами и в пределах границ расположенного по периметру уплотнения, и открытый край, сообщающийся с пространством между этими пластинами, содержащее: первую пластину, имеющую первую поверхность; вторую пластину, закрепляемую относительно первой пластины так, что вторая поверхность второй пластины ориентирована по направлению к и отделена от первой поверхности первой пластины, так что дисплей помещается между первой и второй пластинами при являющемся открытым открытом крае дисплея; эластичный баллон, прикрепленный к первой поверхности первой пластины; и источник давления, сообщающийся с внутренним пространством эластичного баллона для расширения эластичного баллона от первой поверхности с выборочным приложением давления к размещенному между первой и второй пластинами дисплею для того, чтобы сжать или отпустить дисплей, тем самым заставляя клей, нанесенный вдоль открытого края дисплея, втягиваться между пластинами вдоль открытого края.
15. Способ изменения размера электронного дисплея, содержащего переднюю пластину, заднюю пластину, расположенное по периметру уплотнение, отделяющее переднюю и заднюю пластины друг от друга, и формирующую изображение среду, содержащуюся в пространстве между передней и задней пластинами и в пределах границ расположенного по периметру уплотнения, причем передняя и задняя пластины отделяются друг от друга заданным зазором ячейки, содержащий: разметку целевой части и излишней части дисплея; отделение целевой части от излишней части с созданием тем самым вдоль целевой части открытого края, сообщающегося с пространством между пластинами целевой части; закрепление целевой части после отделения так, что передняя и задняя пластины отделены расстоянием, не большим, чем заданный зазор ячейки; сжатие пластин целевой части и нанесение клея вдоль открытого края так, что клей проникает между пластинами вдоль открытого края, причем при сжатии пластин целевой части по направлению друг к другу формирующую изображение среду выдавливают из пространства между пластинами вдоль открытого края, и при этом пластины целевой части по меньшей мере частично отпускают для втягивания клея между пластинами.
16. Способ по п.15, в котором целевую часть дисплея отделяют от излишней части посредством скрайбирования по меньшей мере одной разметочной линии вдоль каждой из передней и задней пластин и разламывания передней и задней пластин вдоль упомянутой по меньшей мере одной разметочной линии.
17. Способ по п.16, в котором переднюю и заднюю пластины разламывают посредством помещения полосы материала вдоль упомянутой по меньшей мере одной разметочной линии и направления материала вдоль упомянутой по меньшей мере одной разметочной линии, чтобы заставить переднюю и заднюю пластины сломаться вдоль упомянутой по меньшей мере одной разметочной линии.
18. Способ по п.15, в котором целевую часть дисплея устанавливают в зажимном приспособлении для удерживания пластин с заданным зазором ячейки.
19. Способ по п.18, в котором зажимное приспособление сжимает пластины целевой части по направлению друг к другу и возвращает пластины целевой части к заданному зазору ячейки.
20. Способ по п.18, в котором зажимное приспособление содержит пару прижимных пластин, между которыми устанавливают целевую часть дисплея.
21. Способ по п.20, в котором по меньшей мере одна из прижимных пластин содержит эластичный баллон, расположенный между соответствующей одной из прижимных пластин и целевой частью дисплея, и при этом пластины целевой части сжимают по направлению друг к другу посредством расширения эластичного баллона.
22. Способ по п.20, в котором пластины целевой части возвращают к заданному зазору ячейки посредством по меньшей мере частичного опускания эластичного баллона.
23. Способ по п.20, в котором целевую часть дисплея устанавливают на первую из прижимных пластин, и при этом вторую из прижимных пластин устанавливают на первую пластину с заданным промежутком.
24. Способ по п.15, дополнительно содержащий отверждение клея с созданием тем самым между пластинами вдоль открытого края первого уплотнения, которое создает препятствие для предотвращения вытекания формирующей изображение среды из пространства между пластинами целевой части.
25. Способ по п.15, дополнительно содержащий удаление формирующего изображение материала, который вытолкнут вдоль открытого края.
26. Способ по п.25, в котором формирующую изображение среду удаляют до того, как наносят клей вдоль открытого края.
27. Способ изменения размера электронного дисплея, содержащего переднюю пластину, заднюю пластину, расположенное по периметру уплотнение, отделяющее переднюю и заднюю пластины друг от друга, и формирующую изображение среду, содержащуюся в пространстве между передней и задней пластинами и в пределах границ расположенного по периметру уплотнения, причем передняя и задняя пластины отделяются друг от друга заданным зазором ячейки, содержащий: разметку целевой части и излишней части дисплея; отделение целевой части от излишней части с созданием тем самым вдоль целевой части открытого края, сообщающегося с пространством между пластинами целевой части; закрепление целевой части после отделения так, что передняя и задняя пластины отделены расстоянием, не большим, чем заданный зазор ячейки; сжатие пластин целевой части по направлению друг к другу; и нанесение клея вдоль открытого края так, что клей проникает между пластинами вдоль открытого края, по меньшей мере частичное отпускание пластин целевой части для втягивания клея между пластинами вдоль открытого края.
28. Измененный по размеру электронный дисплей, изготовленный с использованием любого из способов по пп.15-27.
РИСУНКИ
|
|