|
|
(21), (22) Заявка: 2008115146/28, 22.04.2008
(24) Дата начала отсчета срока действия патента:
22.04.2008
(46) Опубликовано: 10.06.2009
(56) Список документов, цитированных в отчете о поиске:
FR 2569867 A1, 07.03.1986. EP 0479439 A2, 08.04.1992. RU 2226292 C1, 27.03.2004. GB 2088079 A, 03.06.1982. RU 63559 U1, 27.05.2007.
Адрес для переписки:
141300, Московская обл., г. Сергиев Посад, проспект Красной Армии, 212В, ЗАО “Фазотрон-ЗОМЗ-Авиа”
|
(72) Автор(ы):
Благов Павел Андреевич (RU), Лесман Лариса Ивановна (RU), Цивилев Евгений Викторович (RU)
(73) Патентообладатель(и):
Закрытое акционерное общество “Фазотрон-ЗОМЗ-АВИА” (RU)
|
(54) ИНДИКАТОР КОЛЛИМАТОРНЫЙ ШИРОКОУГОЛЬНЫЙ
(57) Реферат:
Индикатор содержит электронно-лучевую трубку (ЭЛТ), двухкомпонентный объектив, между компонентами которого расположено плоское отражательное зеркало, изламывающее оптическую ось, и двухкомпонентное полупрозрачное наклонное зеркало. Первый компонент выполнен из первой отрицательной, второй положительной и третьей плосковыпуклой линз. Второй компонент – четвертая положительная линза – мениск, обращенный вогнутостью к зеркалу, выпуклая поверхность которого выполнена параболической. Между второй и третьей линзами размещена плоскопараллельная пластина, склеенная с третьей линзой и содержащая наклонную к оси ЭЛТ светоделительную плоскость, обращенную нижним концом к ЭЛТ. Под пластиной расположены пятая положительная линза, прямоугольная призма с отражательной гипотенузной гранью, шестая положительная линза, седьмая выпукло-плоская линза, на плоской поверхности которой нанесена прицельная сетка, расположенная в фокальной плоскости дополнительного канала индикатора, состоящего из шестой линзы, прямоугольной призмы, пятой линзы, нижней части плоскопараллельной пластины, третьей линзы, отражательного зеркала и четвертой линзы. За седьмой линзой выпуклостью к ней расположены плоско-выпуклая восьмая линза, две осветительные лампы и сферическое зеркало. В индикаторе выполняются соотношения, указанные в формуле изобретения. Технический результат – повышение надежности работы устройства. 3 ил.
Изобретение относится к оптическому приборостроению, конкретнее – к авиационным оптико-электроннным приборам – к коллиматорным авиационным индикаторам (или иначе индикаторы на лобовом стекле – ИЛС) и предназначено для использования в коллиматорных прицелах самолетов и вертолетов.
Наиболее близким к предлагаемому устройству является известный индикатор для пилотажного коллиматора, содержащий электронно-лучевую трубку (ЭЛТ), излучающий экран которой расположен в фокальной плоскости объектива, содержащего два компонента, между которыми расположен оптический, изламывающий ось элемент в виде призмы с двумя отражениями, первое из которых использует эффект полного внутреннего отражения и двухкомпонентный полупрозрачный отражатель, представляющий собой двухкомпонентное полупрозрачное наклонное зеркало, расположенное над объективом между лобовым стеклом самолета и пилотом (см. «Оптический проектор для пилотажного коллиматора», Франция, заявка 2569867, МПК G02B 27/18).
Общими признаками данного устройства с предлагаемым изобретением являются следующие признаки: электронно-лучевая трубка (ЭЛТ), двухкомпонентный объектив основного канала, первый компонент которого расположен на одной оси с ЭЛТ, между компонентами объектива, в воздушном промежутке, расположен оптический элемент, изламывающий оптическую ось, выше которого расположен второй компонент объектива, и двухкомпонентное полупрозрачное наклонное зеркало, расположенное над объективом.
Однако данный индикатор содержит в качестве единственного источника информации переменные символы, сформированные электроникой индикатора на экране ЭЛТ и, в случае выхода из строя ЭЛТ, блока питания или одного из компонентов электронного блока пилот лишается оперативной информации и не видит прицельных меток, что может привести к невыполнению поставленной задачи. Таким образом, данный индикатор недостаточно надежен в выполнении своего основного назначения – предоставлении информации для принятия решения и осуществления необходимых действий.
Технический результат данного изобретения заключается в повышении надежности работы устройства.
Технический результат достигается тем, что в индикаторе коллиматорном широкоугольном, содержащем электронно-лучевую трубку (ЭЛТ), двухкомпонентный объектив основного канала, первый компонент которого расположен на одной оси с ЭЛТ, между компонентами в воздушном промежутке расположен оптический элемент, изламывающий оптическую ось, выше которого расположен второй компонент объектива, и двухкомпонентное полупрозрачное наклонное зеркало, расположенное над объективом, оптический элемент, изламывающий оптическую ось, выполнен в виде плоского отражательного зеркала, наклонного к оси ЭЛТ, первый компонент объектива выполнен из первой отрицательной линзы с коэффициентом преломления n1 и фокусным расстоянием f1, второй положительной линзы с коэффициентом преломления n2 и фокусным расстоянием f2, третьей плосковыпуклой линзы с коэффициентом преломления n3 и фокусным расстоянием f3, второй компонент объектива представляет собой четвертую положительную линзу – мениск, обращенный вогнутостью к зеркалу, с коэффициентом преломления n4 и фокусным расстоянием f4, выпуклая поверхность которого выполнена параболической, между второй и третьей линзами размещена плоскопараллельная пластина, коэффициент преломления стекла которой n5, которая склеена с третьей линзой и содержит наклонную к оси ЭЛТ светоделительную плоскость, обращенную нижним концом к ЭЛТ, под пластиной на оси, перпендикулярной оси ЭЛТ, расположена пятая положительная линза и прямоугольная призма, содержащая отражательную гипотенузную грань, а далее, на линии, параллельной оси ЭЛТ, рядом с вертикальной катетной гранью призмы последовательно в сторону ЭЛТ расположены шестая положительная линза, седьмая выпукло-плоская линза, на плоской поверхности которой нанесен рисунок прицельной сетки, расположенный в фокальной плоскости дополнительного канала индикатора, состоящего из шестой линзы, прямоугольной призмы, пятой линзы, нижней части плоскопараллельной пластины, третьей линзы, отражательного зеркала и четвертой линзы, за выпуклой поверхностью седьмой линзы выпуклостью к ней расположена восьмая плоско-выпуклая линза, изготовленная из кварца, перед плоской поверхностью которой расположены две осветительные лампы, и сферическое зеркало холодного свечения, при этом в индикаторе соблюдены следующие соотношения между коэффициентами преломления линз:
(n5-n4)<0,1 и n1>n2>n3>n4,
где
n1 – коэффициент преломления первой линзы
n2 – коэффициент преломления второй линзы
n3 – коэффициент преломления третьей линзы,
n4 – коэффициент преломления четвертой линзы,
n5 – коэффициент преломления плоскопараллельной пластины,
и соотношения между фокусными расстояниями линз, фокусным расстоянием основного канала и расстоянием между компонентами объектива d:
f1234,
f4<2f,
f>d>0,8 f,
где
f1 – фокусное расстояние первой линзы,
f2 – фокусное расстояние второй линзы,
f3 – фокусное расстояние третьей линзы,
f4 – фокусное расстояние четвертой линзы,
f – фокусное расстояние объектива,
d – воздушный промежуток объектива – расстояние между компонентами объектива.
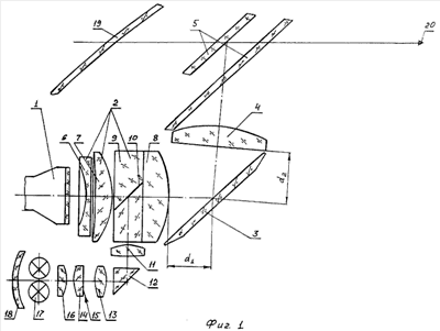
На фиг.1 представлена оптическая схема предлагаемого индикатора.
Предлагаемый КАИ содержит ЭЛТ 1, расположенный с ней на одной оси первый компонент 2 двухкомпонентного объектива основного канала, в воздушном промежутке за компонентом 2 расположено наклонное к оси ЭЛТ 1 зеркало 3, изламывающее оптическую ось, выше которого расположен второй компонент 4 объектива и двухкомпонентное полупрозрачное наклонное зеркало 5, расположенное над объективом. Первый компонент 2 выполнен из первой отрицательной линзы 6 с коэффициентом преломления n1 и фокусным расстоянием f1, второй положительной линзы 7 с коэффициентом преломления n2 и фокусным расстоянием f2, третьей плосковыпуклой линзы 8, с коэффициентом преломления n3 и фокусным расстоянием f3, второй компонент 4 объектива представляет собой четвертую положительную линзу – мениск, обращенный вогнутостью к зеркалу, с коэффициентом преломления n4 и фокусным расстоянием f4, выпуклая поверхность которого выполнена параболической. Между второй и третьей линзами 7 и 8 размещена плоскопараллельная пластина 9, коэффициент преломления стекла которой n5, которая склеена с третьей линзой 8 и содержит наклонную к оси ЭЛТ 1 светоделительную плоскость 10, обращенную нижним концом к ЭЛТ. Под пластиной 9 на оси, перпендикулярной оси ЭЛТ 1, расположена пятая положительная линза 11 и прямоугольная призма 12, содержащая отражательную гипотенузную грань, а далее, на линии, параллельной оси ЭЛТ 1, рядом с вертикальной катетной гранью призмы 12 последовательно в сторону ЭЛТ 1 расположены шестая положительная линза 13, седьмая выпукло-плоская линза 14, на плоской поверхности которой нанесена прицельная сетка 15, расположенная в фокальной плоскости дополнительного, второго канала индикатора. За выпуклой поверхностью линзы 14 в сторону ЭЛТ 1, выпуклостью к ней, расположена восьмая плосковыпуклая линза 16, изготовленная из кварца, перед плоской поверхностью которой расположены две осветительные лампы 17 и сферическое зеркало 18 холодного свечения. Дополнительный канал индикатора состоит из шестой линзы 13, прямоугольной призмы 12, пятой линзы 11, нижней части плоскопараллельной пластины 9, третьей линзы 8, отражательного зеркала 3 и четвертой линзы 4. При этом в индикаторе соблюдены следующие соотношения между коэффициентами преломления линз:
(n5-n4)<0,1 и n1>n2>n3>n4,
где
n1 – коэффициент преломления первой линзы 6,
n2 – коэффициент преломления второй линзы 7,
n3 – коэффициент преломления третьей линзы 8,
n4 – коэффициент преломления четвертой линзы 4,
n5 – коэффициент преломления плоскопараллельной пластины 9,
и соотношения между фокусными расстояниями линз, фокусным расстоянием
основного канала и расстоянием между компонентами объектива d:
f1234,
f4<2f,
f>d>0,8 f,
где
f1 – фокусное расстояние первой линзы 6,
f2 – фокусное расстояние второй линзы 7,
f3 – фокусное расстояние третьей линзы 8,
f4 – фокусное расстояние четвертой линзы 4,
f – фокусное расстояние объектива,
d – воздушный промежуток объектива – расстояние между компонентами объектива d1 и d2.
Двухкомпонентное полупрозрачное наклонное зеркало 5, расположено над объективом между лобовым стеклом 19 и глазом пилота 20.
На фиг.2 представлено общее поле зрения 21 устройства, мгновенное поле зрения 22 устройства и поле зрения 23 дополнительного канала.
Устройство работает следующим образом.
Служебная картина, сформированная на экране ЭЛТ 1 в виде светящихся символов, лучи от которых проходят основной канал последовательно через линзы 6, 7, плоскопараллельную пластину 9 и склеенную с ней линзу 8, направляются наклонным зеркалом 3 вверх на линзу 4 и через двухкомпонентное зеркало накладываются на лучи от внешней цели, прошедшие через лобовое стекло 19, и вместе с ними попадают в глаз пилота 20. Для начала работы дополнительного канала включаются лампочки 17. При этом включаться может как одна лампочка 17, так и обе сразу. Свет от лампочек 17 направляется как на линзу 14, так и на зеркало холодного свечения 18, которое пропускает тепловые лучи через себя и отражает видимые лучи на линзу 16, выполненную из теплостойкого кварца, сохраняющего механическую прочность при нагревании. Световой поток, пройдя через линзу 16 и линзу 14, освещает сетку 15, расположенную в фокальной плоскости дополнительного канала. Лучи от сетки 15 проходят линзу 13, отражаются вверх гипотенузной гранью прямоугольной призмы 12, отражаются от светоделительной грани 10 плоскопараллельной пластины 9, проходят линзу 8 и, как лучи от ЭЛТ 1, отражаются вверх зеркалом 3 и через линзу 4 направляются на двухкомпонентный отражатель 5, отражаясь от компонентов которого направляются в сторону глаз пилота 20. Таким образом, пилот одновременно может видеть изображения цели, изображения экрана ЭЛТ 1 и сетки 15, удаленных в бесконечность. Дополнительный канал является как резервным каналом, так и средством проверки и калибровки основного канала, что повышает надежность всей системы. На фиг.2 поле зрения 23 канала сетки для наглядности показано с возможным изображением рисунка сетки.
На фото 1 представлено изделие ШКАИ (широкоугольный коллиматорный авиационный индикатор), в конструкции которого было использовано предлагаемое изобретение и, которое было впервые показано на международной выставке “МАКС 2007”.
Изготовленный образец изделия имеет следующие характеристики:
Фокусное расстояние объектива (основного канала) f=157,8 мм.
Фокусное расстояние дополнительного канала (канала “сетка”) f’=115,9 мм.
| n1=1,7617 |
f1=-111,6 |
| n2=1,7476 |
f2=149,6 |
| n3=1,6155 |
 |
| n4=1,5183 |
f3=219,4 |
| n5=1,6169 |
f4=358,4 |
Расстояние между компонентами объектива d=d1+d2=67+70,8=137,8 мм.
Формула изобретения
Индикатор коллиматорный широкоугольный, содержащий электронно-лучевую трубку (ЭЛТ), двухкомпонентный объектив, первый компонент которого расположен на одной оси с ЭЛТ, между компонентами в воздушном промежутке расположен оптический элемент, изламывающий оптическую ось, выше которого расположен второй компонент объектива, и двухкомпонентное полупрозрачное наклонное зеркало, расположенное над объективом, отличающийся тем, что при этом оптический элемент, изламывающий оптическую ось, выполнен в виде плоского отражательного зеркала, наклонного к оси ЭЛТ, первый компонент объектива выполнен из первой отрицательной линзы с коэффициентом преломления n1 и фокусным расстоянием f1, второй положительной линзы с коэффициентом преломления n2 и фокусным расстоянием f2, третьей плосковыпуклой линзы с коэффициентом преломления n3 и фокусным расстоянием f3, второй компонент объектива представляет собой четвертую положительную линзу – мениск, обращенный вогнутостью к зеркалу, с коэффициентом преломления n4 и фокусным расстоянием f4, выпуклая поверхность которого выполнена параболической, между второй и третьей линзами размещена плоскопараллельная пластина, коэффициент преломления стекла которой n5, которая склеена с третьей линзой и содержит наклонную к оси ЭЛТ светоделительную плоскость, обращенную нижним концом к ЭЛТ, под пластиной на оси, перпендикулярной оси ЭЛТ, расположена пятая положительная линза и прямоугольная призма, содержащая отражательную гипотенузную грань, а далее на линии, параллельной оси ЭЛТ, рядом с вертикальной катетной гранью призмы последовательно в сторону ЭЛТ расположены шестая положительная линза, седьмая выпукло-плоская линза, на плоской поверхности которой нанесен рисунок прицельной сетки, расположенный в фокальной плоскости дополнительного канала индикатора, состоящего из шестой линзы, прямоугольной призмы, пятой линзы, нижней части плоскопараллельной пластины, третьей линзы, отражательного зеркала и четвертой линзы, за выпуклой поверхностью седьмой линзы выпуклостью к ней расположена восьмая плоско-выпуклая линза, изготовленная из кварца, перед плоской поверхностью которой расположены две осветительные лампы и сферическое зеркало холодного свечения, при этом в индикаторе соблюдены следующие соотношения между коэффициентами преломления линз: (n5-n4)<0,1 и n1>n2>n3>n4, где n1 – коэффициент преломления первой линзы; n2 – коэффициент преломления второй линзы; n3 – коэффициент преломления третьей линзы; n4 – коэффициент преломления четвертой линзы; n5 – коэффициент преломления плоскопараллельной пластины; и соотношения между фокусными расстояниями линз, фокусным расстоянием основного канала и расстоянием между компонентами объектива d: f1234, f4<2f, f>d>0,8f, где f1 – фокусное расстояние первой линзы; f2 – фокусное расстояние второй линзы; f3 – фокусное расстояние третьей линзы; f4 – фокусное расстояние четвертой линзы; f – фокусное расстояние объектива; d – воздушный промежуток объектива – расстояние между компонентами объектива.
РИСУНКИ
|
|