|
|
(21), (22) Заявка: 2007123271/28, 21.06.2007
(24) Дата начала отсчета срока действия патента:
21.06.2007
(43) Дата публикации заявки: 27.12.2008
(46) Опубликовано: 10.06.2009
(56) Список документов, цитированных в отчете о поиске:
US 6870632 B2, 22.03.2005. RU 2047194 C1, 27.10.1995. SU 390491 A1, 01.01.1973. RU 40501 U1, 10.09.2004.
Адрес для переписки:
143400, Московская обл., г. Красногорск-7, ул. Речная, 8, ОАО, КМЗ, НТЦ, патентное бюро
|
(72) Автор(ы):
Жила Сергей Александрович (RU), Лапшин Василий Викторович (RU)
(73) Патентообладатель(и):
Открытое акционерное общество “Красногорский завод им. С.А. Зверева” (RU)
|
(54) РЕГУЛИРУЕМЫЙ ОПТИЧЕСКИЙ МОДУЛЬ
(57) Реферат:
Заявленное изобретение относится к оптическому приборостроению и может быть использовано в оптических системах с повышенными требованиями к их регулировке. Регулируемый оптический модуль состоит из установленных вдоль оптической оси внешней оправы и оптического элемента, соединенных между собой через механизм перемещения. Оптический элемент установлен с возможностью перемещения вдоль оптической оси. Механизм перемещения представляет из себя микродомкрат и состоит из монолитного корпуса и дифференциального механизма. На боковых стенках корпуса выполнены пружинящие элементы. Нижняя часть корпуса жестко закреплена на внешней оправе. На верхней части корпуса закреплена внутренняя оправа оптического элемента. Дифференциальный механизм состоит из винта и двух гаек, имеющих разный шаг резьбы Р. Одна из гаек и винт жестко закреплены на противоположных внутренних стенках корпуса микродомкрата. Другая гайка является подвижной и перемещается по резьбе винта. Привод регулируемого оптического модуля состоит из манипулятора и электродвигателя. Кроме того, оптический элемент может быть выполнен либо в виде линзы, либо в виде зеркала, либо в виде призмы. Таким образом, достигается повышение точности и надежности работы регулируемого оптического модуля для перемещения оптического элемента с последующим его стопорением в заданном положении при значительном упрощении конструкции. 4 з.п. ф-лы, 1 ил.
Изобретение относится к оптическому приборостроению и может быть использовано в проекционной оптической системе для полупроводниковой литографии с множеством оптических элементов и, по крайней мере, с одним регулируемым оптическим элементом.
Известно устройство для юстировки оптического элемента, в частности линзы в оптической системе, а именно в проекционном объективе для полупроводниковой литографии (заявка на изобретение Германии DE 10140608, МПК G02B 26/00, 7/02, опубл. 6.03.2003 г.). Оптический элемент размещен в оправе посредством L-образных опор, равномерно расположенных по окружности и непосредственно контактирующих одним своим концом с оптическим элементом, а другим связанных с оправой. При этом воздействие на тот или иной участок оптического элемента вдоль оптической оси относительно оправы происходит через соответствующий привод опоры без воздействия на внутреннюю оправу, в которой могут возникнуть нежелательные деформации, влияющие на форму оптического элемента.
Наиболее близким к заявляемому техническому решению является устройство, описанное в патенте на изобретение US 6870632, МПК G02B 7/02, опубл. 22.03.2005 г., предназначенное для размещения оптического элемента (зеркала или линзы) в проекционном объективе для полупроводниковой литографии. Оптический элемент с помощью механизма перемещения, содержащего шарнирные соединения с гибкими пружинными соединениями между подвижными частями, крепится к внешней оправе. Механизмы перемещения равномерно размещены по диаметру внутренней оправы оптического элемента. Гибкие пружинные соединения представляют собой плоские пружины, одна из которых действует в радиальном, а другая – в тангенциальном направлении по отношению к оптическому элементу. При этом шарнирное соединение жестко крепится к внешней оправе. Шарнирные соединения могут быть приведены в действие манипуляторами одновременно или каждый в отдельности, что приводит, в свою очередь, либо к перемещению оптического элемента вдоль его оси, либо к его наклону соответственно. Однако существенным недостатком этой конструкции является ее сложность и отсутствие стопорения шарнирных соединений после перемещения оптического элемента.
Задачей изобретения является создание регулируемого оптического модуля с повышенными эксплуатационными характеристиками.
Технический результат – повышение точности и надежности работы оптического модуля, возможность стопорения оптического элемента в заданном положении при упрощении конструкции.
Это достигается тем, что в регулируемом оптическом модуле, состоящем из установленных вдоль оптической оси внешней оправы и оптического элемента, соединенных между собой через механизм перемещения так, что оптический элемент установлен с возможностью перемещения вдоль оптической оси, механизм перемещения имеет пружинящие элементы и жестко закреплен на внешней оправе, в отличие от известного механизм перемещения выполнен в виде микродомкрата, крепление к оптическому элементу и внешней оправе осуществляется через жесткие верхнюю и нижнюю части корпуса микродомкрата соответственно, причем крепление к внешней оправе является жестким, а боковые стенки корпуса выполнены с пружинящими элементами, в корпусе микродомкрата находится дифференциальный механизм, выполненный из винта и двух гаек, имеющих разный шаг резьбы Р, причем винт и одна из гаек жестко закреплены на противоположных внутренних боковых стенках корпуса, а вторая гайка является подвижной и установлена с возможностью перемещения по резьбе винта посредством манипулятора. Регулируемый оптический модуль может быть снабжен внутренней оправой, в которой закреплен оптический элемент. Кроме того, оптический элемент может быть выполнен либо в виде линзы, либо в виде зеркала, либо в виде призмы.
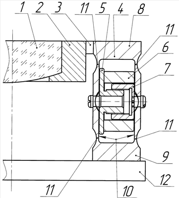
На чертеже изображен регулируемый оптический модуль в разрезе.
Оптический элемент в данном случае представлен в виде линзы 1, которая жестко закреплена в своей внутренней оправе 2 и через кронштейн 3 жестко крепится на механизме перемещения, выполненном в виде микродомкрата, состоящего из корпуса 4 и дифференциального механизма в виде винта 5 и двух гаек 6 и 7, имеющих разный шаг резьбы Р. Корпус 4 микродомкрата представляет из себя монолитную конструкцию, верхняя 8 и нижняя 9 части которой являются жесткими, а в его боковых стенках 10 выполнены пружинящие элементы 11, форма и количество которых для повышения чувствительности регулирующего механизма могут варьироваться. Для этой же цели может варьироваться материал, из которого изготовлены корпус 4 микродомкрата, винт 5 и гайки 6 и 7, например различные виды пружинной стали и бронзы. Верхней частью 8 микродомкрат жестко крепится к внутренней оправе 2, а нижней частью 9 – к внешней оправе 12, которая расположена соосно оптическому элементу 1. Форма и конструкция кронштейна 3, внутренней 2 и внешней 12 оправ может быть различной, на чертеже они показаны в упрощенном виде, так же, как и оптический элемент, который, в свою очередь, может быть представлен в виде линзы, зеркала или призмы или в виде каждого из этих компонентов, жестко закрепленных во внутренней оправе. Возможно и непосредственное соединение оптического элемента, например линзы 1, с механизмом микродомкрата. Количество микродомкратов, равномерно расположенных по диаметру оптического элемента, может варьироваться, в данном случае их три. Для простоты на чертеже показан только один механизм. Внутри корпуса 4 на противоположных боковых стенках 10 жестко закреплены винт 5 и гайка 6. В одной из этих стенок, на которой закреплена гайка 6, выполнено отверстие для возможности перемещения манипулятором (не показан) подвижной гайки 7 по резьбе винта 5.
Регулируемый оптический модуль работает следующим образом.
Манипулятор (не показан) через отверстие в боковой стенке корпуса 4 приводит в действие дифференциальный механизм 5, 6 и 7. В свою очередь, подвижная гайка 7, перемещаясь по резьбе винта 5 в направлении, перпендикулярном оптической оси, воздействует на внутренние боковые стенки 10 корпуса 4, изменяя его геометрические размеры за счет пружинящих элементов 11, что в итоге приводит к перемещению оптического элемента вдоль его оптической оси. Если требуется, механизмы микродомкратов могут быть приведены в действие манипуляторами одновременно или каждый в отдельности, что приводит, в свою очередь, либо к перемещению оптического элемента вдоль его оси, либо к его наклону соответственно. Тем самым обеспечиваются необходимые котировочные перемещения оптического элемента. Конструкция и принцип действия манипуляторов и приводов могут быть различными (электро, гидро, пневмо, пьезо).
Примером конкретного выполнения служит предложенный регулируемый оптический модуль с последующим стопорением оптического элемента в заданном положении. Винт и гайки дифференциального механизма выполнены с резьбами М8×0,7 и M12×0,8 (могут варьироваться), что при расчетном ходе подвижной гайки в 2,5 оборота приводит к изменению геометрического размера корпуса в поперечном сечении на 10 мкм и к перемещению оптического элемента вдоль его оси на 6 мкм. В механизме привода манипулятора используется шаговый электродвигатель типа FL42TSH. Выбранная конфигурация корпуса обеспечивает максимальную редукцию перемещений при минимальных напряжениях в материале. Работа резьбовых пар в постоянно сомкнутом состоянии гарантирует отсутствие люфтов. Преимуществом предлагаемого микродомкрата по сравнению с другими подобными механизмами (электро, пьезо, пневмо и т.д.) является механическое стопорение перемещаемого оптического элемента, исключающее необходимость последующего удержания манипуляторов и приводов перемещения в напряженном состоянии.
Таким образом, в результате предложенного решения обеспечено получение технического результата: создан регулируемый оптический модуль с возможностью последующего стопорения оптического элемента в заданном положении упрощенной конструкции, что обеспечивает точность и надежность работы модуля.
Формула изобретения
1. Регулируемый оптический модуль, состоящий из установленных вдоль оптической оси внешней оправы и соединенного с ней через механизм перемещения оптического элемента, установленного с возможностью перемещения вдоль оптической оси, при этом механизм перемещения жестко закреплен на внешней оправе и содержит пружинящие элементы, отличающийся тем, что механизм перемещения выполнен в виде микродомкрата, верхняя и нижняя части корпуса которого соединены с оптическим элементом и внешней оправой соответственно, пружинящие элементы выполнены в боковых стенках корпуса, и в нем установлен дифференциальный механизм, выполненный из винта и двух гаек, имеющих разный шаг резьбы, причем винт и одна из гаек жестко закреплены на противоположных внутренних боковых стенках корпуса, а вторая гайка является подвижной и установлена с возможностью перемещения по резьбе винта посредством манипулятора.
2. Регулируемый оптический модуль по п.1, отличающийся тем, что он снабжен внутренней оправой, в которой жестко закреплен оптический элемент.
3. Регулируемый оптический модуль по п.1 или 2, отличающийся тем, что оптический элемент выполнен в виде линзы.
4. Регулируемый оптический модуль по п.1 или 2, отличающийся тем, что оптический элемент выполнен в виде зеркала.
5. Регулируемый оптический модуль по п.1 или 2, отличающийся тем, что оптический элемент выполнен в виде призмы.
РИСУНКИ
|
|