|
|
(21), (22) Заявка: 2006114691/28, 03.09.2004
(24) Дата начала отсчета срока действия патента:
03.09.2004
(30) Конвенционный приоритет:
30.09.2003 US 10/675,053
(43) Дата публикации заявки: 10.11.2007
(46) Опубликовано: 10.06.2009
(56) Список документов, цитированных в отчете о поиске:
SU 1529158 A1, 15.12.1989. SU 591236 A1, 15.11.1978. US 4774693 A, 27.09.1988. US 4685091 A, 04.08.1987. US 5343001 A, 30.08.1994. US 4949316 A, 14.08.1990.
(85) Дата перевода заявки PCT на национальную фазу:
02.05.2006
(86) Заявка PCT:
IB 2004/002909 20040903
(87) Публикация PCT:
WO 2005/033742 20050414
Адрес для переписки:
129090, Москва, ул. Б.Спасская, 25, стр.3, ООО “Юридическая фирма Городисский и Партнеры”, пат.пов. Ю.Д.Кузнецову, рег. 595
|
(72) Автор(ы):
МИЯМОТО Кенитиро (JP), САИТО Ацуси (JP)
(73) Патентообладатель(и):
ШЛЮМБЕРГЕР ТЕКНОЛОДЖИ Б.В. (NL)
|
(54) МНОГОПОЛЮСНЫЙ ИСТОЧНИК
(57) Реферат:
Способ и устройства для каротажа во время бурения (LWD) и акустический передающий источник. Многополюсный передающий источник позволяет определять скорости пород, включая скорости сдвиговой волны через слой жидкости. Способы и устройства позволяют осуществлять детальную LWD и кабельную сейсморазведку, в которых оба сейсмических или акустических источника и приемника расположены в буровой скважине, но могут также использоваться для ВСП (вертикальное сейсмическое профилирование, многополюсное измерение с источником типа сосредоточенной силы и профилирования приемниками). 5 н. и 46 з.п. ф-лы, 5 ил.
Область техники
Настоящее изобретение относится к звуковому или акустическому каротажу толщи пород околоскважинного пространства. Более точно, настоящее изобретение касается многополюсного источника для использования в системе каротажа во время бурения (LWD).
Уровень техники
Излучение и регистрация акустических волн, проходящих через толщу пород, – ключевое измерение, используемое в каротаже ствола скважин. Акустические волны распространяются под землей со скоростями, которые изменяются для различных геологических формаций. Например, акустические волны проходят около 4000 метров в секунду через песчаник и около 5000 метров в секунду через известняк. Звуковые волны вообще классифицируются на два типа: продольные и поперечные. Продольная или волна сжатия – это та, в которой частицы среды колеблются в направлении распространения волны. Поперечная или сдвиговая волна – это та, в которой частицы среды колеблются перпендикулярно направлению распространения волны. Скорость акустической волны, проходящей через среду, связана с пористостью среды, является важной характеристикой толщи пород, поскольку это потенциально связано с содержанием углеводородов.
Много различных каротажных инструментов в настоящее время доступны для проведения акустических измерений, позволяющих вычислить акустическую скорость волны (и ее аналог, интервальное время пробега волны). Обычный каротажный инструмент содержит два приемника, разнесенные по оси инструмента на известных расстояниях от акустического передатчика. В случае одного передатчика в известном инструменте с двумя приемниками акустическая скорость оценивается вычитанием времени пробега волны между двумя приемниками и делением на расстояние между приемниками. Эта оценка, однако, имеет погрешности из-за наклона инструмента, промоин в буровой скважине, эффекта границы пласта и т.д. Дополнительные акустические источники и приемники и более устойчивые методы типа STC (Когерентный анализ интервального времени пробега волны) могли быть использованы, чтобы уменьшить погрешности, создаваемые влиянием внешних условий. Однако, чем больше пористость пород, тем меньше скорость распространения волны.
Предшествующие и другие методы каротажа часто используются в открытом и обсаженном стволе скважины с акустическим инструментом, подвешенным на электрическом кабеле. Однако в последние годы стали доступными различные инструменты и оборудование, которые позволяют проводить каротаж во время бурения. LWD системы иногда включаются в специальные воротники бура, расположенные около бурового долота. Результаты каротажных измерений могут быть телеметрически переданы вверх по стволу скважины обычно в форме импульса давления в потоке бурового раствора для обнаружения, отображения и/или регистрации, существенно в режиме реального времени, или могут быть зарегистрированы для дальнейшей коррекции. Обычно акустический инструмент оборудован одиночным передатчиком для использования при измерении скоростей волн сжатия и сдвиговых волн. Однако скорость сдвиговой волны в породе не может быть измерена с использованием одного передатчика, когда скорость сдвиговой волны меньше, чем скорость в жидкости по стволу скважины (обычно для бурового раствора). Это обусловлено тем, что преломление не может произойти между жидкостью и породой, если скорость в жидкости больше, чем скорость в породе (то есть Vf>Vs).
Кроме того, окружающие LWD среды налагают несколько резких условий и ограничений, при которых акустический передатчик источника должен сохранять работоспособность. Условия и ограничения включают, среди прочего, очень ограниченное место для передатчика в бурильной колонне, необходимость в высоком давлении выходного сигнала из-за шума, произведенного бурением, высокую степень эрозионности, высокую температуру и высокое давление окружающей среды и ограниченное электропитание.
Сущность изобретения
Технической задачей настоящего изобретения является устранение указанных недостатков путем создания устройства для возбуждения акустических волн в породах, содержащего многополюсный источник, которое позволяет обеспечить измерение скорости пород при резких условиях и ограничениях, даже когда скорость в породе ниже, чем во флюиде в стволе скважины. Согласно настоящему изобретению предложено устройство для возбуждения акустических волн в породах, пересекаемых стволом буровой скважины, включающее многополюсный передатчик, содержащий четыре акустических передающих элемента, размещенных в воротнике бура, четыре монопольных акустических передающих элемента, размещенных вдоль окружности воротника бура на приблизительно равных расстояниях. Четыре многополюсных передающих акустических элемента могут использоваться для создания монопольного, дипольного или квадрупольного поля давления. Согласно некоторым вариантам воплощения, каждый из четырех монопольных передающих элементов содержит цилиндрический преобразователь и корпус, окружающий преобразователь, которые заполнены флюидом. Корпус может быть выполнен из Radel®-R и иметь толщину около 1 мм. Цилиндрический преобразователь может быть PZT пьезокерамическим преобразователем, который используется как цилиндрический резонатор. Напряжение предпочтительно подается на PZT пьезокерамический преобразователь на частоте ниже, чем резонансная частота пьезокерамического преобразователя и резонансная частота флюида в пьезокерамическом преобразователе.
Предпочтительно цилиндрический преобразователь зажат прокладками, имеющими одно или более отверстий. Кроме того, прокладки зажаты первой и второй головками, и одна или более тяг соединяют первую и вторую головки. Корпус вмещает прокладки, первую и вторую головки и тяги.
Предпочтительно PZT пьезокерамический цилиндр выполнен в виде одного элемента и однородно поляризован в радиальном направлении подачей напряжения поперек внутренних и внешних поверхностей цилиндра с помощью электродов. Диаметр PZT пьезокерамического преобразователя расширяется (эффект d31) при подаче напряжения. Каждый монопольный передающий акустический элемент передатчика может включать гидропневматический компенсатор давления для поддержки или восстановления линейности между поступающим напряжением и выходным давлением. Четыре монопольных передающих акустических элемента размещены в соответствующих пазах воротника бура и закрыты экраном, имеющим отверстие, которое позволяет импульсам давления, произведенным каждым монопольным акустическим передающим элементом, проходить наружу. Пазы имеют глубину от 2,5 до 5 см, ширину от 2,5 до 5 см и длину от 25 до 35 см. Четыре монопольных передающих элемента могут каждый включать PZT пьезокерамический цилиндр, имеющий длину от 5 до 10 см и толщину стенок в пределах от 3 до 6 мм. Воротник бура включает трубу и может иметь внешний диаметр около 17,5 см и внутренний диаметр около 6,1 см.
Согласно другому аспекту изобретения предложено устройство для формирования акустического сигнала в ответ на входной сигнал управления. Устройство содержит множество цилиндрических пьезокерамических элементов, расположенных на общей окружности и образующих акустический передатчик, множество полимерных корпусов, каждый из которых связан, и в каждом из которых размещен один из множества цилиндрических пьезокерамических элементов, причем каждый из множества цилиндрических пьезокерамических элементов однородно поляризован в радиальном направлении. Каждый из множества цилиндрических пьезокерамических элементов имеет внутреннюю и внешнюю поверхности, каждая из которых покрыта серебром или другим проводящим слоем. Следовательно, проводящие слои содержат электроды, которые однородно радиально поляризуют цилиндрические пьезокерамические элементы. Соответственно, ни один из множества цилиндрических пьезокерамических элементов не должен быть предварительно напряжен и не должен быть обмотан с натягом высокопрочными нитями.
Согласно другому варианту воплощения изобретения, предложено акустическое передающее устройство, включающее воротник бура для сцепления с бурильной колонной, содержащий пазы, цилиндрический пьезокерамический элемент, закрытый корпусом, расположенный в пазах, флюид, содержащийся в корпусе, так что цилиндрический пьезокерамический элемент также содержит цилиндрический резонатор, причем длина цилиндрического пьезокерамического элемента и тип флюида выбраны так, что резонансная частота флюида ниже, чем частота резонанса цилиндрического пьезокерамического элемента.
Согласно другому аспекту изобретения, предложен способ каротажа во время бурения, заключающийся в том, что используют акустический передатчик и множество приемников на бурильной колонне, акустический передатчик, образующий монопольный, дипольный или квадрупольный источник от множества монопольных элементов, активируют акустический передатчик и получают и регистрируют данные формы волны. Способ может также включать следующие операции: увеличивают выходное давление от акустического передатчика путем использования акустического передатчика в качестве цилиндрического резонатора и прикладывают сигнал от акустического передатчика на частоте резонанса флюида в резонаторе. Способ может также включать использование волн с эффектом d31 от преобразователя. В некоторых способах использование акустического передатчика включает использование цилиндрического пьезокерамического элемента и однородной поляризации элемента в радиальном направлении. Поляризация может включать покрытие внутренней и внешней поверхности элемента проводником, чтобы создать два электрода, и приложение напряжения к двум электродам.
Согласно другому аспекту изобретения, предложен способ изготовления акустического передатчика, включающий следующие операции: используют цилиндрический пьезокерамический элемент, покрывают внутреннюю и внешнюю поверхности элемента проводящим слоем для формирования электродов, размещают цилиндрический пьезокерамический элемент в корпусе, заполняют корпус флюидом и калибруют цилиндрический пьезокерамический элемент, чтобы частота резонанса флюида в цилиндрическом пьезокерамическом элементе была ниже, чем частота резонанса пьезокерамического элемента непосредственно. Цилиндрический пьезокерамический элемент однородно поляризован электродами в радиальном направлении. Четыре цилиндрических пьезокерамических элемента размещают в четырех пазах на одинаковом расстоянии по окружности воротника бура и закрывают четыре цилиндрических пьезокерамических элемента четырьмя пластинами, имеющими окна.
Дополнительные преимущества и особенности изобретения раскрыты в нижеследующем описании.
Краткое описание чертежей
В дальнейшем изобретение поясняется описанием предпочтительных вариантов воплощения со ссылками на сопровождающие чертежи, на которых:
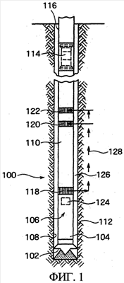
фиг.1 изображает схему каротажа во время бурения с акустическим преобразователем, согласно изобретению;
фиг.2A – сечение акустического передатчика, расположенного в воротнике бура, согласно изобретению;
фиг.2B – вид спереди экрана или пластины покрытия, показанной в сечении на фиг.2А, и размещение акустического передающего элемента, согласно изобретению;
фиг.3 – общий вид покрытого металлом пьезокерамического цилиндрического преобразователя, согласно изобретению;
фиг.4 – разрез пьезокерамического цилиндрического преобразователя на фиг.3, упакованного как акустический передающий элемент, согласно другому варианту воплощения настоящего изобретения.
Следует учесть, что изобретение не ограничивается специфическими вариантами. Изобретение должно охватить все модификации, эквиваленты и альтернативы, как определено в нижеследующей формуле изобретения.
Подробное описание предпочтительных вариантов воплощения изобретения
В настоящем изобретении рассматриваются способы и устройства для каротажа во время бурения (LWD). В известных LWD системах используются монопольные передатчики для возбуждения акустических волн и измерения скорости в породе или интервального времени. Однако монопольные акустические источники не могут измерять сдвиговые измерения скоростей сдвиговых волн для той части разреза, где скорость сдвиговых волн ниже, чем в скважинном флюиде. Принципы, описанные здесь, обеспечивают использование многополюсного акустического передатчика для измерения скоростей сдвиговых волн в породе, которые ниже, чем скорость в буровом флюиде. Для измерений в породах с низкими скоростями сдвиговых волн должны генерироваться дипольные, квадрупольные или более высокого порядка поля давления с достаточной интенсивностью и когерентностью, чтобы их можно было обнаружить, несмотря на высокий уровень шума, произведенного бурением. Однако в то время как некоторые из способов и устройств, описанных ниже, достаточно хорошо подходят для LWD сейсморазведки, в которой оба сейсмических или акустических источника и приемника размещены в буровой скважине, описанные принципы не ограничивают эти способы и устройства, может быть также использован кабельный каротаж, VSP (вертикальное сейсмическое профилирование), в котором один из двух источник или приемник находятся на поверхности, или другой способ каротажа.
Использованные в описании и формуле изобретения термины “буровая скважина” или “скважинный” относятся к подземной окружающей среде, особенно к стволу скважины. “Бурильная колонна” означает комбинацию буровых труб, нижней части бурильной колонны и любые другие инструменты для вращения бурового долота у основания ствола скважины. “Воротник бура” используется широко для обозначения толстой, окруженной трубчатой оболочкой компоненты бурильной колонны. “Однородный” или “однородно” означает обычно то же самое или совпадающий с другим или другими.
На фиг.1 представлен разрез бурильной колонны 100 согласно принципам настоящего изобретения. Бурильная колонна 100 содержит буровое долото 102, соединенное со скважинным концом 104 из колонны воротника бура 106, и осуществляет бурение буровой скважины 108 в земле. В специально разработанном воротнике бура 110 около бурового долота 102 расположено одно или более каротажных устройств, используемых для измерения различных характеристик пород 112, пересекаемых буровой скважиной 108. Сигналы, получаемые во время измерений, попадают в устройство 114 измерения при бурении (MWD), которое содержит поворотный клапан, или “сирену”, которая производит импульс давления в потоке бурового флюида внутри скважины 100. Импульсы давления передаются к поверхности через бурильные трубы 116. Поворотный клапан управляется в ответ на сигналы измерения и формирует закодированные импульсы давления в буровом флюиде, которые детектируются на поверхности, расшифровываются и отображаются и/или записываются. Преимущества раскрытой импульсной системы телеметрии бурового флюида типа одной из представленных понятны специалистам в этой области. Множество различных измерений, связанных с характеристиками пород 112, могут быть выполнены с помощью каротажных устройств, включая, но без ограничения, удельное сопротивление или проводимость, естественное гамма-излучение, плотность, также как и различные измерения параметров бурения, типа усилия и вращающего момента на буровом долоте 102 и направление буровой скважины 108.
Несмотря на то что может быть выполнено много различных измерений, настоящее изобретение касается способа акустического каротажа и устройства, в котором измеряется замедление формации путем измерения скорости акустических волн в породе 112. Соответственно, устройство облегчает измерение волн сжатия, сдвиговых, Стоунли или других волн. По существу измеренные скорости волны могут быть переданы в реальном времени при бурении. Согласно описываемому варианту воплощения, акустическая или звуковая регистрация обеспечивается многополюсным акустическим передатчиком 118 и множеством приемников. Как показано на фиг.1, множество приемников – это набор двух приемников 120, 122. Детали многополюсного акустического передатчика 118 показаны и описаны более подробно ниже со ссылкой на фиг.2A-4. Два приемника 120, 122 расположены на известном осевом расстоянии друг от друга. Вообще, акустические волны формируются многополюсным акустическим передатчиком 118 в виде электрических сигналов управления, сообщаемых передатчику 118 через один или более возбуждающих контуров передатчика 124. Волны, формируемые многополюсным акустическим передатчиком 118, распространяются в буровом флюиде в кольцевом слое 126 между воротником бура 110 и буровой скважиной 108 в толще пород 112. Направление распространения некоторых из акустических волн представлено множеством стрелок 128. Акустические волны достигают этих двух приемников 120, 122 в разное время из-за интервала между ними. Определенное интервальное время между обнаружением акустических волн двумя приемниками 120, 122 затем анализируется, чтобы определить скорость распространения волны (и следовательно, интервальное время пробега в породе) на продолжающемся двигаться основании, поскольку продолжается бурение скважины 108.
На фиг.2A представлено сечение многополюсного акустического передатчика 118, расположенного в воротнике бура 110. Многополюсный акустический передатчик 118 содержит множество монопольных акустических передающих элементов 130. Согласно изобретению, имеются четыре монопольных акустических передающих элемента 130, размещенных по окружности воротника бура 110 под приблизительно равными углами около девяносто градусов. Один из монопольных акустических передающих элементов 130 показан для лучшего понимания на схеме. Монопольный акустический передающий элемент 130 расположен в связанных пазах 132 в воротнике бура 110.
Воротник бура 110 может быть выполнен из нержавеющей стальной трубы, имеющей внутренний проход 134 для бурового флюида и толстые стенки 136. Внешний диаметр воротника бура 110 имеет размеры в диапазоне от 15,0 до 19,0 см, предпочтительно около 17,5 см. Внутренний диаметр воротника бура 110 может иметь размеры от 5,0 до 7,0 см, предпочтительно около 6,1 см. Эти четыре паза 132 делят по существу на такие же размеры. Глубина и ширина четырех пазов 132 может иметь от 3,0 до 5,0 см, предпочтительно около 4,06 см. Длина четырех пазов 132 может иметь от 25,00 до 35,00 см, предпочтительно около 30,48 см. Каждый из четырех пазов 132 имеет общий экран, который является стальной пластиной 138 (фиг.2B), имеющей достаточный размер, чтобы закрыть и защитить один из монопольных передающих акустических элементов 130 и существенно закрыть поток с внешнего диаметра воротника бура 110. Каждая стальная пластина 138 содержит одно или более отверстий 140, чтобы позволить импульсу давления, произведенному монопольными акустическими передающими элементами передатчика 130, легко проходить наружу. Согласно альтернативному варианту, имеется один экран, проходящий вокруг воротника бура 110, где по окружности расположены все монопольные акустические передающие элементы 130. Каждый из монопольных акустических передающих элементов 130 может быть обернут изолятором типа каучука для предотвращения повреждений, вызванных сокращениями, которые возникают при бурении окружающей среды. Расположение четырех монопольных акустических передающих элементов 130 главным образом с равными интервалами на воротнике бура 110, так же как комбинация размеров пазов 132 и монопольных акустических передающих элементов 130, максимизирует дипольное и/или квадрупольное выходное давление, когда поступают соответствующий сигнал или сигналы от возбуждающего контура(ов) передатчика 124. Однако, низкое потребление энергии может быть компромиссом с максимальным значением квадрупольного выходного давления. Указанное расположение, как показано, может обеспечить дипольный или квадрупольный источник волны от монопольных элементов, чтобы эффективно определить скорости в породе, когда скорость в ней ниже, чем во флюиде. При стандартном монопольном звуковом каротаже невозможно генерировать прямую или сдвиговую волну в низкоскоростной породе (Vf>Vs), так как преломление отсутствует. Однако дипольный или квадрупольный акустический источник могут преимущественно генерировать сдвиговую волну даже в низкоскоростной толще. Дипольный источник создает изгибную волну, которая “толкает” породу 112, производя поверхностную волну (называемую псевдорэлеевской волной) на стенке буровой скважины 108. Квадрупольный источник производит то, что известно как крутильная волна. В зависимости от сигнала возбуждающего контура(ов) 124 многополюсный акустический передатчик 118 может работать таким образом, чтобы создать монопольное, дипольное или квадрупольное поле давления.
Как упомянуто выше, многополюсный акустический передатчик 118 содержит множество монопольных передающих акустических элементов 130. На фиг.3-4 показано, что каждый из монопольных акустических передающих элементов 130 содержит цилиндрический преобразователь, который является PZT (свинцовый титанат циркония) пьезокерамическим цилиндром 142. PZT пьезокерамический цилиндр 142 предпочтительно содержит одну часть без соединения. Монолитный монтаж уменьшает любые потери, вызванные промежутками между смежными частями пьезоматериала, когда цилиндр выполнен из множества частей. Когда входной сигнал управления типа напряжения применен поперек PZT пьезокерамического цилиндра 142, его диаметр расширяется или сжимается в соответствии с эффектом d31. Импульс давления, формируемый эффектом d31, используется для измерения скорости пород в некоторых вариантах воплощения настоящего изобретения, вместо использования эффекта сокращения длины d33, типично используемого в каротаже ствола скважины.
PZT пьезокерамический цилиндр 142 имеет внутреннюю поверхность 144 и внешнюю поверхность 146. Внутренние и внешние поверхности 144, 146 содержат проводящие слои, изолированные друг от друга по ширине цилиндра 142, чтобы создать пару электродов. Проводящие слои можно добавить или нанести на внутренние и внешние поверхности 144, 146 адгезией, гальванопокрытием или другими способами. Проводящие слои являются серебряными. В других случаях проводящие слои включают никель. Каждая из внутренних и внешних поверхностей 144, 146 может также включать электрическую связь 148, 150, соответственно, с возбуждающим контуром передатчика 124 (фиг.1). Электроды могут использоваться, чтобы однородно поляризовать PZT пьезокерамический цилиндр 142 в радиальном направлении. В известных устройствах пытались поляризовать PZT пьезокерамические цилиндры радиально, обматывая цилиндр проводом, но такой способ поляризации не приводит к однородной поляризации, которая обеспечивается электродами настоящего изобретения. Известные PZT пьезокерамические цилиндры, используемые как акустические источники, обматывались выдерживающими высокие нагрузки волокнами вокруг внешней поверхности цилиндра, чтобы предотвратить разрушение, когда напряжение приходит к цилиндру на резонансной частоте. Такое напряженное состояние значительно уменьшает выходное давление предшествующих цилиндров и поэтому уменьшает эффективность. Согласно настоящему изобретению, частоты поступающих напряжений всегда ниже, чем резонансная частота PZT пьезокерамического цилиндра 142, что делает предварительное напряжение ненужным и обеспечивает сильный, эффективный выходной импульс давления. Согласно изобретению, PZT пьезокерамический цилиндр 142 имеет стенки толщиной от 2 до 8 мм, предпочтительно около 3 мм, и длину, которая может изменяться от 4 до 25 см.
Каждый PZT пьезокерамический цилиндр 142 (фиг.4) зажат между первыми и вторыми прокладками 152, 154. Первые и вторые прокладки 152, 154 выполнены из Radel®-R или других материалов. Первые и вторые прокладки 152, 154 имеют отверстия 155, чтобы избежать закрытия конца PZT пьезокерамического цилиндра 142. Первые и вторые прокладки 152, 154 зажаты первыми и вторыми головками 156, 158, соответственно. Первые и вторые головки предпочтительно содержат металл типа нержавеющей стали. Первые и вторые головки 156, 158 связаны друг с другом одной или более тягами 160, которые могут также быть сделаны из нержавеющей стали или других структурных материалов. Вторая головка 158 может иметь отверстие 162, ведущее на компенсатор давления, который (фиг.4) является компенсатором давления гидропневматического типа 164. Компенсатор давления гидропневматического типа 164 поддерживает или восстанавливает линейность между поступающим напряжением и выходным давлением, потому что без компенсатора возрастание напряжения, поступающего на PZT пьезокерамический цилиндр 142, часто приводит к изменению формы выходной волны давления и нарушает линейность.
Внутренняя поверхность 144 PZT пьезокерамического цилиндра 142 соединена с первым электрическим входом 166 электрическим соединением 148. Аналогично, внешняя поверхность 146 PZT пьезокерамического цилиндра 142 связана со вторым электрическим входом 168 электрического соединения 150. Каждый из элементов на фиг.4 размещен в корпусе 170, который удерживается в пазах 132 (фиг.2A) первым и вторым креплениями 172, 174 (фиг.2A).
Корпус 170 предпочтительно выполнен из полимера типа Radel®-R, хотя металлы или другие материалы могут также использоваться для корпуса. Radel®-R корпус 170 толщиной 1 мм обеспечивает лучшую передачу импульсов давления, произведенных PZT пьезокерамическим цилиндром 142 (фиг.4) по сравнению с металлическими корпусами. Корпус 170 и PZT пьезокерамический цилиндр 142 преимущественно заполнены флюидом типа кремниевого масла или другого флюида. Поэтому PZT пьезокерамический цилиндр 142 может также использоваться как трубчатый резонатор, чтобы далее увеличить выходное давление и/или уменьшить потребляемую мощность. Соответственно, чтобы использовать резонанс во флюиде, длина PZT пьезокерамического цилиндра 142 выбирается так, чтобы управлять резонансной частотой во флюиде. Например, флюид является кремниевым маслом, и PZT пьезокерамический цилиндр 142 имеет длину около 5 см, получающаяся резонансная частота во флюиде составляет 10 кГц. Точно также, использование того же флюида и увеличение длины PZT пьезокерамического цилиндра 142 до 10 см приводит к резонансной частоте во флюиде 5 кГц (без учета открытого конца). Частота резонанса PZT пьезокерамического цилиндра 142 существенно выше, чем частота резонанса во флюиде, что позволяет PZT пьезокерамическому цилиндру 142 работать очень эффективно без использования предварительного напряжения. Кроме того, резонанс в PZT пьезокерамическом цилиндре 142 предотвращен, потому что концы PZT пьезокерамического цилиндра 142 открыты.
Во время работы многополюсный акустический передатчик 118 и приемники 120, 122 установлены в соответствующих пазах 132 (фиг.2A) в воротнике бура 110. Различная электроника, включая контур возбуждения передатчика 124, расположена в камерах в стенах воротника бура 110. Приложение напряжения поперек PZT пьезокерамического цилиндра 142 активизирует многополюсный акустический передатчик 118. Приложение напряжения заставляет PZT пьезокерамические цилиндры 142 расшириться в соответствии с d31-эффектом и производить волну давления во флюиде, содержащемся в корпусе 170. Волна давления проходит через буровой флюид в затрубное пространство 126 в буровую скважину 108 и распространяется в породе 112. По меньшей мере часть волны распространяется вверх по стволу согласно направлению стрелок 128 и назад к буровой скважине 108, где возбуждает приемники 120, 122. Приемники формируют электрические выходные сигналы, основанные на выборе времени обнаружения формы волны, выходные сигналы телеметрически передаются через устройство 114, производящее измерение во время бурения. Скорость или замедление в породе рассчитывается по выходным сигналам, которые являются показателем пористости породы. Входной сигнал управления к PZT пьезокерамическим цилиндрам 142 может быть отрегулирован, чтобы произвести монопольное, дипольное или квадрупольное поля давления, позволяя проводить измерение в низкоскоростном разрезе. Например, монопольные поля давления могут быть сформированы путем приложения входных сигналов одинаковой полярности ко всем передающим элементам или к периферическим передающим элементам. Дипольные поля давления могут быть сформированы путем приложения входных сигналов противоположной полярности к противостоящим элементам. Квадрупольные поля давления могут быть сформированы путем приложения входных сигналов одной полярности к множеству противостоящих передающих элементов и прикладывания входных сигналов противоположной полярности ко второму множеству противостоящих передающих элементов.
Приведенное выше описание было представлено только для иллюстрации. Оно не исчерпывает или ограничивает изобретение любой точной формой раскрытия. Множество модификаций и разновидностей метода возможны в свете вышеупомянутого описания. Принципы, описанные здесь, могут использоваться, чтобы создать любое электрическое проходное устройство с электрическими связями, пересекающими внешнюю сторону, а не внутреннюю часть устройства.
Возможности изобретения определены в соответствии со следующей формулой изобретения.
Формула изобретения
1. Устройство для возбуждения акустических волн в формации, пересекаемой стволом буровой скважины, содержащее многополюсный акустический передатчик, содержащий по меньшей мере один монопольный акустический передающий элемент, размещенный в воротнике бура, указанный по меньшей мере один монопольный акустический передающий элемент, содержащий полый цилиндрический преобразователь.
2. Устройство по п.1, отличающееся тем, что указанный по меньшей мере один монопольный акустический передающий элемент содержит четыре монопольных акустических передающих элемента, расположенных по окружности воротника бура на приблизительно равном расстоянии, предназначенных для создания монопольного, дипольного или квадрупольного поля давления.
3. Устройство по п.2, отличающееся тем, что каждый из четырех монопольных акустических передающих элементов содержит цилиндрический преобразователь и корпус, окружающий преобразователь.
4. Устройство по п.3, отличающееся тем, что корпус и цилиндрический преобразователь заполнены флюидом.
5. Устройство по п.4, отличающееся тем, что корпус содержит полимерный материал.
6. Устройство по п.5, отличающееся тем, что корпус имеет толщину около 1 мм.
7. Устройство по п.4, отличающееся тем, что цилиндрический преобразователь выполнен в виде PZT пьезокерамического преобразователя.
8. Устройство по п.7, отличающееся тем, что PZT пьезокерамический преобразователь содержит трубчатый резонатор.
9. Устройство по п.8, отличающееся тем, что напряжение подается на PZT пьезокерамический преобразователь на частоте ниже, чем резонансная частота пьезокерамического преобразователя.
10. Устройство по п.8, отличающееся тем, что напряжение подается на PZT пьезокерамический преобразователь на резонансной частоте флюида в пьезокерамическом преобразователе.
11. Устройство по п.8, отличающееся тем, что цилиндрический преобразователь зажат прокладками, имеющими одно или более отверстий, чтобы избежать закрытия концов цилиндра и предотвратить резонанс в трубчатом резонаторе.
12. Устройство по п.11, отличающееся тем, что прокладки зажаты первой и второй головками, при этом первая и вторая головки связаны тягой.
13. Устройство по п.12, отличающееся тем, что в корпусе размещены прокладки, первая и вторая головки и тяга.
14. Устройство по п.7, отличающееся тем, что PZT пьезокерамический цилиндр является одним элементом и однородно поляризован в радиальном направлении приложенным на электроды напряжением поперек внутренних и внешних поверхностей цилиндра.
15. Устройство по п.7, отличающееся тем, что диаметр PZT пьезокерамического преобразователя расширяется или сокращается эффектом d31 при приложении напряжения.
16. Устройство по п.2, отличающееся тем, что каждый монопольный акустический передающий элемент содержит компенсатор давления гидропневматического типа, чтобы поддерживать или восстанавливать линейность между прикладываемым напряжением и выходным давлением.
17. Устройство по п.2, отличающееся тем, что четыре монопольных акустических передающих элемента размещены в соответствующих пазах в воротнике бура и закрыты экраном, содержащим отверстие, обеспечивающее проход импульсов давления, генерируемых каждым монопольным акустическим передающим элементом, наружу.
18. Устройство по п.17, отличающееся тем, что каждый из пазов содержит соответствующий экран, содержащий множество отверстий, чтобы импульсы давления, генерируемые каждым монопольным акустическим передатчиком, проходили наружу.
19. Устройство по п.17, отличающееся тем, что пазы имеют глубину от 3,0 до 5,0 см, ширину от 3,0 до 5,0 см и длину от 25 до 35 см.
20. Устройство по п.18, отличающееся тем, что каждый из четырех монопольных передающих элементов содержит PZT пьезокерамический цилиндр, имеющий длину от 5 до 10 см и толщину стенок в пределах от 3 до 6 мм.
21. Устройство по п.18, отличающееся тем, что воротник бура содержит трубу, имеющую внешний диаметр около 17,5 см и внутренний диаметр около 6,1 см.
22. Устройство для возбуждения акустического сигнала в ответ на входные сигналы управления, содержащее: множество полых цилиндрических пьезокерамических элементов, расположенных на общей окружности для формирования многополюсного акустического передатчика, множество полимерных корпусов, каждый из которых связан, и в котором размещен один из множества цилиндрических пьезокерамических элементов, при этом каждый из множества цилиндрических пьезокерамических элементов однородно поляризован в радиальном направлении.
23. Устройство по п.22, отличающееся тем, что каждый из множества цилиндрических пьезокерамических элементов содержит внутреннюю и внешнюю поверхности, при этом каждая из внутренних и внешних поверхностей включает проводящий слой, содержащий электроды.
24. Устройство по п.23, отличающееся тем, что электроды однородно поляризуют цилиндрические пьезокерамические элементы в радиальном направлении.
25. Устройство по п.23, отличающееся тем, что проводящие слои содержат серебро.
26. Устройство по п.23, отличающееся тем, что проводящие слои содержат никель.
27. Устройство по п.22, отличающееся тем, что ни один из множества цилиндрических пьезокерамических элементов предварительно не напряжен.
28. Устройство по п.27, отличающееся тем, что ни один из множества цилиндрических пьезокерамических элементов не обмотан натянутыми высокопрочными волокнами.
29. Устройство по п.22, отличающееся тем, что каждый из множества корпусов заполнен флюидом, при этом множество цилиндрических пьезокерамических элементов и корпусов содержат жидкостные резонансные приборы М-типа.
30. Устройство по п.29, отличающееся тем, что каждый из множества цилиндрических пьезокерамических элементов содержит первый и второй концы, являющиеся открытыми и находятся на расстоянии от соответствующего корпуса.
31. Устройство по п.29, отличающееся тем, что входной сигнал управления имеет частоту ниже, чем резонансная частота множества цилиндрических пьезокерамических элементов.
32. Устройство по п.31, отличающееся тем, что входной сигнал управления имеет частоту, равную резонансной частоте флюида, находящегося внутри множества цилиндрических пьезокерамических элементов.
33. Устройство по п.32, отличающееся тем, что резонансная частота флюида внутри множества цилиндрических пьезокерамических элементов управляется путем расположения (геометрией) множества цилиндрических пьезокерамических элементов, чтобы быть ниже резонансной частоты цилиндрических пьезокерамических элементов.
34. Устройство по п.22, отличающееся тем, что один или более из множества цилиндрических пьезокерамических элементов содержит компенсатор давления сильфонного типа.
35. Устройство по п.22, отличающееся тем, что множество полимерных корпусов выполнены из полифенилсульфоната.
36. Устройство по п.22, отличающееся тем, что множество цилиндрических пьезокерамических элементов и связанных с ними корпусов содержит четыре цилиндрических пьезокерамических элемента и корпуса, равномерно размещенные по окружности в соответствующих пазах воротника бура.
37. Устройство по п.36, отличающееся тем, что каждый из четырех цилиндрических пьезокерамических элементов содержит монопольный источник, при этом комбинация четырех цилиндрических пьезокерамических элементов содержит монопольный, дипольный или квадрупольный источник в зависимости от входных сигналов управления.
38. Акустическое передающее устройство, содержащее воротник бура для сцепления с бурильной колонной, причем воротник бура содержит пазы, полый цилиндрический пьезокерамический элемент, размещенный в корпусе, расположенном в пазу, флюид, содержащийся в корпусе, при этом цилиндрический пьезокерамический элемент содержит также трубчатый резонатор, а длина цилиндрического пьезокерамического элемента и флюид выбраны так, что частота резонанса флюида ниже, чем частота резонанса цилиндрического пьезокерамического элемента.
39. Устройство по п.38, отличающееся тем, что дополнительно содержит четыре паза в воротнике бура, расположенных на одинаковом расстоянии по окружности воротника бура, четыре цилиндрических пьезокерамических элемента, размещенные в корпусах, расположенных в четырех пазах.
40. Устройство по п.39, отличающееся тем, что каждый из четырех цилиндрических пьезокерамических элементов содержит монопольный источник, но при использовании в комбинации четыре цилиндрических пьезокерамических элемента содержат (образуют) монопольный, дипольный или квадрупольный передатчик.
41. Устройство по п.38, отличающееся тем, что цилиндрический пьезокерамический элемент однородно поляризован в радиальном направлении.
42. Устройство по п.38, отличающееся тем, что цилиндрический пьезокерамический элемент дополнительно содержит компенсатор давления гидропневматического типа, при этом корпус выполнен из полимерного материала.
43. Способ каротажа ствола скважины при бурении, заключающийся в том, что используют акустический передатчик, содержащий полый цилиндрический преобразователь и множество приемников на бурильной колонне, причем акустический передатчик предназначен для создания монопольного, дипольного или квадрупольного источника из множества монопольных элементов, активизируют акустический передатчик, получают и записывают данные формы волны.
44. Способ по п.43, отличающийся тем, что усиливают выходное давление от акустического передатчика путем использования акустического передатчика в качестве резонансной трубки и приложения сигнала акустического передатчика на частоте резонанса флюида в резонансной трубке.
45. Способ по п.43, отличающийся тем, что используют волны, генерируемые d31 эффектом от преобразователя, а не волны, генерируемые эффектом d33.
46. Способ по п.43, отличающийся тем, что при использовании акустического передатчика, дополнительно используют полый цилиндрический пьезокерамический элемент и однородно поляризуют элемент в радиальном направлении.
47. Способ по п.46, отличающийся тем, что для поляризации осуществляют покрытие внутренней и внешней поверхности элемента проводящим материалом для создания двух электродов, и прикладывают напряжение в поперечном направлении.
48. Способ изготовления акустического передатчика, заключающийся в том, что используют полый цилиндрический пьезокерамический элемент, покрывают внутреннюю и внешнюю поверхности элемента проводящим слоем, чтобы сформировать электроды, размещают цилиндрический пьезокерамический элемент в корпусе, заполняют корпус флюидом, осуществляют калибровку цилиндрического пьезокерамического элемента так, что бы частота резонанса флюида в цилиндрическом пьезокерамическом элементе была ниже, чем резонансная частота самого пьезокерамического элемента.
49. Способ по п.48, отличающийся тем, что цилиндрический пьезокерамический элемент однородно поляризован электродами в радиальном направлении.
50. Способ по п.48, отличающийся тем, что дополнительно используют четыре цилиндрических пьезокерамических элемента, вставляют четыре цилиндрических пьезокерамических элемента в четыре паза, расположенных на одинаковом расстоянии по окружности воротника бура, закрывают четыре цилиндрических пьезокерамических элемента четырьмя пластинами, имеющими окна.
51. Способ по п.48, отличающийся тем, что добавляют компенсатор давления сильфонного типа к цилиндрическому пьезокерамическому элементу.
РИСУНКИ
|
|