|
|
(21), (22) Заявка: 2007102549/28, 23.01.2007
(24) Дата начала отсчета срока действия патента:
23.01.2007
(43) Дата публикации заявки: 27.07.2008
(46) Опубликовано: 10.06.2009
(56) Список документов, цитированных в отчете о поиске:
SU 1753396 A1, 07.08.1992. RU 2231055 C1, 20.06.2004. RU 2280251 C1, 20.07.2006. CA 2291823 A1, 09.06.2000.
Адрес для переписки:
346428, Ростовская обл., г. Новочеркасск, ул. Просвещения, 132, ГОУ ВПО ЮРГТУ (НПИ), ОИС
|
(72) Автор(ы):
Сергеев Дмитрий Анатольевич (RU), Маринин Владимир Иванович (RU), Сергеев Дмитрий Дмитриевич (RU)
(73) Патентообладатель(и):
Государственное образовательное учреждение высшего профессионального образования “Южно-Российский государственный технический университет (Новочеркасский политехнический институт) (RU)
|
(54) УСТРОЙСТВО НЕПРЕРЫВНОГО КОНТРОЛЯ ПРОЦЕНТНОГО СОСТАВА ПРОПИТАННОЙ УГЛЕРОДНОЙ ЛЕНТЫ
(57) Реферат:
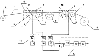
Предлагаемое устройство непрерывного контроля процентного состава пропитанной углеродной ленты предназначено для повышения качества оперативного контроля степени пропитки армирующей ленты в технологическом процессе изготовления композитных изделий методом «намотки». Техническим результатом изобретения является снижение погрешности измерения. Устройство непрерывного контроля процентного состава пропитанной углеродной ленты 1 состоит из формирователя ленты 2, направляющих валиков 3, металлической скобы 4, замкнутых магнитострикционных сердечников 5, первого приемного устройства 6, второго приемного устройства 7, пропиточного узла 8, оправки изделия 9, излучающих пьезоэлектрических преобразователей 10, приемных пьезоэлектрических преобразователей 11, источника высокочастотного напряжения 12, мультивибратора 13, генератора высокой частоты 14, усилителей высокой частоты 15, амплитудных детекторов 16, вычислительной схемы 17, вычитающего устройства 18, делительного устройства 19, регистрирующего устройства 20. 1 ил.
Предлагаемое изобретение относится к измерительной технике и может быть применено для непрерывного контроля компонентного состава пропитанной углеродной ленты в процессе изготовления оболочек методом намотки.
1. Известны диэлькометрические приборы [Приборы для неразрушающего контроля материалов и изделий. Справочник. Под редакцией В.В.Клюева. М., «Машиностроение», 1986 г.] для определения состава и структуры материала, содержащие генератор высокой частоты с выносным резонансным контуром, в который включен электроемкостный преобразователь, схему компенсации изменения резонансной частоты, состоящей из варикапа, туннельного диода и индикаторного устройства. Однако такие приборы обладают малой чувствительностью в случае высокой проводимости одного из компонентов материала (углеродный наполнитель). Известны устройства, измеряющие состав материала путем определения параметров ультразвуковой волны, проходящей через него. Технология формирования информационного сигнала и элементный состав таких устройств наиболее близки к предлагаемому (прототип).
2. Прототип [Б.А.Агрант, М.Н.Дубрович и др. Основы физики и техники ультразвука, М., «Высшая школа», 1987 г.] содержит импульсный генератор ультразвуковой частоты, излучающий и приемный пьезоэлектрические преобразователи, акустический тракт и вычислительную схему. Излученный акустический импульс, проходя через акустический тракт с контролируемым веществом, поступает на приемный пьезоэлектрический преобразователь. Временное запаздывание принятого импульса по отношению к излученному, пропорциональное скорости ультразвука в веществе, представляет собой информационный сигнал. В вычислительной схеме реализуется эмпирическая зависимость процентного состава материала от скорости ультразвука в нем.
Основной недостаток прототипа заключаются в существенной погрешности измерения процентного состава композиционного материала. Указанная погрешность определяется следующими факторами:
1. Наличие значительной методической составляющей погрешности. Действительно известно, что скорость ультразвука определяется несколькими физическими свойствами материала, разнохарактерно влияющих, что обуславливает существенную погрешность при градуировке прибора.
2. Большая инструментальная погрешность измерения скорости ультразвука в условиях технологического процесса, вызванная невозможностью обеспечения постоянного акустического контакта между движущимся материалом и пьезоэлектрическими преобразователями, неоднородностью структуры материала, что приводит к большим ошибкам измерения величины временного запаздывания. Так для измерения скорости ультразвука (с) используется зависимость:
, где
L – расстояние между излучателем и приемником («база»);
– величина временного запаздывания.
Ошибка измерения скорости определяется выражением

При измерении величины  импульсным методом в условиях технологического процесса пропитки материала возникает значительная погрешность, вызванная неопределенностью временного положения принятого импульса и его формы. Кроме того, неопределенным является величина скорости ультразвука в пропитанном слоистом материале.
Предлагаемое изобретение направлено на повышение точности непрерывного контроля компонентного состава композитного материала в технологическом процессе изготовления изделий методом намотки.
Для решения указанной технической задачи в устройство непрерывного контроля процентного состава пропитанной углеродной ленты, содержащего приемное устройство, состоящее из первого и второго направляющих валиков, со встроенными в них соответственно излучающим и приемным пьезопреобразователями, акустического тракта в виде движущегося по поверхности валиков пропитанной ленты, источник высокочастотного напряжения, включающего мультивибратор и генератор высокой частоты, и вычислительную схему, внесены согласно предлагаемому изобретению существенные изменения. В состав устройства введено второе приемное устройство, при этом между первым и вторым валиками каждого приемного устройства размещены замкнутые магнитострикционные сердечники, на вводящих и выводящих торцах которых размещены соответственно излучающие и приемные пьезоэлектрические преобразователи, образующие соответственно акустические тракты первого и второго приемных устройств. Направляющие валики выполнены в виде втулок из проводящего материала, а их оси установлены на металлической скобе, а намоточная лента проходит внутри магнитострикционных сердечников приемных устройств, причем первое приемное устройство размещено в намоточном тракте до пропиточного узла, а второе – после него, вычислительная схема включает вычитающее устройство, делительное устройство и регистрирующее устройство. Излучающие преобразователи обоих трактов подключены к выходу источника высокочастотного напряжения, содержащего мультивибратор, последовательно соединенный с входом генератора высокочастотных колебаний, выходом соединенного с выходом источника, а выходы приемных преобразователей подключены через последовательно соединенные усилители высокой частоты и амплитудные детекторы соответственно к первому и второму входам вычислительной схемы, подключенным соответственно к входам вычитающего устройства, выходом соединенного со вторым входом блока деления, первым входом подключенным к первому входу вычислительной схемы, а выходом подключенным к входу регистрирующего устройства, выходом соединенного с выходом вычислительной схемы.
Отличительными признаками предлагаемого устройства непрерывного контроля процентного состава пропитанной углеродной ленты в намоточном технологическом процессе являются:
– уменьшение погрешности измерения процентного состава пропитанной ленты за счет устранения акустического контакта с пропитанной лентой, являющегося источником существенной погрешности, и использование в качестве информационного признака интенсивность ультразвуковой волны в магнитострикционном сердечнике, охватывающем углеродную ленту, существенное упрощение измерительного алгоритма и его аппаратной реализации.
Технико-экономическая эффективность предлагаемого изобретения подтверждается следующими соображениями: 1. Обеспечивается достоверность непрерывного контроля связующего в пропитанной ленте непосредственно в технологическом процессе, что создает условие получения изделия с требуемыми свойствами. 2. Упрощается аппаратная реализация контроля содержания связующего в пропитанной ленте.
На чертеже представлена структурная схема устройства непрерывного контроля процентного состава пропитанной углеродной ленты.
Устройство непрерывного контроля процентного состава пропитанной углеродной ленты содержит:
1 – углеродную ленту;
2 – формирователь ленты;
3 – направляющие валики;
4 – металлическую скобу;
5 – замкнутый магнитострикционный сердечник;
6 – первое приемное устройство;
7 – второе приемное устройство;
8 – пропиточный узел;
9 – оправку изделия;
10 – излучающий пьезоэлектрический преобразователь;
11 – приемный пьезоэлектрический преобразователь;
12 – источник высокочастотного напряжения;
13 – мультивибратор;
14 – генератор высокой частоты;
15 – усилитель высокой частоты;
16 – амплитудный детектор
17 – вычислительную схему;
18 – вычитающее устройство;
19 – делительное устройство;
20 – регистрирующее устройство.
Устройство непрерывного контроля процентного состава пропитанной углеродной ленты состоит из источника высокочастотного напряжения 12, включающего мультивибратор 13, выход которого соединен с входом генератора высокой частоты 14, выходом соединенного с выходом источника 12, подключенного к входам излучающих преобразователей 10, размещенных на вводящих торцах замкнутых магнитострикционных сердечниках 5, на выводящих торцах которых размещены приемные пьезоэлектрические преобразователи 11, составляющие в совокупности соответственно акустические тракты приемных устройств 6 и 7. При этом выходы приемных пьезоэлектрических преобразователей 11 акустических трактов приемных устройств 6 и 7 соответственно через усилители высокой частоты 15 и амплитудные детекторы 16 соединены с первым и вторым входами вычислительной схемы 17, соответственно соединенными с первым входом вычитающего устройства 18 и вторыми входами вычитающего устройства 18 и блока деления 19, при этом выход вычитающего устройства 18 соединен с первым входом блока деления 19, выходом соединенного с входом регистрирующего устройства 20, выходом подключенным к выходу вычислительной схемы 17.
Работа устройства непрерывного контроля процентного состава пропитанной углеродной ленты в намоточном технологическом процессе происходит следующим образом: углеродная лента 1 с выхода формирователя ленты 2, проходя по направляющим валикам 3, закрепленным на металлической скобе 4, сквозь замкнутый магнитострикционный сердечник 5 первого приемного устройства 6, через пропиточный узел 8 и замкнутый магнитострикционный сердечник 5 второго приемного устройства 7, наматывается на оправку изделия 9. Формирование информационного сигнала, пропорционального содержанию связующего в пропитанной ленте, поясняется следующими рассуждениями: ультразвуковые колебания, вводимые в замкнутый магнитострикционный сердечник 5 излучающим пьезоэлектрическим преобразователем 10 первого приемного устройства 6, вызывают (в силу обратного магнитострикционного эффекта) изменение магнитного потока Ф в магнитострикционном сердечнике 5. Так как углеродная лента обладает высокой проводимостью, то на ее участке между направляющими валиками 3 первого приемного устройства 6 образуется э.д.с. Под ее воздействием в цепи участок ленты 1 – направляющие валики 3 – металлическая скоба 4 возникает ток высокой частоты. При этом в эквивалентной электрической схеме лента представляется одновитковой обмоткой, поэтому сила тока в цепи будет незначительна и его размагничивающий эффект для магнитного потока в магнитострикционном сердечнике 5 мал. Механическая сила F на входе приемного пьезоэлектрического преобразователя 11 первого приемного устройства 6 определяется выражением [Б.А.Агрант, М.Н.Дубрович и др. Основы физики и техники ультразвука, М., «Высшая школа», 1987 г.]

где s, – параметры магнитострикционного материала;
– относительное удлинение, в этом случае практически не зависит от величины размагничивающего тока.
В пропитанной углеродной ленте элементарные жгуты, из которых состоит намоточная лента, обволакиваются слоями связующего, что изолирует их друг от друга. Поэтому в эквивалентной электрической схеме участок пропитанной ленты, расположенный между направляющими валиками второго приемного устройства 7, представляется многовитковой обмоткой, число витков которой пропорционально содержанию связующего в пропитанной ленте. Следовательно, сила тока в цепи участок ленты – направляющие валики 3 – металлическая скоба 4 второго приемного устройства 7 будет существенно больше силы тока в аналогичной цепи первого приемного устройства 6. Поэтому размагничивающий эффект тока возрастает, что приведет к изменению силы F, рассчитываемой по выражению (1) для входа пьезоэлектрического преобразователя 11 второго приемного устройства 7. Так как мерой механической силы F является напряжение на выходе пьезоэлектрического преобразователя, то для формирования информационного сигнала о содержании связующего в пропитанной ленте напряжения с выходов пьезоэлектрических преобразователей 11 первого 6 и второго 7 приемных устройств усиливаются соответственно усилителями высокой частоты 15, детектируются амплитудными детекторами 16 и поступают на входы вычитающего устройства 18 вычислительной схемы 17, на выходе которого формируется напряжение, функционально связанное с количеством связующего в пропитанной ленте. Для формирования процентного состава пропитанной ленты выходное напряжение вычитающего устройства 18 подается на второй вход делительного устройства 19, на первый вход которого поступает напряжение с первого входа вычислительной схемы 17. Выходное напряжение делительного устройства 19 поступает на вход регистрирующего устройства 20.
Источники информации
1. Приборы для неразрушающего контроля материалов и изделий. Справочник. Под редакцией В.В.Клюева. М., «Машиностроение», 1986 г.
2. Б.А.Агрант, М.Н.Дубрович и др. Основы физики и техники ультразвука, М., «Высшая школа», 1987 г.
Формула изобретения
Устройство непрерывного контроля процентного состава пропитанной углеродной ленты, содержащее приемное устройство, состоящее из первого и второго направляющих валиков, со встроенными в них соответственно излучающим и приемным пьезоэлектрическими преобразователями, акустический тракт, источник высокочастотного напряжения и вычислительную схему, отличающееся тем, что в состав устройства введено второе приемное устройство, при этом между первым и вторым направляющими валиками каждого приемного устройства размещены акустические тракты, содержащие замкнутые магнитострикционные сердечники, на торцах которых размещены излучающие и приемные пьезоэлектрические преобразователи, причем входы излучающих пьезоэлектрических преобразователей подключены к выходу источника высокочастотного напряжения, а выход приемного пьезоэлектрического преобразователя первого приемного устройства подключен через цепочку последовательно соединенных усилителя высокой частоты и амплитудного детектора к первому входу вычислительной схемы, ко второму входу которого подключен через аналогичную цепочку выход приемного пьезоэлектрического преобразователя второго приемного устройства, при этом входы вычислительной схемы через последовательно соединенные вычитающее и делительное устройства подключены к входу регистрирующего устройства, выходом подключенного к выходу вычислительной схемы, а направляющие валики выполнены в виде втулок из проводящего материала, их оси установлены на металлической скобе, а намоточная лента проходит внутри замкнутых магнитострикционных сердечников акустических трактов приемных устройств, причем первое приемное устройство размещено в намоточном тракте до пропиточного узла, а второе – после него.
РИСУНКИ
MM4A – Досрочное прекращение действия патента СССР или патента Российской Федерации на изобретение из-за неуплаты в установленный срок пошлины за поддержание патента в силе
Дата прекращения действия патента: 24.01.2009
Извещение опубликовано: 20.08.2010 БИ: 23/2010
|
|