|
|
(21), (22) Заявка: 2006133937/28, 21.02.2005
(24) Дата начала отсчета срока действия патента:
21.02.2005
(30) Конвенционный приоритет:
23.02.2004 FR 0450331
(43) Дата публикации заявки: 27.03.2008
(46) Опубликовано: 10.06.2009
(56) Список документов, цитированных в отчете о поиске:
JP 10288588 А, 27.10.1998. JP 8307909 А, 22.11.1996. SU 1810801 A1, 23.04.1993. JP 11295228 A, 29.11.1999. US 4227806 A, 14.10.1980.
(85) Дата перевода заявки PCT на национальную фазу:
25.09.2006
(86) Заявка PCT:
FR 2005/050107 20050221
(87) Публикация PCT:
WO 2005/085814 20050915
Адрес для переписки:
103735, Москва, ул. Ильинка, 5/2, ООО “Союзпатент”, пат.пов. И.М.Захаровой
|
(72) Автор(ы):
ШАНЬО Кристоф (FR)
(73) Патентообладатель(и):
КОММИССАРИАТ А Л`ЭНЕРЖИ АТОМИК (FR), КОМПАНИ ЖЕНЕРАЛЬ ДЕ МАТЬЕР НЮКЛЕЭР (FR)
|
(54) СПОСОБ И УСТРОЙСТВО КОНТРОЛЯ ПРИ ПОМОЩИ ТЕНЕВОЙ ДЕФЕКТОСКОПИИ
(57) Реферат:
Устройство контроля содержит узел кронштейна, излучатель света, приемник света, излучаемого источником. Также дополнительно содержит штангу с двумя противоположными концами, на которых устанавливают источник и приемник, и двойной регулируемый шарнир, при помощи которого штангу устанавливают на кронштейне. При этом двойной шарнир содержит две оси вращения (у, z), перпендикулярные друг к другу и к главной траектории (х) света между излучателем и приемником. Штанга выполнена изогнутой между концами. Излучатель и приемник оборудованы устройствами угловой передачи для света и расположены параллельно друг другу и перпендикулярно к главной траектории света. Способ контроля участка, осуществляемый при помощи устройства, включает установку устройства таким образом, чтобы главная траектория (х) света была касательной по отношению к контролируемому участку, и подгонку штанги в этом направлении путем регулировок двойного шарнира. Технический результат – увеличение поля зрения за счет реализации панорамного вращения визирной оси, увеличение разрешения и дальности работы устройства. 2 н. и 12 з.п. ф-лы, 5 ил.
Настоящее изобретение относится к области метрологического контроля, в частности к способу и устройству теневой дефектоскопии, которые можно применять для проверки соединений деталей, например, стыковых соединений труб. Возможны также и любые другие применения.
Осуществляемый контроль может предшествовать механической обработке для проверки положения наблюдаемых деталей, или его можно производить во время обработки для проверки нормального положения инструмента и качества работы, например, по виду сварочного шва.
Известный метод метрологического контроля поверхности без материального контакта с ней состоит в облучении плоским лазерным пучком поверхности и в определении положения линии пересечения по линии на изображении, получаемом при помощи камеры. Тем не менее, этот довольно распространенный способ характеризуется некоторыми ограничениями, в частности, при сварочных процессах, где сварочная ванна излучает интенсивный свет, который трудно отличить от света лазера. Трудности возникают также при метрологии поверхностей полостей из-за отражений между стенками и колебаний плотности отраженных лучей.
Другой метод предполагает отказ от автономного освещения контролируемого участка и использует свет, излучаемый сварочной ванной, для считывания изображения участка. Разумеется, что этот способ применяют только для сварочных процессов. Качество результатов зависит от природы деталей и от параметров процесса, которые должны оставаться относительно постоянными. Выбор условий наблюдения часто является затрудненным и даже невозможным для получения хороших результатов. Недостатком этих двух известных способов является интенсивный свет, излучаемый сварочной ванной, и особенно плазмой (или пламенем), образующейся во время процесса, или инструментами, нагреваемыми до высокой температуры источником тепла: например, концом электрода в сварочном процессе TIG (дуговая сварка вольфрамовым электродом в среде инертного газа), концом сварочной проволоки или сварочного прутка в процессах MIG (дуговая сварка металлическим электродом в среде инертного газа), MAG (дуговая сварка металлическим электродом в среде активного газа) или при сварке покрытым электродом, а также керамическими наконечниками сварочных горелок, нагреваемыми до красного цвета, предназначенными для подачи защитного газа.
Настоящее изобретение относится к другому методу, называемому теневой дефектоскопией, в котором происходит автономное освещение контролируемого участка, и рельеф наблюдаемого участка считывают по теням от автономного света на изображении, регистрируемом камерой. Свет распространяется в направлении, по существу касательном к контролируемой поверхности. Этот метод можно применять для наблюдения за непрозрачными объектами, окруженными очень ярким источником света, таким как плазма дугового разряда, ослепляющая датчики и не позволяющая производить непосредственное наблюдение. В случае сварочных процессов, в частности, при добавлении присадочных материалов в сварочный шов или при резке этот способ позволяет определять формы и положения деталей при их соединении, положение инструмента, вид сварочного шва и, в частности, количество внесенного материала, качество смачивания, равномерность и характеристики нанесения материала (боковое положение, угол провара, размер и частота капель и т.д.). Сразу же по выявлению дефектов можно вносить корректировку в процесс.
Основы теневой дефектоскопии описаны в статье Альманда, опубликованной в «Welding Journal» в январе 1985 г. под названием «A method of filming metal transfert un welding arcs».
Задачей настоящего изобретения является создание устройства для теневой дефектоскопии с использованием лазера или другого источника света, такого как светоизлучающий диод, причем это устройство может быть использовано в конкретных условиях соединения и, в частности, для считывания ярко выраженных полых рельефов в условиях сварки, например, на скошенных кромках.
В целом устройство контроля содержит кронштейн, источник света, приемник света, излучаемого источником, и отличается тем, что дополнительно содержит штангу с двумя противоположными концами, на которых устанавливают источник света и приемник света, штангу устанавливают на кронштейне с помощью двойного регулируемого шарнирного соединения, при этом шарнирное соединение содержит две оси вращения, по существу перпендикулярных друг к другу и к главной траектории света между источником и приемником. В дальнейшем станет очевидно, что такая конструкция позволяет удобно осуществлять контроль за рельефными поверхностями.
На кронштейне может быть установлен держатель инструмента, производящего работу, за которой осуществляют контроль при помощи устройства. В этом случае инструмент следует за контрольным устройством, что совершенно необходимо в целом ряде процессов.
Штанга может быть изогнутой между своими концами для обеспечения лучшего обзора наблюдаемого участка, а источник света и приемник света могут быть оборудованы устройствами угловой передачи для света, расположенными параллельно друг другу и перпендикулярно к главной траектории света, что позволяет сократить габариты устройства. Другое усовершенствование устройства состоит в том, что, поскольку свет является монохроматическим, приемник может содержать фильтр, прозрачный для света и непрозрачный для других длин световых волн, собирательную линзу и стеноп-камеру, установленную в фокусе света, создаваемом линзой. Образуются одновременно полосовой фильтр и пространственный фильтр, предназначенные для устранения влияния окружающего света, например, излучаемого сварочной ванной.
Другим объектом настоящего изобретения является способ контроля за участком, осуществляемый при помощи описанного выше устройства; он состоит в размещении устройства таким образом, чтобы главная траектория света была касательной по отношению к контролируемой зоне, и в подгонке штанги по направлению при помощи регулировок двойного шарнирного соединения. Действительно, на считывании рельефов сказывается плохая ориентация устройства теневой дефектоскопии; изобретение позволяет легко корректировать эту ориентацию по простым критериям, примеры которые будут приведены ниже.
Другой важный вариант применения касается круговых соединений, в частности, рельефных соединений, выровненных в одну линию труб, при этом трубы направляют параллельно первой из осей вращения; часто трубы вращают перед устройством и производят колебательное вращение штанги, по меньшей мере, вокруг первой из осей вращения для лучшего отслеживания дна рельефа. Однако устройство может тоже вращаться вокруг неподвижных труб.
Далее следует описание со ссылками на прилагаемые чертежи, на которых:
фиг.1 – общий вид устройства;
фиг.2 – детализированный вид оптической системы;
фиг.3 – вид варианта выполнения;
фиг.4 и 5 – варианты применения для измерений при помощи устройства.
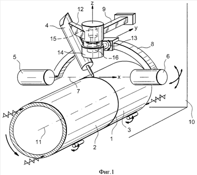
Показанное на фиг.1 устройство предназначено для контроля кругового соединения 1 двух состыкованных труб 2 и 3. Соединение 1 получается при помощи сварки инструментом 4, выполняющим какой-либо сварочный процесс. Устройство контроля, о котором в данном случае идет речь, содержит излучатель 5 света и приемник 6 этого же света, установленные в линию вдоль главной траектории 7 света, по существу касательной по отношению к трубам 2 и 3 и освещающей область соединения 1, в которой работает инструмент 4, и закрепленные на концах изогнутой штанги 8, проходящей над трубами 2 и 3. Штанга 8 установлена на механизме кронштейна 9, закрепленном на сварочной установке 10, детально не показанной на чертеже и содержащей также средства, тоже не показанные на чертеже, для удержания состыкованных труб 2 и 3, позволяющие производить их вращение вокруг оси 11. Инструмент 4 соединен с механизмом кронштейна 9 при помощи жесткого соединительного кронштейна 12, а штанга 8 соединена с механизмом кронштейна 9 при помощи двойного шарнирного соединения, состоящего из первого шарнира 13 с осью у, параллельной оси 11 труб 2 и 3, и второго шарнира 14, ось z которого направлена в сторону стыкового соединения 1. Обе эти шарнирные оси перпендикулярны или практически перпендикулярны к направлению х главной траектории 7 света. Таким образом, вращение вокруг первого шарнира 13 изменяет угол наклона главной траектории 7 относительно соединения 1, а вращение вокруг второго шарнира 14 изменяет угол главной траектории 7 с плоскостью соединения 1. Движения шарниров 13 и 14 управляются двигателями 15 и 16, находящимися внутри них и предназначенными также для их остановки в требуемых положениях. Управление может осуществляться оператором или быть автоматическим, например, если производится сканирование.
Теперь переходим к фиг.2 для более полного описания системы излучателя и приемника света. Свет излучается лазером 17 и вводится в оптическое волокно 19 при помощи волоконного соединителя 18. Конец волокна 19, противоположный лазеру 17, закреплен на конце штанги 8, тогда как остальная часть волокна 19 и лазер 17 могут быть неподвижными. Свет выходит из оптического волокна 19 в виде слегка расходящегося пучка и направляется по главной траектории 7 после прохождения через пару последовательных передающих зеркал 20 и 21, через рассеивающую линзу 22, расширяющую пучок и делающую его параллельным, и через защитное стекло 23. После освещения участка соединения 1 и конца инструмента 4 свет достигает второго защитного стекла 24, затем проходит через собирательную линзу 25, через вторую пару отражающих зеркал 26 и 27, через стеноп-камеру 28, помещенную в фокус пучка, суженного линзой 25, через другую линзу 29, находящуюся за фокусом и снова делающую пучок параллельным, через интерференционный фильтр или полосовой фильтр 30 и через датчик 31, такой как камера наблюдения. Последние упомянутые средства, начиная с второго защитного стекла 24, входят в состав приемника 6, тогда как первые средства входят в состав излучателя 5. Таким образом, как было видно по излучателю 5, некоторые средства приемника 6 могут быть установлены неподвижно с использованием оптоволоконного соединения. Использование отражающих зеркал 20, 21 и 26, 27 не является обязательным, но оно позволяет не выравнивать излучатель 5 и приемник 6 в линию, что увеличивает габаритные размеры по длине штанги 8, а установить их около линии труб 2 и 3, то есть либо параллельно оси 11, как показано на фиг.2, либо вертикально, как показано на фиг.3.
Одним из свойств этой оптической системы является способность расширять световой пучок, излучаемый лазером 17, до относительно большого сечения на главной траектории 7, чтобы он освещал всю контролируемую зону, а затем сужать его до фокуса стеноп-камеры 28, которая выполняет функцию пространственного фильтра, задерживающего большую часть окружающего света, который становится, таким образом, невидимым и не мешает наблюдению за тенями, образованными светом лазера. Интерференционный фильтр или полосовой фильтр 30 позволяет пропускать для наблюдения только световые лучи с длиной волны, испускаемой лазером 17, и также задерживать часть окружающего света. Таким образом, благодаря наличию этих фильтров получают необходимое изображение контролируемого участка даже в присутствии интенсивного окружающего света, излучаемого сварочной ванной или плазмой, или инструментами, нагреваемыми до высокой температуры источниками тепла, используемыми для сварки.
Далее следует описание способа контроля.
На фиг.4 показан профиль соединения, описанного для данного варианта применения, состоящий из горизонтальных образующих 32 и 33 труб 2 и 3, из горизонтальной образующей 34 соединения 1 и из наклонных образующих 35 и 36 скосов конической формы. Измеряемыми параметрами являются вертикальное расстояние между горизонтальными образующими 32, 33 и 34 или горизонтальное расстояние между образующими 35 и 36 в зависимости от высоты, то есть глубина или ширина соединения 1. Исследование профиля в значительной степени зависит от направления контрольного устройства и особенно от оптической системы. Так, пересечения конических скосов с плоскостями, параллельными оси труб, являются гиперболами 39. Как показано на схеме фиг.4, расстояние между скосами будет восприниматься с разной шириной L в зависимости от направления лучей наблюдения, при этом расстояние L0 (соответствующее реальному расстоянию, которое необходимо измерить) будет представляться самым большим при наблюдении перпендикулярно к оси конусов. Поэтому рекомендуется, по крайней мере, периодически производить колебательные движения системы вокруг второго шарнира 14 для регулировки и корректировки направления визирования.
Очевидно, что определение глубины соединения 1 зависит от наклона направления визирования. В случае работы по круговой линии, такой как соединение 1, специально рекомендуется регулярно производить колебательные движения оптической системы вокруг первого шарнира 13. Это особенно необходимо в случае сварного шва, образующегося на определенном расстоянии от первоначальной поверхности соединения 1, как показано на фиг.5, где верхняя поверхность сварного шва обозначена позицией 37. Удержание главной траектории 7 света под постоянным наклоном позволит измерить только кромку 38 соединения 1, нависающую над сварочной ванной. Периодические изменения наклона, дающие новую главную траекторию 7′, позволяют наблюдать не первоначальное соединение 1, а сам сварочный шов 37, и получить, таким образом, более точные сведения о состоянии сварного соединения.
Лазер можно заменить другим источником света (в частности, типа светоизлучающего диода LED). Преимуществом лазера является то, что его световая энергия концентрируется в ограниченной полосе спектра, что позволяет использовать узкий полосовой фильтр, пропускающий свет лазера и подавляющий паразитное освещение, покрывающее менее широкий спектр. В этом случае достаточно мощности порядка нескольких мВт. Кроме того, длину волны излучения выбирают таким образом, чтобы плазма была для нее прозрачной. С источником, отличающимся более широким спектром излучения, возникает необходимость в большей световой мощности для получения такого же уровня контраста. Однако меньшая мощность доставляет меньше неудобства или снижает опасность для глаз постороннего наблюдателя.
Формула изобретения
1. Устройство контроля, содержащее узел (9) кронштейна, излучатель (5) света, приемник (6) света, излучаемого источником, отличающееся тем, что дополнительно содержит штангу (8) с двумя противоположными концами, на которых устанавливают источник (5) и приемник (6), и двойной регулируемый шарнир (13, 14), при помощи которого штангу устанавливают на кронштейне, при этом двойной шарнир содержит две оси вращения (у, z), перпендикулярные друг к другу и к главной траектории (х) света между излучателем и приемником.
2. Устройство по п.1, отличающееся тем, что содержит кронштейн (12) инструмента (4), осуществляющего работу, контролируемую устройством, на узле (9) кронштейна.
3. Устройство по одному из пп.1 или 2, отличающееся тем, что штанга выполнена изогнутой между концами.
4. Устройство по любому из пп.1 или 2, отличающееся тем, что излучатель и приемник оборудованы устройствами (20, 21, 26, 27) угловой передачи для света и расположены параллельно друг другу и перпендикулярно к главной траектории (7) света.
5. Устройство по п.3, отличающееся тем, что излучатель и приемник оборудованы устройствами (20, 21, 26, 27) угловой передачи для света и расположены параллельно друг другу и перпендикулярно к главной траектории (7) света.
6. Устройство по любому из пп.1 и 2, 5, отличающееся тем, что свет является монохроматическим и приемник содержит фильтр (30), прозрачный для света и непрозрачный для других длин световых волн, собирательную линзу (25) и стеноп-камеру (28), установленную в фокусе света, созданном линзой.
7. Устройство по п.3, отличающееся тем, что свет является монохроматическим и приемник содержит фильтр (30), прозрачный для света и непрозрачный для других длин световых волн, собирательную линзу (25) и стеноп-камеру (28), установленную в фокусе света, созданном линзой.
8. Устройство по п.4, отличающееся тем, что свет является монохроматическим и приемник содержит фильтр (30), прозрачный для света и непрозрачный для других длин световых волн, собирательную линзу (25) и стеноп-камеру (28), установленную в фокусе света, созданном линзой.
9. Устройство по любому из пп.1 и 2, 5, отличающееся тем, что излучатель света является светоизлучающим диодом.
10. Устройство по п.3, отличающееся тем, что излучатель света является светоизлучающим диодом.
11. Устройство по п.4, отличающееся тем, что излучатель света является светоизлучающим диодом.
12. Способ контроля участка, осуществляемый при помощи устройства согласно пп.1-6, отличающийся тем, что включает установку устройства таким образом, чтобы главная траектория (х) света была касательной по отношению к контролируемому участку, и подгонку штанги в этом направлении путем регулировок двойного шарнира.
13. Способ контроля по п.12, отличающийся тем, что его применяют для кругового соединения (1), в частности рельефного соединения выровненных в линию труб (2, 3), при этом трубы направлены параллельно первой (у) из осей вращения.
14. Способ контроля по п.13, отличающийся тем, что трубы вращают и периодически производят колебательное вращение штанги, по меньшей мере, вокруг первой из осей вращения.
РИСУНКИ
|
|