|
|
(21), (22) Заявка: 2005130156/28, 27.02.2004
(24) Дата начала отсчета срока действия патента:
27.02.2004
(30) Конвенционный приоритет:
28.02.2003 NL 1022810
(43) Дата публикации заявки: 27.02.2006
(46) Опубликовано: 10.06.2009
(56) Список документов, цитированных в отчете о поиске:
WO 97/14956 A1, 24.04.1997. EP 0418005 A1, 20.03.1991. EP 030175 A2, 15.02.1989. RU 2142860 C1, 20.12.1999.
(85) Дата перевода заявки PCT на национальную фазу:
28.09.2005
(86) Заявка PCT:
NL 2004/000150 20040227
(87) Публикация PCT:
WO 2004/088295 20041014
Адрес для переписки:
103735, Москва, ул. Ильинка, 5/2, ООО “Союзпатент”, пат.пов. Л.С.Кишкиной
|
(72) Автор(ы):
АККЕРМАН Йенсен Петер (NL), ЛАНДМАН Бернардус Корнелис Йоханнес (NL)
(73) Патентообладатель(и):
ХЕЙНЕКЕН ТЕКНИКАЛ СЕРВИСЕС Б.В. (NL)
|
(54) СПОСОБ И СИСТЕМА КОНТРОЛЯ УПАКОВКИ
(57) Реферат:
Изобретение относится к контролю упаковки для жидкого продукта, такого как напитки. Изобретение включает этапы: запуска упаковки в режим вращения, облучения упаковки во время вращения излучением света на заданной длине волны, проведения, по меньшей мере, одной серии из, по меньшей мере, двух последовательных записей, по меньшей мере, части содержимого упаковки во время вращения при помощи устройства для записи изображения, пригодного для записи на заданной длине волны. Технический результат – повышение надежности контроля и упрощение ускоренного контроля упаковки. 2 н. и 7 з.п. ф-лы, 13 ил.
Данное изобретение относится к способам и системам для контроля упаковок, таких как бутылок, содержащих напитки. Появление, например, стеклянных осколков в пиве может привести к убыткам компании за счет отказа от порций, возврата, и ущербу репутации компании, так как обнаружение стеклянных осколков окажется предметом негативного обсуждения в прессе.
Из заявки на международной патент PCT/NL 96/00049 известны способ и устройство для обнаружения чрезвычайно малых стеклянных осколков в бутылках, заполненных пивом. Каждая заполненная бутылка, в соответствии со способом, вращается в течение короткого промежутка времени в отдельном устройстве, а затем быстро останавливается, при этом движение небольших стеклянных осколков можно обнаружить, используя систему, содержащую камеру с источником света, и соответственно обработав полученное изображение.
Этот способ достаточно хорош для практики, но требует применения сложной аппаратуры на разливочной линии пивоваренного завода или при производстве безалкогольного напитка. Выполнение проверки с использованием такого способа требует в среднем 2,1 с на одну бутылку. Такая система, кроме того, является дорогостоящей, так как, для того чтобы на разливочной линии достичь высокой средней скорости, например 60000 бутылок в час, требуется обеспечить большое число вращательных устройств для записи изображения, например 36.
С целью усовершенствования указанного выше способа, настоящее изобретение направлено на создание способа упаковки для жидкого продукта, такого как напитки, включающий этапы:
– запуска упаковки в режим вращения,
– облучения этой упаковки во время вращения излучением на заданной длине волны,
– проведение, по меньшей мере, одной серии из, по меньшей мере, двух записей, по меньшей мере, части содержимого упаковки во время вращения при помощи устройства для записи изображения, пригодного для записи на заданной длине волны.
Способ в соответствии с настоящим изобретением имеет то преимущество, что надежный контроль достигается в более краткий промежуток времени в расчете на упаковку, при этом требуется относительно небольшое число вращательных устройств для записи изображения (узлов обнаружения, узлов проверки), и контроль требует в среднем 0,7 с на одну бутылку. Из этого также следует результат, что систему контроля можно реализовать более просто и дешевле благодаря применению этого способа.
Система с меньшим числом вращательных устройств для записи изображения, например 12-24, будет достаточна для осуществления способа в соответствии с настоящим изобретением.
В следующем варианте осуществления изобретения упаковки располагаются по существу в том же самом положении вращения относительно записывающего устройства во время последовательной записи данной серии. Получают последовательные изображения бутылки, вращающейся относительно своей вертикальной оси. Во время вращения бутылки записывается, по меньшей мере, 1 изображение х оборот (непрерывно вращающейся) бутылки. Эти изображения сохраняются. Каждое изображение в сравнении с предыдущим или последующим изображением, таким образом, оказывается изображением той же бутылки с различием по углу поворота на 360°. Если эти два последовательных изображения сравнить, то бутылка будет оставаться в той же самой позиции, тогда как кусочек стекла, если он имеется в ней, займет, очевидно, другое положение в этом изображении. Это смещение стекла в двух изображениях обнаруживается, например, путем вычитания одного изображения из другого. Если в изображении что-либо остается, то стекло в бутылке присутствует. Вычитание изображений друг из друга, само по себе является известным принципом, который применяется повсюду при контроле этикеток. Бутылка со стеклом внутри будет обнаружена.
Поэтому на данном этапе можно осуществлять контроль в процессе вращения (когда бутылка вращается, а стекло движется относительно бутылки). Вращение бутылки и контроль могут, в принципе, выполняться одновременно в течение 0,7 с, вследствие чего, например, требуется только 18 (12-24) контрольных узлов для того, чтобы обеспечить производительность в 60 000 бутылок в час.
В соответствии с еще одним вариантом осуществления изобретения, последовательные записи серии производятся с интервалом времени заданной продолжительности. Для получения изображения может быть применен сравнительно простой способ приведения камеры в действие.
Скорость вращения предпочтительно изменяется во время записи серии. Реализовано тем самым различие в скорости вращения содержимого упаковки и самой упаковки.
В следующем варианте осуществления изобретения, направление вращения изменяется во время записи серии. Изменения скорости создают эффект различия разности скоростей.
Применительно к упаковкам целесообразно провести множество записей под различным углом зрения. Благодаря этому становится возможным, например, обнаружение частицы в упаковке, на которой уже размещены этикетки.
Информация об изображении, заключенная в изображениях серии, предпочтительно сравнивается с целью обнаружения наличия нежелательных частиц, таких как частицы стекла, в упаковке.
Еще одна особенность настоящего изобретения относится к системе для осуществления способа, заявленного в одном или более из приведенных выше притязаний.
Другие преимущества, признаки и подробности настоящего изобретения будут объяснены на основе нижеследующего описания его предпочтительных вариантов его осуществления, которое ведется со ссылками на прилагаемые чертежи, на которых:
– фиг.1 – схематический вид контрольного устройства в соответствии с настоящим изобретением;
– фиг.2 – диаграмма по времени для программы записи в соответствии с вариантом осуществления настоящего изобретения;
– фиг.3 – диаграмма по времени в соответствии с вариантом осуществления, представленным на фиг.2;
– фиг.4-8 – диаграмма по времени для различных вариантов осуществления настоящего изобретения;
– фиг.9-12 – схема других вариантов осуществления данного изобретения.
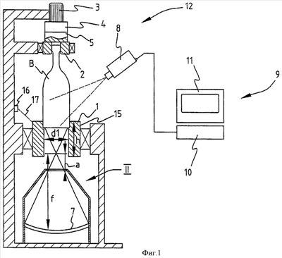
Одну бутылку пива В единовременно (фиг.1) фиксируют в контрольном устройстве 12 между кольцом 1 и головной частью 2. Электродвигатель 3, который связан с головной частью 2 через редуктор 4, который может снабжаться тормозом 5, служит для привода бутылки во вращение. Кольцо 1 и головная часть 2 поэтому монтируются подвижно относительно рамы 6. Свет из источника света 7 далее попадает в бутылку и производятся записи содержимого бутылки. Так как имеет место различие в скорости вращения бутылки и жидкости внутри нее благодаря инерции, содержимое бутылки будет двигаться относительно самой бутылки. Если записи далее производятся в различные моменты времени с использованием камеры 8 на ПЗС, в последовательных записях содержимое бутылки будет располагаться относительно бутылки в ином положении, чем в предыдущих записях для этой же бутылки. Это используется для обнаружения, например, частиц стекла.
Контрольное устройство, далее, содержит блок генерирования сигнала активации, (т.е. лазерный триггер) для создания сигнала, на основе которого камера 8 снимает изображение. Блок лазерного излучателя-детектора 16 излучает лазерный луч 17 в направлении рефлектора 15 на вращающейся части контрольного устройства. Если рефлектор проходит через лазерный луч, последний отражается, и отраженный луч воспринимается блоком детектора 16. Посылается затем сигнал на камеру, которая снимет изображение.
В качестве альтернативы этому электродвигатель генерирует для камеры сигнал положения, на основе которого камера снимает изображение.
Видеоинформация обрабатывается компьютером 10 и может выдаваться на экран 11.
Помимо вышеописанных преимуществ, варианты осуществления изобретения, рассматриваемые ниже, имеют дополнительные преимущества в сравнении с известными техническими решениями, а именно:
– контроль может осуществляться непосредственно в процессе вращения бутылки,
– нет необходимости, чтобы бутылка останавливалась физически и выдерживалась в спокойном состоянии,
– бутылку можно проверять с множества сторон вместо одностороннего контроля, что тем самым увеличивает надежность контроля,
– возможно обнаружение загрязнения за этикеткой, (значительное) истирание, тиснение или тиражные знаки бутылки,
– это устройство может быть расположено после этикетировочного устройства, благодаря чему допустимо использование гибких схем компоновки производственных линий, а данное устройство можно поместить на конце линии, и поэтому возможен реальный заключительный контроль,
– налицо меньшая механическая сложность, поэтому улучшается механическая надежность и доступность устройств (оптического контроля),
– так как контрольные устройства управляются индивидуально, каждое контрольное устройство может быть настроено на оптимальный режим вращения,
– в случае остановки производственной линии, все бутылки, наличествующие в карусельном конвейере, могут быть проверены, таким образом, в случае остановки линии не будет оставаться непроверенных бутылок (что привело бы к потере продукта и убыткам).
Помимо записи серии изображений в режиме одно изображение за оборот, можно также записывать множество изображений за один оборот (например, при 0°, 90°, 180° и 270° или более (см. фиг.2)) с позиций I, II, III, и IV, соответственно). Изображения, которые записаны под определенным углом затем сравниваются с последующим изображением, записанным при поворачивании на 360° относительно этого определенного угла. Это показано на следующей диаграмме по времени (примечание в виде сверху: бутылка вращается относительно своей вертикальной оси, но во всех остальных отношениях неподвижна относительно камеры).
На основе этой диаграммы по времени может быть составлена следующая таблица для случая, когда производятся записи 4-х изображений за один оборот, в которых указывается, какая часть бутылки показывается в данный момент времени:

На этой основе составлена следующая таблица, которая указывает, в какие моменты времени видна данная часть бутылки. Если не обнаруживается движения между двумя последовательными изображениями той же самой части бутылки, не обнаруживается тем самым стекла или загрязнения внутри нее.
Изображения могут быть сняты, например, в следующие моменты времени:

Движение стекла относительно бутылки осуществляется следующим образом (фиг.3):
когда бутылка подвергается угловому смещению, жидкость в бутылке придет в движение медленнее, чем бутылка. (Стеклянная) частица (G) в жидкости поэтому придет в движение медленнее, чем бутылка. Положение (стеклянной) частицы при сравнении двух изображений (по существу при различии в 360° по углу поворота бутылки в двух позициях) будет изменяться с увеличением скорости вращения бутылки.
Если скорость вращения бутылки снижается, жидкость в бутылке какое-то время будет вращаться быстрее, чем бутылка. (Стеклянная) частица в жидкости тогда также будет вращаться быстрее, чем бутылка. Положение (стеклянной) частицы при сравнении двух изображений (по существу при различии в 360° по углу поворота бутылки в двух позициях) будет изменяться с уменьшением скорости вращения бутылки таким же образом, как указано в том случае, когда скорость вращения бутылки возрастала.
В добавление к вышеописанному методу создания относительного движения, можно использовать период, следующий непосредственно после начала вращения бутылки. В этот момент (стеклянная) частица будет, благодаря моменту инерции, все еще в состоянии покоя, тогда как бутылка уже начала движение. На этой стадии, которая предположительно продолжается 0-0,3 с, при условии правильного выбора выдержки и разрешающей способности камеры, бутылка будет показана не резко, а (стеклянная) частица будет находиться четко в фокусе или двигаться очень медленно. (Стеклянная) частица может быть обнаружена при использовании известной для данного случая техники обработки изображения.
Очевидно, что с помощью этого метода также можно проверять наличие большего или меньшего числа частиц в бутылке. Преимуществом, по сравнению с другими способами, включая способы по патенту (WO 97/14956), является то, что бутылка проверяется с большого числа сторон, поэтому шанс обнаружения возрастает (или время контроля сокращается при сохранении качества контроля на прежнем уровне). Это преимущество является особенно важным в случае для бутылок с заранее наклеенными этикетками или для поцарапанных бутылок.
Для того чтобы иметь возможность записать вышеуказанные серии изображений, рекомендуется использовать асинхронные камеры со сбросом отсчета. Эти камеры приводятся в действие (включаются) внешним сигналом и начинают записывать изображение. При таком использовании это произойдет с получением сигнала обратной связи, поступающего от контрольного устройства.
Схему вращения можно регулировать при использовании данного способа, добиваясь оптимального движения в процессе записи изображений, и, следовательно, обнаружения возможного наличия частиц (см. фиг.4). В этом случае важна концепция режима вращения. Режим вращения определяет угловую скорость бутылки на ее вертикальной оси как функцию времени. Простым примером является:
t0-t1 – начало
t1-t2 – непрерывное вращение
t2-t3 – торможение
Настоящим способом можно записывать и обрабатывать изображения в продолжение всего периода от t0-t3.
Особым преимуществом является продолжение варьирования угловой скорости (фиг.5), так как частица в этом случае продолжает двигаться непрерывно по отношению к бутылке.
Можно также применять более сложные или кратковременные режимы вращения (например, реверсивное вращение) (фиг.6, 7). Таким образом, можно получить очень краткое время контроля, что позволит создать очень компактную конструкцию устройства. Для специфических продуктов, таких как, например, сироп, можно также установить оптимальный режим вращения (фиг.8).
Возможно осуществление также и других, уже существующих видов контроля бутылок, которые применяются на практике, с помощью данного способа, предусматривающего наличие отдельной камеры на каждое контрольное устройство с обособленно управляемым электродвигателем:
– контроль этикеток при вращении бутылок на 360°,
– контроль боковой стенки декорированных и рельефных бутылок; и, например,
– обнаружение фольги.
Некоторое число камер в фиксированном пространстве можно затем использовать для дальнейшего контроля в тех случаях, когда бутылки соответствующим образом ориентированы.
Передача данных может быть минимизирована путем связи между схемой управления двигателем и триггерной схемой включения записи изображения с помощью соответствующей системы управления.
Размещение серий изображений в различных ПК можно осуществить посредством, например, протокола FIREWIRE (стандарт IEEE 1394), или быстродействующих ПК, или мультиплексорной технологии.
Чтобы обнаружить относительное движение (стеклянной) частицы в двух изображениях, полученных с разницей по углу поворота в 360°, по отношению к вращающейся бутылке, это движение должно быть настолько заметным, чтобы для его обнаружения можно было использовать программное обеспечение (вследствие того, что положение стеклянной частицы меняется).
В следующем варианте осуществления изобретения запись изображений выполняется через регулярные интервалы времени и при неизвестном угловом смещении (синхронный сброс отсчета в камере) вместо того, чтобы использовать неизвестный момент времени и регулярное угловое смещение бутылки (асинхронный сброс отсчета в камере). Преимуществом этого является простота включения камеры в действие. Более сложно, если записываемые изображения серии могут оказаться/оказываются записанными с разных сторон бутылки. Так что лишь благодаря визуальной дифференциации сторон остаточное изображение не окажется черным, даже если (стеклянных) частиц в бутылке нет. При хорошем темном поле освещения ориентация бутылки не существенна, так как сторона, а поэтому и разница между сторонами, не будут видны на изображении (черное изображение – черное изображение = черному изображению). Если темное поле освещения не совершенно, то посредством техники обработки изображений можно различить отражения от (стеклянных) частиц.
Другие варианты осуществления настоящего изобретения содержат:
– карусельный конвейер с примерно 12-24 контрольными устройствами.
Такой карусельный конвейер сам по себе можно разместить известным способом на линии разлива в бутылки. Другой вариант – это производственная линия контроля, например, с фиксированными камерами, при котором продвижение бутылок одна за другой во время контроля осуществляется известным методом;
– для контрольного устройства предусматривается обратная связь по ориентации бутылки (для определения момента включения камеры);
– узел привода для контрольного устройства (например, ступенчатый электродвигатель или серводвигатель с позиционной обратной связью). По выбору можно использовать один привод для всех контрольных устройств;
– одна камера на каждое контрольное устройство;
– поле изображения для изображений при записи не только с нижней стороны бутылки, но теперь также и на всей бутылке с целью обнаружения фольги и плавающих предметов;
– (FIREWIRE) ИК (инфракрасная) камера 80 на кадров/с или более;
– ИК светильник с (модифицированным) освещением с темным полем;
– цветные камеры для проверки этикеток, крышек и/или уровня наполнения бутылок;
– компьютеры, обрабатывающие изображения, (КОИ) и компьютеры связи (ПКСВ);
– оптическое скользящее кольцо для передачи видео- и других данных;
– компьютерное оборудование для промышленной среды: камера, светильник, системный блок, КОИ, ПКСВ. Это означает соответствие оборудования, например, с IP65.
На фиг.9-12 показаны несколько вариантов размещения камеры и положения светильника по отношению друг к другу и/или к исследуемой бутылке. На фиг.9 бутылка В, помещенная во вращающуюся головную часть 30, вращалась, как описано выше. Бутылки освещены посредством лампы или источником света 32 через дно бутылки.
На фиг.10 бутылка освещена с разных сторон посредством источников света 34 и 35. Камера расположена под дном бутылки для записи изображений. На фиг.11 компоновка, приведенная на фиг.10, изменена так, что камера расположена под углом по отношению к основной линии бутылки. Преимущества этих вариантов заключаются в том, что вся площадь дна охватывается записываемым изображением. Результатом этого является, например, то, что стеклянная частица может быть обнаружена быстрее и в нескольких последовательных записях. Время контроля, поэтому, может быть значительно снижено. Дополнительное преимущество состоит в том, что, когда используется способ, в котором бутылка осушается перед проверкой, нужно просто осушить дно, так как записи ведутся снизу. Такое осушение дна можно осуществить посредством быстрого вращения бутылки, причем такое вращение способствует также и способу обнаружения. Далее, преимущество расположения камеры под углом на фиг.11 состоит в том, что запись осуществляется под углом по отношению к ободу головной части, что означает, что обнаружение в наиболее нижней части поверхности дна бутылки может быть осуществлено наиболее полным образом. Правда, некоторое количество грязи, возможно, попадет на камеру, так как она расположена сбоку по отношению к бутылке.
Еще один вариант осуществления изобретения (фиг.12) имеет преимущество в том, что содержит две лампы 34, излучающих свет на бутылку сбоку, и призму 42 с тремя боковыми гранями 39, 40, 41 для отражения света. Зеркала 44 также предусмотрены в этом варианте осуществления для отражения света. В этой конструкции свет из бутылки может быть обнаружен камерой с двух сторон, тем самым увеличивая количество информации, поступающей с площади дна бутылки и записываемой камерой. В таком варианте осуществления могут быть применены 2 камеры для получения данных по изображению, отраженному от призмы, или получения световых лучей прямо от зеркал. Например, возможность попадания стеклянной частицы в «тень» головной части 30 тем самым снижается.
Кроме того, как изображено на схеме 13, камеру можно поместить под углом выше поверхности дна бутылки, например, с обзором поверх кромки бутылки.
Запись изображений можно, например, осуществлять включением при соответствующей ориентации бутылки, либо в заранее определенный или случайный промежуток времени. Ориентацию бутылки можно в первом случае, например, определить посредством датчика.
Обработка записанных изображений может быть произведена несколькими способами. Изображения, по существу, с идентичной ориентацией бутылок могут взаимно вычитаться, и результирующее изображение можно проанализировать на наличие остаточной информации. В альтернативе записанное изображение можно проанализировать, сопоставив его с ранее записанным изображением, с учетом смещения по времени или обратного вращения относительно ориентации/положения бутылки для ранее записанного изображения, с последующей дальнейшей обработкой этого изображения посредством, например, процесса вычитания. Кроме того, можно определить и описать траекторию частиц, записанных на нескольких изображениях. Основываясь на параметрах траектории, можно определить природу частицы, например, то, что она является стеклом, что бы привело к выбраковыванию данной бутылки, или органическим материалом, что позволило бы признать бутылку пригодной к использованию.
Различные варианты осуществления изобретения, описанные выше, могут быть вполне объединены. Притязания заявителя определены в прилагаемой формуле изобретения.
Формула изобретения
1. Способ контроля упаковки для жидкого продукта, такого как напитки, включающий этапы: запуска упаковки в режим вращения, облучения упаковки во время вращения излучением на заданной длине волны, проведения, по меньшей мере, одной серии из, по меньшей мере, двух последовательных записей, по меньшей мере, части содержимого упаковки во время вращения при помощи устройства для записи изображения, пригодного для записи на заданной длине волны, отличающийся тем, что упаковку располагают, по существу, в том же самом положении вращения относительно записывающего устройства в течение последовательных записей данной серии.
2. Способ по п.1, в котором последовательные записи серии производятся с интервалом времени заданной продолжительности.
3. Способ по п.1, в котором скорость вращения изменяется во время записи серии.
4. Способ по п.1, в котором направление вращения изменяется во время записи серии.
5. Способ по любому из пп.1-4, в котором множество серий записей проводится таким образом, что записи одной и той же очередности для различных серий выполняются последовательно.
6. Способ по любому из пп.1-4, включающий этапы сравнения информации об изображениях серии с тем, чтобы обнаружить наличие нежелательных частиц, таких как частицы стекла, в упаковке.
7. Способ по п.1, в котором в качестве устройства для записи изображения служит камера, которая приводится в действие для того, чтобы произвести запись при помощи сигнала, посылаемого извне камеры.
8. Способ по п.1, в котором при осуществлении указанного способа упаковку помещают в держатель, содержащий узел привода, излучающее средство для создания излучения и средство для определения положения, определяющее положение упаковки при ее вращении.
9. Система для осуществления способа по любому из предшествующих пунктов, содержащая: вращатель (3) для вращения упаковки, излучающее средство (11, 34, 35) для облучения упаковки во время вращения излучением на заданной длине волны, устройство для записи изображения (8, 31, 32, 36, 37, 38), пригодное для производства записей на заданной длине волны, с целью проведения, по меньшей мере, одной серии из, по меньшей мере, двух последовательных записей, по меньшей мере, части содержимого упаковки во время вращения, отличающаяся тем, что: содержит средство определения ориентации (16), предназначенное для определения положения при вращении упаковки, для проведения последовательных записей содержимого упаковки, по существу, в одной и той же ориентации.
РИСУНКИ
|
|