|
|
(21), (22) Заявка: 2007117719/12, 13.10.2005
(24) Дата начала отсчета срока действия патента:
13.10.2005
(30) Конвенционный приоритет:
14.10.2004 DE 102004050308.7
(43) Дата публикации заявки: 20.11.2008
(46) Опубликовано: 10.06.2009
(56) Список документов, цитированных в отчете о поиске:
ЕР 0129110 A1, 27.12.1984. JP 57004535 A, 11.01.1982. RU 2070343 C1, 10.12.1996. SU 1314479 Al, 30.05.1987. SU 1814046 A1, 05.07.1993. SU 1170313 A1, 30.07.1985. SU 934340 A1, 07.06.1982. RU 2090942 C1, 20.09.1997. RU 15023 U1, 10.09.2000. RU 2106028 C1, 27.02.1998.
(85) Дата перевода заявки PCT на национальную фазу:
14.05.2007
(86) Заявка PCT:
EP 2005/011024 20051013
(87) Публикация PCT:
WO 2006/042691 20060427
Адрес для переписки:
129090, Москва, ул. Б.Спасская, 25, стр. 3, ООО “Юридическая фирма Городисский и Партнеры”, пат.пов. Ю.Д.Кузнецову, рег. 595
|
(72) Автор(ы):
ХИЛЛ Аксель (DE), ЭККАРДТ Бернд (DE)
(73) Патентообладатель(и):
АРЕФА НП ГМБХ (DE)
|
(54) СПОСОБ И СИСТЕМА ВЗЯТИЯ ПРОБ ДЛЯ ПОЛУЧЕНИЯ ПРОБЫ ИЗ АТМОСФЕРЫ ЗАЩИТНОЙ ОБОЛОЧКИ РЕАКТОРА ЯДЕРНО-ТЕХНИЧЕСКОЙ УСТАНОВКИ
(57) Реферат:
Изобретение относится к системе взятия проб для получения пробы из атмосферы в защитной оболочке реактора ядерно-технической установки и к способу получения такой пробы. Система взятия проб содержит соединенный с системой пониженного давления и с системой анализа входящий в защитную оболочку реактора трубопровод взятия проб. Перед трубопроводом взятия проб со стороны газа при соединении с атмосферой в защитной оболочке реактора включено дроссельное устройство. При этом трубопровод взятия проб выполнен в виде небольшого трубопровода с номинальным внутренним диаметром до 15 мм, предпочтительно в виде капиллярной трубки с номинальным внутренним диаметром от около 1 мм до 5 мм. При реализации способа получения пробы в трубопроводе взятия проб создают пониженное давление по сравнению с имеющимся в защитной оболочке реактора давлением. Причем после входа пробы в трубопровод взятия проб давление в трубопроводе взятия проб ограничивают. Достигаемый при этом технический результат заключается в обеспечении получения пробы, пригодной для определения особенно надежных и точных измерительных величин. 2 н. и 20 з.п. ф-лы, 3 ил.
Изобретение относится к системе взятия проб для получения пробы из атмосферы в защитной оболочке реактора ядерно-технической установки. Оно относится также к способу получения такой пробы.
В ядерно-технической установке может возникать в неисправных и, в частности, аварийных ситуациях после аварии с потерей охлаждающего средства значительный выброс радиоактивности. При этом, в частности, внутри окружающей активную зону реактора защитной оболочки или укрытия может образовываться и выделяться, в частности, газ водород, при этом на основании возможного образования взрывоопасной газовой смеси может возникать опасность для защитной оболочки реактора за счет возникающих неуправляемых реакций водорода.
Поэтому известны различные концепции для предотвращения образования таких взрывоопасных газовых смесей в укрытии или защитной оболочке реактора ядерно-технической установки, в которых при необходимости выполняют инертизацию атмосферы в защитной оболочке реактора. При этом может быть предусмотрено, например, контролируемое зажигание и сжигание образующихся долей водорода в атмосфере защитной оболочки. При этом доля водорода надежно уменьшается, прежде чем газовая смесь перейдет предел воспламенения, выше которого может возникать неуправляемая реакция водорода. В качестве альтернативного решения или дополнительно к этому может быть также предусмотрена управляемая подача инертных газов, таких как, например, азот, в атмосферу защитной оболочки реактора, так что уже на основании высокой доли инертного газа в атмосфере защитной оболочки исключается воспламенение газовой смеси.
Однако для контролируемой и соответствующей необходимости обработки таких аварийных ситуаций, например также для целенаправленной подачи инертных газов, необходимо относительно надежное определение соответствующего текущего действительного состояния атмосферы в защитной оболочке реактора. На основе ожидаемых в указанных аварийных ситуациях относительно агрессивных условий для деталей и компонентов вследствие возможного облучения и/или химической реактивности составляющих частей атмосферы невозможно выполнять контролирование атмосферы защитной оболочки и ее составляющих на основе непосредственно измеряемых фактических величин измерения с помощью измерительных или аналитических систем внутри защитной оболочки реактора с достаточной точностью и надежностью. Однако чтобы несмотря на это иметь возможность учета в качестве надежной основы для управления необходимыми мерами противодействия текущего фактического состояния атмосферы защитной оболочки, может быть предусмотрено так называемое взятие проб, при котором небольшое количество атмосферы защитной оболочки отбирают из защитной оболочки реактора и подают в расположенный вне защитной оболочки участок анализа и оценки. Подходящий для получения такой пробы способ и пригодное для реализации способа устройство известны, например, из DE 4126894 A1.
В таких известных системах взятия пробы обычно выполняют в расположенной вне защитной оболочки реактора аналитической камере сушку измеряемого газа, при этом затем измеряют с помощью анализатора теплопроводности концентрацию водорода в высушенном газе. Для определения из этой измеренной величины действительной концентрации водорода в защитной оболочке реактора выполняют поправку с помощью содержания газа в атмосфере защитной оболочки. Эту поправку обычно выполняют исходя из предположения условий насыщения при давлении в защитной оболочке и температуре защитной оболочки. При этом действительное содержание пара в атмосфере защитной оболочки и действительную концентрацию водорода можно определять лишь с недостаточной точностью из-за возможно существующих перегревов. Очень различные состояния атмосферы от условий насыщения до состояния «сильного перегрева» вызываются за счет находящихся в атмосфере долей активных инертных газов и аэрозольных продуктов распада, которые в зависимости от хода аварии могут представлять мощность остаточного тепловыделения от нескольких кВт до многих 100 кВт. Кроме того, следует учитывать, что также в различных зонах пространства и высоты защитной оболочки вследствие различных эффектов охлаждения структур, наружных стенок, систем охлаждения и т.д. могут возникать значительные различия температуры. Поэтому действительные температуры атмосферы могут отклоняться от температур насыщения, например, на более 100°С, и поэтому не обеспечивают надежного заключения о действительных парциальных давлениях пара.
В качестве альтернативного решения можно также устанавливать датчики водорода непосредственно в защитной оболочке реактора, которые работают по принципу теплового эффекта. Эти датчики могут быть соединены с помощью защищенных от помех, однако не защищенных от аварий кабелей с расположенной вне защитной оболочки реактора измерительной электроникой. Однако при этом измерение водорода с помощью лишь этого измерительного устройства при уменьшенном содержании кислорода и, в частности, при высоких лучевых нагрузках средней и большой длительности невозможно. Таким образом, при внутренних условиях невозможно надежное измерение концентрации водорода, причем дополнительно к этому существует относительно высокая поперечная чувствительность к моноксиду углерода, который может высвобождаться при взаимодействии бетона с расплавом ядерного топлива. Поэтому как раз при активном управлении авариями и целенаправленным управлением мерами противодействия такие системы являются недостаточными.
Кроме того, в известных системах взятия проб можно обычно анализировать лишь доли отдельных газов, такие как, например, доли водорода или доли кислорода, при этом прямое определение состояния инертизации атмосферы защитной оболочки нельзя осуществлять посредством непосредственного измерения содержания пара и диоксида углерода.
Поэтому в основу изобретения положена задача создания системы взятия проб для получения пробы из атмосферы в защитной оболочке реактора ядерно-технической установки, с помощью которой обеспечивается получение пробы, особенно пригодной для определения особенно надежных и точных измерительных величин для долей газов атмосферы защитной оболочки. Кроме того, предлагается особенно пригодный способ получения такой пробы.
Относительно системы взятия проб эта задача решена согласно изобретению с помощью соединенного с системой пониженного давления и с системой анализа, входящего в защитную оболочку реактора трубопровода взятия проб, перед которым с газовой стороны при соединении с атмосферой в защитной оболочке реактора включено дроссельное устройство.
При этом изобретение исходит из того, что для определения характеристических для текущего фактического состояния атмосферы защитной оболочки, особенно точных измеренных величин, полученная проба должна с особенно высокой точностью отображать условия атмосферы внутри защитной оболочки. Для этого необходимо последовательно исключить те влияния, которые могут вызывать фальсификацию состава пробы по сравнению с действительным составом атмосферы в защитной оболочке. Как было установлено, в качестве одного возможного источника такого отклонения свойств взятой пробы от свойств действительной атмосферы защитной оболочки в ситуации аварии можно рассматривать обычно проводимую сушку измеряемого газа и последующий учет влияния содержания пара при предположении условия насыщения в защитной оболочке. При существенном высвобождении радиоактивности и водорода и предположении условий насыщения пара на основе измеренных температур атмосферы это легко приводит к нераспознаванию взрывоопасных условий атмосферы и может приводить к инициированию неподходящих противомер, которые могут составлять опасность для целостности защитной оболочки.
Для исключения принятия таких краевых условий и обеспечения вместо этого непосредственного определения реальных условий атмосферы в защитной оболочке также при возможно существующих перегревах или других затрудняющих условиях необходимо надежно исключать конденсацию возможно содержащегося в атмосфере и тем самым находящегося также в пробе пара в трубопроводе взятия пробы также при пересечении более холодных зон защитной оболочки, и тем самым уже перед достижением предусмотренного для оценки места измерения. Для обеспечения этого с особенной высокой рабочей безопасностью и пассивным образом, т.е. без необходимости активного управления снаружи система взятия проб выполнена для сохранения перегретого состояния при транспортировке пробы через трубопровод взятия проб. Это достигается посредством последовательного сохранения состояния пониженного давления в трубопроводе взятия проб во время транспортировки взятой пробы. Установленное уже в трубопроводе взятия проб перед взятием собственно пробы по причинам транспортировки пониженное давление при этом сохраняется также во время транспортировки пробы в трубопроводе взятия проб, посредством подходящего дросселирования трубопровода взятия проб в его входной зоне.
Для обеспечения сохранения предусмотренного пониженного давления при транспортировке пробы через трубопровод взятия проб простым и надежным образом трубопровод взятия проб предпочтительно выполнен в виде небольшого трубопровода с номинальным внутренним диаметром до 15 мм, и в особенно предпочтительном варианте выполнения в виде капиллярной трубки с номинальным внутренним диаметром около 1-5 мм. Кроме того, за счет такого выполнения трубопровода взятия проб обеспечивается, что объемы взятых проб могут быть особенно небольшими, так что даже при сравнительно высоких количествах высвобождаемой в атмосфере защитной оболочки радиоактивности, в наружную зону защитной оболочки реактора можно выносить особенно небольшое количество общей радиоактивности. Кроме того, имеющий такие размеры трубопровод взятия проб имеет также высокую собственную надежность относительно повреждений, поскольку даже при предполагаемом полном разрыве трубопровода взятия проб возникающая за счет этого дополнительная утечка из защитной оболочки реактора в его окружение является лишь незначительной по сравнению и без того предусмотренной расчетной утечкой.
За счет этого можно в целом отказаться от обязательных в обычных системах взятия проб на основе возможных больших поперечных сечений утечки двойных запорных устройств в зоне проходов в защитную оболочку, включая ввод в систему взятия проб. Кроме того, капиллярные трубки с диаметром, например, 3 мм и толщиной стенки лишь 0,5 мм уже имеют расчетное давление более 50 бар, что в принципе увеличивает надежность против отказа при расчетных давлениях защитной оболочки, например около 5 бар. При предположении, например, 5-10 взятий проб из защитной оболочки получается дополнительно экономия 10-20 запорных арматур защитной оболочки. Это приводит, с одной стороны, к значительному уменьшению стоимости, и обеспечивает также за счет исключения арматуры в этой зоне оптимальный перегрев пробы также в зоне прохода.
Дроссельное устройство может быть отдельным дросселем или же для обеспечения большего входного диаметра также многоступенчатым дросселем, или же дросселем в виде пористого тела. Дроссельное устройство предпочтительно имеет тонкое проходное отверстие величиной 0,05-2 мм, предпочтительно 0,5 мм. Как раз в комбинации с предусмотренными размерами трубопроводов взятия проб, в выполненной таким образом системе взятия проб непосредственно после взятия пробы обеспечивается падение давления в трубопроводе взятия пробы до менее чем около 50% имеющегося в защитной оболочке реактора давления с помощью пассивных средств. Таким образом, предусмотренная непосредственная сушка газа и перегрев для дросселирования обеспечивается во всей зоне трубопровода взятия проб внутри защитной оболочки реактора. В зоне прохода через наружную стенку защитной оболочки также имеются значительно более благоприятные условия, поскольку даже при высоких парциальных давлениях газа в несколько бар можно легко достигать нагревания, например, с 50 до 80°С, в частности за счет дополнительного нагревания с помощью низкотемпературного нагревательного элемента, и тем самым можно надежно оставаться ниже критических температур для, например, бетона около 80-100°С.
Кроме того, дроссельное устройство предпочтительно дополнено фильтровальным блоком, так что исключается ухудшение работы даже при возникновении крупнозернистых загрязнений или т.п. При этом фильтровальный блок, который может быть предусмотрен, в частности, для сдерживания грубых аэрозолей, содержит предпочтительно пористый фильтрующий материал, такой как, например, порошковый материал или плетение из металлических волокон. За счет дополнительной кратковременной обратной промывки с помощью сжатого воздуха или азота, предпочтительно из баллонов с давлением более 10 бар до давления в баллоне, например, 100 бар, обеспечивается дополнительно надежная промывка возможно загрязненных дроссельных поперечных сечений.
Для обеспечения надежной оценки взятой пробы и, в частности, сравнительно точного анализа составляющих газовых долей в ней трубопровод взятия проб снабжен вне защитной оболочки непосредственным нагреванием, а также включенная после трубопровода взятия проб система анализа предпочтительно снабжена нагреваемым наружным корпусом по типу термостата. Он целесообразно выполнен так, что анализ взятой пробы можно выполнять в диапазоне температур около 120°С или больших избыточных давлениях в защитной оболочке до 160°С. Тем самым при оценке взятой пробы надежно исключается конденсация водяного пара, так что можно определять особенно точные величины измерения для отдельных газовых составляющих атмосферы защитной оболочки.
Особенно высокая рабочая надежность и механическая стабильность системы взятия проб достигается тем, что трубопровод взятия проб предпочтительно проложен в защитной трубе.
Для того чтобы по причинам особенно высокой рабочей надежности удерживать количество активных компонентов внутри защитной оболочки реактора особенно небольшим, система пониженного давления системы взятия проб предпочтительно расположена вне защитной оболочки реактора. При этом в качестве системы пониженного давления может быть предусмотрена, в частности, расположенная вне защитной оболочки реактора система насосов, например мембранный вакуумный насос или струйный вакуумный насос. В качестве альтернативного решения или дополнительно к этому может быть предусмотрен для подачи быстрых вакуумных импульсов подключаемый с помощью быстро открывающихся клапанов вакуумный резервуар. При многоканальном выполнении системы взятия проб, т.е. при параллельном включении нескольких трубопроводов взятия проб может быть вместо центрального насосного блока предусмотрен также для каждого трубопровода взятия проб отдельный насос пониженного давления, в частности микровакуумный насос.
Система анализа предпочтительно расположена сравнительно близко к защитной оболочке реактора для удерживания небольшими необходимых путей транспортировки. Система анализа может содержать, в частности, множество адсорбционных колонок, при этом в различных адсорбционных колонках осуществляется разделение газовых составляющих и последующее избирательное измерение газовых компонентов на детекторах теплопроводности на выходе из колонки. При этом уже в небольших объемах газа, например меньше 1 л, можно осуществлять полный газовый анализ с помощью пропускания газа через адсорбционные колонки относительно содержания водяного пара, а также в параллельно включенных адсорбционных колонках можно измерять содержание водорода, кислорода, оксида углерода и/или моноксида углерода, а также, возможно, инертных газов даже в условиях помех. Из этих аналитических величин можно наряду с возможной опасностью атмосферы защитной оболочки реактора получать также конкретную информацию о возможном состоянии повреждения сердечника реактора и его положении, например, посредством измерения СО. В качестве альтернативного решения или в качестве дополнительного измерения для повышения надежности можно выполнять определение концентрации водорода просто в термостате с помощью детектора теплопроводности, а также определение доли пара с помощью емкостных полимеров непосредственно в измеряемом газе. Соответствующие чувствительные к излучению и температуре микропроцессорные электронные устройства блока оценки располагают с экранированием отдельно вне термостата.
При этом система предпочтительно работает так, что измерительные датчики после выполненного анализа промываются неактивными газами и тем самым снижается излучательная нагрузка также в зоне анализаторов по сравнению с непрерывным анализом. Управление системой и устройствами предпочтительно осуществляется с помощью свободно программируемого цифрового управления, так что, например, в зависимости от реальной ситуации расположения в установке можно с учетом различного времени транспортировки согласовывать соответствующие вакуумные импульсы посредством изменения на месте параметров. За счет высококачественной изоляции менее 100 Вт/м2 минимизируются тепловые потери в зоне трубопровода и термостата до менее 5 кВт мощности длительного режима, так что можно обеспечивать электропитание даже при отключениях тока, постоянно или с быстрым подключением через батарейную сеть или отдельный дизель аварийного электропитания.
Для обеспечения целенаправленной подачи взятой пробы в систему анализа в трубопровод взятия проб перед входом или при входе в систему анализа предпочтительно включен изоляционный резервуар для пробы. Перед ним может быть дополнительно включен буферный резервуар или буфер трубопровода, объем которого в целесообразном варианте выполнения примерно в 2-10 раз больше объема изоляционного резервуара для пробы. За счет этого обеспечивается, что после свободной от потерь рабочей фазы низкого давления трубопроводов взятия проб до прохода в защитную оболочку, в следующей за ней фазе повышения давления за счет возможного в этом случае снижения температуры ниже точки росы в капиллярной трубке внутри защитной оболочки не может транспортироваться измененный измерительный газ вплоть до объема измерительного газа (изоляционного резервуара для пробы). За счет последующего обратного промывания сухим газом, например азотом, осуществляется сушка этих участков перед взятием следующей пробы. В качестве альтернативного решения сжатие измерительного газа можно инициировать также посредством подачи газа, при этом за счет предварительно включенного объема и при небольших размерах возникающего небольшого потока поршня в трубопроводе снова исключается ввод измененного измерительного газа в резервуар подготовки пробы.
Для обеспечения удерживания предусмотренного расчетного перегрева взятой пробы во время транспортировки через трубопровод взятия проб трубопровод взятия проб предпочтительно выполнен с возможностью нагревания в зоне вне защитной оболочки реактора. Таким образом, можно без установки активных компонентов во внутреннем пространстве защитной оболочки реактора обеспечивать, что при необходимости за счет целенаправленного нагревания отдельных зон трубопровода взятия проб исключается конденсация водяного пара даже при сравнительно длинных путях транспортировки.
Для удерживания возможно высвобождающейся в наружную зону при взятии пробы радиоактивности особенно низкой, в другом предпочтительном варианте выполнения к трубопроводу взятия проб подключен входящий в защитную оболочку реактора трубопровод обратной подачи. За счет этого можно осуществлять, в частности, обратную подачу взятых радиоактивных веществ с помощью компрессорного блока и/или за счет расположения участка замедления инертного газа, например, на основе активированного угля или цеолита. Это достигается с помощью особенно простых средств за счет того, что транспортировка и создание вакуума осуществляется с помощью струи газа или, по меньшей мере, временно с помощью изымаемого из газовых баллонов сжатого газа.
Относительно способа получения пробы указанного вида указанная задача решена тем, что в трубопроводе взятия проб создают пониженное давление по сравнению с давлением внутри защитной оболочки реактора, при этом после входа пробы в трубопровод взятия проб давление в трубопроводе взятия проб ограничивают максимально примерно 60% давления в защитной оболочке реактора. Это предпочтительно обеспечивается тем, что вхождение пробы в трубопровод взятия проб и/или вхождение составляющих частей атмосферы в трубопровод взятия проб дросселируют.
Указанная выше концепция взятия проб и последующего анализа обеспечивает достигаемую точность и надежность, по существу, независимо от имеющейся в защитной оболочке реактора текущей концентрация кислорода. Дальнейшее повышение надежности и тем самым рабочей безопасности предпочтительно достигается посредством комбинации этого способа с так называемым способом теплового эффекта для измерения концентрации водорода в защитной оболочке реактора, который работает независимо от концентрации кислорода.
При этом предпочтительно выполняют дополнительно в нескольких местах в защитной оболочке реактора в качестве обеспечения избыточности измерение концентрации водорода по принципу теплового эффекта. Предусмотренные для этого места измерения обоих способов предпочтительно расположены в одинаковых зонах пространства защитной оболочки реактора, так что особенно в ранней фазе протекания возможной аварии можно за счет сравнения поставляемых обоими способами измерительных величин друг с другом сравнительно точно определять концентрацию горючего газа, концентрацию кислорода и действительную концентрацию водорода.
В способе теплового эффекта в головке датчика, которая установлена непосредственно в атмосфере защитной оболочки реактора, размещают каталитически активную нить и не действующую в качестве катализатора нагреваемую нить. При наличии водорода в окружающей атмосфере, в зависимости от имеющейся концентрации кислорода происходит окисление на каталитически активной нити, которая через кабель соединена с расположенным вне защитной оболочки реактора электронным устройством.
Возникающее за счет начинающегося повышения температуры увеличение электрического сопротивления компенсируется с помощью электрической мостиковой схемы. Ток компенсации является непосредственной мерой произошедшего окисления водорода и его можно выдавать в качестве сигнала измерения водорода или концентрации горючего газа.
Полученные при этом сигналы целесообразно дополнительно обрабатываются в используемом в обоих способах анализа блоке управления и оценки.
Полученная с помощью указанного выше способа теплопроводности концентрация водорода соответствует действительной концентрации независимо от текущей концентрации кислорода. За счет сравнения полученных с помощью обоих способов величин концентрации водорода можно тем самым определять действительную концентрацию водорода (по теплопроводности), а также дополнительно при избытке кислорода избыточную концентрацию водорода через тепловой эффект.
В имеющихся в возможных аварийных ситуациях, связанных с техникой безопасности, вероятных случаях относительно высокие концентрации водорода при одновременно уменьшенной концентрации кислорода можно определять максимальную концентрацию водорода по принципу теплопроводности, концентрацию горючего газа с помощью способа с использованием датчиков теплового эффекта и дополнительно концентрацию кислорода.
За счет контролирования полученных измерительных величин с помощью подходящей вычислительной схемы из системы анализа взятия проб и постоянного сравнения с измерительными величинами способа с использованием кабеля и датчиков можно дополнительно определять скорости выделения водорода, а также на основе заданного количества кислорода в защитной оболочке реактора дополнительно скорости окисления водорода и уравновешивать их. За счет этого наряду с оценкой текущей потенциальной опасности для установки можно делать также важные выводы о ходе аварии, например, остановлено ли окисление топливных стержней, так что возможно целенаправленное инициирование соответствующих противомер.
Указанные способы предпочтительно применяются, в частности, в переходной, ранней фазе аварии, поскольку в дальнейшем ходе аварии кислород реагирует в защитной оболочке реактора. Поэтому кабели в способе с использованием датчиков и кабелей можно предпочтительно с точки зрения затрат на изготовление и монтаж выполнять в виде пластмассового кабеля с отказом от полностью керамической конструкции, при этом длительность работы при средней нагрузке облучением до 24 часов можно рассматривать как достаточную. При продолжении аварии вследствие продолжительной сильной нагрузки облучением можно допускать выход из строя кабеля, который также распознается электроникой, так что затем применяется только лишь способ взятия проб и анализа.
Достигаемые с помощью изобретения преимущества состоят, в частности, в том, что за счет установления подходящим образом выбранного пониженного давления в трубопроводе взятия проб и его удерживания с помощью дросселирования при вхождении пробы в трубопровод взятия проб, а также во время транспортировки пробы от места взятия к расположенной вне защитной оболочки реактора системе анализа последовательно сохраняется перегретое состояние взятой пробы. Таким образом, исключается приводящая к возможному искажению результатов анализа конденсация водяного пара во время транспортировки взятой пробы. Тем самым пробу можно анализировать в состоянии, в котором она особенно точно отражает действительные отношения внутри защитной оболочки реактора. Таким образом, можно получать особенно надежные результаты измерения текущего действительного состояния атмосферы защитной оболочки без необходимости использования обобщенных данных или оценочных величин. За счет достигаемого особенно точного определения действительных величин для атмосферы защитной оболочки обеспечивается особенно соответствующее условиям выполнение и управление противомерами и тем самым особенно надежное управление работой даже при управлении в условиях аварии.
Кроме того, за счет правильно выбранных размеров трубопровода взятия проб и других компонентов происходящую при взятии пробы утечку радиоактивности можно удерживать особенно небольшой даже в сравнительно тяжелых аварийных ситуациях, так что проникновение радиоактивных веществ в окружение можно удерживать особенно небольшим. За счет высококачественной изоляции менее 100 Вт/м2 тепловые потери в зоне трубопровода и шкафа минимизируются до менее 5 кВт непрерывной мощности, так что электрическое снабжение даже в ситуациях отключения тока обеспечивается через сеть батарей или отдельный дизель аварийного электропитания непрерывно или в течение короткого времени. В ранней фазе возможного хода аварии можно обеспечивать непрерывное измерение концентрации водорода с помощью подходящей комбинации с дополнительно расположенными в защитной оболочке реактора датчиками водорода и указанного выше способа. При этом осуществляется дополнительно в нескольких местах в защитной оболочке реактора измерение концентрации водорода по принципу теплового эффекта. Для этого в головке датчика размещают каталитически активную нить и некаталитически действующую нагреваемую нить. При возникновении водорода происходит окисление на каталитически активной нити, которая через кабель соединена с расположенным вне защитной оболочки реактора электронным устройством. Возникающее изменение электрического сопротивления компенсируется с помощью электрической мостиковой схемы. Полученные сигнала дополнительно обрабатываются в используемом в обоих способах блоке управления и оценки. За счет этого в течение короткого времени можно создавать непрерывный сигнал концентрации водорода и при получении анализа и полученного с помощью теплопроводности измерительной величины водорода можно делать выводы о содержании кислорода в атмосфере.
За счет контролирования полученных измерительных величин и сравнения со способом с использованием датчиков и кабеля можно дополнительно контролировать момент выхода из строя кабеля на основе экстремальной нагрузки облучением в зоне кабеля.
В одном из вариантов осуществления системы взятия проб к трубопроводу взятия проб подключен входящий в защитную оболочку реактора возвратный трубопровод.
В одном из вариантов осуществления способа взятия проб пониженное давление спонтанно создают с помощью быстро открывающихся клапанов, а объем всасывания – из возвратного резервуара низкого давления. Объем пробы для отдельного анализа может быть ограничен менее 1 л и/или содержанием радиоактивности менее 1010 Бк. В другом варианте осуществления способа взятия проб при парциальных давлениях пара в несколько бар в местах взятия проб исключают преодоление точки росы в измерительном газе за счет уменьшения давления в блоке анализа предпочтительно до 1 бара.
Ниже приводится подробное описание примеров выполнения изобретения со ссылками на прилагаемые чертежи, на которых изображено:
фиг.1 – система взятия проб;
фиг.2 – альтернативный вариант выполнения системы взятия проб, и
фиг.3 – дроссельное устройство для применения в системе взятия проб согласно фиг.1 или 2.
Одинаковые части обозначены на всех фигурах одинаковыми позициями.
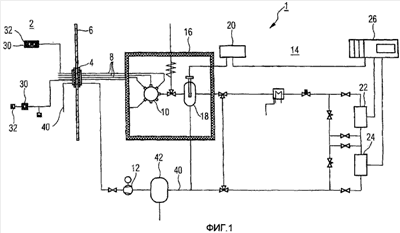
Система 1 взятия проб, показанная на фиг.1, предусмотрена для получения пробы из атмосферы в защитной оболочке 1 реактора неизображенной ядерно-технической установки. Для этого система 1 взятия проб содержит множество входящих в защитную оболочку 2 реактора через проход 4 в ее наружной стенке 6 трубопроводов 8 взятия проб. Они соединены через клапанный блок 10, с помощью которого можно селективно и специально выбирать любой трубопровод 8 взятия проб, с системой 12 пониженного давления и системой 14 анализа. При этом система 14 анализа содержит выполненный с возможностью нагревания по типу термостата наружный корпус 16, в котором дополнительно к клапанному блоку 10 расположен заключенный в кожух газоанализатор 18. Газоанализатор 18, выполненный, например, в виде емкостного датчика, соединен с первым электронным устройством 20 для определения содержания водяного пара, со вторым измерительным местом 22 для определения доли водорода, предпочтительно по принципу теплопроводности, и с третьим измерительным местом 24 для определения доли кислорода. Измерительные места 20, 22, 24 соединены на выходе с центральным электронным блоком 26 оценки, который выполняет также все управление системой и при необходимости сравнение с избыточным сигналом датчика. В неизображенном варианте выполнения охлаждение может отсутствовать, и измерительные места 22 и 24 могут быть расположены также в термостате 16.
Система 1 взятия проб предназначена для получения особенно точных и надежных результатов измерения долей газа атмосферы внутри защитной оболочки 2. Для этого предусмотрено целенаправленное исключение конденсации совместно транспортируемого водяного пара при переводе пробы из внутреннего пространства защитной оболочки 2 реактора в газовый сепаратор 18, так что совместно транспортируемый водяной пар количественно и качественно измеряется и учитывается при последующей оценке. Для обеспечения этого система 1 взятия проб выполнена с возможностью переноса пробы в перегретом состоянии в газовый сепаратор 18 системы 14 анализа. При этом перегретое состояние устанавливается и поддерживается с помощью пассивных средств, т.е. без необходимости внешнего активного вмешательства, за счет того, что при транспортировке пробы в трубопроводе 8 взятия проб устанавливается и удерживается подходяще выбранное пониженное давление. Для этого трубопроводы 8 взятия проб на своем входящем в защитную оболочку 2 реактора конце снабжены каждый дроссельным устройством 30.
Дроссельное устройство 30, перед которым включен для исключения блокирования, а также для сдерживания грубых аэрозолей фильтр 32, состоящий, например, из пористого фильтрующего материала, такого как, например, порошковый металл или сплетения металлических волокон, выполнено при этом целенаправленно так, чтобы сохранять в каждом трубопроводе 8 взятия проб также при вхождении потока атмосферы из внутреннего пространства защитной оболочки 2 реактора пониженное давление, в частности, равное менее примерно 50% давления в защитной оболочке. Для обеспечения этого с помощью сравнительно простых средств каждый трубопровод 8 взятия проб выполнен, с одной стороны, в виде капиллярной трубки с относительно небольшим внутренним номинальным диаметром около 3 мм. С другой стороны, включенное перед ним дроссельное устройство 30 имеет подходящие размеры и имеет свободное проходное поперечное сечение около 0,5 мм. Транспортировка пробы происходит за счет пониженного давления в капиллярных трубках со скоростью предпочтительно от более 5 м/с до 50 м/с, так что можно реализовать небольшие длительности транспортировки.
Дополнительно к этому трубопроводы 8 взятия проб выполнены с возможностью нагревания в зоне снаружи наружной стенки 6 защитной оболочки 2 реактора. Проход через защитную оболочку реактора нагревается с помощью низкотемпературных элементов до менее 80°С.Тем самым обеспечивается, что даже при сравнительно длинном прохождении трубопровода достигается сохранение перегретого состояния взятой пробы до прихода в систему 14 анализа. Для возврата возможно извлеченных вместе с пробой радиоактивных веществ во внутреннее пространство защитной оболочки 2 реактора каждый трубопровод 8 взятия проб соединен с ведущим в защитную оболочку 2 реактора возвратным трубопроводом 40. При этом возвратный трубопровод 40, в который включен в качестве возможного буфера резервуар 42 обратной транспортировки, снабжен предусмотренным в качестве системы 12 пониженного давления вакуумным насосом, так что его можно дополнительно применять для эвакуации соответствующего трубопровода 8 взятия проб, а также для обратной транспортировки в защитную оболочку 2 реактора.
В примере выполнения согласно фиг.2 система 1′ взятия проб имеет систему 14′ анализа, которая выполнена, по существу, модульной. При этом система 14′ анализа содержит модуль 50 взятия проб, а также измерительный модуль 52, который расположен в выполненном в виде термостата нагреваемом наружном корпусе 16. В этом примере выполнения в модуле 50 взятия проб расположен резервуар 54 для изоляции пробы, в котором промежуточно хранится извлеченная через трубопровод 8 взятия проб из внутреннего пространства защитной оболочки 2 реактора проба, непосредственно анализируется или удерживается для последующей оценки. Кроме того, модуль 50 взятия проб содержит необходимые измерительные зонды, микроклапаны со многими вводами, запирающие микроклапаны, быстро открывающиеся вакуумные клапаны и дроссели и/или клапаны уменьшения давления.
За счет включенного перед резервуаром 54 изоляции пробы в трубопроводе 8 взятия проб дополнительный объем 55 обеспечивается то, что в следующей за режимом пониженного давления фазе увеличения давления за счет возможного преодоления точки росы в капиллярной трубке внутри защитной оболочки 2 реактора измененный измерительный газ не транспортируется в объем измерительного газа. В качестве альтернативного решения можно за счет закрывания включенного в трубопровод 8 взятия проб клапана 90 и увеличения давления через подающий газ трубопровод 92 и прохождения через дополнительный объем 55 можно тем же способом достигнуть увеличения давления в резервуаре 54 изоляции пробы без искажения измерительного газа. За счет промывки с помощью сухого газа, например азота, осуществляется сушка этих участков перед взятием следующей пробы. В качестве альтернативного решения сжатие измерительного газа можно инициировать также посредством подачи газа через трубопровод 92 и закрытия клапана 90, при этом на основе предварительно включенного дополнительного объема 55 и поршневого потока в трубопроводе снова исключается вход измененного измерительного газа в резервуар изоляции пробы. При этом дополнительный объем 55 может служить, в частности, буферным объемом и может иметь в 2-5 раз больший объем, чем внутренний объем резервуара 54 изоляции пробы.
В измерительном модуле 52 содержатся компоненты дозирования пробы, а также необходимые для собственно измерения адсорбционные колонки и измерительные места и датчики 20, 22, 24. Измерительный модуль 52 соединен через отводящий трубопровод 56, в который включен вентилятор 58 пониженного давления, с системой 60 отвода воздуха.
Кроме того, система 1′ взятия проб для обеспечения особенно небольшого высвобождения радиоактивности через возвратный трубопровод 40 соединена с участком 62 замедления инертного газа, в частности, на основе активированного угля или цеолита. Как показано также на фиг.2, дополнительно в комбинации к системе взятия проб или в качестве избыточного измерения предусмотрено измерение концентрации водорода. Оно содержит несколько расположенных в защитной оболочке 2 реактора датчиков 94 водорода, которые соединены с расположенным вне защитной оболочки 2 блоком 96 оценки. Полученные в нем сигналы дополнительно подаются в используемый в обоих способах электронный блок управления и оценки.
Пример выполнения включенного перед соответствующим трубопроводом взятия проб дроссельного устройства 30 показан в разрезе и в увеличенном масштабе на фиг.3. Дроссельное устройство 30 содержит основной корпус 70, который через имеющий подходящие размеры и форму стенной держатель 72 закреплен на стенном элементе защитной оболочки 2 реактора. Кроме того, основной корпус 70 соединен с входным концом трубопровода 8 взятия проб.
Для обеспечения дросселированного входа газа атмосферы в трубопровод 8 взятия проб дроссельное устройство 30 содержит дроссельное тело 74, которое по сравнению с номинальным диаметром выполненного в виде капиллярной трубки трубопровода 8 взятия проб около 3 мм имеет меньшее свободное пропускное поперечное сечение около 0,5 мм. Входная зона дроссельного тела 74 окружена, по существу, цилиндрическим, предусмотренным в виде грубого отделителя жидкости отделителя 76 капель и твердых частиц. Внутри отделителя 76 для образования фильтрующего устройства расположено фильтрующее тело 78 из спеченного металла или ткани из металлического волокна. Образованная из этих компонентов система окружена предусмотренной в качестве защиты от брызг оболочкой 80.
Перечень позиций:
1, 1′ Система взятия проб
2 Защитная оболочка реактора
4 Проход
6 Наружная стенка
8 Трубопровод взятия проб
10 Клапанный блок
12 Система низкого давления
14, 14′ Система анализа
16 Наружный корпус
18 Газоанализатор/газовый сепаратор в защитной оболочке реактора
20, 22, 24 Измерительное место
26 Электронный блок оценки и управления процессом
30 Дроссельное устройство
32 Фильтр
40 Возвратный трубопровод
42 Резервуар обратной транспортировки
50 Модуль взятия проб
52 Измерительный модуль
54 Модуль изоляции пробы
55 Дополнительный объем
56 Отводящий трубопровод
58 Вентилятор низкого давления
60 Система отвода воздуха
62 Участок замедления инертного газа
70 Основной корпус
72 Стенной держатель
74 Дроссельное тело
76 Отделитель капель или твердых частиц
78 Фильтрующее тело
80 Оболочка
90 Клапан
92 Подача газа
94 Датчики водорода
96 Блок оценки
Формула изобретения
1. Система (1, 1′) взятия проб для получения пробы из атмосферы в защитной оболочке (2) реактора ядерно-технической установки, содержащая соединенный с системой (12) пониженного давления и соединенный с системой (14) анализа, входящий в защитную оболочку (2) реактора трубопровод (8) взятия проб, перед которым со стороны газа при соединении с атмосферой в защитной оболочке (2) реактора включено дроссельное устройство (30), причем трубопровод (8) взятия проб выполнен в виде небольшого трубопровода с номинальным внутренним диаметром до 15 мм, предпочтительно в виде капиллярной трубки с номинальным внутренним диаметром от около 1 мм до 5 мм.
2. Система (1, 1′) взятия проб п.1, дроссельное устройство (30) которой имеет свободное проходное поперечное сечение от 0,05 до 2 мм, предпочтительно около 0,5 мм.
3. Система (1, 1′) взятия проб по п.1, дроссельное устройство (30) которой снабжено фильтрующим блоком (32).
4. Система (1, 1′) взятия проб по п.1, система (14) анализа которой снабжена нагреваемым наружным корпусом (16).
5. Система (1, 1′) взятия проб по п.1, в которой наружная изоляция ограничивает тепловые потери до менее 100 Вт/м2, предпочтительно менее 50 Вт/м2.
6. Система (1, 1′) взятия проб по п.1, электрическое снабжение которой для защиты от отключений тока содержит батарейную сеть и/или отдельные дизельные агрегаты аварийного электропитания.
7. Система (1, 1′) взятия проб по п.1, которая для управления и регулирования снабжена свободно программируемым цифровым управляющим блоком.
8. Система (1, 1′) взятия проб по п.1, трубопровод (8) взятия проб которой проложен в защитной трубе.
9. Система (1, 1′) взятия проб по п.1, система (12) пониженного давления которой расположена вне защитной оболочки (2) реактора.
10. Система (1, 1′) взятия проб по п.1, в трубопровод (8) взятия проб которой перед входом в систему (14) анализа включен резервуар (54) изоляции пробы.
11. Система (1, 1′) взятия проб по п.11, резервуар (54) изоляции пробы которой имеет в 2-5 меньший внутренний объем, чем включенный перед ним буферный объем.
12. Система (1, 1′) взятия проб по п.1, трубопровод (8) взятия проб которой выполнен с возможностью нагревания в зоне вне защитной оболочки (2) реактора.
13. Система (1, 1′) взятия проб по п.1, система (14) анализа которой содержит для анализа газа на составляющие доли водорода и/или содержание пара и/или моноксида углерода несколько емкостных полимерных датчиков и/или детекторов теплопроводности.
14. Система (1, 1′) взятия проб по п.1, к трубопроводу (8) взятия проб которой подключен входящий в защитную оболочку (2) реактора возвратный трубопровод (40).
15. Система (1, 1′) взятия проб по п.1, содержащая несколько выполненных по принципу теплового эффекта датчиков (94) водорода, которые расположены внутри защитной оболочки (2) реактора и соединены с возможностью передачи данных с наружным блоком (96) оценки и через него с общим электронным блоком (26) оценки.
16. Способ получения пробы из атмосферы в защитной оболочке (2) реактора ядерно-технической установки, в котором в трубопроводе (8) взятия проб создают пониженное давление по сравнению с имеющимся в защитной оболочке (2) реактора давлением, при этом после входа пробы в трубопровод (8) взятия проб давление в трубопроводе (8) взятия проб ограничивают, причем трубопровод (8) взятия проб выполнен в виде небольшого трубопровода с номинальным внутренним диаметром до 15 мм, предпочтительно в виде капиллярной трубки с номинальным внутренним диаметром от около 1 мм до 5 мм.
17. Способ по п.16, в котором пониженное давление спонтанно создают с помощью быстро открывающихся клапанов, а объем всасывания – из возвратного резервуара низкого давления.
18. Способ по любому из пп.17 или 18, в котором после выполненного взятия пробы выполняют изменение давления с обратной промывкой приборов анализа и трубопровода взятия проб.
19. Способ по п.16, в котором объем пробы для отдельного анализа ограничен менее 1 л и/или содержанием радиоактивности менее 1010 Бк.
20. Способ по п.16, в котором дросселируют вхождение пробы в трубопровод (8) взятия проб.
21. Способ по п.16, в котором при парциальных давлениях пара в несколько бар в местах взятия проб за счет уменьшения давления в блоке анализа предпочтительно до 1 бара исключают преодоление точки росы в измерительном газе.
22. Способ по п.16, в котором определяют дополнительную величину измерения для концентрации водорода в защитной оболочке (2) реактора с помощью способа теплового эффекта.
РИСУНКИ
|
|