|
|
(21), (22) Заявка: 2007139448/28, 25.10.2007
(24) Дата начала отсчета срока действия патента:
25.10.2007
(46) Опубликовано: 10.06.2009
(56) Список документов, цитированных в отчете о поиске:
Белоцерковский С.М., Скрипач Б.К., Табачников В.Г. Крыло в нестационарном потоке газа. с.193-197. Изд-во: Наука. Главная редакция физико-математической литературы. – М.: 1971. SU 491062 A1, 05.11.1975. SU 130351 А1, 01.01.1963. SU 445872 А1, 05.04.1974.
Адрес для переписки:
140180, Московская обл., г. Жуковский, ул. Жуковского, 1, ФГУП “ЦАГИ”, отдел 80
|
(72) Автор(ы):
Святодух Виктор Константинович (RU), Колин Иван Васильевич (RU), Лацоев Казбек Федорович (RU), Марков Владимир Георгиевич (RU), Трифонова Тамара Ивановна (RU), Шуховцов Дмитрий Валерьевич (RU)
(73) Патентообладатель(и):
Российская Федерация, от имени которой выступает государственный заказчик – Федеральное агентство по промышленности (Роспром) (RU), Федеральное государственное унитарное предприятие “Центральный аэрогидродинамический институт имени профессора Н.Е. Жуковского” (ФГУП “ЦАГИ”) (RU)
|
(54) СПОСОБ ОПРЕДЕЛЕНИЯ ВРАЩАТЕЛЬНЫХ И НЕСТАЦИОНАРНЫХ ПРОИЗВОДНЫХ КОЭФФИЦИЕНТОВ ПРОДОЛЬНЫХ АЭРОДИНАМИЧЕСКИХ СИЛ И МОМЕНТОВ МЕТОДОМ ВЫНУЖДЕННЫХ КОЛЕБАНИЙ И УСТРОЙСТВО ДЛЯ ЕГО РЕАЛИЗАЦИИ
(57) Реферат:
Изобретение относится к экспериментальной аэродинамике летательных аппаратов и может быть использовано при динамических испытаниях моделей различных летательных аппаратов в аэродинамических трубах. В способе рассмотрены совместные гармонические поступательные и угловые колебания модели в потоке аэродинамической трубы. Способ заключается в выборе значений амплитуд колебаний и фазы между поступательными и угловыми колебаниями модели. Устройство содержит узел крепления модели, размещенный на верхнем конце вертикального вала, механизм поступательных колебаний модели и механизм угловых колебаний модели. При этом механизм поступательных колебаний модели включает двигатель и преобразователь вращения вала двигателя в поступательные колебания модели и выполнен в виде синусного механизма, кривошип которого имеет регулируемую длину радиуса. Механизм поступательных колебаний модели соединен с механизмом угловых колебаний модели, содержащим синусный механизм, кривошип которого жестко закреплен на шипе кривошипа механизма поступательных колебаний модели. Ось угловых колебаний параллельна оси шипа кривошипа механизма поступательных колебаний и смещена по нормали к кривошипу этого механизма на заданное расстояние. Конструкции механизмов поступательных и угловых колебаний обеспечивают выполнение необходимого условия равенства сдвига фаз поступательных и угловых колебаний значению =90°. Технический результат заключается в возможности одновременного измерения раздельных значений вращательных и нестационарных производных аэродинамических сил и моментов, расширении возможностей экспериментальных исследований в аэродинамических трубах. 2 н.п. ф-лы, 2 ил.
Изобретение относится к экспериментальной аэродинамике летательных аппаратов.
Известен способ определения комплексов вращательных и нестационарных производных продольных аэродинамических сил и моментов модели летательного аппарата, основанный на том, что модель в аэродинамической трубе отклоняют на установочный угол тангажа 0, с помощью двигателя реализуют угловые гармонические колебания модели (t)= 0+А sin t относительно неподвижного центра масс с заданными величинами амплитуды A и частоты , во время колебаний измеряют и регистрируют временные зависимости сил Y0(t) и моментов Mz0(t), действующих на модель без потока аэродинамической трубы, затем включают поток и при скорости V потока аналогичным образом измеряют и регистрируют временные зависимости сил и моментов, действующих на модель в потоке, вычисляют амплитуды первых гармоник а1Y, b1Y, a1Mz, b1Mz разложений в ряд Фурье зависимостей Y(t), Mz(t):

а также аналогичные амплитуды первых гармоник зависимостей Y0(t), Mz0(t), по полученным значениям амплитуд первых гармоник исключают инерционные нагрузки на модель, вычисляют комплексы нестационарных и вращательных производных  комплексы статических и нестационарных производных  коэффициентов аэродинамических сил и моментов (см. С.М.Белоцерковский, Б.К.Скрипач, В.Г.Табачников. Крыло в нестационарном потоке газа. Стр. 194-196. Изд-во «Наука». Главная редакция физико-математической литературы. Москва. 1971 г.).
Данный способ позволяет определить лишь комплексы производных при различных значениях установочного угла атаки = 0, частоты колебаний и амплитуды колебаний угла атаки А =А и не позволяет определить составляющие этих комплексов.
Известно устройство для экспериментального определения комплексов вращательных и нестационарных производных, содержащее испытуемую модель, двигатель, кривошип, шатун, вал, оборудованный измерителем сил и моментов, действующих на модель, датчик угла атаки. Изменение частоты колебаний регулируется скоростью вращения вала двигателя, а значение амплитуды A угловых колебаний модели – радиусом кривошипа (см. С.М.Белоцерковский, Б.К.Скрипач, В.Г.Табачников. Крыло в нестационарном потоке газа. Стр.194. Изд-во «Наука». Главная редакция физико-математической литературы. Москва. 1971 г.).
Устройство работает следующим образом. Модель, жестко закрепленную на валу, отклоняют на заданный начальный угол атаки = 0 и фиксируют в этом положении. Включают двигатель, с помощью кривошипно-шатунного механизма вращение вала двигателя преобразуется в угловые колебания модели с круговой частотой и амплитудой А . Измеряют силы и моменты, действующие на модель без потока, включают поток и снова измеряют силы и моменты, определяют комплексы вращательных и нестационарных производных. Изменяют установочный угол атаки модели на заданную величину и снова вычисляют указанные комплексы производных. При необходимости испытания повторяются при других заданных значениях частоты и амплитуды А колебаний модели.
Рассмотренное устройство обеспечивает одинаковые значения угловой скорости тангажа и скорости изменения угла атаки, и не позволяет измерить раздельные значения вращательных и нестационарных производных (см. С.М.Белоцерковский, Б.К.Скрипач, В.Г.Табачников. Крыло в нестационарном потоке газа. Стр.195-197. Изд-во «Наука». Главная редакция физико-математической литературы. Москва. 1971 г.).
За прототип принят способ определения статических и нестационарных производных коэффициентов продольных аэродинамических сил и моментов    модели летательного аппарата, основанный на том, что модель отклоняют на угол тангажа 0, с помощью двигателя реализуют гармонические вертикальные поступательные колебания модели Н(t)=АHcos t с заданными значениями амплитуды АH и частоты при постоянном угле тангажа 0, при колебаниях модели измеряют и регистрируют временные зависимости сил Y0(t) и моментов Mz0(t), действующих на модель без потока аэродинамической трубы, затем включают поток и при скорости V потока аналогичным образом измеряют временные зависимости сил Y(t) и моментов Mz(t), действующих на модель в потоке аэродинамической трубы, вычисляют амплитуды первых гармоник а1Y, b1Y, а1Mz, b1Mz разложений в ряды Фурье зависимостей Y(t), Mz(t):

а также аналогичные амплитуды первых гармоник зависимостей Y0(t), Mz0(t), по полученным значениям амплитуд первых гармоник, исключая инерционные нагрузки на модель, вычисляют нестационарные производные  статические производные  коэффициентов аэродинамических сил и моментов, где – вычисляемое значение амплитуды безразмерной скорости изменения угла атаки, – вычисляемое значение амплитуды приращения угла атаки, bа – средняя аэродинамическая хорда (см. С.М.Белоцерковский, Б.К.Скрипач, В.Г.Табачников. Крыло в нестационарном потоке газа. Стр.194-195. Изд-во «Наука». Главная редакция физико-математической литературы. Москва. 1971 г.).
За прототип принято устройство для измерения производных    моделей летательных аппаратов. Устройство содержит испытуемую модель, закрепленную на верхнем конце вертикального вала, оборудованного измерителем продольных сил и моментов, действующих на испытуемую модель, механизм поступательных вертикальных колебаний модели, включающий двигатель и преобразователь вращения вала в поступательные колебания вертикального вала, датчик вертикальных перемещений модели.
Устройство работает следующим образом. Модель жестко закрепляют на валу под установочным углом тангажа 0. Включают двигатель. С помощью кривошипно-шатунного механизма вращение вала двигателя преобразуется в вертикальные поступательные колебания модели H=АHcos t с частотой и амплитудой АH. Во время колебаний измеряют и регистрируют временные зависимости сил Y0(t) и моментов Mz0(t), действующие на модель без потока аэродинамической трубы, затем включают поток и при скорости V потока снова измеряют временные зависимости сил Y(t) и моментов Mz(t). Исключают инерционные нагрузки, действующие на модель, вычисляют аэродинамические силы и моменты, вычисляют статические и нестационарные производные. Изменяют установочный угол тангажа 0 на заданную величину и снова вычисляют указанные производные. При необходимости испытания повторяют при других заданных значениях частот и амплитуд АH колебаний модели.
Данные устройство и способ позволяют реализовать колебания модели при постоянном угле тангажа и не позволяют проведение испытаний при скорости тангажа  0 (см. С.М.Белоцерковский, Б.К.Скрипач, В.Г.Табачников. Крыло в нестационарном потоке газа. Стр.193-194. Изд-во «Наука». Главная редакция физико-математической литературы. Москва. 1971 г.).
Задачей изобретения является повышение точности измерения вращательных и нестационарных производных    коэффициентов продольных аэродинамических сил и моментов и расширение возможностей экспериментальных исследований в аэродинамических трубах.
Технико-экономическим результатом является определение раздельных вращательных и нестационарных, а также новых комплексов статических и нестационарных производных коэффициентов продольных аэродинамических сил и моментов при совместных угловых и поступательных гармонических колебаниях модели летательного аппарата.
Поставленная задача и технический результат достигаются тем, что в способе определения вращательных и нестационарных производных коэффициентов продольных аэродинамических сил и моментов методом вынужденных колебаний модели летательного аппарата, заключающемся в том, что модель отклоняют на установочный угол тангажа 0, создают с помощью двигателя поступательные гармонические колебания модели в вертикальной плоскости, Н=АH·cos t, с амплитудой AH и частотой , во время колебаний модели без потока измеряют и регистрируют временные зависимости поступательных перемещений H(t), силы Y0(t) и момента Мz0(t), действующие на модель без потока аэродинамической трубы, затем включают поток и при скорости V потока измеряют и регистрируют временные зависимости поступательных перемещений H(t), силы Y(t) и момента Mz(t), действующих на модель при поступательных колебаниях модели, вычисляют амплитуды первых гармоник разложений в ряды Фурье зависимостей Y0(t), Мz0(t), Y(t), Мz(t), вычитают значения амплитуд, полученных в потоке и без потока, вычисляют статические и нестационарные производные коэффициента подъемной силы и коэффициента момента тангажа, обусловленные изменением угла атаки в нем с помощью того же двигателя создают синхронные с поступательными угловые гармонические колебания модели где измеряют и регистрируют временные зависимости угловых отклонений (t) модели, сил Y0(t) и Y(t) и моментов
Мz0(t) и Мz(t), действующие на модель при совместных поступательных и угловых колебаниях модели без потока и в потоке, вычисляют временные зависимости аэродинамической силы Y(t) и момента Mz(t), вычисляют амплитуды
А1 Y(t), B1 Y(t), А1 Mz(t), B1 Mz(t) первых гармоник разложений этих зависимостей в ряд Фурье, вычисляют комплексы вращательных и нестационарных производных аэродинамических сил и моментов


где q – скоростной напор,
S – характерная площадь,
bа – средняя аэродинамическая хорда,

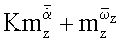
при этом для определения вращательных производных  и нестационарных производных  
задают амплитуду AH поступательных перемещений из условия (К=0).
Поставленная задача достигается также тем, что устройство для определения вращательных и нестационарных производных коэффициентов продольных аэродинамических сил и моментов методом вынужденных колебаний модели летательного аппарата, содержащее узел крепления модели на верхнем конце вертикального вала, снабженный измерителем продольных сил и моментов, действующих на испытуемую модель, механизм поступательных вертикальных колебаний модели, включающий двигатель и преобразователь вращения вала в поступательные колебания вертикального вала, датчик вертикальных перемещений модели, снабжено механизмом угловых колебаний модели, узел крепления модели на верхнем конце вертикального вала выполнен в виде осевого шарнира с возможностью колебаний модели по углу тангажа, устройство преобразования вращения вала двигателя в поступательные колебания вертикального вала выполнено в виде синусного механизма, кривошип которого имеет регулируемый радиус R, механизм поступательных вертикальных колебаний модели соединен с механизмом угловых колебаний модели, содержащим синусный механизм, кривошип которого жестко закреплен на шипе кривошипа механизма поступательных колебаний модели, а ось шипа параллельна оси шипа кривошипа механизма поступательных колебаний и смещена по нормали к радиусу R кривошипа этого механизма на заданное расстояние, соединенную с кулисой механизма угловых колебаний вертикальную раздвижную штангу, верхний конец которой выполнен в виде зубчатой рейки, соприкасающейся с шарнирно закрепленным на вертикальном валу рычагом, один конец которого с помощью стержня, оборудованного измерителем осевой силы стержня, шарнирно соединен с моделью, а другой выполнен в виде зубчатого сектора, входящего в зацепление с зубчатой рейкой, нижний конец которой соединен с дистанционно управляемым электроприводом.
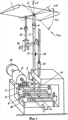
На фиг.1, 2 представлены конструктивные схемы устройств, реализующих предлагаемый способ определения вращательных и нестационарных производных коэффициентов продольных аэродинамических сил и моментов.
Устройство состоит из испытуемой модели 1, механизма вертикальных поступательных колебаний модели, включающего вертикальный вал 2, на верхнем конце которого размещены узел крепления модели 3, выполненный в виде осевого шарнира с возможностью колебаний модели по углу тангажа, измеритель 4 продольных сил и моментов, действующих на модель, датчик 5 вертикальных перемещений модели, двигатель 6, устройство преобразования вращения вала двигателя в поступательные колебания вертикального вала, выполненное в виде синусного механизма, включающего кривошип 7 с регулируемым радиусом R, установленный на валу двигателя, и кулису 8, соединенную с нижним концом вертикального вала, и механизма угловых колебаний модели, содержащего синусный механизм, кривошип которого 9 жестко закреплен на кривошипе 7 так, что ось его шипа параллельна оси шипа кривошипа 7 и смещена относительно нее на заданное расстояние е по нормали к радиусу R кривошипа 7, а кулиса 10 соединена с вертикальной раздвижной штангой 11, содержащей дистанционно управляемый электропривод установочных углов атаки 12, выходной шток 13 которого выполнен в виде зубчатой рейки, соприкасающейся с шарнирно закрепленным на вертикальном валу 2 рычагом 14, один конец которого выполнен в виде зубчатого сектора, входящего в зацепление с зубчатой рейкой, а другой с помощью стержня 15, содержащего измеритель 16 осевой силы стержня, соединен с моделью 1, датчик углового положения модели 17, маховик 18 для стабилизации угловой скорости вращения двигателя в условиях переменных нагрузок.
При реализации совместных поступательных и угловых колебаний предлагаемое устройство работает следующим образом.
Модель, шарнирно закрепленную на вертикальном валу 2 с помощью дистанционно управляемого электропривода 12 отклоняют на установочный угол тангажа 0 (равный установочному углу атаки). Устанавливают величину радиуса кривошипа 8 е исходя из условия обеспечения заданной амплитуды угловых колебаний A , e=rш·A , где rш – радиус зубчатого сектора рычага 14, устанавливают величину радиуса R кривошипа 7 исходя из условия обеспечения заданной величины коэффициента К (К 1) в формулах (3), Так как кривошип 7 закреплен на валу двигателя 6, а кривошип 9 закреплен на шипе кривошипа 7 и повернут по отношению к радиусу R на 90° против вращения двигателя, то реализуются поступательные гармонические колебания модели Н=R·cos( t), где – круговая частота вращения двигателя, и синхронные с ними угловые гармонические колебания модели с амплитудой 
Измеряют и регистрируют временные зависимости угла тангажа 0(t), сил Y0(t) и моментов Mz0(t), действующих на колеблющуюся модель без потока аэродинамической трубы, включают поток и при скорости V потока аналогичным образом измеряют и регистрируют временные зависимости угла тангажа (t), сил Y(t) и моментов Mz(t) при совместных поступательных и угловых колебаниях модели в потоке аэродинамической трубы, вычисляют амплитуды первых гармоник разложений в ряд Фурье зависимостей (Y), Y(t), Мz(t) и аналогичные амплитуды зависимостей, измеренных без потока, исключают инерционные нагрузки, вычисляют комплексы вращательных и нестационарных производных  комплексы статических и нестационарных производных  
Обозначим:
V – скорость потока в аэродинамической трубе,
bа– средняя аэродинамическая хорда крыла модели,
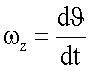
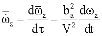
– угловая скорость тангажа модели,
– безразмерное время,
  = – изменение угла атаки при угловых колебаниях модели,
– безразмерная угловая скорость тангажа,

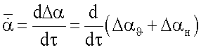
– производная угловой скорости
z( ) по времени ,
– изменение угла атаки при поступательных колебаниях,


 =  + н – изменение угла атаки при совместных угловых и поступательных колебаниях,
– коэффициент подъемной силы,
– коэффициент момента тангажа,
– скоростной напор,
S – характерная площадь.
Известно, что для коэффициентов аэродинамической силы и момента в случае гармонических законов изменения кинематических параметров во времени справедливы формулы Тейлора разложения этих коэффициентов по кинематическим параметрам , z,  
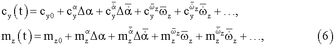
Выражения для коэффициентов cy{t), имеют следующий вид:

В соответствии с приведенными выше обозначениями при поступательных гармонических колебаниях модели, Н=АHcos t, и синхронных с ними угловых гармонических колебаниях модели, = 0+А cos( t+90°)= 0-А0sin t, суммарное изменение угла атаки  =  + H и безразмерная скорость изменения угла  , будут определяться соотношениями


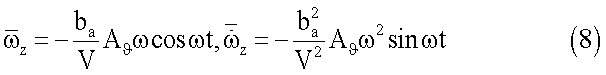
Безразмерная угловая скорость тангажа и безразмерное угловое ускорение тангажа при этом определяются соотношениями

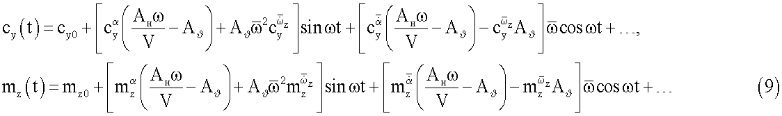
С учетом соотношений (7) и (8) выражения для коэффициентов сy(t), mz(t) (6) принимают вид:

В формуле (9) выражения в квадратных скобках содержат новые комплексы статических и нестационарных производных, а также новые комплексы нестационарных и вращательных производных коэффициентов продольных аэродинамических сил и моментов, измеряемых при двухстепенных угловых и поступательных гармонических колебаниях модели

где 
Если совместные угловые и поступательные колебания осуществлять при условии

при выполнении которого будет К=0, получим следующие выражения:

которые позволяют экспериментально измерить вращательные  и нестационарные производные аэродинамических коэффициентов сy и mz.
Для этого вычислим коэффициенты А1Y, B1Y, A1Mz, B1Mz разложений в ряд Фурье зависимостей Y(t) и Mz(t):

Из соотношений (12) и (13) следуют равенства:

Таким образом, вращательные  и нестационарные производные определяются по следующим формулам:


Формула изобретения
1. Способ определения вращательных и нестационарных производных коэффициентов продольных аэродинамических сил и моментов методом вынужденных колебаний модели летательного аппарата, заключающийся в том, что модель отклоняют на установочный угол тангажа 0, создают с помощью двигателя поступательные гармонические колебания Н модели в вертикальной плоскости, Н=Ан·cos t, с амплитудой Ан и частотой , во время колебаний модели без потока измеряют и регистрируют временные зависимости поступательных перемещений Н(t), силы Y0(t) и момента Mz0(t), действующих на модель без потока аэродинамической трубы, затем включают поток и при скорости V потока измеряют и регистрируют временные зависимости поступательных перемещений H(t), силы Y(t) и момента Mz(t), действующих на модель при поступательных колебаниях модели, вычисляют амплитуды первых гармоник разложений в ряды Фурье зависимостей Y0(t), Mz0(t), Y(t), Mz(t), вычитают значения амплитуд, полученных в потоке и без потока, вычисляют статические и нестационарные производные коэффициента подъемной силы и коэффициента момента тангажа, обусловленные изменением угла атаки отличающийся тем, что создают синхронные с поступательными колебаниями угловые гармонические колебания модели где измеряют и регистрируют временные зависимости угловых отклонений (t) модели, сил Y0(t), Y(t) и моментов Mz0(t), Mz(t), действующих на модель при совместных поступательных и угловых колебаниях модели без потока и в потоке, вычисляют временные зависимости аэродинамической силы Y(t) и момента Mz(t), вычисляют амплитуды A1 Y(t), B1 Y(t), A1 Mz(t), B1 Mz(t) первых гармоник разложений этих зависимостей в ряд Фурье, вычисляют комплексы вращательных и нестационарных производных аэродинамических сил и моментов:
  где q – скоростной напор; S – характерная площадь; ba – средняя аэродинамическая хорда;
 при этом для определения вращательных производных  и нестационарных производных  задают амплитуду Ан поступательных перемещений из условия
(К=0).
2. Устройство для определения вращательных и нестационарных производных коэффициентов продольных аэродинамических сил и моментов методом вынужденных колебаний модели летательного аппарата, содержащее узел крепления модели на верхнем конце вертикального вала, снабженного измерителем продольных сил и моментов, действующих на испытуемую модель, механизм поступательных вертикальных колебаний модели, включающий двигатель и устройство преобразования вращения вала в поступательные колебания вертикального вала, датчик вертикальных перемещений модели, отличающееся тем, что оно снабжено механизмом угловых колебаний модели, узел крепления модели на верхнем конце вертикального вала выполнен в виде осевого шарнира с возможностью колебаний модели по углу тангажа, устройство преобразования вращения вала двигателя в поступательные колебания вертикального вала выполнено в виде синусного механизма, кривошип которого имеет регулируемый радиус, механизм поступательных вертикальных колебаний модели соединен с механизмом угловых колебаний модели, содержащим синусный механизм, кривошип которого жестко закреплен на шипе кривошипа механизма поступательных колебаний модели, а ось шипа параллельна оси шипа кривошипа механизма поступательных колебаний и смещена по нормали к радиусу кривошипа этого механизма на заданное расстояние, вертикальную раздвижную штангу, соединенную с кулисой механизма угловых колебаний, верхний конец штанги выполнен в виде зубчатой рейки, соприкасающейся с шарнирно закрепленным на вертикальном валу рычагом, один конец которого с помощью стержня, оборудованного измерителем осевой силы стержня, шарнирно соединен с моделью, а другой выполнен в виде зубчатого сектора, входящего в зацепление с зубчатой рейкой, нижний конец которой соединен с дистанционно управляемым электроприводом.
РИСУНКИ
|
|