|
|
(21), (22) Заявка: 2007105747/28, 25.04.2005
(24) Дата начала отсчета срока действия патента:
25.04.2005
(30) Конвенционный приоритет:
16.07.2004 US 10/893,189
(43) Дата публикации заявки: 27.08.2008
(46) Опубликовано: 10.06.2009
(56) Список документов, цитированных в отчете о поиске:
US 5625152 А, 29.04.1997. SU 290163 A1, 01.01.1971. SU 943544 A1, 15.07.1982. SU 1425495 A1, 23.09.1988.
(85) Дата перевода заявки PCT на национальную фазу:
16.02.2007
(86) Заявка PCT:
US 2005/014267 20050425
(87) Публикация PCT:
WO 2006/019439 20060223
Адрес для переписки:
129090, Москва, ул. Б.Спасская, 25, стр.3, ООО “Юридическая фирма Городисский и Партнеры”, пат.пов. Ю.Д.Кузнецову, рег. 595
|
(72) Автор(ы):
САНД Уэсли И. (US), НОРД Кристина А. (US), СИТТЛЕР Фред С. (US), МакИНТАЙР Джон (US)
(73) Патентообладатель(и):
РОУЗМАУНТ ИНК. (US)
|
(54) ДАТЧИК ДАВЛЕНИЯ С ВНЕШНИМ НАГРЕВАТЕЛЕМ
(57) Реферат:
Изобретение относится к датчикам давления/вакуума для использования в вариантах применения с высокой степенью чистоты. Техническим результатом изобретения является упрощение конструкции, расширение функциональных возможностей. Датчик включает в себя соединитель, корпус, узел чувствительного элемента, внешний нагреватель, размещенный так, чтобы нагревать узел чувствительного элемента, и съемный узел соединителя, имеющий вход и выход, причем вход соединен с соединителем датчика. В некоторых аспектах узел чувствительного элемента включает в себя чувствительный элемент, изготовленный из хрупкого материала, и не использует заполняющую текучую среду в чувствительном элементе. В другом аспекте изобретение включает в себя комплект, который применяет ненагреваемые датчики вакуума высокой степени чистоты для использования с подогревом. Комплект включает в себя узел соединителя и узел нагревателя, который соединен с узлом соединителя. Узел нагревателя включает в себя оболочку нагревателя, выполненную с возможностью прикрепления к внешней поверхности узла чувствительного элемента. Оболочка нагревателя включает в себя чувствительный к температуре элемент, соединенный с узлом соединителя. Узел соединителя также может включать в себя один или более индикаторов. 3 н. и 24 з.п. ф-лы, 9 ил.
Настоящее изобретение относится к датчикам давления/вакуума. Более конкретно, настоящее изобретение относится к датчикам давления/вакуума для использования в вариантах применения с высокой степенью чистоты.
Датчики давления/вакуума хорошо известны. Эти устройства в типичном варианте подсоединяются к источнику давления или вакуума; генерируют электрическую характеристику, которая варьируется согласно давлению или вакууму; и обеспечивают электрическое представление изменяющейся электрической характеристики, так чтобы вакуум или давление могло быть известно оператору или другим частям технологического процесса.
Датчики давления или вакуума высокой степени чистоты являются относительно небольшим поднабором общих датчиков вакуума или давления. Эти устройства специально приспособлены для воздействия на них чрезвычайно деликатными и/или очень чистыми процессами. Существуют типы процессов, где частица, выходящая из датчика давления или даже дегазирующаяся из него, может оказать вредное воздействие на всю технологическую линию. Один пример такого варианта применения – это технология производства полупроводниковых приборов.
Различные датчики для вариантов применения высокой степени чистоты, включающих в себя, например, напыление или удаление (травление) материалов, как, например, при производстве полупроводниковых приборов, часто нагреваются по ряду причин.
Во-первых, эти датчики нагреваются, чтобы потенциально уменьшать объем напыленного или вытравленного материала, который накапливается на чувствительном к вакууму элементе в датчике. Дополнительно, известные чувствительные к вакууму элементы и электрически связанные компоненты являются чувствительными к температуре, тем самым требуя, чтобы температура датчика была точно управляемой с помощью полностью интегрированного нагревателя. Интегрированный нагреватель обеспечивает, чтобы и чувствительный к давлению элемент, и электрически связанные компоненты находились в точно контролируемом диапазоне температур.
Компоновка интегрированного нагревателя, поддерживающего точную температуру чувствительного к вакууму элемента и электрически связанных компонентов, создала ряд проблем в данной области техники. Например, интегрированный характер нагревателя требует, чтобы поставщики и потребители таких устройств имели запас ненагреваемых датчиков, а также нагреваемых датчиков, часто покрывающих два или три температурных диапазона. Это требует трех- или четырехкратных запасов только ненагреваемых датчиков, тем самым создавая гораздо большие запасы, чем бы требовалось, если бы полностью интегрированные нагреватели не требовались. Другая проблема ныне существующих структур заключается в том, что клиенты должны решать, когда они должны приобрести датчики вакуума, куда точно идет датчик и какой уровень нагревания (если он вообще необходим) потребуется. Ненагреваемые датчики вакуума просто не могут быть преобразованы в нагреваемый датчик. Таким образом, нынешние структуры не являются масштабируемыми для различных вариантов применения, в которых потребители захотят применить их. Еще одна проблема нынешних структур заключается в том, что потребители, которым требуется оценить эффект нагревания при различных температурах датчика вакуума для данного технологического процесса, должны приобретать отдельный датчик для каждой температуры, которая должна быть оценена. Потребители, в общем, могут попробовать различные нагреватели только для одного датчика вакуума и отметить эффект. Таким образом, просто попытка определить то, какой датчик следует использовать, часто создает дополнительные затраты на приобретение одного или более бесполезных (по меньшей мере, для этого варианта применения) датчиков давления, а также дополнительное время на удаление и установку различных датчиков в ходе технологического процесса. Другая проблема нынешних структур заключается в том, что нагреватель интегрирован в тот же корпус, что и чувствительный элемент и электроника. Это означает, что электроника постоянно подвергается действию более высокой температуры, что сокращает срок ее использования.
Сущность изобретения
Раскрыт усовершенствованный датчик давления. Датчик особенно приспособлен для обнаружения вакуума в вариантах применения с высокой степенью чистоты. Датчик включает в себя соединитель, корпус, узел чувствительного элемента и внешний нагреватель, размещенный так, чтобы нагревать узел чувствительного элемента. В некоторых вариантах осуществления узел чувствительного элемента включает в себя чувствительный элемент, изготовленный из хрупкого материала, и не использует заполняющую текучую среду в чувствительном элементе. В другом аспекте изобретение включает в себя комплект, который применяет ненагреваемые датчики вакуума высокой степени чистоты для использования с подогревом. Комплект включает в себя узел соединителя и узел нагревателя, который соединен с узлом соединителя. Узел соединителя также может включать в себя один или более индикаторов.
Краткое описание чертежей
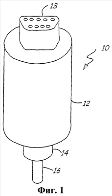
Фиг.1 и 2 – это схематичные представления датчиков вакуума высокой степени чистоты, с которыми варианты осуществления настоящего изобретения особенно применимы.
Фиг.3 – это схематичное представление датчика вакуума высокой степени чистоты в соответствии с предшествующим уровнем техники.
Фиг.4 – это схематичное представление комплекта, который может быть применен к ненагреваемым датчикам вакуума высокой степени чистоты, чтобы применять на практике варианты осуществления настоящего изобретения.
Фиг.5 – это схематичное представление датчика 50 вакуума высокой степени чистоты, соединенного с внешним нагревательным комплектом 52, в соответствии с вариантами осуществления настоящего изобретения.
Фиг.6 – это схематичное представление узла 58 чувствительного элемента, который включает в себя чувствительный элемент 60, сформированный из пары подложек из хрупкого материала.
Фиг.7 – это схематичное представление системы 70 датчиков вакуума высокой степени чистоты в соответствии с другим вариантом осуществления настоящего изобретения.
Фиг.8 – это укрупненное схематичное представление оболочки в соответствии с вариантом осуществления настоящего изобретения.
Фиг.9 – это схематичное представление системы датчиков вакуума высокой степени чистоты с внешним нагревом в соответствии с другим вариантом осуществления настоящего изобретения.
Подробное описание предпочтительных вариантов осуществления
Фиг.1 и 2 – это схематичные представления датчиков вакуума высокой степени чистоты, с которыми варианты осуществления настоящего изобретения особенно применимы. Датчик 10, в общем, включает в себя корпус 12 электронной части чувствительного элемента, узел 14 чувствительного элемента, технологическое соединение 16 и электрический соединитель 18. Технологическое соединение 16, в общем, соединено с источником вакуума или давления в среде высокой степени чистоты и соединяет источник с узлом 14 чувствительного элемента посредством текучей среды. Чувствительный к давлению элемент в модуле 14 имеет электрическую характеристику, которая варьируется в зависимости от давления. Примеры таких чувствительных к давлению элементов включают в себя, без ограничения, основанные на изменчивом мембранном емкостном сопротивлении чувствительные элементы и основанные на изменчивой мембранной деформации чувствительные элементы. Электронная часть в корпусе 12 электронной части чувствительного элемента электрически соединяется с узлом 14 чувствительного элемента так, чтобы можно было измерить изменение электрической характеристики. Дополнительная электронная часть в корпусе 12 может выполнять дополнительные функции, такие как преобразование электрического сигнала в цифровое представление, а также линеаризацию и/или получение характеристик цифрового выхода. Дополнительно, электрический выход может быть сконфигурирован для передачи на основе любого подходящего стандартного промышленного технологического протокола связи, такого как протокол HART® или FOUNDATIONТМ Fieldbus. Система управления технологическими процессами и дополнительные связанные с технологическими процессами устройства могут быть подсоединены к электрическому соединителю 18.
Фиг.3 иллюстрирует датчик вакуума высокой степени чистоты в соответствии с предшествующим уровнем техники. Датчик 20 имеет много сходств с датчиком 10, и аналогичные компоненты пронумерованы одинаково. Датчик 20 включает в себя электронную часть 22 чувствительного элемента, размещенную в корпусе 12 электронной части чувствительного элемента. Нагревательные источники 24 и 26 термически соединены с корпусом 12 и узлом 14 соответственно. Нагревательные источники 24 и 26 обеспечивают нагрев для того, чтобы уменьшить объем осажденного или вытравленного материала, который накапливается на чувствительном к вакууму элементе в датчике. В традиционных структурах нагреватель должен точно контролироваться для того, чтобы поддерживать точность датчика, поскольку чувствительный к давлению элемент и электрически связанные компоненты чувствительны к температуре. Таким образом, нагревательные источники 24 и 26, в общем, изготавливаются с датчиком 20 и интегрированы в него. Это создает ситуацию, при которой полностью изготовленные датчики имеют конкретные диапазоны температур.
Фиг.4 – это схематичное представление комплекта, который может быть применен к ненагреваемым датчикам давления высокой степени чистоты, чтобы применять на практике варианты осуществления настоящего изобретения. Комплект 30, в общем, включает в себя два модуля. Во-первых, комплект 30 включает в себя обогреваемый узел 32, который приспособлен для того, чтобы соединяться с узлом 14 чувствительного элемента. В варианте осуществления, показанном на фиг.4, обогреваемый узел 32 включает в себя отверстие 34, имеющее такой размер, чтобы в него мог проходить внешний диаметр узла 14 чувствительного элемента. Обогреваемый узел 32 включает в себя один или более нагревательных элементов 35, которые могут иметь любую подходящую форму, в том числе катушки, картриджей, вытравленных следов и т.д. Могут быть использованы прижимание и/или другие способы прикрепления обогреваемого узла 32 к узлу 14 чувствительного элемента. Узел 36 соединителя электрически соединен с обогреваемым узлом 32 посредством электрического соединения 38. Узел 36 соединителя предпочтительно включает в себя схему для того, чтобы вычислять температуру обогреваемого узла 32 с помощью чувствительного к температуре элемента 33, размещенного в обогреваемой части 32. Дополнительно, узел 36 соединителя включает в себя известную схему управления нагревателем (не показана) для того, чтобы выборочно подавать питание на нагревательные элементы 35 в обогреваемом узле 32 так, чтобы поддерживать повышенную температуру обогреваемого узла 32. Электрическое соединение 38 между узлом 36 соединителя и обогреваемым узлом 32 может включать в себя любое подходящее число проводников. Например, в вариантах осуществления, где обогреваемый узел 32 включает в себя электрический нагревательный элемент и чувствительный к температуре элемент, соединение 38 включает в себя подходящие проводники для всех нагревательных элементов и/или чувствительных элементов в узле 32.
Узел 36 соединителя предпочтительно имеет размер и сконфигурирован таким образом, чтобы соединяться непосредственно с соединителем 18 датчика давления высокой степени чистоты на входе 40. Например, когда соединитель 18 – это 25-контактный D-субминиатюрный штекер, вход 40 – это 25-контактное D-субминиатюрное гнездо. Узел 36 соединителя также включает в себя выход 42, который предпочтительно сконфигурирован таким образом, чтобы имитировать выход соединителя 18. В вышеприведенном примере выходом 42 должен быть 25-контактный D-субминиатюрный штекер. Эта компоновка, в которой вход 40 и выход 42 представляют собой просто противоположные гендерные типы друг друга (т.е. типы охватываемой и охватывающей частей, т.н. «папы» и «мамы»), является предпочтительной. Тем не менее, в явной форме предполагается, что это могут быть различные типы соединений. Например, входом 40 может быть 9-контактное D-субминиатюрное гнездо, а выходом может быть 25-контактное D-субминиатюрное гнездо, в случае если надлежащие соединители сконфигурированы друг с другом и исполнение поддерживается посредством системы, которая соединяется с выходом 42.
Фиг.5 – это схематичное представление датчика 50 давления высокой степени чистоты, соединенного с внешним нагревательным комплектом 52, в соответствии с вариантом осуществления настоящего изобретения. Система 54, состоящая из датчика 50 и комплекта 52, считается системой 54 датчиков давления высокой степени чистоты с внешним нагревом в соответствии с вариантами осуществления настоящего изобретения.
В этом варианте осуществления датчик 50 отличается от датчика 20, по меньшей мере, в одном важном отношении. Датчик 50 включает в себя усовершенствованный узел 58 чувствительного элемента, более полно раскрытый ниже. Узел 58 обнаруживает уменьшение эффектов гистерезиса и температуры. Узел 58 предоставляет возможность потенциально менее затратного температурного контроля узла чувствительного элемента, а также отдельной температурной корректировки чувствительного элемента.
Фиг.6 – это схематичное представление примерного узла 58 чувствительного элемента, который включает в себя чувствительный элемент 60, сформированный из пары подложек 62, 64 из хрупкого материала. Эта структура известна в области техники измерения давления, и дополнительную информацию можно найти в Патентах США 5637802 и 6089097 авторов Frick и Др., оба из которых принадлежат заявителю настоящего изобретения. Фиг.6 показывает чувствительный элемент 60, имеющий верхнюю подложку 62 и нижнюю подложку 64, которые между собой образуют полость 66. Фиг.6 показывает общую длину L, толщину Т, ширину W, минимальную толщину полости w структуры прогиба измерительной полости и прогиб в центральной части y вследствие применяемого давления. Предпочтительно подложки 62 и 64 сформированы из монокристаллического материала, такого как сапфир, и соединены друг с другом методом сплавления для того, чтобы сформировать цельную структуру. Другими словами, соединение между подложками 62 и 64 практически свободно от примесей, которые могут приводить к неточностям или загрязнению. Дополнительно, предпочтительно, чтобы чувствительный элемент 60 работал без какой-либо заполняющей текучей среды, которая является еще одним источником потенциального загрязнения.
Возвращаясь к фиг.5, комплект 52 включает в себя обогреваемый узел 32, размещенный над узлом 58 чувствительного элемента датчика 50 и термически соединенный с ним. Узел 56 соединителя комплекта 52 предпочтительно идентичен узлу 36 соединителя (проиллюстрированному на фиг.4) за исключением индикаторов 57. Индикаторы 57 соединены со схемой в узле 36 соединителя, чтобы внешне указывать состояние внешнего нагревательного комплекта 52 и/или датчика 50 давления высокой степени чистоты. В одном варианте осуществления индикаторами 57 являются светодиодные индикаторы. Светодиодные индикаторы могут быть использованы для того, чтобы показывать общую мощность в системе, подачу питания в нагревательный элемент обогреваемого узла 32, фактическую температуру ниже требуемой температуры, фактическую температуру при требуемой температуре и/или фактическую температуру выше требуемой температуры. Дополнительно, индикаторы 57 могут принимать любую подходящую форму, в том числе (но не только) цифровых дисплеев, показывающих текущую температуру, заданные коды и/или коды аварийных оповещений. Наконец, индикаторы 57 также могут быть использованы для того, чтобы индицировать состояние датчика вакуума высокой степени чистоты. Например, датчик 50 вакуума высокой степени чистоты может быть снабжен диагностической схемой/программным обеспечением для того, чтобы предоставить возможность датчику 50 определять, работает ли он эффективно, или требуется ли ему ремонт. В таком случае состояние индицируется наружу посредством одного или более индикаторов 57.
Как проиллюстрировано на фиг.4 и 5, узлы 36 и 56 соединителей предпочтительно имеют входы и выходы, которые имеют одинаковый тип соединения (например, 25-контактное D-субминиатюрное), но имеют входы и выходы противоположного гендерного типа.
Фиг.7 – это схематичное представление системы 70 датчиков давления высокой степени чистоты в соответствии с другим вариантом осуществления настоящего изобретения. Датчик 70 включает в себя комплект 72 внешних электрических нагревателей, который в некоторой степени аналогичен комплекту 52, описанному в отношении фиг.5. Тем не менее, обогреваемый узел 74 комплекта 72 отличается от обогреваемого узла 54 тем, что обогреваемый узел 74 состоит из охватывающего чувствительного элемента 76 нагревателя. Чувствительный элемент 76 нагревателя сформирован, в общем, из гибкого блока, который, когда он уложен в плоскости, имеет прямоугольную форму. Блок включает в себя нагревательные элементы и чувствительный к температуре элемент, такой как терморезистор, термопара или резистивный термометр (RTD). Прямоугольные габариты оболочки чувствительного элемента нагревателя таковы, что оболочка может быть приложена к узлу 58 чувствительного к давлению элемента и практически охватывает узел 58. Чтобы прикрепить оболочку чувствительного элемента к узлу 58, может быть использовано любое подходящее связывающее и/или зажимное приспособление.
Фиг.8 – это укрупненное схематичное представление оболочки в соответствии с вариантом осуществления настоящего изобретения. Как проиллюстрировано, оболочка применяется таким образом, чтобы быть размещенной над узлом чувствительного элемента 58 и прикрепленной к нему посредством связующего, зажима или и того, и другого.
Фиг.9 – это схематичное представление системы 80 датчиков вакуума высокой степени чистоты с внешним нагревом в соответствии с другим вариантом осуществления настоящего изобретения. Система 80 включает в себя внешний нагревательный комплект 82, который включает в себя узел обогреваемой оболочки, электрически соединенный с узлом 84 соединителя. Узел 84 соединителя отличается от ранее описанных узлов соединителей тем, что узел 84 соединителя имеет примерно такие же внешние габариты (к примеру, диаметр), что и корпус 12 электронной части нагревательного элемента. Узел 84 соединителя предоставляет дополнительное пространство для схемы в нем. Предпочтительно узел 84 соединителя, тем не менее, включает в себя пару практически идентичных соединителей, при этом входные и выходные соединители имеют противоположный гендерный тип. Как проиллюстрировано, узел 84 соединителя предпочтительно включает в себя одну или более крепежных деталей 86 (например, винтов), которые обеспечивают то, чтобы узел 84 соединителя мог быть надежно прикреплен к корпусу 12 электронной аппаратуры чувствительного элемента. Узел 84 соединителя также включает в себя множество индикаторов 57, чтобы предоставлять вышеописанные индикации. Индикаторы 57 проиллюстрированы на фиг.9 как размещенные на верхней поверхности 88 узла 84 соединителей. Тем не менее, индикаторы 57 могут быть размещены в любой надлежащей позиции.
Применение сборочного узла нагреватель/чувствительный элемент рядом с узлом чувствительного элемента датчика давления предоставляет ряд преимуществ. Во-первых, при выходе из строя сборочный узел может быть снят и заменен. Дополнительно, различные сборочные узлы нагреватель/чувствительный элемент могут быть быстро и просто заменены, чтобы подходить под различные варианты применения и диапазоны температур. Например, один сборочный узел может быть рекомендован для высоких температур; другой сборочный узел может быть рекомендован для высоких требований к мощности нагрева; и еще один сборочный узел может быть рекомендован для сверхточного терморегулирования. Следовательно, один сборочный узел может быть использован для первого диапазона температур, тогда как второй сборочный узел может быть использован для второго диапазона температур. Первый и второй диапазоны могут перекрываться, но не обязательно. Таким образом, выбор сборочных узлов позволяет предоставлять большую степень масштабируемости.
Хотя настоящее изобретение описано со ссылками на предпочтительные варианты осуществления, специалисты в данной области техники должны понимать, что изменения могут быть сделаны в форме и деталях без отступления от духа и рамок изобретения. Например, хотя варианты осуществления настоящего изобретения, в общем, ориентированы на измерении вакуума в среде высокой степени чистоты, варианты осуществления настоящего изобретения также могут быть использованы в датчиках давления газа, где датчики подвергаются охлаждению Джоуля-Топмсона, создаваемому посредством расширения газов.
Формула изобретения
1. Датчик давления, содержащий: соединитель; корпус электронной части чувствительного элемента; узел чувствительного элемента, сформированный в нем, при этом узел чувствительного элемента присоединен к корпусу электронной части чувствительного элемента; внешний нагреватель, размещенный над узлом чувствительного элемента, чтобы повышать температуру узла чувствительного элемента; и съемный узел соединителя, имеющий вход и выход, при этом вход соединен с соединителем датчика.
2. Датчик по п.1, в котором чувствительный элемент сформирован из монокристаллического материала.
3. Датчик по п.1, в котором чувствительный элемент присоединен посредством сплавления.
4. Датчик по п.1, дополнительно содержащий схему управления нагревателем, размещенную в узле соединителя и соединенную с внешним нагревателем.
5. Датчик по п.4, дополнительно содержащий чувствительный к температуре элемент, соединенный со схемой управления нагревателем и размещенный таким образом, чтобы измерять температуру узла чувствительного элемента.
6. Датчик по п.1, в котором внешний нагреватель соединен с узлом соединителя вне корпуса электронной части нагревательного элемента.
7. Датчик по п.1, в котором вход и выход имеют одинаковый тип соединения, но противоположный друг другу гендерный тип.
8. Датчик по п.1, в котором узел соединителя включает в себя, по меньшей мере, один индикатор.
9. Датчик по п.8, в котором, по меньшей мере, один индикатор включает в себя светодиодный индикатор.
10. Датчик по п.1, в котором внешний нагреватель включает в себя отверстие, имеющее такой размер, чтобы в него проходил узел чувствительного элемента.
11. Датчик по п.1, в котором внешний нагреватель включает в себя чувствительный к температуре элемент для измерения температуры узла чувствительного элемента.
12. Датчик по п.1, в котором внешний нагреватель включает в себя оболочку нагревателя, прикрепленную к узлу чувствительного элемента.
13. Датчик по п.12, в котором оболочка нагревателя включает в себя чувствительный к температуре элемент для измерения температуры узла чувствительного элемента.
14. Датчик по п.1, при этом датчик представляет собой датчик высокой степени чистоты, который обнаруживает вакуум.
15. Датчик по п.1, в котором чувствительный элемент сформирован из хрупкого материала.
16. Датчик по п.1, в котором внешний нагреватель является сменным, чтобы варьировать диапазон рабочих температур датчика.
17. Датчик по п.1, в котором внешний нагреватель включает в себя, по меньшей мере, один нагревательный элемент.
18. Датчик по п.17, в котором, по меньшей мере, одним нагревательным элементом является катушка.
19. Датчик по п.17, в котором, по меньшей мере, одним нагревательным элементом является вытравленный след.
20. Комплект для внешнего нагрева узла чувствительного элемента датчика давления, при этом комплект содержит: узел нагревателя, имеющий такой размер, чтобы внешне прикрепляться к узлу чувствительного элемента чувствительного к давлению элемента; и узел соединителя, соединенный с узлом нагревателя и выполненный с возможностью выборочно подавать питание в узел нагревательного элемента, чтобы поддерживать повышенную температуру узла нагревателя; причем упомянутый узел нагревателя включает в себя оболочку нагревателя, выполненную с возможностью прикрепления к внешней поверхности узла чувствительного элемента; причем упомянутая оболочка нагревателя включает в себя чувствительный к температуре элемент, соединенный с узлом соединителя.
21. Комплект по п.20, в котором узел нагревателя включает в себя отверстие, имеющее такой размер, чтобы в него проходил узел чувствительного элемента чувствительного к давлению элемента.
22. Комплект по п.20, в котором узел нагревателя дополнительно включает в себя чувствительный к температуре элемент, соединенный с узлом соединителя.
23. Комплект по п.20, в котором узел соединителя включает в себя вход и выход, при этом вход и выход имеют одинаковый тип соединения, но противоположный друг другу гендерный тип.
24. Комплект по п.20, в котором узел соединителя включает в себя, по меньшей мере, один индикатор.
25. Комплект по п.20, в котором чувствительный к давлению элемент представляет собой чувствительный к вакууму элемент высокой степени чистоты.
26. Множество комплектов для внешнего нагрева узла чувствительного элемента датчика давления, при этом множество комплектов содержит: первый комплект, содержащий: узел нагревателя первого комплекта, имеющий такой размер, чтобы прикрепляться снаружи к узлу чувствительного элемента датчика давления; и узел соединителя первого комплекта, соединенный с узлом нагревателя первого комплекта и выполненный с возможностью выборочно подавать питание в узел нагревательного элемента первого комплекта, чтобы поддерживать повышенную температуру узла нагревателя первого комплекта в первом диапазоне температур; и второй комплект, содержащий: узел нагревателя второго комплекта, имеющий такой размер, чтобы прикрепляться снаружи к узлу чувствительного элемента датчика давления; и узел соединителя второго комплекта, соединенный с узлом нагревателя второго комплекта и выполненный с возможностью выборочно подавать питание в узел нагревательного элемента второго комплекта, чтобы поддерживать повышенную температуру узла нагревателя второго комплекта во втором диапазоне температур.
27. Множество комплектов по п.26, в которых первый и второй диапазоны температур не перекрываются.
РИСУНКИ
|
|