|
|
(21), (22) Заявка: 2006130806/28, 20.01.2005
(24) Дата начала отсчета срока действия патента:
20.01.2005
(30) Конвенционный приоритет:
28.01.2004 US 60/539,645
(43) Дата публикации заявки: 20.03.2008
(46) Опубликовано: 10.06.2009
(56) Список документов, цитированных в отчете о поиске:
US 6402031 В1, 11.06.2002. US 4737787 А, 12.04.1988. RU 16759 U1, 10.02.2001. DE 19606747 A1, 28.08.1977. DE 29903260 U1, 13.04.2000. DE 10113646 A1, 26.09.2002. DE 3915456 A1, 15.11.1990. RU 98108607 A, 20.06.2000.
(85) Дата перевода заявки PCT на национальную фазу:
28.08.2006
(86) Заявка PCT:
EP 2005/000544 20050120
(87) Публикация PCT:
WO 2005/075944 20050818
Адрес для переписки:
129090, Москва, ул. Б.Спасская, 25, стр.3, ООО “Юридическая фирма Городисский и Партнеры”, пат.пов. Ю.Д.Кузнецову, рег. 595
|
(72) Автор(ы):
МЕЛЛЕРТ Мартин (DE), ФЕРЕНБАХ Йозеф (DE), ДЕК Томас (DE)
(73) Патентообладатель(и):
ФЕГА ГРИСХАБЕР КГ (DE)
|
(54) ИСТОЧНИК ПИТАНИЯ ДЛЯ МАЛОМОЩНЫХ ПЕРЕКЛЮЧАЮЩИХ ДАТЧИКОВ МОДУЛЬНОЙ СИСТЕМЫ
(57) Реферат:
Изобретение относится к источнику питания для питания модульной измерительной системы. Измерительная система содержит модульный блок отображения и регулирования и модульный блок маломощного датчика. Кроме того, изобретение относится к модульной системе, содержащей источник питания, блок отображения и регулирования и блок маломощного датчика. Изобретение, кроме того, относится к блоку датчика со встроенным накопителем энергии для питания подключенного к нему блока отображения и регулирования. Благодаря тому что источник питания выполнен с возможностью расположения и электрического соединения между блоком отображения и регулирования и блоком маломощного датчика, обеспечивается одновременная подача питания на блок отображения и регулирования и блок маломощного датчика, что позволяет осуществлять обмен данными между блоком отображения и регулирования и блоком маломощного датчика. 3 н. и 19 з.п. ф-лы, 10 ил.
ОБЛАСТЬ ТЕХНИКИ, К КОТОРОЙ ОТНОСИТСЯ ИЗОБРЕТЕНИЕ
Настоящее изобретение относится к источнику питания, предназначенного для активации модульной измерительной системы, а также к модульной системе, содержащей блок отображения и настройки, источник питания и блок маломощного датчика. Кроме того, настоящее изобретение относится к блоку маломощного датчика, имеющему встроенное в него устройство накопления энергии.
Маломощные датчики, к которым применимо настоящее изобретение, должны быть датчиками с двухпроводным контуром управления типа интерфейса Namur, имеющими очень небольшую потребляемую мощность, например менее 1,2 мА при 5 В для всего датчика. Например, это может быть блок датчика или переключающий датчик определения уровня, использующий емкостные электроды, проводящие электроды или переключатель уровня для жидкостей и твердых тел.
УРОВЕНЬ ТЕХНИКИ, ПРЕДШЕСТВУЮЩИЙ ИЗОБРЕТЕНИЮ
Маломощные датчики, такие как датчики измерения и определения/переключения уровня для жидкостей и твердых тел, имеющие двухпроводной контур управления типа интерфейса Namur, работают при очень небольшой потребляемой мощности в диапазоне ниже 1,2 мА при 5 В. Имеющейся в датчике энергии достаточно для определения уровня. Однако если к датчику подключить дополнительный компонент, например блок регулировки, что может иметь место при регулировке или установке датчика, то имеющейся в датчике энергии будет недостаточно для питания и этого дополнительного внешнего компонента, например блока регулировки, присоединенного к датчику.
В модульной системе, о которой идет речь в настоящем изобретении, модульный блок отображения и регулировки, подключаемый к блоку маломощного датчика, требует дополнительного источника питания для своей работы, то есть для ввода, вывода и обработки данных. Измерительные устройства, содержащие датчики, дополнительные внешние компоненты и один источник питания, описаны, например, в WO 00/50847 Al, DE 19547281 A1 и DE 10113646 A1, но в них один источник питания не снабжает одновременно маломощные датчики и внешние компоненты. Обычные источники питания для схем малой мощности, описанные, например, в WO 1993/004422, способны лишь регулировать входную мощность, предназначенную для активации маломощных датчиков, но в них отсутствуют интерфейсы для подключения и питания внешних компонентов. Однако поскольку система является модульной, блок отображения и регулирования также может использоваться совместно с другими блоками датчиков, например с датчиками, непрерывно работающими в диапазоне 4-20 мА. Они выдают достаточно энергии для активации блока отображения и регулирования даже в отсутствие дополнительного внешнего или внутреннего источника питания. Следовательно, имело бы смысл создать источник питания, который можно было бы использовать в модульной системе как для подачи питания на блок отображения и регулирования, так и дополнительно для подачи питания на блок маломощного датчика с целью одновременной работы с блоком отображения и регулирования, когда он подключен к датчику.
Кроме того, имеется дополнительное требование к питанию в пределах самого блока маломощного датчика, например, для обработки данных, полученных от подключенного к нему компонента и для передачи данных между блоком маломощного датчика и подключенным к нему компонентом, например указанным выше блоком отображения и регулирования.
СУЩНОСТЬ ИЗОБРЕТЕНИЯ
Согласно одному аспекту настоящего изобретения представлен источник питания для активации модульной измерительной системы, измерительная система содержит модульный блок отображения и регулирования и модульный блок маломощного датчика. Источник питания выполнен с возможностью размещения и электрического подключения между блоком отображения и регулирования и блоком маломощного датчика, что позволяет одновременно активировать модульный блок отображения и регулирования и блок маломощного датчика. Кроме того, обеспечивается передача данных между блоком отображения и регулирования и блоком маломощного датчика. Согласно варианту осуществления настоящего изобретения источник питания снабжен средствами соединения для разъемного соединения блока источника питания с блоком отображения и регулирования и/или с блоком маломощного датчика.
Датчик для блока маломощного датчика, о котором идет речь, снабжен, например, двухпроводным контуром управления, как, например, в интерфейсе Namur, и предъявляет очень низкие требования к энергопотреблению – менее 1,2 мА при 5 В для всего датчика. Это означает, что мощности достаточно для измерения или детектирования, но от блока датчика такого типа нельзя запитать другой электрический компонент. Таким образом, в настоящем изобретении речь идет о блоках датчиков, которые используются для определения или измерения уровня, например о блоках переключающих датчиков, использующих емкостные электроды, проводящие электроды или переключатель уровня для жидкостей и твердых тел.
Термин “блок отображения и регулирования” относится, например, к модулю модульной измерительной системы, который применим ко всем видам датчиков, выполненных с возможностью разъемного соединения с блоком отображения и регулирования. Другие блоки датчиков, к которым может быть подключен блок отображения и регулирования, могут включать радиолокационные, ультразвуковые измерительные средства и измерительные средства с направленной микроволной, предназначенные для измерения уровня, а также гидростатические датчики давления и динамические датчики давления, предназначенные для измерения давления. Однако все эти блоки датчиков используют датчики, непрерывно работающие с током от 4 до 20 мА. Они, в отличие от датчиков для измерения уровня или переключающих датчиков, также могут обеспечить питание дополнительных компонентов от блока датчика при подключении этих компонентов.
Блок отображения и регулирования, используемый в модульной измерительной системе, может служить для ввода данных или команд, которые будут переданы в блок маломощного датчика. Его также можно использовать просто для вывода данных из блока маломощного датчика при его подключении. В этом случае он будет выступать лишь в роли блока отображения для отображения общей информации от блока маломощного датчика. Однако блок отображения и регулирования может также использоваться как для ввода, так и для вывода/отображения данных при его подключении к блоку маломощного датчика. В любом случае один блок отображения и регулирования может использоваться для пары блоков датчиков, поскольку он является модульным и подключается к блоку датчика разъемным образом. Такой блок отображения и регулирования уже выпускается под товарным знаком “plicscom” компанией VEGA Grieshaber KG, Германия. Следовательно, согласно одному варианту осуществления настоящего изобретения источник питания может быть снабжен, по меньшей мере, одной торцевой поверхностью, имеющей средства обеспечения соединения для соединения со средствами обеспечения соединения блока отображения и регулирования, выпускаемого под торговым знаком “plicscom”.
Согласно другому аспекту настоящего изобретения источник питания имеет корпус, который выполнен с возможностью размещения между блоком отображения и регулирования и блоком маломощного датчика и в котором размещен накопитель энергии. Корпус может быть выполнен из любого материала, который также подходит для блока датчика или для блока отображения и регулирования. Это будет зависеть от области применения, то есть от того, в какой среде и при каких условиях осуществляется измерение, например в тепле или в холоде, в вакууме или при избыточном давлении, в агрессивных и абразивных продуктах. Материалами для корпуса могут служить, например, пластмасса, нержавеющая сталь или алюминий с пластиковым покрытием.
Накопителем энергии может быть батарея, аккумулятор или конденсатор Gold CAP. В случае использования батареи ее необходимо время от времени менять. Поэтому накопитель энергии, а именно батарея, должен быть размещен в корпусе таким образом, чтобы к нему был обеспечен легкий доступ. В случае использования аккумулятора или конденсатора Gold CAP должны быть предусмотрены дополнительные средства для подзарядки аккумулятора или конденсатора Gold CAP.
Согласно еще одному аспекту изобретения источник питания выполнен с возможностью соединения с блоком маломощного датчика, содержащего зонд для измерения или определения/переключения уровня жидкостей и твердых тел, имеющего двухпроводной контур управления, в частности, интерфейс Namur, предъявляющий требования к энергопотреблению менее 1,2 мА при 5 В. Источник питания, подключенный к блоку маломощного датчика такого типа, обеспечивает работу этих блоков датчиков в режиме, который является обычным для непрерывно работающих датчиков в диапазоне 4-20 мА. Поэтому можно не только проводить измерение или определение, но и другие электрические компоненты могут работать от дополнительной энергии, предоставляемой источником питания.
Согласно еще одному аспекту изобретения корпус источника питания снабжен соответствующими средствами крепления, выполненными с возможностью взаимодействия с соответствующими средствами крепления блока отображения и регулирования и блока маломощного датчика. Средства крепления обеспечивают разъемное прикрепление источника питания как к блоку отображения и регулирования, так и к блоку маломощного датчика. Поскольку измерительная система, в целом, является модульной, средства крепления должны быть единообразными, то есть средства крепления должны быть такими, чтобы источник питания можно было прикрепить к блоку маломощного датчика, но блок отображения и регулирования также должен иметь возможность крепиться непосредственно к блоку маломощного датчика без источника питания, находящегося между ними. Могут применяться различные типы средств крепления, однако они должны обеспечивать разъемное соединение, например штыковое соединение.
Кроме того, согласно еще одному аспекту изобретения источник питания имеет первые и вторые контактные средства, причем первые контактные средства предназначены для соединения накопителя энергии с блоком отображения и регулирования, а также с блоком маломощного датчика с целью их питания. Вторые контактные средства предназначены для линий передачи данных и обеспечивают передачу или обмен данными между блоком отображения и регулирования и блоком маломощного датчика. Эти линии соединены через корпус источника питания. Они могут соединять, например, контроллер блока отображения и регулирования с микроконтроллером блока маломощного датчика, обеспечивая передачу данных, например, для конфигурирования блока датчика или для сохранения данных от блока датчика.
Однако средства обеспечения контакта и средства крепления источника таковы, что блок отображения и регулирования можно расположить на источнике питания, по меньшей мере, в двух положениях. Конструкция, в соответствии с которой этого можно достичь, раскрыта в патентной заявке США 10/639232 или в международной заявке PCT/EP03/08940, содержание которых полностью включено в настоящий документ в качестве ссылки.
Кроме того, согласно еще одному аспекту изобретения, представлена модульная система, содержащая модульный блок отображения и регулирования, вышеописанный источник питания, модульный блок маломощного датчика, которые разъемным образом соединяются друг с другом, причем источник питания одновременно питает как блок отображения и регулирования, так и блок маломощного датчика, когда модули соединены друг с другом. Это означает, что питание подается не только на дополнительный компонент, а именно на блок отображения и регулирования, но дополнительно питание подается и на блок датчика. Это позволяет решать дополнительные задачи, помимо возможной задачи измерения, например, обеспечивать связь контроллера блока маломощного датчика с контроллером блока отображения и регулирования.
Модульная система содержит согласно еще одному аспекту изобретения блок маломощного датчика с зондом для измерения или определения и/или переключения уровня жидкостей или твердых тел, зонд содержит двухпроводной контур управления, в частности интерфейс Namur, допускающий очень низкие требования к энергопотреблению менее 1,2 мА при 5 В.
Согласно дополнительному аспекту изобретения блок маломощного датчика может быть отрегулирован при помощи блока отображения и регулирования, при этом блок источника питания располагается между ними.
Еще один аспект изобретения заключается в том, что контроллер, размещенный в блоке отображения и регулирования, и микроконтроллер, размещенный в блоке маломощного датчика, взаимодействуют друг с другом и с блоком источника питания, имеющим средства обеспечения контакта, соединяющие соответствующие линии передачи данных, проходящие через корпус, подключенный между двумя другими блоками.
Согласно дополнительному аспекту изобретения модульная система содержит аналого-цифровой преобразователь, встроенный или находящийся вне по отношению к микроконтроллеру блока маломощного датчика, который считывает напряжение с источника питания, чтобы при предварительно заданном значении напряжения замкнуть цепь, тем самым соединяя блок источника питания с микроконтроллером.
Согласно еще одному аспекту изобретения блок отображения и регулирования и блок источника питания выполнены с возможностью прикрепления друг к другу, по меньшей мере, в двух положениях.
Кроме того, согласно одному аспекту изобретения предусмотрен блок датчика, содержащий маломощный датчик, работающий в диапазоне ниже 1,2 мА при 5 В, который сконфигурирован в виде модуля и который выполнен с возможностью разъемного прикрепления к модульному блоку отображения и регулирования и электрического соединения с ним, в соответствии с чем блок датчика содержит накопитель энергии и источник питания, что позволяет активировать как блок датчика, так и блок отображения и регулирования, когда последний прикреплен и электрически соединен с блоком датчика.
Блок датчика имеет в качестве источника энергии аккумулятор или конденсатор Gold CAP, который заряжается от источника питания со ступенчатой регулировкой, причем зарядный ток может варьироваться в зависимости от активного тока в датчике. Еще один аспект изобретения заключается в том, что блок датчика дополнительно содержит микроконтроллер, циклически опрашивающий, прикреплен ли блок отображения и регулирования, и обеспечивающий подсоединение блока отображения и регулирования со встроенным источником питания в случае обнаружения наличия блока отображения и регулирования.
Согласно еще одному аспекту изобретения микроконтроллер контролирует рабочее напряжение накопителя энергии, осуществляя деактивацию блока отображения и регулирования при обнаружении падения рабочего напряжения ниже предварительно заданного порогового значения, и перезаряжает накопитель энергии, причем подача питания для измерительной операции не прерывается. Таким образом, постоянно обеспечивается надежность проведения измерительной операции. Согласно еще одному аспекту изобретения микроконтроллер активирует блок отображения и регулирования при обнаружении, что накопитель энергии достиг минимального рабочего значения.
Ниже приведены подробные описания различных вариантов осуществления вышеуказанного блока отображения и регулирования. С учетом этих подробных описаний становятся более ясными примерные варианты осуществления источника питания и/или модульной системы согласно настоящему изобретению. Блок отображения и регулирования предназначен для съемного монтажа к электронному оборудованию, по меньшей мере, в двух различных положениях, и имеет первое средство обеспечения контакта, которое независимо от выбранного положения смонтированного состояния устройства ввода и вывода электронного оборудования, вступает в электрический контакт со вторым средством обеспечения контакта, которое имеется на электронном устройстве.
В первую очередь, следует заметить, что термин “блок отображения и регулирования” охватывает устройства, выполняющие различные функции в смысле настоящего изобретения. В соответствии с этим, например, под таким устройством следует понимать устройство, которое служит лишь для ввода данных и команд, предназначенных для электронного оборудования. Кроме того, термин “блок отображения и регулирования” распространяется также на устройство, которое служит только для вывода данных из электронного оборудования, то есть которое отображает данные и вообще информацию об электронном оборудовании, на котором оно смонтировано. Кроме того, блок отображения и регулирования может также включать устройство, которое обеспечивает как ввод, так и вывод информации, или которое факультативно обеспечивает выполнение либо того, либо другого.
Все вышеуказанные блоки отображения и регулирования имеют общий признак, заключающийся в том, что они съемным образом монтируются к электронному оборудованию. В частности, предусматривается также создание электронного оборудования различной конструкции, в частности даже основанное на различных принципах измерения, например на измерении давления, измерении температуры, измерении уровня наполнения на основе ультразвуковых волн или СВЧ-волн, а также на измерении уровня наполнения и, например, определении предельного состояния, но при этом средства приема имеют идентичную конструкцию, позволяющую монтировать блок отображения и регулирования согласно настоящему изобретению.
Согласно еще одному аспекту предусмотрен блок отображения и регулирования, предназначенный для ввода данных и/или для отображения информации об электронном оборудовании, который содержит средство крепления для съемного монтажа блока отображения и регулирования к электронному оборудованию, и первое средство обеспечения контакта, которое, когда блок отображения и регулирования смонтирован на электронном оборудовании, вступает в электрический контакт со вторым средством обеспечения контакта, имеющимся на электронном оборудовании. Средство крепления сконструировано таким образом, что оно допускает либо только одно положение, в котором блок отображения и регулирования монтируется к электронному оборудованию, либо несколько положений. Возможно также, что блок отображения и регулирования сконструирован таким образом, что он может находиться в любом требуемом положении по кругу, для чего средство крепления может быть выполнено с возможностью вращательного движения.
Еще один дополнительный аспект изобретения относится к модулю функционирования и отображения, предназначенного для электронного оборудования, причем модуль выполнен с возможностью съемным образом монтироваться к электронному оборудованию, по меньшей мере, в двух различных положениях. Модуль содержит, по меньшей мере, одно средство из группы средств, содержащее средство ввода и средство отображения, первое средство крепления, которое может быть съемным образом прикреплено к электронному оборудованию в любом выбранном положении крепления посредством второго средства крепления, и первое средство обеспечения контакта, которое, когда средство функционирования смонтировано на электронном оборудовании, вступает в контакт со вторым средством обеспечения электрического контакта, являющимся частью электронного оборудования, для передачи сигналов в электронное устройство соответствующим входным сигналам, поступающим в устройство ввода, и/или отображаемым данным, выведенным из электронного оборудования на средство отображения.
Согласно еще одному аспекту настоящего изобретения представлено электронное оборудование, выполненное с возможностью съемного крепления к нему блока отображения и регулирования. Электронное оборудование содержит приемное устройство для съемного крепления блока отображения и регулирования, средство обеспечения контакта, которое, независимо от выбранного положения смонтированного состояния блока отображения и регулирования на электронном оборудовании, вступает в электрическое соединение со средством обеспечения контакта, имеющимся на блоке отображения и регулирования.
Кроме того, согласно варианту осуществления настоящего изобретения предлагается комбинация электронного оборудования и блока отображения и регулирования, в частности комбинация множества единиц электронного оборудования, имеющих различные конструкции и/или использующих различные принципы измерения, каждая из которых обладает одинаковым средством приема для монтажа к ней блока отображения и регулирования. При этом впервые возникает возможность использовать множество единиц электронного оборудования или принимать от них данные и отображать их на месте посредством одного единственного блока отображения и регулирования.
В еще одном варианте осуществления блока отображения и регулирования в соответствии с изобретением первое средство обеспечения контакта содержит множество групп средств обеспечения контакта, и эти группы средств обеспечения контакта расположены на определенном расстоянии друг от друга. Одно преимущество такого расположения может заключаться в том, что на электронном устройстве должно иметься только одно средство обеспечения контакта, которое в зависимости от выбранного положения вступает в электрический контакт с одной из групп средств обеспечения контакта на блоке отображения и регулирования, когда блок отображения и регулирования находится в смонтированном состоянии. Разумеется возможен вариант, когда второе средство обеспечения контакта, расположенное на электронном оборудовании, содержит множество групп средств обеспечения контакта, а на блоке отображения и регулирования имеется только одно средство обеспечения контакта. Кроме того, этот вариант осуществления гарантирует, что независимо от выбранного положения первое средство обеспечения контакта и второе средство обеспечения контакта всегда вступают в электрический контакт друг с другом.
Первое средство обеспечения контакта может содержать, по меньшей мере, одну поверхность электрического контакта, а второе средство обеспечения контакта может содержать, по меньшей мере, один электрический гибкий контакт, который вступает в контакт с поверхностью электрического контакта. Разумеется возможен также вариант, когда первое средство обеспечения контакта выполнено в виде электрического гибкого контакта, а второе средство обеспечения контакта содержит, по меньшей мере, одну поверхность электрического контакта. В варианте осуществления настоящего изобретения могут использоваться любые другие средства обеспечения разъемного соединения, известные из уровня техники.
Согласно варианту выполнения блока отображения и регулирования в соответствии с настоящим изобретением на блоке отображения и регулирования имеется первое средство крепления, которое, когда устройство находится в смонтированном состоянии, вступает в разъемное соединение со вторым средством крепления, имеющимся на электронном оборудовании. Такая конструкция обеспечивает фиксацию блока отображения и регулирования к электронному оборудованию, предпочтительно каждый раз в любом выбранном положении.
Еще один вариант осуществления блока отображения и регулирования в соответствии с настоящим изобретением предусматривает, что первое средство крепления и второе средство крепления образуют совместно штыковое соединение. Тем самым обеспечивается прочное и надежное крепление блока отображения и регулирования к электронному оборудованию посредством небольшого аксиального и вращательного движения на определенный угол, но при этом соединение можно снова разъединить. В частности, согласно такой конфигурации возможно, чтобы блок отображения и регулирования крепился на электронном оборудовании простым конструктивным образом в различных положениях или неподвижно прикреплялся к электронному оборудованию в любом выбранном положении.
В частности, в одном варианте осуществления блока отображения и регулирования в соответствии с настоящим изобретением первое средство крепления содержит, по меньшей мере, один стержень, а второе средство крепления содержит, по меньшей мере, одно углубление для приема стержня, в которое может вводиться стержень, например, посредством комбинирования аксиального и вращательного движения. Число стержней и углублений для приема стержня позволяет определить число возможных положений для монтажа блока отображения и регулирования к электронному оборудованию. В частности, возможен вариант, когда, по меньшей мере, предусмотрены два стержня, входящих в четыре углубления для приема стержней, так что могут быть реализованы, по меньшей мере, два различных положения, в частности могут быть реализованы четыре различных положения, каждое из которых отличается поворотом на 90°.
Чтобы не допустить случайного отсоединения блока отображения и регулирования, по меньшей мере, одно из углублений для приема стержня в еще одном варианте осуществления снабжено средством блокировки. В частности, это средство блокировки представляет собой выступ, который расположен в углублении для приема стержня и мимо которого должен пройти стержень, после чего происходит блокировка первого и второго средств крепления.
Один вариант осуществления блока отображения и регулирования согласно настоящему изобретению имеет верхнюю сторону и нижнюю сторону. Верхняя сторона обращена к пользователю и содержит, по меньшей мере, одно средство управления и/или одно средство отображения. Средства управления и/или отображения соединены с первым средством обеспечения контакта. Первое средство обеспечения контакта находится на нижней стороне и имеет контактные поверхности или контактные пружины, расположенные в различных местах на нижней стороне, причем соединение второго средства обеспечения контакта обеспечивается при любом возможном положении крепления. Как уже указывалось выше, особенно предпочтительным является вариант, который предусматривает два, или три, или четыре, или пять групп контактных поверхностей, расположенных вдоль окружности на равном расстоянии друг от друга, так чтобы в зависимости от числа групп средств обеспечения контакта блок отображения и регулирования мог занимать положения на электронном оборудовании, отличающиеся на 90°, 60° или 45°.
В еще одном варианте осуществления блока отображения и регулирования согласно настоящему изобретению блок отображения и регулирования содержит устройство, которое, в свою очередь, расположено на нижней стороне приемного кольца, которое может быть вставлено в соответствующее приемное кольцо электронного оборудования или надето на него.
Еще один вариант осуществления блока отображения и регулирования согласно настоящему изобретению содержит, по меньшей мере, одну клавишу управления и/или, по меньшей мере, одно средство отображения.
В частности, средство отображения соединено с первым средством обеспечения контакта с тем, чтобы от электронного оборудования поступал электрический ток, предназначенный для средства отображения и для отображения данных электронного оборудования.
Согласно еще одному аспекту настоящего изобретения блок отображения и регулирования содержит средство крепления для разъемного крепления блока отображения и регулирования к электронному оборудованию и первое средство обеспечения контакта, которое, когда блок отображения и регулирования смонтирован на электронном оборудовании, вступает в электрический контакт со вторым средством обеспечения контакта, имеющимся на электронном оборудовании. Такой блок отображения и регулирования не обязательно, но может быть сконструирован таким образом, что он может монтироваться на электронном оборудовании, по меньшей мере, в двух различных положениях. Причем сущность изобретения в том, что блок отображения и регулирования может монтироваться разъемным образом.
Согласно еще одному аспекту настоящего изобретения предусмотрен модуль управления и отображения, причем конструкция модуля управления и отображения позволяет разъемным образом монтировать его на электронном оборудовании, по меньшей мере, в двух различных положениях, и модуль управления и отображения содержит, по меньшей мере, одно средство из группы средств, содержащей устройства ввода и устройства вывода, первое средство крепления, которое в каждом выбранном положении крепления к электронному оборудованию может быть разъемным образом соединено со вторым средством крепления, имеющимся на электронном оборудовании, и первое средство обеспечения контакта, которое, когда устройство управления находится в смонтированном состоянии на электронном оборудовании, вступает в контакт со вторым средством обеспечения контакта, которое является частью электронного оборудования, для передачи электрических сигналов в электронное оборудование, соответствующих входным сигналам, поступающим в устройство ввода.
Как уже было объяснено выше, в таком модуле управления и отображения в варианте осуществления первое средство крепления и второе средство крепления выполнены также в виде штыкового соединения. Устройство ввода может быть, например, выбрано из группы устройств ввода, содержащей нажимную кнопку, переключатель, сенсорный экран, клавишу, ролик, кулисный переключатель и джойстик. Возможно также сочетание различных устройств ввода друг с другом.
В частности, в одном варианте осуществления модуля управления и отображения согласно настоящему изобретению модуль имеет практически цилиндрическую форму и входит в цилиндрическую приемную часть электронного оборудования.
Согласно еще одному аспекту настоящего изобретения предусмотрена комбинация блока отображения и регулирования и, по меньшей мере, одной единицы электронного оборудования. Комбинация содержит блок отображения и регулирования для ввода данных и/или для отображения информации электронного оборудования и, по меньшей мере, одну единицу электронного оборудования, причем блоки отображения и регулирования выполнены с возможностью разъемного крепления к электронному оборудованию, по меньшей мере, в двух различных положениях, и содержат первое средство обеспечения контакта, которое, независимо от выбранного положения смонтированного состояния блока отображения и регулирования на электронном оборудовании, соединяется со вторым средством обеспечения контакта, имеющимся на электронном оборудовании.
Электронное оборудование может быть выбрано из группы устройств, содержащей, например, датчик давления, датчик уровня наполнения, передатчик предельного значения, температурный датчик.
В варианте осуществления комбинации согласно настоящему изобретению электронное оборудование имеет приемное средство для приема блока отображения и регулирования и средство крепления для крепления блока отображения и регулирования к электронному оборудованию.
В варианте осуществления комбинации согласно настоящему изобретению приемное средство содержит первое съемное средство, а блок отображения и регулирования содержит второе съемное средство.
В варианте осуществления согласно настоящему изобретению средством крепления для крепления блока отображения и регулирования к электронному оборудованию является отдельный накрывающий элемент.
В одном варианте осуществления комбинации согласно настоящему изобретению накрывающий элемент имеет внутреннюю резьбу, а электронное оборудование имеет внешнюю резьбу, вследствие чего внешняя резьба может быть навернута на внутреннюю резьбу.
В еще одном варианте осуществления комбинации согласно настоящему изобретению приемное средство выполнено с возможностью разъемного крепления блока отображения и регулирования, по меньшей мере, в двух различных положениях.
В варианте осуществления комбинации согласно настоящему изобретению средство обеспечения контакта содержит, по меньшей мере, одну контактную пружину.
В заключение необходимо указать, что каждый из отдельных признаков устройства согласно настоящему изобретению, как, например, вышеуказанные блок отображения и регулирования, модуль управления и отображения, электронное оборудование, комбинация, могут быть реализованы в других вариантах и модификациях.
КРАТКОЕ ОПИСАНИЕ ЧЕРТЕЖЕЙ
Далее в качестве примера описаны варианты выполнения изобретения со ссылкой на прилагаемые чертежи, где:
Фиг.1 представляет принципиальную схему модульной системы согласно изобретению;
Фиг.2 представляет принципиальную схему модульной системы, известную из уровня техники;
Фиг.3 представляет принципиальную схему блока датчика согласно изобретению;
Фиг.4 представляет схематический вид модульной системы согласно изобретению в сборе;
Фиг.5 представляет схематический вид модульной системы согласно изобретению в соединенном состоянии;
Фиг.6 представляет вид сверху устройства ввода и вывода согласно настоящему изобретению и модуля управления и отображения;
Фиг.7 представляет вид в разрезе по линии А-А устройства ввода и вывода, изображенного на Фиг.6;
Фиг.8 представляет вид снизу устройства ввода и вывода, изображенного на Фиг.6;
Фиг.9 представляет детальное изображение внутренней стороны кольцевого элемента устройства ввода и вывода, изображенного на Фиг.6-8;
Фиг.10 представляет собой схематический вид сбоку приемной части, которая может быть прикреплена к электронному оборудованию пружинными защелками и которая служит для приема устройства ввода и вывода, изображенного на предыдущих чертежах.
ПОДРОБНОЕ ОПИСАНИЕ ВАРИАНТОВ ОСУЩЕСТВЛЕНИЯ НАСТОЯЩЕГО ИЗОБРЕТЕНИЯ
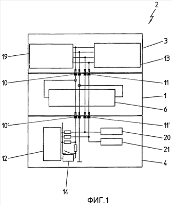
На Фиг.1 изображена принципиальная схема модульной измерительной системы 2 согласно настоящему изобретению, которая содержит источник 1 питания, блок 3 отображения и регулирования и блок 4 маломощного датчика. Как можно видеть, источник питания расположен между блоком 3 отображения и регулирования и блоком 4 маломощного датчика и соединен с ними посредством соответствующих средств 10, 10′, 11, 11′ обеспечения контакта, которые параллельно соединяют соответствующие компоненты блоков. Блок 3 отображения и регулирования включает контроллер 13 жидкокристаллического дисплея (LCD), органических светодиодов (OLED), полимерных светодиодов (PLED) или подходящего дисплея любого другого типа.
Далее, в блоке 3 отображения и регулирования содержатся клавиши 19 ввода, которые соединены с контроллером 13 и с накопителем 6 энергии источника 1 питания через первое средство 20 обеспечения контакта блока 3 отображения и регулирования и первое средство 10 обеспечения контакта источника 1 питания.
Кроме того, на Фиг.1 показано, что контроллер 13 блока 3 отображения и регулирования соединен с блоком 4 маломощного датчика посредством второго средства 20′ обеспечения контакта блока 3 отображения и регулирования, второго средства 11 обеспечения контакта источника 1 питания и второго средства 11′ обеспечения контакта, а также посредством второго средства 21′ обеспечения контакта блока 4 маломощного датчика.
Блок 4 маломощного датчика соединен с накопителем 6 энергии источника 1 питания посредством первого средства 10 обеспечения контакта источника 1 питания и первого средства 21 обеспечения контакта блока 4 маломощного датчика, так что накопитель 6 энергии обеспечивает подачу дополнительной энергии, необходимой во время работы блока 3 отображения и регулирования, к микроконтроллеру 12 блока 4 маломощного датчика. В случае если блок 4 маломощного датчика находится исключительно в измерительном режиме, то есть когда к нему не подсоединены источник 1 питания и блок 3 отображения и регулирования, микроконтроллер 12 способен выполнять все задачи при помощи энергии, имеющейся в блоке 4 маломощного датчика, в отсутствие дополнительного поступления энергии.
Во время работы накопитель 6 энергии источника 1 питания сначала подключается к +Ub блока 4 маломощного датчика. Аналого-цифровой преобразователь 14 считывает напряжение с накопителя 6 энергии. Если напряжение находится в предварительно заданных пределах (от 5% до 20% выше +Ub), переключатель замыкается, и накопитель 6 энергии подключается к подаче напряжения +Ub микроконтроллера через резистор с низким сопротивлением.
На Фиг.2 приведена принципиальная схема модульной системы, известной из уровня техники, которая содержит блок 23 датчика, включающий маломощный датчик Namur с измерительной ячейкой и внешний блок 25 отображения и регулирования, который подключается к блоку 23 датчика. Блок 23 датчика оснащен двухпроводным управляющим контуром 26, источником 27 питания и микроконтроллером 23. Однако устройство 25 ввода и вывода требует при подключении к блоку 23 датчика дополнительного источника питания и не может быть запитано от источника 27 питания блока 23 датчика. Следовательно, блок 25 ввода и вывода имеет свой собственный встроенный источник питания, чтобы иметь возможность работать при подключении к блоку 23 датчика.
На Фиг.3 изображена другая принципиальная схема решения в соответствии с изобретением активации блока 3 отображения и регулирования, подключаемого к блоку 15 маломощного датчика. Блок 3 отображения и регулирования подключен непосредственно к блоку 15 датчика посредством первого и второго средств обеспечения контакта (не показаны) блока 3 отображения и регулирования и, соответственно, первого и второго средств 31, 32 обеспечения контакта блока 15 маломощного датчика.
Блок 15 маломощного датчика содержит микроконтроллер 19, накопитель 16 энергии, являющийся либо аккумулятором, либо конденсатором Gold CAP, источник 18 питания, двухпроводной управляющий контур 26, ступенчатый источник 17 питания и датчик 28. Аккумулятор, то есть накопитель 16 энергии, заряжается при помощи ступенчатого 17 и регулируемого источника 18 питания. Ток заряда может быть различным в зависимости от активного тока датчика с тем, чтобы время заряда было как можно меньшим. Блок 3 отображения и регулирования соединен с заряженным накопителем 16 энергии.
Микроконтроллер 19 циклически опрашивает, подсоединен ли блок 3 отображения и регулирования или нет. После обнаружения подсоединенного блока 3 отображения и регулирования к встроенному ступенчатому источнику 17 питания блока 15 маломощного датчика подключается накопитель 16 энергии. Микроконтроллер отслеживает рабочее напряжение. В случае, если оно слишком низко, микроконтроллер отключает накопитель 16 энергии и тем самым блок 3 отображения и регулирования и перезаряжает накопитель 16 энергии. В отсутствие связи с блоком 3 отображения и регулирования требования к энергопотреблению достаточно низки. Когда накопитель 16 энергии достигает минимального рабочего значения, блок 3 отображения и регулирования подключается вновь. Таким образом, дополнительная энергия, требуемая для рабочего режима блока отображения и регулирования, обеспечивается накопителем 16 энергии. Если энергии, запасенной в накопителе 16 энергии, слишком мало, отключается лишь блок 3 отображения и регулирования, а функция измерения может выполняться непрерывно.
Схематический вид, приведенный на Фиг.4, содержит три вышеописанных модуля измерительной системы 2 в сборе. Блок 4 маломощного датчика соединен с источником 1 питания, который, в свою очередь, соединен с блоком 3 отображения и регулирования при помощи соответствующих средств крепления (не показаны). Далее, на Фиг.4 видно, что на блок 3 отображения и регулирования навернута крышка 33, которая обеспечивает дополнительное крепление блока 3 отображения и регулирования к источнику 1 питания.
На Фиг.5 приведена, по существу, та же измерительная система 2 в сборе, что и на Фиг.4. Однако на данном чертеже виден весь блок 4 маломощного датчика, в том числе переключатель уровня с интегрированным осциллятором 34. К верхней части блока 4 маломощного датчика и на этот раз прикреплен источник 1 питания, с которым, в свою очередь, при помощи крышки 33 соединен блок 3 отображения и регулирования.
На виде сверху устройства 100 ввода и вывода, приведенном на Фиг.6, хорошо видна верхняя сторона 102 устройства 1 ввода и вывода, на которой имеется средство 103 отображения и управляющие клавиши 105, 106. Устройство 100 ввода и вывода имеет практически цилиндрический корпус, который имеет две ручки 104 в виде углублений. Ручки 104 в виде углублений расположены напротив друг друга и служат для упрощения манипулирования с устройством 100 ввода и вывода, в частности для его поворота.
В изображенном варианте осуществления средством 103 отображения является жидкокристаллический дисплей, расположенный в центре верхней стороны 102 устройства 100 ввода и вывода. Вдоль одной длинной стороны устройства 103 отображения расположены управляющие клавиши 105, 106. Эти управляющие клавиши 105, 106 служат для осуществления управления и конфигурирования посредством меню электронного оборудования, подсоединяемого к устройству ввода и вывода; подробное описание электронного оборудования приведено ниже. Разумеется на устройстве 100 ввода и вывода, используемом в соединении с модулем согласно настоящему изобретению, может быть расположено больше или меньше управляющих клавиш 105, 106. Кроме того, можно также расположить, например, на другой длинной стороне средства 103 отображения соответственно дополнительные переключатели и клавиши или управляющие элементы.
На Фиг.7 приведено устройство, изображенное на Фиг.6, в разрезе по линии А-А. Как можно видеть, устройство 100 ввода и вывода уже установлено на приемной части 108, которая обычно надежно соединена с электронным оборудованием, не показанным на чертеже, или с источником 1 питания, приведенным на Фиг.1. В данном случае приемная часть 108 прикреплена к источнику питания посредством средства 109 крепления, в частности, при помощи фиксирующих выступов 111. Таким образом, приемная часть 108 располагается своей нижней стороной 107 на верхней стороне электронного оборудования. Она содержит электрический разъем 115, присоединенный к источнику 1 питания. Электрический разъем 115 соединен со средством обеспечения электрического контакта источника питания.
В частности, на Фиг.7 можно видеть углубление 112 для приема стержня, в которое может быть вставлен стержень, не показанный на чертеже. Задняя часть углубления для приема стержня имеет фиксирующий выступ 114, отделяющий часть 113 углубления для принятия стержня. Конкретная конфигурация этого средства крепления будет объяснена более подробно со ссылкой на Фиг.8.
Более подробно устройство 100 ввода и вывода и косвенным образом источник 100 питания можно рассмотреть на виде снизу, приведенном на Фиг.8. Хорошо видно, что устройство 100 ввода и вывода имеет цилиндрический корпус и соответственно кольцевой элемент 100, в котором видны концевые участки углублений 112 для приема стержня, расположенные на передней стороне. Эти проемы углублений 112 для приема стержней обозначены позицией 120. Всего на варианте осуществления устройства 100 ввода и вывода, приведенном на Фиг.6, имеется четыре углубления 112 для приема стержня, которые оканчиваются соответствующими углублениями или проемами 120 на передней стороне кольцевого элемента 110, причем каждое углубление отстоит от другого на 90°.
Таким образом, кольцевой элемент 110 содержит углубления 112 для приема стержня на внутренней стороне 117, каждое из которых приведено на Фиг.9. Сам кольцевой элемент 110, как будет объяснено ниже, вставляется в соответствующую трубку или цилиндрическую деталь, которая соединена с источником питания.
Когда устройство находится в смонтированном состоянии, нижняя сторона 116 устройства ввода и вывода обращена к источнику питания. На ней имеется четыре расположенных по кругу сектора 118, в каждом из которых сгруппировано несколько контактных поверхностей 119. Каждая группа контактных поверхностей 119 имеет форму сектора кольца. Эти контактные поверхности соединены с управляющими клавишами 105, 106 или с устройством 103 отображения посредством непоказанного провода. Они служат для установления контакта со вторым средством 123 обеспечения контакта, имеющегося на электронном устройстве, которое более подробно объяснено на Фиг.10. В варианте осуществления изобретения согласно Фиг.8 имеется четыре группы средств обеспечения контакта, а следовательно, четыре контактных поверхности 119, которые позволяют монтировать устройство 100 ввода и вывода в четырех различных положениях на источнике питания и устанавливать контакт в каждом выбранном положении со вторым средством 123 обеспечения контакта источника питания.
Приемная часть 108 источника питания приведена на Фиг.10, представляющей схематический частичный разрез. Можно видеть, что верхняя сторона приемной части 108 снабжена несколькими стержнями, то есть, по меньшей мере, тремя стержнями, которые должны быть вставлены в углубления 112 для приема стержней или в связанные с ними проемы 120. На противоположной стороне имеется несколько фиксирующих выступов, которые могут входить в надежное зацепление с соответствующими ответными частями источника питания, так что приемная часть 108 и источник питания оказываются надежно соединенными друг с другом. Приемная часть 108 имеет форму трубки, на внешней стороне которой закреплены стержни 131, так что внешняя сторона может быть совмещена с внутренней стороной 117 устройства 100 ввода и вывода и может быть зафиксирована посредством аксиально-вращательного движения, как в обычном штыковом соединении, в требуемом положении устройства 100 ввода и вывода на приемной части 108.
На схематическом виде, приведенном на Фиг.10, изображено также второе средство 123 обеспечения контакта, присоединенное к электрическому проводу 122 посредством электрического разъема 115, описанного выше. Электрический разъем 115 может быть, в свою очередь, соединен с источником питания или с электронным оборудованием.
Контактные пружины 123 в варианте выполнения, приведенном на Фиг.10, согнуты с отклонением от горизонтального положения с тем, чтобы обеспечить контакт с соответствующими контактными поверхностями 119 устройства ввода и вывода, когда оно установлено на источнике 1 питания или на электронном оборудовании, даже при различном расстоянии между контактными поверхностями и контактной пружиной. Когда соединены устройство 100, изображенное на Фиг.5-9, и приемная часть 108 источника питания или электронное оборудование, то требуется наличие только одной группы контактных пружин 123 для обеспечения контакта с группой контактных поверхностей 119. Разумеется возможно также, что на приемной части 108 имеется несколько групп контактных пружин 123, а на устройстве 100 ввода и вывода предусмотрена лишь одна группа контактных поверхностей 119.
Другие варианты осуществления определяются следующей формулой.
Формула изобретения
1. Источник (1) питания для активации модульной измерительной системы (2), при этом модульная измерительная система (2) выполнена с возможностью измерения или детектирования уровня заполнения или давления, и содержит модульный блок (3) отображения и регулирования и модульный блок (4) маломощного датчика, причем источник (1) питания выполнен с возможностью расположения и электрического подключения между блоком (3) отображения и регулирования и блоком (4) маломощного датчика, одновременно обеспечивая питание модульного блока (3) отображения и регулирования и блока (4) маломощного датчика и обеспечивая обмен данными между блоком (3) отображения и регулирования и блоком (4) маломощного датчика, причем источник (1) питания выполнен с возможностью совместимости с блоком (4) маломощного датчика с обеспечением требования к энергопотреблению <1,2 мА при 5 В.
2. Источник (1) питания по п.1, в котором источник (1) питания имеет корпус (5), выполненный с возможностью расположения между блоком (3) отображения и регулирования и блоком (4) маломощного датчика.
3. Источник (1) питания по п.2, в котором внутри корпуса (5) размещен накопитель (6) энергии.
4. Источник (1) питания по п.3, в котором накопитель (6) энергии является батареей, аккумулятором или конденсатором gold CAP.
5. Источник (1) питания по п.1, который выполнен с возможностью совместимости с блоком (4) маломощного датчика, содержащего зонд для измерения или определения и/или переключения уровня жидкостей или твердых тел, имеющего двухпроводной контур управления, в частности интерфейс Namur, предъявляющий требования к энергопотреблению <1,2 мА при 5 В.
6. Источник (1) питания по п.2, в котором корпус (5) снабжен соответствующим средством (7) крепления, выполненным с возможностью взаимодействия с соответствующим средствами (8,9) крепления блока (3) отображения и регулирования и блока (4) маломощного датчика для обеспечения разъемного соединения.
7. Источник (1) питания по п.3, имеющий первое и второе средство (10, 10′, 11, 11′) обеспечения контакта, причем первое средство (10, 10′) обеспечения контакта предназначено для соединения накопителя (6) энергии с блоком (3) отображения и регулирования и блоком (4) маломощного датчика, а второе средство (11, 11′) обеспечения контакта предназначено для линий передачи данных, которые соединены через источник (1) питания.
8. Источник (1) питания по п.7, в котором накопитель (6) энергии выполнен с возможностью соединения посредством первого средства (10) обеспечения контакта с клавишами (19) ввода блока (3) отображения и регулирования.
9. Источник (1) питания по п.7, в котором накопитель (6) энергии выполнен с возможностью соединения посредством первого средства (10′) обеспечения контакта с микроконтроллером (12) блока (4) маломощного датчика.
10. Источник (1) питания по п.7, в котором линии передачи данных контроллера (13) дисплея блока (3) отображения и регулирования выполнены с возможностью соединения через источник (1) питания посредством второго средства (11, 11′) обеспечения контакта с микроконтроллером (12) блока (4) маломощного датчика.
11. Источник (1) питания по п.1, который выполнен с возможностью крепления блока (3) отображения и регулирования к источнику (1) питания, по меньшей мере, в двух положениях.
12. Модульная система, выполненная с возможностью измерения или детектирования уровня заполнения или давления, содержит модульный блок (3) отображения и регулирования, модульный источник (1) питания и модульный блок (4) маломощного датчика, которые выполнены с возможностью разъемного соединения друг с другом и которые выполнены с возможностью вступления в электрический контакт друг с другом, причем источник (1) питания активирует одновременно блок (3) отображения и регулирования и блок (4) маломощного датчика, когда эти модули соединены друг с другом, при этом источник (1) питания выполнен с возможностью совместимости с блоком (4) маломощного датчика с обеспечением требования к энергопотреблению <1,2 мА при 5 В.
13. Модульная система по п.12, в которой блок (4) маломощного датчика содержит зонд для измерения или определения и/или переключения уровня жидкостей или твердых тел, зонд содержит двухпроводной контур управления, в частности интерфейс Namur, предъявляющий требования к энергопотреблению <1,2 мА при 5 В.
14. Модульная система по п.12, в которой блок (4) маломощного датчика может регулироваться при помощи блока (3) отображения и регулирования, при этом источник (1) питания расположен между ними.
15. Модульная система по п.12, в которой контроллер (13), размещенный в блоке (3) отображения и регулирования, и микроконтроллер (12), размещенный в блоке (4) маломощного датчика, связаны друг с другом при помощи источника (1) питания, имеющего средства (12, 12′) обеспечения контакта, соединяющие соответствующие линии передачи данных через корпус (5), подключенный между ними.
16. Модульная система по п.12, дополнительно содержащая аналого-цифровой преобразователь (14), встроенный или внешний по отношению к микроконтроллеру (12) блока (4) маломощного датчика, который считывает напряжение с источника (1) питания и при обнаружении предварительно заданного значения напряжения замыкает цепь, соединяя тем самым источник (1) питания с микроконтроллером (12).
17. Модульная система по п.12, в которой блок (3) отображения и регулирования и источник (1) питания выполнены с возможностью прикрепления друг к другу, по меньшей мере, в двух положениях.
18. Блок (15) датчика, выполненный с возможностью измерения или детектирования уровня заполнения или давления, содержит маломощный датчик, работающий в диапазоне менее 1,2 мА при 5 В, выполненный в виде модуля и выполненный с возможностью разъемного крепления к модульному блоку (3) отображения и регулирования и электрического соединения с ним, причем блок (15) датчика содержит накопитель (16) энергии и источник (17) питания, позволяющий активировать одновременно блок (15) датчика и блок (3) отображения и регулирования, когда блок (3) отображения и регулирования прикреплен и электрически соединен с блоком (15) маломощного датчика, при этом накопитель (16) энергии выполнен с возможностью соединения с источником (17) питания для подачи дополнительной энергии, требуемой для рабочей фазы модульного блока (3) отображения и регулирования.
19. Блок (15) датчика по п.18, в котором накопитель (16) энергии является аккумулятором или конденсатором gold CAP, который заряжается посредством источника (17) питания, являющегося ступенчатым, и регулируемого источника (18) питания, причем зарядный ток может быть различным в зависимости от активного тока датчика.
20. Блок (15) датчика по п.18, дополнительно содержащий микроконтроллер (19), циклически опрашивающий, присоединен ли блок (3) отображения и регулирования или нет, и соединяющий блок (3) отображения и регулирования со встроенным источником питания в случае обнаружения присутствия блока (3) отображения и регулирования.
21. Блок (15) датчика по п.18, в котором микроконтроллер (19) контролирует рабочее напряжение накопителя (16) энергии для деактивации блока (3) отображения и регулирования при обнаружении падения рабочего напряжения ниже предварительно заданного порогового значения и перезаряжает накопитель (16) энергии, причем подача питания для измерительной операции не прерывается.
22. Блок (15) датчика по п.18, в котором микроконтроллер подает питание на блок (3) отображения и регулирования при обнаружении минимального рабочего напряжения накопителя (16) энергии.
РИСУНКИ
|
|