|
|
(21), (22) Заявка: 2007144232/28, 28.11.2007
(24) Дата начала отсчета срока действия патента:
28.11.2007
(46) Опубликовано: 10.06.2009
(56) Список документов, цитированных в отчете о поиске:
RU 2231018 C2, 20.06.2004. RU 2174212 C2, 27.09.2001. RU 2232390 C2, 10.07.2004. RU 2284468 C2, 27.09.2006. JP 5-118838 A, 14.05.1993. DE 3900296 A1, 12.97.1990.
Адрес для переписки:
690990, г.Владивосток, ул. Гоголя, 41, ВГУЭС, И.А. Шеромовой
|
(72) Автор(ы):
Старкова Галина Петровна (RU), Шеромова Ирина Александровна (RU), Железняков Александр Семенович (RU), Завзятый Владимир Ильич (RU)
(73) Патентообладатель(и):
Владивостокский государственный университет экономики и сервиса (ВГУЭС) Федеральное агентство по образованию Государственное образовательное учреждение высшего профессионального образования (RU)
|
(54) СПОСОБ ИЗМЕРЕНИЯ ДЛИНЫ ДВИЖУЩИХСЯ ЛЕГКОДЕФОРМИРУЕМЫХ МАТЕРИАЛОВ СЕТЧАТОЙ СТРУКТУРЫ
(57) Реферат:
Изобретение относится к измерению длины материалов сетчатой, например полотняной, структуры и может быть использовано в текстильном и швейном производствах. Сущность: предварительно определяют линейный размер раппорта переплетения материала в недеформированном состоянии по числу раппортов на эталонном участке длины. Сканируют поверхность движущегося материала посредством чувствительного элемента пьезопреобразователя. Рассчитывают длину движущегося материала с помощью микропроцессора по числу генерируемых пьезопреобразователем импульсов, соответствующих количеству раппортов переплетения на измеряемой длине и предварительно определенному линейному размеру раппорта. Технический результат: повышение точности измерения при одновременном упрощении аппаратурного оснащения. 1 ил.
Изобретение относится к способам измерения длины движущихся легкодеформируемых материалов с выраженной сетчатой структурой (например, текстильных материалов полотняного переплетения) и может быть использовано в швейном и текстильном производствах.
Известен способ измерения длины движущихся материалов, описанный в патенте РФ 2174212, опубл. 27.09.2001 г., заключающийся в том, что линейный параметр длинномерного материала – длина определяется расчетным путем по величине и количеству предельных поперечных перемещений (автоколебаний) материала относительно заданной линии движения, что является информативным параметром длины. Недостаток этого способа и схемы его технической реализации заключаются в использовании косвенного метода измерения длины материала, что требует введения в схему его технической реализации дополнительных структурных элементов, преобразователей информации, повышающих сложность конструкции, снижающих надежность измерительной системы и точность измерения.
Наиболее близким к заявляемому является способ измерения длины легкодеформируемых длинномерных материалов, имеющих сетчатую структуру, описанный в патенте РФ 2231018, опубл. 20.06.2004 г., в котором вычисление длины осуществляют с помощью микропроцессора в соответствии с заданным алгоритмом по вводимым в его память конструктивно определяемому эталонному участку длины и количеству осуществленных циклов измерения с использованием этого эталонного участка длины с одновременным корректирующим перерасчетом результатов измерения, в котором учитывается величина перекоса линии движения материала и величина деформации измеряемого материала, при этом величину деформации определяют на основе линейных параметров структурных элементов (раппортов) переплетения материала в недеформированном и напряженно-деформированном состояниях, измеряемых с помощью системы коррекции, в которой используется стробоскопический эффект.
Недостатком известного способа является косвенный метод измерения, определяющий усложнение аппаратурного оснащения способа из-за введения дополнительных преобразующих элементов в систему измерения, что приводит к появлению дополнительной погрешности, вносимой этими элементами системы измерения.
Задачей изобретения является создание способа измерения длины движущихся легкодеформируемых материалов сетчатой структуры, обеспечивающего повышение точности измерения при одновременном упрощении его аппаратурного оснащения.
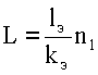
Поставленная задача решается способом измерения длины движущихся легкодеформируемых материалов сетчатой структуры, включающим вычисление длины с помощью микропроцессора с использованием линейного размера раппорта переплетения материала в соответствии с заданным алгоритмом, в котором в отличие от известного в память процессора записывают линейный размер раппорта переплетения, соответствующий условиям недеформированного материала, который предварительно определяют по числу kэ раппортов переплетения на эталонном участке lэ длины, затем посредством сканирования рельефа структуры движущегося материала с помощью пьезопреобразователя по числу n1 генерируемых им импульсов определяют количество раппортов переплетения, приходящихся на длину L движущегося материала, при этом материал перемещают со скоростью не менее 0.1 м/с при постоянном контактном взаимодействии материала с чувствительным элементом пьезопреобразователя в диапазоне усилия от 0.1 до 0.25Н, а значение длины материала L вычисляют по следующему алгоритму:

Способ измерения длины L движущегося материала на базе использования пьезометрического преобразователя (пьезопреобразователя) заключается в следующем:
– предварительно одним из известных методов (например, в соответствии с ГОСТ 3812-72) определяют значение линейного параметра раппорта переплетения измеряемого материала в недеформированном состоянии по количеству поперечных элементов kэ структуры (например, уточных нитей) на гостируемом эталонном участке lэ длины и вводят в память процессора в качестве исходных данных;
– с помощью пьезопреобразователя осуществляют сканирование рельефа материала при его движении со скоростью не менее 0.1 м/с и постоянном контактном взаимодействии с чувствительным элементом пьезопреобразователя, который при упомянутом сканировании генерирует электронные импульсы, число которых определяется количеством раппортов переплетения (уточин) во всей длине L транспортируемого материала;
– полученные данные передают в память микропроцессора;
– посредством процессора на основе внесенных в его память данных по заданному алгоритму рассчитывают длину движущегося материала.
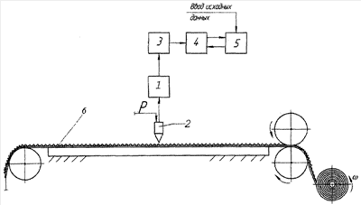
Технически способ реализуется с помощью системы измерения, схематически показанной на чертеже, где 1 – пьезопреобразователь со щупом (чувствительным элементом) 2; 3 – блок усиления; 4 – блок сопряжения; 5 – процессор; 6 – движущийся материал, длину которого мы измеряем.
При движении материала 6 по измерительному тракту со скоростью не менее 0.1 м/с щуп (чувствительный элемент) 2 пьезопреобразователя 1 находится в постоянном контакте с движущейся поверхностью под действием заданного усилия Р=0.1 0.25Н, при этом происходит непрерывное сканирование рельефа поверхности материала сетчатой структуры. Каждому раппорту переплетения (в частности, сканированной уточине) соответствует электронный импульс, генерируемый пьезопреобразователем 1, т.е. формируемое пьезопреобразователем количество сигналов соответствует количеству считанных структурных элементов движущегося материала.
Форма и частота генерируемых пьезопреобразователем импульсов связаны со скоростью движения материала, поверхность которого сканируется. Для измеряемых легкодеформируемых материалов сетчатой структуры устойчивый эффект считывания количества рапортов переплетения наблюдается при сканировании поверхности материала, движущегося со скоростью не менее 0.1 м/с.
Экспериментально также было установлено, что оптимальная чувствительность используемой в предлагаемом способе измерительной системы обеспечивается при значениях давления Р (силового воздействия), оказываемого чувствительным элементом пьезопреобразователя на поверхность движущегося материала, в интервале от 0.1 до 0.25 Н.
Генерируемые пьезопреобразователем 1 сигналы усиливаются в блоке 3 и передаются посредством блока сопряжения 4 в процессор 5, который полученную информацию обрабатывает в соответствии с заданным вычислительным алгоритмом.
В процессор поступает количество импульсов, равных количеству сканированных структурных элементов (раппортов) материала. При этом количество полученных непосредственным измерением импульсов не зависит от деформации материала, возможного проскальзывания относительно рабочих органов технологического оборудования, неравномерности движения или остановки в случае технологической необходимости, а только от количества раппортов переплетения, сканированных с поверхности материала.
Таким образом, техническим результатом предлагаемого способа является повышение точности измерения при одновременном упрощении его аппаратурного оснащения.
Формула изобретения
Способ измерения длины движущихся легкодеформируемых материалов сетчатой структуры, включающий вычисление длины с использованием линейного размера раппорта переплетения материала в соответствии с заданным алгоритмом с помощью микропроцессора, отличающийся тем, что в память микропроцессора записывают линейный размер раппорта переплетения, соответствующий условиям недеформированного материала, который предварительно определяют по числу kэ раппортов переплетения на эталонном участке lэ длины, затем посредством сканирования рельефа структуры движущегося материала с помощью пьезопреобразователя по числу n1 генерируемых им импульсов определяют количество раппортов переплетения, приходящихся на длину L движущегося материала, и передают в микропроцессор, при этом материал перемещают со скоростью не менее 0,1 м/с при постоянном контактном взаимодействии материала с чувствительным элементом пьезопреобразователя в диапазоне усилия от 0,1 до 0,25Н, а значение длины материала L вычисляют по следующему алгоритму:

РИСУНКИ
|
|