|
|
(21), (22) Заявка: 2007139045/02, 23.10.2007
(24) Дата начала отсчета срока действия патента:
23.10.2007
(46) Опубликовано: 10.06.2009
(56) Список документов, цитированных в отчете о поиске:
RU 2135950 С1, 27.08.1999. US 4488488 А1, 18.12.1984. RU 2125706 C1, 27.01.1999. US 4178851 A, 18.12.1979.
Адрес для переписки:
143980, Московская обл., г. Железнодорожный, ул. Дачная, 28, ФГУП “НИТИ им. П.И. Снегирева”
|
(72) Автор(ы):
Киселев Валерий Алексеевич (RU), Федоров Виктор Николаевич (RU), Некрасов Вячеслав Васильевич (RU), Чичиков Виктор Васильевич (RU), Ким Александр Вячеславович (RU), Попов Виктор Алексеевич (RU)
(73) Патентообладатель(и):
Федеральное государственное унитарное предприятие “Научно-исследовательский технологический институт им. П.И. Снегирева” (RU)
|
(54) ДОННЫЙ ВЗРЫВАТЕЛЬ (ВАРИАНТЫ)
(57) Реферат:
Изобретение относится к взрывателям ударного действия. По первому варианту во взрыватель введен гидравлический предохранитель, запускаемый газогенератором кассетного боеприпаса, выполненный в виде поршня, опирающегося одним торцом на вязкотекучий материал, размещенный в полости цилиндра с дросселирующим отверстием в донышке, закрытом герметизирующим подпружиненным колпачком. Второй торец поршня, имеющий фиксатор, входит в зацепление с предохранительным движком, освобождая его с замедлением при подаче давления. По второму варианту ударный механизм взрывателя, совмещенный с механизмом самоликвидации, выполнен в виде инерционной втулки, внутри которой расположен стреляющий механизм с подпружиненным бойком, упирающимся в шарики, размещенные в окнах трубки, жестко закрепленной в инерционной втулке. Эти шарики также упираются в расточку подпружиненного поршня, заблокированного через корпусные детали другими шариками, находящимися в инерционной втулке, а объем между поршнем и трубкой прикрыт заглушкой и заполнен вязкотекучим материалом с возможностью его перетекания через фильерные отверстия заглушки. Повышается безопасность и функциональная надежность взрывателя. 2 н. и 1 з.п. ф-лы, 5 ил.
Изобретение относится к механическим взрывателям ударного действия для боевых элементов кассетного снаряжения и может быть использовано преимущественно в невращающихся боеприпасах (ракетах, авиабомбах).
Известны взрыватели для кассетных кумулятивно-осколочных боевых элементов (БЭ), например ЕР 0205956 F42C 9/16, 15/18, 28.06.86, в которых взведение осуществляется за счет вывинчивания ударника аэродинамическим стабилизатором в виде матерчатой ленты. Достоинством такого решения является простота конструкции. Но для взведения этого взрывателя требуется вращение БЭ. Кроме того, время его дальнего взведения мало, что может привести к срабатываниям БЭ в воздухе при их столкновениях в момент выброса из кассетного боеприпаса (КБ) и тем самым снизить эффективность, а в отдельных случаях и безопасность системы.
Известен взрыватель для кассетного БЭ (US 3802344, 09.04.73), в котором для взведения используется избыточное давление газов, создаваемое газогенератором в КБ перед распаковкой, а перемещение деталей взрывателя происходит при распаковке. Избыточное давление сжимает эластичный баллон, блокирующий движок с капсюлем-детонатором. Взрыватель прост по конструкции и имеет малые габариты, но его время взведения также мало и не регулируется. Кроме того, реализовать данную конструкцию технологически очень сложно из-за необходимости обеспечения противоречивого требования достаточной эластичности баллона для санкционированного взведения в сочетании с его устойчивостью при воздействии различных ударно-вибрационных нагрузок.
Известен донный механический взрыватель для БЭ RU 2135950, F42C 1/04, 02.07.98 (принят за прототип для обоих вариантов изобретения), содержащий механизмы дальнего взведения и самоликвидации. Однако данный взрыватель недостаточно безопасен, так как имеет одну механическую ступень предохранения, связанную с поворотом скобы ленточным аэродинамическим стабилизатором, что может привести к его взведению и срабатыванию при случайном вытягивании стабилизатора в процессе сборки боеприпаса. Другим недостатком прототипа является конструкция ударника, увеличивающего свой высотный размер в процессе работы размещенного в нем механизма самоликвидации. Это приводит к значительному разбросу времени срабатывания взрывателя, т.к. расстояние между капсюлем-детонатором и жалом, достаточное для его надежного срабатывания, функционально увеличено на величину хода стреляющего механизма узла самоликвидации. Поэтому суммарное расстояние, а ,следовательно, и время срабатывания является величиной переменной и значительно (до 4 раз) изменяется в процессе свободного падения БЭ. Большой разброс времени срабатывания взрывателя снижает эффективность БЭ. Кроме того, эта конструкция не обеспечивает надежной работы цепи самоликвидации в случае невозможности увеличения высотного размера ударника, например, при заглублении БЭ в грунт и блокировании им хода ударника для освобождения стреляющего механизма. Настоящим изобретением решается задача повышения безопасности взрывателя и надежности работы механизма самоликвидации, а также уменьшения и стабилизации времени срабатывания, что увеличивает эффективность боеприпаса.
Технический результат повышения безопасности обеспечивается за счет того, что во взрывателе (п.1 формулы изобретения) система предохранения для дополнительной блокировки движка снабжена гидравлическим предохранителем (ГП), запускаемым газогенератором кассетного боеприпаса. При этом ГП выполнен в виде поршня, один торец которого содержит ступенчатый выступ, охваченный фиксирующей упругой скобой, а второй торец опирается на вязкотекучий материал, например каучук, размещенный в полости цилиндра с дросселирующим отверстием в донышке, закрытом подпружиненным колпачком, а объем под колпачком загерметизирован. Безопасность повышается за счет того, что даже при случайном несанкционированном выдергивании инерционной втулки ударника взведение взрывателя не произойдет. (Исключен «человеческий фактор»). Использование в ГП вязкотекучего материала, перетекающего через дросселирующее отверстие с некоторым замедлением, позволяет обеспечить устойчивость ГП к различным импульсным помеховым воздействиям при обращении с взрывателем и КБ. Выполнение поршня гидравлического предохранителя с кольцевой канавкой по наружной цилиндрической поверхности, заполненной вязкотекучим материалом, например каучуком, позволяет полностью исключить возможность прорыва газов газогенератора в зазор между цилиндром и поршнем, обеспечивая необходимый перепад давления и нормальное функционирование ГП. Предлагаемый ГП позволяет обеспечить регулируемую по времени разблокировку движка и тем самым оптимально согласовать ее с работой остальных функциональных узлов и механизмов взрывателя.
Технический результат повышения надежности и эффективности БЭ со взрывателем по п.3 формулы обеспечивается независимостью процесса работы механизма самоликвидации от характера преграды и уменьшением времени контактного срабатывания взрывателя за счет конструкции ударного механизма. В предлагаемом изобретении ударный механизм выполнен в виде инерционной втулки, внутри которой помещен стреляющий механизм, подпружиненный боек которого упирается в шарики, размещенные в окнах трубки, жестко закрепленной в инерционной втулке, и упирающиеся в расточку подпружиненного поршня, заблокированного через другие шарики в инерционной втулке корпусными деталями, при этом объем между поршнем и трубкой прикрыт заглушкой и заполнен вязкотекучим материалом, например каучуком, с возможностью перетекания его через фильерные отверстия, выполненные в заглушке. Такая конструкция ударника обеспечивает неизменность его размеров в процессе работы механизма самоликвидации, поэтому позволяет оптимизировать характеристики взрывателя по энергии накола ударника и времени срабатывания, а также обеспечить работу механизма самоликвидации при любых условиях после отказа в ударном действии.
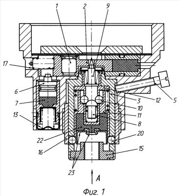
Сущность изобретения поясняется рисунками, где изображены:
на фиг.1 – продольное сечение взрывателя в служебном обращении;
на фиг.2 – вид взрывателя снизу (на технологический предохранительный винт);
на фиг.3 – продольное сечение взрывателя во взведенном положении;
на фиг.4 – продольное сечение взрывателя при инерционном действии;
на фиг.5 – продольное сечение взрывателя в момент работы механизма самоликвидации.
В составе КБ БЭ уложены таким образом, что донная часть с взрывателем одного БЭ соосно располагается в полости кумулятивной воронки следующего. Скомпонованные цепочки БЭ размещаются параллельно оси КБ. В служебном положении (фиг.1 и 2) капсюль-детонатор 1, расположенный в движке 2, смещен относительно оси передаточного заряда БЭ и удерживается от перемещения инерционной втулкой 3, которая, в свою очередь, удерживается винтами 4 и 5. Кроме того, на пути хвостовой части движка 2 имеется выступ поршня 6, опирающийся на замкнутый объем каучука 7 гидравлического предохранителя. Боек 8 удерживается от перемещения к жалу 9 шариками 10, упирающимися в расточку поршня 11 и расположенными в окнах трубки 12, жестко закрепленной во втулке 3. Перед постановкой БЭ с взрывателем в кассету удаляется винт 4 (снимается первая предварительная ступень предохранения). После сборки и закрепления БЭ в кассете через технологические отверстия удаляется винт 5 (снимается вторая предварительная ступень предохранения). Втулка 3 инерционного ударного механизма удерживается от перемещения последующими БЭ в собранной кассете. При выстреле и на полете КБ перемещения деталей и механизмов взрывателя не происходит. За определенный интервал времени перед распаковкой КБ внутри него за счет работы газогенератора создается необходимое давление газов заданной продолжительности. Под действием этого давления поршень 6, преодолевая сопротивление пружины 13 и вязкости перетекающего каучука 7, опускается вниз и фиксируется в нижнем положении упругой скобой 14 (фиг.3). Снимается первая основная ступень предохранения. При выбросе БЭ из КБ под действием воздушного потока создается усилие на ленте аэродинамического стабилизатора (на фигурах не показан), закрепленного во втулке 15 инерционного ударного механизма, под влиянием которого он опускается вниз до упора буртиком втулки 3 в гайку 16, освобождая движок 2 с капсюлем-детонатором 1. Снимается вторая основная ступень предохранения. Движок 2 под действием пружины 17, преодолевая сопротивление вытекающего из отверстия втулки 18 каучука 19, продвигается с заданным замедлением и становится капсюлем-детонатором 1 по оси взрывателя. Взрыватель взведен (фиг.3). Кроме того, при продвижении втулки 3 вниз шарики 20 (фиг.1) выходят из зацепления с гайкой 16, а поршень 11 под действием пружины 21 (фиг.3) продвигается вниз, преодолевая сопротивление каучука 22, вытекающего через отверстия 23 (начинается отсчет времени самоликвидации). При встрече с преградой (фиг.4) инерционный ударный механизм под действием осевой составляющей инерционной силы продвигается к капсюлю-детонатору 1, накалывает его жалом 9, вызывая срабатывание взрывателя. В случае несрабатывания от ударного действия взрыватель срабатывает от механизма самоликвидации (фиг.5), работа которого заканчивается при освобождении шариков 10 поршнем 11 в процессе его продвижения под усилием пружины 21, выдавливая каучук 22 через отверстия 23. Время самоликвидации определяется диаметром отверстий 23 и вязкостью каучука. В момент освобождения шариков 10 боек 8 под действием пружины 24 передает механическую энергию через жало 9 на капсюль-детонатор 1, вызывая его срабатывание.
Достоинствами настоящего взрывателя являются повышенный уровень безопасности, надежности и эффективности действия, возможность применения в КБ с малым стартовым импульсом, так как при его взведении не используется перегрузка, возникающая при выстреле.
Формула изобретения
1. Донный взрыватель для кассетного боевого элемента, содержащий движок с капсюлем-детонатором, механизм дальнего взведения, систему предохранения, ударный механизм, связанный с аэродинамическим стабилизатором боевого элемента и совмещенный с гидравлическим механизмом самоликвидации со стреляющим механизмом, отличающийся тем, что система предохранения содержит гидравлический предохранитель, запускаемый газогенератором кассетного боеприпаса и выполненный в виде поршня, один торец которого содержит ступенчатый выступ, блокирующий движок, а второй торец опирается на вязкотекучий материал, размещенный в полости цилиндра с дросселирующим отверстием в донышке, закрытом подпружиненным колпачком, а объем под колпачком загерметизирован.
2. Взрыватель по п.1, отличающийся тем, что поршень гидравлического предохранителя выполнен с кольцевой канавкой по наружной цилиндрической поверхности, заполненной вязкотекучим материалом, а ступенчатый выступ поршня снабжен фиксатором в виде упругой скобы.
3. Донный взрыватель для кассетного боевого элемента, содержащий движок с капсюлем-детонатором, механизм дальнего взведения, систему предохранения, ударный механизм, связанный с аэродинамическим стабилизатором боевого элемента и совмещенный с гидравлическим механизмом самоликвидации со стреляющим механизмом, отличающийся тем, что ударный механизм выполнен в виде инерционной втулки, внутри которой помещен стреляющий механизм, подпружиненный боек которого упирается в шарики, размещенные в окнах трубки, жестко закрепленной в инерционной втулке, и упирающиеся в расточку подпружиненного поршня, заблокированного через другие шарики в инерционной втулке корпусными деталями, при этом объем между поршнем и трубкой прикрыт заглушкой и заполнен вязкотекучим материалом, с возможностью перетекания его через фильерные отверстия, выполненные в заглушке.
РИСУНКИ
QB4A – Регистрация лицензионного договора на использование изобретения
Лицензиар(ы): Федеральное государственное унитарное предприятие “Научно-исследовательский технологический институт им. П.И. Снегирева” (ФГУП “НИТИ им. П.И. Снегирева”)
Вид лицензии*: НИЛ
Лицензиат(ы): Федеральное государственное унитарное предприятие “Нижнеломовский электромеханический завод” (ФГУП “Нижнеломовский ЭМЗ”)
Договор № РД0065167 зарегистрирован 01.06.2010
Извещение опубликовано: 10.07.2010 БИ: 19/2010
* ИЛ – исключительная лицензия НИЛ – неисключительная лицензия
|
|