|
|
(21), (22) Заявка: 2006119442/02, 04.10.2004
(24) Дата начала отсчета срока действия патента:
04.10.2004
(30) Конвенционный приоритет:
03.11.2003 EP 03104048.8
(43) Дата публикации заявки: 20.12.2007
(46) Опубликовано: 10.06.2009
(56) Список документов, цитированных в отчете о поиске:
ЕР 0769671 А2, 23.04.1997. DE 20007820 U1, 14.09.2000. US 5883018 A, 16.03.1999. US 5736474 A, 07.04.1998. RU 2116606 C1, 27.07.1998. RU 14396 U1, 20.07.2000.
(85) Дата перевода заявки PCT на национальную фазу:
05.06.2006
(86) Заявка PCT:
EP 2004/052419 20041004
(87) Публикация PCT:
WO 2005/050127 20050602
Адрес для переписки:
103735, Москва, ул. Ильинка, 5/2, ООО “Союзпатент”, пат.пов. Л.С.Кишкиной
|
(72) Автор(ы):
ЭРМАН Патрик (BE), ПЮЙПЕ Лоде (BE), ЛЕФЕБВРЕ Ливен (BE)
(73) Патентообладатель(и):
НВ БЕКАЭРТ СА (BE)
|
(54) ВСТАВКА, СТОЙКАЯ К ПРОКАЛЫВАНИЮ, ДЛЯ ЗАЩИТНОГО ТЕКСТИЛЬНОГО ИЗДЕЛИЯ И ЗАЩИТНОЕ ТЕКСТИЛЬНОЕ ИЗДЕЛИЕ
(57) Реферат:
Группа изобретений относится к защитным текстильным материалам, стойким к прокалыванию. Вставка, стойкая к прокалыванию, для защитного текстильного изделия содержит по меньшей мере один металлический слой и по меньшей мере один слой текстиля. Слой текстиля представляет собой нетканый материал, находится в контакте и соединен с металлическим слоем. По меньшей мере один металлический слой образован тканой структурой из металлокорда или металлической проволоки. Слой текстиля крепится к металлическому слою посредством стежков, тонкой термопластичной пленки или клея. Предложено также защитное текстильное изделие, содержащее вставку, стойкую к прокалыванию. Изобретение повышает уровень стойкости к прокалыванию защитного изделия и обеспечивает комфортность. 2 н. и 9 з.п. ф-лы, 4 ил.
Область техники, к которой относится изобретение
Изобретение относится к вставке, стойкой к прокалыванию, для защитного текстильного изделия. Устойчивая к прокалыванию вставка содержит, по меньшей мере, один металлический слой и, по меньшей мере, один текстильный слой. Данное изобретение относится также к защитному изделию, содержащему такую вставку, стойкую к прокалыванию.
Уровень техники
Защитные ткани приобретают все большее значение по мере увеличения насилия и его частого проявления в виде нападений с колющим оружием и кражи багажа со вспарыванием ножом чемоданов.
Синтетические волокна, такие как арамидные волокна и полиэтиленовые волокна высокой плотности с большим молекулярным весом зарекомендовали себя как пулестойкие. Однако относительно колющего оружия, такого как ножи и кинжалы, эти волокна имеют лишь низкие характеристики. Это обуславливается внутренне присущей этим синтетическим волокнам, так же как и всем синтетическим волокнам, слабости относительно поперечной стойкости. Металл и, в частности, сталь имеют большую стойкость к радиальному сжатию.
Из уровня техники это свойство металла и стали уже известно. В ЕР-А2-0769671 раскрыт стойкий к прокалыванию материал с комплектом металлических прядей, которые прикреплены к неметаллической опорной ткани. Металлические пряди расположены в одном направлении.
В US-A-5883018 раскрыта оптимизация металлических прядей для использования в стойком к прокалыванию материале. Используется стальной корд с двумя или несколькими различными углами скручивания для увеличения способности останавливать проникновение ножей.
В WO-A1-98/45516 раскрыт стойкий к прокалыванию материал, где стальной корд образует решетку, т.е. где как уток, так и основа образованы стальным кордом.
В DE-U1-20007820 раскрыта комбинация из стойкого к прокалыванию материала и баллистического материала. Стойкий к прокалыванию материал образован кольчугой.
Такая кольчуга имеет преимущество очень большой гибкости, однако имеет недостаток отсутствия стабильности формы. Для того чтобы придать стойкому к прокалыванию материалу стабильность формы, кольчуга закреплена или соединена на кромках с нетканым текстильным материалом. В случаях защиты от баллистического оружия, если проникающие пули разрушают цепь кольчуги на осколки, то нетканый материал улавливает осколки для предотвращения их проникновения в тело.
К бронежилетам и защитному текстилю всегда предъявляются противоречивые требования. С одной стороны, требования комфорта подталкивают дизайнеров к использованию меньшего количества материала. С другой стороны, требования безопасности приводят к увеличению поглощающих удары и стойких к прокалыванию материалов.
Сущность изобретения
Задачей данного изобретения является преодоление недостатков в известном уровне техники.
Другой задачей данного изобретения является создание материала, который обеспечивает как комфортность, так и безопасность защитных материалов. Задачей данного изобретения является также обеспечение взаимодействия и совместных усилий между металлом и текстилем.
Согласно данному изобретению, предлагается вставка, стойкая к прокалыванию для защитного текстильного изделия. Вставка содержит, по меньшей мере, один металлический слой ткани из металлокорда или металлической проволоки и, по меньшей мере, один текстильный слой. Текстильный слой находится в контакте и соединен с металлическим слоем. Текстильный слой представляет собой нетканый материал.
Понятие «нетканый материал» включает волоконные структуры, выполненные с помощью таких процессов, как сухое, влажное или воздушное укладывание, прошивание иглой, получение нетканого материала из расплава и гидропереплетение. Понятие нетканого материала исключает тканые, трикотажные и ворсовые структуры. Понятие «нетканая структура» относится к структуре, волокна которой механически переплетены друг с другом или же химически соединены друг с другом.
Использование нетканого материала, который соединен с металлическим слоем, приводит к стойкости к прокалыванию.
Металлическая проволока или корд металлического слоя является обычно углеродистой сталью или нержавеющей сталью. В случае углеродистой стали, проволока и корд обычно покрыты стойким к коррозии покрытием, таким как цинк или цинковый сплав, такой как сплав цинка с алюминием.
В ткани металлического слоя металлокорд или металлическая проволока могут лежать параллельно. Расстояние между двумя смежными прядями металлокорда или проволоки изменяется между 0,40 и 3,20 мм, например, между 0,50 мм и 3,0 мм.
Наряду с преимуществом увеличения стойкости к прокалыванию, дополнительным преимуществом нахождения в контакте и соединения слоя нетканого текстиля с металлическим слоем является то, что слой нетканого текстиля предотвращает перемещение проволоки или корда в текстиле, когда композит из металла и текстиля разрезают для формирования стойкой к прокалыванию вставки.
В первом варианте выполнения данного изобретения металлический корд или проволока имеют одно направление внутри единственного металлического слоя, т.е. протяженные металлические элементы не пересекаются друг с другом. Металлические протяженные элементы прикрепляются к нетканому материалу с помощью клея или с помощью термопластичной пленки с целью уменьшения вероятности сдвига протяженных металлических элементов в направлении друг друга. В этом первом варианте выполнения предпочтительно предусмотрено более одного металлического слоя. В разных металлических слоях протяженные металлические элементы имеют, по меньшей мере, два различных направления для протяженных металлических элементов. Когда ножу удается пройти через первый металлический слой, то вероятность остановки во втором или последующем металлическом слое увеличивается, если второй или последующий металлический слой имеют направления, отличные от направления первого слоя. Аналогичным образом, вероятность остановки ножа увеличивается, если увеличивается число металлических слоев. Однако число металлических слоев ограничено по соображениям веса и жесткости. Возможно иметь до шести однонаправленных металлических слоев. Предпочтительно иметь два, три и четыре однонаправленных слоя.
Во втором варианте выполнения данного изобретения по меньшей мере один металлический слой является многонаправленным, например, двунаправленным. Это означает, что внутри одного металлического слоя протяженные металлические элементы пересекаются друг с другом. Это можно реализовать посредством сварки или посредством переплетения уточных и основных протяженных металлических элементов. Уточные и основные протяженные металлические элементы предпочтительно ткут. Уточные и основные протяженные металлические элементы предпочтительно образуют друг с другом прямой угол (90°). Нетканый материал соединяют с металлическим слоем с помощью клея или же с помощью термопластичной пленки или же с помощью стежков. Этот второй вариант выполнения имеет недостаток наличия металлического слоя, который несколько жестче, чем единственный металлический слой из первого варианта выполнения (однонаправленный), но имеет то преимущество, что в конечной вставке требуется меньше металлических слоев для одинаковой стойкости к прокалыванию. Предпочтительно иметь один или два многонаправленных металлических слоя. Это уменьшенное количество металлических слоев во втором варианте выполнения может приводить к большей гибкости или к меньшему весу по сравнению с первым вариантом выполнения.
Как для первого, так и для второго варианта выполнения изобретатели экспериментально установили, что является предпочтительным, если нетканый материал содержит некоторые части, которые проникают между удлиненными элементами металлического слоя. Это проникновение можно реализовать, например, с помощью игольного свойлачивания нетканого материала, так что волокна больше не ориентированы в двух направлениях лишь в одной плоскости нетканого материала, а некоторые волокна ориентированы в плоскости, перпендикулярной плоскости нетканого материала. Таким образом, некоторые волокна выступают из плоскости нетканого материала с проникновением между протяженными металлическими элементами. Это проникновение уменьшает вероятность сдвига протяженных элементов в направлении друг к другу. Присутствие клея или стежков усиливает этот эффект.
Нетканый материал предпочтительно содержит синтетические волокна. Нетканый материал особенно предпочтительно содержит синтетические волокна, которые известны как имеющие действие поглощения ударов, такие как арамидные волокна, параарамидные волокна, полиэтиленовые волокна высокой плотности с большим молекулярным весом, волокна поли(р-фенилен-2,6-бензобисоксазола) (волокна РВО), волокна полибензимидазола (волокна PBI) или любые их комбинации.
В стойкой к прокалыванию вставке каждый металлический слой может находиться в контакте и соединен с двумя текстильными слоями, по одному с каждой стороны.
Изобретение относится также к защитному текстилю, содержащему стойкую к прокалыванию вставку, описание которой приведено выше. Защитный текстиль обычно содержит также пуленепробиваемую вставку. Пуленепробиваемая вставка обычно расположена ближе к телу, а стойкая к прокалыванию вставка обычно образует наружную часть.
Краткое описание чертежей
Ниже приводится подробное описание изобретения со ссылками на прилагаемые чертежи, на которых изображено:
фиг.la – разрез части стойкой к прокалыванию вставки, согласно изобретению;
фиг.1b – часть фиг.1а в увеличенном масштабе;
фиг.2 – первый вариант выполнения данного изобретения;
фиг.3 – второй вариант выполнения данного изобретения.
Описание предпочтительных вариантов выполнения изобретения
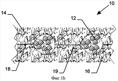
На фиг.1 показан разрез части стойкой к прокалыванию вставки 10, согласно изобретению. Стойкая к прокалыванию вставка 10 имеет единственный однонаправленный слой прядей стального корда 12, лежащих параллельно друг другу. Стальной корд 12 в данном примере относится к типу 3×3×0,18. Стальной корд 12 образует основу тканой структуры. Уток (не изображен) образует пропитанный адгезионным составом нейлон. Уток может быть также образован с помощью арамидных волокон или с помощью полиэтиленовых волокон высокой плотности с высоким молекулярным весом. Расстояние между прядями стального корда составляет 2,2 мм. Обычно, это расстояние может изменяться между 0,4 мм и 3,2 мм, например, между 0,5 мм и 3,0 мм, при этом расстояния измеряются как шаг корда, т.е. между осями корда. Над слоем стального корда 12 находится нетканая структура 14, а ниже слоя стального корда 12 также находится нетканая структура 16. Нетканая структура является игольным войлоком, состоящим из волокон полиакрилата, параамида и оксидированного полиакрилонитрила. Она имеет толщину около 2,30 мм (±0,30 мм) и вес около 80 г/м2 (±8%). Обе нетканые структуры 14 и 16 соединены со слоем 12 с помощью тонкой термопластичной пленки, такой как полиамидная пленка. Можно использовать также клеи, такие как клеи на основе акрилата или на основе полиуретана. За счет игольного свойлачивания нетканой структуры некоторые волокна 19 направлены в третьем измерении, т.е. в плоскости, перпендикулярной плоскости нетканой структуры, и пронизывают отверстия между прядями стального корда 12.
На фиг.2 показан первый вариант выполнения данного изобретения. Стойкая к прокалыванию вставка имеет четыре разные части 10, 20, 30 и 40. Каждая часть 10, 20, 30 и 40 аналогична структуре на фиг.1а и фиг.1b, т.е. каждая часть 10, 20, 30 и 40 имеет соответствующий слой стального корда 12, 22, 32 и 42, который заключен между двумя неткаными структурами. Расстояние между отдельными прядями стального корда изменяется от 0,5 мм до 3,0 мм. Типичная форма каждой части 10, 20, 30 и 40 соответствует спине мужчины. Эта типичная форма получена с помощью разрезания лазером. Дополнительным преимуществом использования нетканой структуры, согласно данному изобретению, является то, что нетканая структура предотвращает стальной корд от раскрывания перед и после разрезания лазером. Другими словами, нетканые структуры способствуют целостности вставки. Присутствие клея усиливает это преимущество.
Вставка в качестве стойкого к прокалыванию элемента, согласно первому варианту выполнения, показанному на фиг.2, оказалась успешной в комбинации с пуленепробиваемым элементом, имеющим несколько слоев полиэтиленовых волокон высокой плотности с большим молекулярным весом (известных на рынке как волокна DYNEEMA®). Присутствие стойкой к прокалыванию вставки уменьшает необходимое число слоев волокна DYNEEMA®. Причиной этому является то, что наружная часть образована стойкой к прокалыванию вставкой, и что эта стойкая к прокалыванию вставка может уже останавливать пули или по меньшей мере замедлять пули.
На фиг.3 показан второй вариант выполнения данного изобретения. Стойкая к прокалыванию вставка 50 содержит металлический слой, имеющий стальной корд 52 и стальной корд 53, которые пересекаются друг с другом. Металлический слой может быть образован тканой структурой, в которой как уток, так и основа являются стальным кордом. Расстояние между прядями основного стального корда 52 находится в диапазоне от 0,5 до 3,0 мм. Расстояние между прядями уточного стального корда 52 находится в диапазоне от 0,5 до 3,0 мм. Над тканой металлической структурой находится нетканая структура 54, и под тканой металлической структурой также находится нетканая структура (не изображена). Нетканые структуры соединены с металлическим слоем с помощью клея или с помощью стежок. Типичная форма стойкой к прокалыванию вставки 50 соответствует женской груди. Эта форма реализована снова с помощью разрезания лазером.
Второй вариант выполнения оказался особенно успешным в качестве стойкой к прокалыванию вставки в комбинации с несколькими слоями параарамидных или арамидных волокон в качестве пуленепробиваемого элемента.
Данное изобретение не ограничивается особым типом протяженных металлических элементов. Подходящими являются металлическая проволока и металлическая пряжа. Однако по причинам гибкости в соединении с соображениями безопасности, предпочтение отдается металлическому многожильному корду с относительно тонкими нитями, т.е. нитями с диаметром в диапазоне от 0,03 мм до 0,25 мм. Многожильный металлический корд обычно принадлежит к типу mxn, где m является числом жил, а n – числом нитей внутри одной жилы. Примерами многожильного корда являются:
3×3
7×3
7×4
4×7
3+5×7
7×7.
Не исключены другие типы корда. Эти другие типы корда могут иметь следующую основную структуру:
l+m(+n):l нитей сердечника, слой из m нитей и, возможно, слой из n нитей.
n×1:n скрученных друг с другом нитей;
m+n:m параллельных нитей, окруженных n нитями, скрученными вокруг каждой второй и вокруг m нитей;
1×n СС: компактный корд с n нитями, скрученными все с одинаковым шагом в одинаковом направлении скручивания.
Изобретение также не ограничено конкретным типом покрытия на стальном корде в металлическом слое. Однако, в случае использования стойкой к прокалыванию вставки в защитном текстильном изделии, который необходимо чистить или стирать, предпочтительным является стальной корд из нержавеющей стали или стальной корд, покрытый стойким к коррозии покрытием, таким как цинк или сплав цинка с алюминием (от 2% до 9% алюминия). Изобретение подходит для всех обычных и доступных конечных прочностей на растяжение от 1500 МПа до около 3500 МПа или более.
Формула изобретения
1. Вставка стойкая к прокалыванию для защитного текстильного изделия, содержащая по меньшей мере один металлический слой, по меньшей мере один слой текстиля, при этом слой текстиля находится в контакте и соединен с металлическим слоем, слой текстиля представляет собой нетканый материал, причем по меньшей мере один металлический слой образован тканой структурой из металлокорда или металлической проволоки, отличающаяся тем, что слой текстиля крепится к металлическому слою посредством стежков, тонкой термопластичной пленки или клея.
2. Вставка по п.1, в которой ткань содержит металлокорд или металлическую проволоку, лежащую параллельно с расстоянием между прядями указанного металлокорда или металлической проволоки между 0,4 мм и 3,2 мм.
3. Вставка по п.1, в которой металлокорд или металлическая проволока имеет одно направление внутри металлического слоя, и в которой металлокорд или металлическая проволока соединены с нетканым материалом с помощью клея или с помощью термопластичной пленки.
4. Вставка по п.3, в которой вставка содержит более одного металлического слоя.
5. Вставка по п.4, в которой более одного металлические слои имеют различные направления, в которых проходят металлокорд или металлическая проволока.
6. Вставка по п.2, в которой по меньшей мере один металлический слой является многонаправленным.
7. Вставка по любому из пп.2-6, в которой часть нетканого материала проникает между металлокордом или металлической проволокой для уменьшения вероятности сдвига металлокорда или металлической проволоки в металлическом слое.
8. Вставка по п.1, в которой нетканый материал содержит синтетические волокна.
9. Вставка по п.8, в которой более 30% синтетических волокон выбрано из группы, состоящей из арамидного волокна, полиэтиленового волокна высокой плотности с большим молекулярным весом, волокна поли(р-фенилен-2,6-бензобисоксазола), волокна полибензимидазола или любые их комбинации.
10. Вставка по п.4, в которой каждый металлический слой находится на обеих сторонах в контакте и соединен со слоем текстиля.
11. Защитное текстильное изделие, содержащее вставку, стойкую к прокалыванию, по любому из пп.1-10.
РИСУНКИ
|
|