|
|
(21), (22) Заявка: 2007128228/02, 23.07.2007
(24) Дата начала отсчета срока действия патента:
23.07.2007
(43) Дата публикации заявки: 27.01.2009
(46) Опубликовано: 10.06.2009
(56) Список документов, цитированных в отчете о поиске:
RU 2203466 С2, 27.04.2003. RU 2044250 C1, 20.09.1995. GB1170077 A, 12.11.1969. EP 0973004 A2, 19.01.2000.
Адрес для переписки:
610017, г.Киров (обл.), ул. Молодой Гвардии, 67, ОАО “Кировский завод “Маяк”, патентная служба
|
(72) Автор(ы):
Борисов Александр Дмитриевич (RU), Иванов Владимир Николаевич (RU), Корюгин Геннадий Васильевич (RU), Кузин Николай Николаевич (RU), Куклин Владимир Яковлевич (RU), Лейферов Леонид Еремеевич (RU), Сердюков Петр Иванович (RU), Смирнов Сергей Алексеевич (RU)
(73) Патентообладатель(и):
Открытое акционерное общество “Кировский завод “Маяк” (RU), ФГУП Центральный научно-исследовательский институт точного машиностроения (RU)
|
(54) СТРЕЛЯЮЩЕЕ УСТРОЙСТВО
(57) Реферат:
Изобретение относится к многозарядным средствам самообороны с малоимпульсными патронами. Корпус-магазин выполнен неразъемным, за одно целое с кронштейнами под фиксатор патрона на линии огня и имеет нишу под ударно-спусковой механизм, закрытую съемной крышкой. У фиксатора, закрепленного от продольного осевого смещения при помощи установленной в одном из кронштейнов поперечной шпонки и подпружиненного пружиной, установленной в радиальной секторной выемке его основания с упором на упомянутую поперечную шпонку, продольная ось внутренней поверхности смещена относительно продольной оси наружной поверхности в сторону отверстия для экстракции патрона на величину e R-r, где R и r – соответственно радиусы наружной и внутренней поверхностей фиксатора. Спусковой крючок, ось которого установлена в поперечной шпонке, выполнен за одно целое с шепталом, имеющим форму кулачка, контактирующим с тягой. Повышается технологичность изготовления устройства и надежность при эксплуатации. 2 з.п. ф-лы, 8 ил.
Изобретение относится к многозарядным средствам самообороны с малоимпульсными патронами, гильза которых при выстреле служит патронником, и может быть использовано (в комплекте с соответствующими боеприпасами – жидкостными, газовыми, шумовыми, сигнальными) как охранными организациями, так и гражданами в качестве средства самообороны или для подачи тревожного сигнала.
Известно стреляющее устройство [1], содержащее корпус-магазин, выполненный составным в виде магазина с загибами для удержания патрона на линии огня, в котором установлен подпружиненный подаватель патронов, и корпуса-крышки, несущего ударно-спусковой механизм и патронную задержку в виде поворотной звездки, фиксируемой храповиком и связанной со спусковым крючком посредством подпружиненной тяги-разобщителя, установленной с возможностью взаимодействия с храповиком и звездкой.
В известном устройстве плечо спускового крючка, взаимодействующее с ударно-спусковым механизмом, имеет длину, соответствующую длине патрона, поэтому необходимо приложение весьма значительного усилия на другое, более короткое плечо спускового крючка. Это ухудшает потребительские качества устройства, выражающиеся в неудобстве эксплуатации и неэффективности срабатывания. Кроме того, составная в поперечном сечении конструкция корпуса-магазина нетехнологична для серийного производства.
Наиболее близким к предлагаемому устройству является бесствольное стреляющее устройство под патрон специального назначения [2], содержащее корпус-магазин, фиксатор патрона на линии огня, выполненный в виде неполного полого кругового цилиндра с двумя основаниями и внутренней поверхностью, эквидистантной поверхности патрона, подпружиненный подаватель патронов из магазина, предохранитель и самовзводный ударно-спусковой механизм, включающий боек с возвратной пружиной, установленный в одном из оснований фиксатора патрона, взаимодействующий с бойком курок, установленный на закрепленной в корпусе оси боевой пружины, и спусковой крючок с возвратной пружиной, кинематически связанный при помощи тяги с курком и фиксатором патрона, установленным в горловине магазина с возможностью осевого поворота. Это устройство является прототипом заявляемого изобретения.
К недостаткам прототипа можно отнести, во-первых, усложненность конструкции ударно-спускового механизма из-за наличия дополнительной взводящей пластины, а также сложность операции заполнения магазина патронами вследствие необходимости дополнительных манипуляций со спусковым крючком и взводящей пластиной, что отрицательно сказывается на его потребительских качествах. Кроме того, у прототипа нетехнологичной, особенно для серийного производства, является конструкция разъемного корпуса-магазина.
Задачей, на решение которой направлено заявляемое изобретение, является создание эффективного средства самообороны, имеющего технологичную для производства конструкцию и обладающего высокими потребительскими качествами.
Для решения поставленной задачи у стреляющего устройства под патрон специального назначения, содержащего корпус-магазин, фиксатор патрона на линии огня, выполненный в виде неполного полого кругового цилиндра с двумя основаниями и внутренней поверхностью, эквидистантной поверхности патрона, подпружиненный подаватель патрона из магазина, предохранитель и самовзводный ударно-спусковой механизм, включающий боек с возвратной пружиной, установленный в одном из оснований фиксатора патрона, взаимодействующий с бойком курок, установленный на закрепленной в корпусе оси боевой пружины, и спусковой крючок с возвратной пружиной, кинематически связанный при помощи тяги с курком и фиксатором патрона, установленным в горловине магазина с возможностью осевого поворота, корпус-магазин выполнен неразъемным, за одно целое с кронштейнами для установки фиксатора патрона на линии огня и имеет нишу под ударно-спусковой механизм, закрытую съемной крышкой, при этом у фиксатора, закрепленного от продольного осевого смещения при помощи установленной в одном из кронштейнов поперечной шпонки и подпружиненного пружиной, установленной в радиальной секторной выемке его основания с упором на поперечную шпонку, продольная ось внутренней поверхности смещена относительно продольной оси его наружной поверхности в сторону отверстия для экстракции патрона на величину е R-r, где R и r – соответственно радиусы наружной и внутренней поверхностей фиксатора, а спусковой крючок, ось которого установлена в поперечной шпонке, выполнен за одно целое с шепталом, имеющим форму кулачка, контактирующего с тягой.
Тяга размещена в боковой выемке корпуса-магазина и снабжена роликом, установленным в боковой выемке фиксатора.
Предохранитель, выполненный из листовой пружинной стали в виде изогнутого рычажка с фигурным выступом, расположен над спусковым крючком и закреплен на корпусе с возможностью поворота и фиксации в двух положениях.
Отличительные признаки предлагаемого решения обеспечивают повышение и технологичности конструкции стреляющего устройства, и его потребительских качеств. Так, выполнение корпуса-магазина неразъемным значительно упрощает и удешевляет технологию его изготовления вследствие отсутствия требований к точному совпадению контуров стыков и, кроме того, способствует улучшению внешнего вида устройства. Выполнение фиксатора патрона со смещением (эксцентриситетом) продольной оси его внутренней поверхности, совпадающей с осью патрона на линии огня, относительно продольной оси его наружной поверхности (геометрической оси) позволяет обеспечить надежную экстракцию патрона при меньшем угле поворота фиксатора. Это способствует упрощению кинематики ударно-спускового механизма устройства и снижению усилия воздействия на спусковой крючок, что положительно сказывается на потребительских качествах устройства в целом.
Заявителям неизвестно использование отличительных признаков заявленного решения с получением указанного технического результата.
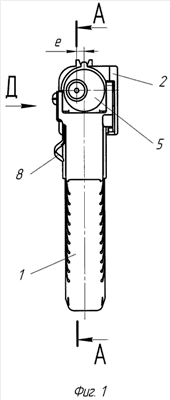
Изобретение поясняется чертежами, где на фиг.1 изображено стреляющее устройство, вид спереди; на фиг.2 – разрез А-А фиг.1, на фиг.3 – стреляющее устройство, вид слева при снятой съемной крышке, на фиг.4 – разрез Б-Б на фиг.2, на фиг.5 – разрез В-В на фиг.2; на фиг.6 – разрез Г-Г фиг.3; на фиг.7 – вид Д фиг.1 (вид на предохранитель); на фиг.8 – вид Е на фиг.4.
Стреляющее устройство под патрон специального назначения содержит корпус-магазин 1 со съемной крышкой 2, подпружиненный подаватель 3 патронов 4 из магазина, фиксатор 5 патрона 4 на линии огня, спусковой крючок 6 с возвратной пружиной 7, предохранитель 8, а также расположенный в нише 9 корпуса 1 (под крышкой 2) самовзводный ударно-спусковой механизм, включающий кинематически связанные со спусковым крючком 6 тягу-толкатель 10 и курок 11 с кронштейном 12, подпружиненный боек 13, а также боевую пружину 14, на оси 15 которой, закрепленной в корпусе 1, установлен курок 11. Корпус 1 выполнен неразъемным и за одно целое с кронштейнами 16 и 17 под фиксатор 5. Фиксатор 5, выполненный в виде неполного полого кругового цилиндра с основаниями 18 и 19 и внутренней поверхностью, эквидистантной поверхности патрона 4, установлен с возможностью поворота вокруг продольной оси и закреплен от продольного осевого смещения в кронштейне 16 при помощи поперечной шпонки 20. В радиальной секторной выемке основания 18 установлена (с упором на шпонку 20) подпружинивающая фиксатор 5 пружина 21. Ось внутренней поверхности фиксатора 5, совпадающая с осью патрона на линии огня, смещена относительно продольной оси его наружной поверхности, являющейся геометрической осью цилиндра фиксатора 5, на величину эксцентриситета е R-r, где R и r – соответственно радиусы наружной и внутренней боковых цилиндрических поверхностей фиксатора 5. В основании 18 фиксатора 5 на линии огня имеется дульное отверстие 22, а в отверстии основания 19 на этой линии установлен подпружиненный боек 13. Ось 23 спускового крючка 6, который выполнен за одно целое с шепталом 24, имеющим форму кулачка, установлена в поперечной шпонке 20. Тяга-толкатель 10 снабжена роликом 25, расположенным в горизонтальной боковой выемке фиксатора 5. Предохранитель 8 выполнен из листовой пружинной стали в виде изогнутого дугообразного рычажка с фигурным выступом, расположен над спусковым крючком 6 и закреплен на корпусе 1 на уровне оси 23 спускового крючка 6 с возможностью поворота и фиксации в двух положениях.
Стреляющее устройство работает следующим образом.
Перед снаряжением патронами устройство ставят на предохранитель, для чего рычажок предохранителя 8 устанавливают в положение “Ч”. При этом предохранитель 8, упираясь своим фигурным выступом в выступ корпуса (см. фиг.7), фиксируется в положении блокировки спускового крючка 6 от случайных воздействий. Снаряжение осуществляют вручную путем поочередного проталкивания патронов 4 в магазин через его горловину, образованную поверхностью “Т” корпуса-магазина 1 и внутренней поверхностью “Ф” фиксатора 5, с преодолением усилия пружины 21 фиксатора 5 и усилия пружины подавателя 3, которое возрастает по мере заполнения магазина патронами. У полностью снаряженного устройства пять патронов находятся в магазине (это оптимальная емкость магазина) и еще один патрон – в фиксаторе 5 на линии огня.
Для производства выстрела рычажок предохранителя 8 устанавливают в положение “Ш”, обеспечивая разблокировку спускового крючка 6.
При нажатии на спусковой крючок 6 шептало 24 своей поверхностью “Ж” воздействует на тягу-толкатель 10, которая, перемещаясь, производит поворот курка 11 и взведение боевой пружины 14. В момент расцепления шептала 24 с тягой 10, когда кромка “П” шептала 24 переместилась за поверхность “Н” тяги 10, курок 11, резко повернувшись вперед, ударяет по бойку 13, который разбивает капсюль патрона 4. Происходит выстрел с метанием жидкости из патрона 4 через дульное отверстие 22 в основании 18 фиксатора 5.
При отпускании спускового крючка 6, который под действием своей возвратной пружины 7 начинает возвращаться в исходное положение, шептало 24 воздействует кромкой “П” на поверхность “Н” тяги 10. Тяга 10 поворачивается на шарнире курка 11, воздействуя через ролик 25 на фиксатор 5, который поворачивается вокруг своей геометрической оси. Когда расстояние между поверхностью “Ф” фиксатора 5 и поверхностью “Т” горловины корпуса-магазина 1 достигнет величины, большей диаметра патрона 4, отстрелянный патрон 4 под воздействием подпружиненного подавателя 3 экстрагируется из устройства.
После экстракции отстрелянного патрона 4 фиксатор 5 под действием пружины 21 возвращается в исходное положение, а тяга 10 перемещается в положение, когда обеспечивается контакт поверхности “Ж” ее упора 26 с шепталом 24. При этом в фиксатор 5 на линию огня становится очередной патрон 4, выталкиваемый из магазина подпружиненным подавателем 3. Устройство готово к следующему выстрелу.
Источники информации
1. Патент РФ на изобретение 2044250. Стреляющее устройство. МПК F41C 9/00, опубл. 20.09.1995.
2. Патент РФ на изобретение 2203466. Бесствольное стреляющее устройство под патрон специального назначения. МПК F41B 9/00, опубл. 27.04.2003 (прототип).
Формула изобретения
1. Стреляющее устройство под патрон специального назначения, содержащее корпус-магазин, в горловине которого установлен с возможностью осевого поворота фиксатор патрона на линии огня, выполненный в виде неполного полого кругового цилиндра с двумя основаниями и внутренней поверхностью, эквидистантной поверхности патрона, подпружиненный подаватель патрона из магазина, предохранитель и самовзводный ударно-спусковой механизм, включающий боек с возвратной пружиной, установленный в одном из оснований фиксатора патрона, взаимодействующий с бойком курок, установленный на закрепленной в корпусе-магазине оси боевой пружины, и спусковой крючок с возвратной пружиной, кинематически связанный при помощи тяги с курком и фиксатором патрона, отличающееся тем, что корпус-магазин выполнен неразъемным заодно целое с кронштейнами под фиксатор патрона на линии огня и содержит нишу под ударно-спусковой механизм, закрытую съемной крышкой, фиксатор патрона закреплен от продольного осевого смещения при помощи установленной в одном из кронштейнов поперечной шпонки и подпружинен пружиной, установленной в радиальной секторной выемке его основания с упором на поперечную шпонку, при этом продольная ось внутренней поверхности фиксатора патрона смещена относительно продольной оси его наружной поверхности в сторону отверстия для экстракции патрона на величину e R-r, где R и r – соответственно радиусы наружной и внутренней поверхностей фиксатора патрона, а спусковой крючок, ось которого установлена в поперечной шпонке, выполнен заодно целое с шепталом, выполненным в виде кулачка, контактирующего с тягой.
2. Стреляющее устройство по п.1, отличающееся тем, что тяга размещена в боковой выемке корпуса-магазина и снабжена роликом, установленным в боковой выемке фиксатора.
3. Стреляющее устройство по п.2, отличающееся тем, что предохранитель выполнен из листовой пружинной стали в виде изогнутого рычажка с фигурным выступом, расположен над спусковым крючком и закреплен на корпусе-магазине с возможностью поворота и фиксации в двух положениях.
РИСУНКИ
|
|