|
|
(21), (22) Заявка: 2006105190/12, 18.03.2005
(24) Дата начала отсчета срока действия патента:
18.03.2005
(30) Конвенционный приоритет:
24.03.2004 DE 102004014822.8
(43) Дата публикации заявки: 27.08.2006
(46) Опубликовано: 10.06.2009
(56) Список документов, цитированных в отчете о поиске:
US 5499639 А, 19.03.1996. RU 2120585 C1, 20.10.1998. SU 24067 A, 30.11.1931.
(85) Дата перевода заявки PCT на национальную фазу:
20.02.2006
(86) Заявка PCT:
EP 2005/002903 20050318
(87) Публикация PCT:
WO 2005/093360 20051006
Адрес для переписки:
103735, Москва, ул. Ильинка, 5/2, ООО “Союзпатент”, пат.пов. И.М.Захаровой
|
(72) Автор(ы):
КРЭМЕР Георг (DE), МАЙЕР-ХАЙНЕК Конрад (DE)
(73) Патентообладатель(и):
АРЕВА НП ГМБХ (DE)
|
(54) СПОСОБ ОЧИСТКИ ТРУБ ТЕПЛООБМЕННИКА С ПОМОЩЬЮ СТРУЙНОГО СРЕДСТВА И УСТРОЙСТВО ДЛЯ ЕГО ОСУЩЕСТВЛЕНИЯ
(57) Реферат:
Изобретение относится к способу очистки труб теплообменника с помощью струйного средства и к устройству для осуществления способа. Способ очистки, в котором к одному концу трубы теплообменника приставляют струйное сопло и через трубу продувают содержащий струйное средство воздушный поток, состоит в том, что струйное сопло, имеющее выходное отверстие, не вводят в трубу, а с уплотнением прижимают к торцевой стороне конца трубы окружающей выходное отверстие упорной поверхностью. Струйное устройство для осуществления способа характеризуется тем, что оно имеет струйное сопло с выходным отверстием, окруженным упорной поверхностью, проходящей в плоскости его отверстия и взаимодействующей с торцевой стороной очищаемой трубы, причем площадь поперечного сечения выходных отверстий соответствует площади внутреннего поперечного сечения очищаемой трубы. Струйное сопло, с помощью которого содержащий струйное средство воздушный поток может продуваться через трубу теплообменника, причем труба теплообменника имеет внутренний диаметр, а струйное сопло выполнено с возможностью соединения с подающим шлангом, который подает поток струйного средства и имеет подающий канал, по которому может протекать поток струйного средства, дополнительно выполненное следующим образом: струйное сопло содержит корпус с первым концом, противоположным вторым концом и ограниченным обоими концами проточным каналом, проходящим между первым и вторым концами. Первый конец имеет входное отверстие, через которое может втекать поток струйного средства из подающего шланга, а второй конец имеет выходное отверстие, через которое поток струйного средства может вытекать из сопла. Проточный канал имеет в зоне входного отверстия первый диаметр, а в зоне выходного отверстия – второй диаметр. Второй диаметр соответствует внутреннему диаметру трубы теплообменника, а первый диаметр приблизительно равен второму диаметру. Представлены также струйная головка, с помощью которой воздушный поток может быть продут одновременно через несколько труб, и способ очистки труб с применением содержащего струйное средство и протекающего через подающий шланг потока струйного средства. Изобретение обеспечивает повышение эффективности очистки. 5 н. и 46 з.п. ф-лы, 5 ил.
Изобретение относится к способу очистки теплообменника с помощью струйного средства и к устройству для осуществления способа. Трубы теплообменников необходимо время от времени очищать от отложений. Существует, правда, множество химических способов очистки, которые, однако, могут быть реализованы при большом числе теплообменных труб, соответствующем числе отверстий и с большими техническими затратами. Поэтому теплообменные трубы очищают, в первую очередь, механически. Помимо очистки щетками применяют струйные способы, при которых с помощью приставленного к одному концу трубы струйного сопла трубу продувают струйным средством. Такой способ описан, например, в DE 19546788 А1. В качестве струйного средства используют, например, стальные или корундовые частицы. Выходящие с другого конца трубы частицы собирают посредством улавливающего устройства и подают в контур струйного средства. Такое улавливающее устройство описано в DE 19837683 С2. При традиционном способе очистки, как показано на фиг.1, два фиксированных на держателе 3 струйных сопла 2 приставляют, например, к входной стороне 3 теплообменника 4. Струйные сопла 2 сужены на своем направленном в направлении 5 струи конце в цилиндрический патрубок 6, введенный в конец 7 трубы. На своем направленном навстречу направлению 5 струи конце струйные сопла 2 имеют соединенное с подающим шлангом 8 входное отверстие 9. Между окруженным передним концом патрубка 6 выходным отверстием 10 и входным отверстием 9 расположено сопло Вентури 12 с местом 13 дросселирования.
Задачей изобретения является создание альтернативного способа и альтернативно выполненного устройства для осуществления описанного выше способа, с помощью которых возможна, в частности, более эффективная очистка теплообменника.
Эта задача решается за счет того, что используют бездроссельное струйное сопло, преимущественно такое, выходное отверстие которого равно по величине или чуть меньше площади внутреннего сечения трубы. Это выполнение позволяет пропускать через очищаемую трубу большой воздушный поток, содержащий струйное средство. У традиционных струйных сопел это в такой степени невозможно. Там скорость потока струйного средства в соединенном со струйным соплом подающем шланге резко возрастает за счет относительного маленького узкого места в сопле Вентури. Вследствие этого стальные частицы выбрасываются с высокой кинетической энергией. Эти частицы, однако, затормаживаются уже внутри относительно короткого отрезка трубы. Тогда для очистки трубы в распоряжении имеется поток струйного средства лишь с небольшой концентрацией частиц. Здесь из-за отсутствия дросселирования или узкого места в струйном сопле имеет место поток струйного средства с очень высокой концентрацией частиц и связанной с этим высокой абразивностью. Выполнение, допускающее большие выходные отверстия, предусматривает, что струйное сопло охватывающей выходное отверстие упорной поверхностью прижимают к торцевой стороне конца трубы. В противоположность этому в уровне техники в конец трубы вводят суженный патрубок, причем выходное отверстие патрубка должно быть сужено относительно площади сечения трубы, по меньшей мере, на соответствующую толщине его стенки величину.
Затраты времени на способ очистки можно сократить за счет того, что несколько труб очищают одновременно. Это достигается за счет того, что используют несколько струйных сопел, закрепленных на держателе с шагом труб теплообменника. В то время как у традиционных способов и устройств фиксация положения струйных сопел происходит за счет того, что их вводят в конец трубы с суженным патрубком, согласно изобретению предусмотрен отстоящий в направлении струи фиксирующий палец, который при очистке вставляют в конец трубы. Это возможно без проблем, если фиксирующий палец расположен на держателе в соответствующем шагу труб положении.
Бездроссельное струйное сопло реализуют за счет того, что струйное сопло пронизано ограниченным входным и выходным отверстиями проточным каналом, причем проточный канал имеет, в основном, постоянную площадь сечения, приблизительно соответствующую величине выходного отверстия. Как сказано выше, выходное отверстие струйного сопла окружено упорной поверхностью, прижимаемой во время осуществления способа к торцевой стороне очищаемой трубы. Преимущественно эта упорная поверхность окружена расположенным радиально снаружи, аксиально выступающим буртиком. Упорная поверхность и буртик образуют при этом место посадки конца трубы. Это выполнение обеспечивает, во-первых, лучшую герметизацию зоны конца трубы, а во-вторых, дополнительную фиксацию положения устройства на теплообменнике. Этим предотвращается проворачивание несущего несколько струйных сопел держателя вокруг фиксирующего пальца в качестве оси вращения. Для улучшения герметизации между концом трубы и струйным соплом в одном предпочтительном выполнении предусмотрено, что содержащий место посадки и выходное отверстие участок состоит из эластомера. Кроме того, этим можно компенсировать допуски и неровности в зоне торцевой стороны конца трубы. В качестве механической защиты и во избежание расширения окружающего зону торцевой стороны конца трубы буртика находящимся под давлением потоком струйного средства буртик окружен втулкой жесткости из прочного материала, например металла. Эластомерный участок образован преимущественно концевой частью в виде отрезка трубы, соединенной со струйным соплом с геометрическим замыканием.
Изобретение более подробно поясняется ниже с помощью прилагаемых чертежей, на которых изображают:
– фиг.1: традиционное, позиционированное на теплообменнике устройство в продольном разрезе;
– фиг.2: устройство, согласно изобретению;
– фиг.3: увеличенный фрагмент устройства из фиг.2;
– фиг.4: фрагмент фиг.3;
– фиг.5: устройство из фиг.2 в перспективе.
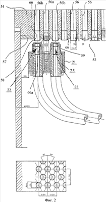
Изображенное на фиг.2-5 устройство содержит струйную головку с держателем 21, в котором установлены два струйных сопла 22. Возможны, конечно, и струйные головки только с одним струйным соплом или более чем с двумя струйными соплами. Держатель образован, в основном, полым, имеющим форму прямоугольного параллелепипеда корпусом 23. В корпусе 23 выполнены две проходящие параллельно друг другу расточки 24 для размещения струйных сопел 22. Одно струйное сопло 22 выполнено, в основном, в виде корпуса 25 в форме отрезка трубы. Корпус 25 имеет три разных продольных участка, причем средний участок 26 имеет больший диаметр, чем оба других участка, а именно передний 27 и задний 28 участки. Переход между средним участком 26 и суженными участками 27, 28 образован радиальным заплечиком 29, 30. От стенки расточек 24 радиально внутрь отстоит упорный фланец 32. Обращенная к среднему участку 26 сторона этого упорного фланца взаимодействует с радиальным заплечиком 29 в смысле осевой фиксации корпуса 25. Радиальным заплечиком 30 корпус 35 прилегает к крышке 33, которая закрывает с задней стороны корпус 23 держателя. Между крышкой 33 и задним участком 28 струйного сопла 22 расположено уплотнительное кольцо 31 круглого сечения. В проходящую от упорного фланца 32 и окруженную участком 27 зону расточки 24 вложена охватывающая периферию участка 27 эластомерная прокладка 34. В передней торцевой стороне корпуса 25 торцевой стороны выполнена канавка 35, имеющая в сечении форму ласточкина хвоста, в которой с геометрическим замыканием одним своим концом расположена концевая часть 36, в основном, в виде отрезка трубы из эластомерного материала.
Передний участок 27 пронизан проточным каналом 37. Средняя продольная ось 38 проточного канала образует одновременно среднюю продольную ось корпуса 25 струйного сопла. Проточный канал 37 ограничен с передней стороны выходным отверстием 39, а на другом своем конце – входным отверстием 40. Он имеет, в основном, постоянную площадь сечения или постоянный диаметр 42. Площадь сечения или диаметр 42 соответствует площади сечения или диаметру 43 подающего шланга 46, ввинченного наружной резьбой 44 во внутреннюю резьбу 45 среднего участка 26. Подающий шланг 46 своей передней торцевой стороной 47 прилегает к радиальному заплечику 48, выполненному в переходной зоне между участками 26 и 27. От радиального заплечика 48 в осевом направлении выдается кольцеобразно окружающий входное отверстие 40 выступ 49 клинообразного сечения, который вдавливается в эластомерный материал подающего шланга 46. Это улучшает герметизацию между подающим шлангом 46 и участком 26 корпуса. Диаметр 50 входного отверстия 40 чуть больше диаметра 43 подающего шланга 46. Разность диаметров рассчитана при этом, например, так, что она соответствует увеличению диаметра 43 при подаче через шланг находящегося под давлением потока струйного средства. За счет этого поток струйного средства не попадает на мешающую, выступающую в проточный канал кромку корпуса. Примыкающий к входному отверстию 40 участок 52 проточного канала 37 приблизительно до своей середины конически слегка сужен, причем к участку 52 примыкает цилиндрический участок канала диаметром 42.
Для осуществления способа очистки держатель 21, как показано на фиг.2, располагают с входной стороны 53 или же с выходной стороны теплообменника 54. Если речь идет о теплообменнике АЭС, то держатель 21 удерживают, как правило, манипулятором (не показан), на котором держатель 21 фиксирован с помощью крепежного устройства 55 (фиг.5). Трубы 56 теплообменника расположены с равномерным шагом и своими концами проходят сквозь удерживающую плиту 57. Из нее они выступают с выпуском 58. Струйные сопла 22 расположены на держателе 21 на расстоянии друг от друга с возможностью насаживания на торцевые стороны 59 двух отделенных друг от друга трубой 56а труб 56b. Концевая часть 36 имеет для этого взаимодействующую с торцевой стороной 59 упорную поверхность 60, которая окружает выходное отверстие 39. Упорная поверхность 60 проходит поперек средней продольной оси 38. Упорная поверхность 60 окружена, в свою очередь, буртиком 62, отстоящим в направлении 5 струи в осевом направлении или в направлении струи. Буртик 62 выполнен в сечении клинообразным, причем он имеет направленную радиально внутрь наклонную поверхность 63 и направленную радиально наружу косую поверхность 61. Косая поверхность 63 служит вводным скосом при насаживании струйного сопла 22 на конец трубы. Во время очистки он расположен в выемке 64, окруженной упорной поверхностью 60 и буртиком 62. Буртик 62 цилиндрическим краевым участком 65 прилегает при этом к внешней периферии трубы 56b. Косая поверхность 63 прилегает к сварному шву 66, которым трубы 56 фиксированы на удерживающей плите 57. Буртик 62 действует, тем самым, как уплотнительная манжета, взаимодействующая с внешней периферией и сварным швом 66 трубы 56b. Для того чтобы буртик при подаче давления не мог радиально расширяться, он окружен по всей периферии втулкой 67 жесткости. Втулка 67 жесткости фланцем 68, отстоящим радиально внутрь от одного своего обращенного к держателю 21 конца, расположена в радиальной канавке 71 концевой части 36. Обращенная от фланца 68 торцевая сторона втулки 67 жесткости скошена и образует косую поверхность 69, совпадающую с косой поверхностью 61 буртика 62. За счет скоса концевой части в виде косых поверхностей 61, 69 предотвращено ее соприкосновение со сварным швом 66а соседней трубы 56а и, при определенных обстоятельствах, уплотняющее прилегание концевой части 36 к очищаемой трубе 56b. Между участком 27 корпуса 25 струйного сопла и втулкой 67 жесткости в концевой части 36 выполнена дополнительная кольцевая канавка 70, которая увеличивает ее эластичность в осевом направлении.
Для фиксации положения держателя 21 на удерживающей плите 57 на передней стороне держателя 21, из которой с выпуском 72 выступают также струйные сопла 22, имеется фиксирующий палец 73, отстоящий от держателя 21 в направлении средней продольной оси 38. Фиксирующий палец 73 ввинчен резьбовым участком 74 в резьбовое отверстие 75 держателя 21. Его обращенный от резьбового участка 74 передний конец 76 конически сужен. Примыкающий к суженному участку продольный участок имеет диаметр, который чуть меньше внутреннего диаметра трубы 56. Фиксирующий палец 73 входит в процессе очистки в трубу 56а, расположенную между двумя очищаемыми трубами 56b. Вращение держателя вокруг фиксирующего пальца 73 в качестве оси вращения предотвращено за счет взаимодействия с геометрическим замыканием концов труб с концевыми частями 36.
На передней стороне держателя 21 расположен далее механический датчик 77 расстояния. Он обеспечивает перемещение держателя 21 с помощью манипулятора (не показан) в заданное положение к удерживающей плите 57.
Перечень ссылочных позиций
1 – держатель
2 – струйное сопло
3 – входная сторона
4 – теплообменник
5 – направление струи
6 – патрубок
7 – конец трубы
8 – подающий шланг
9 – входное отверстие
10 – выходное отверстие
12 – сопло Вентури
13 – место дросселирования
21 – держатель
22 – струйное сопло
23 – корпус
24 – расточка
25 – корпус
26 – средний участок
27 – передний участок
28 – задний участок
29 – радиальный заплечик
30 – радиальный заплечик
31 – уплотнительное кольцо круглого сечения
32 – упорный фланец
33 – крышка
34 – эластомерная прокладка
35 – канавка
36 – концевая часть
37 – проточный канал
38 – средняя продольная ось
39 – выходное отверстие
40 – входное отверстие
42 – диаметр
43 – диаметр
44 – наружная резьба
45 – внутренняя резьба
46 – подающий шланг
47 – торцевая сторона
48 – радиальный заплечик
49 – выступ
50 – диаметр
52 – участок
53 – входная сторона
54 – теплообменник
56 – труба
57 – удерживающая плита
58 – выпуск
59 – торцевая сторона
60 – упорная поверхность
61 – косая поверхность
62 – буртик
63 – косая поверхность
64 – выемка
65 – цилиндрический участок стенки
66 – сварной шов
67 – втулка жесткости
68 – фланец
69 – косая поверхность
70 – кольцевая канавка
71 – радиальная канавка
72 – выпуск
73 – фиксирующий палец
74 – резьбовой участок
75 – резьбовое отверстие
76 – передний конец
77 – датчик расстояния
Формула изобретения
1. Способ очистки труб теплообменника (54), при котором к одному концу трубы (56) приставляют струйное сопло и через трубу продувают содержащий струйное средство воздушный поток, отличающийся тем, что струйное сопло (22), имеющее выходное отверстие (39), не вводят в трубу (56), а с уплотнением прижимают к торцевой стороне (59) конца трубы, окружающей выходное отверстие (39) упорной поверхностью (60).
2. Способ по п.1, отличающийся тем, что используют струйное сопло (22), выходное отверстие (39) которого имеет площадь поперечного сечения, соответствующую площади внутреннего поперечного сечения трубы (56).
3. Способ по п.2, отличающийся тем, что используют бездроссельное струйное сопло (22).
4. Способ по любому из пп.1-3, отличающийся тем, что очищают одновременно несколько труб (56), причем к соответствующим трубам (56b) приставляют несколько струйных сопел (22), удерживаемых держателем (21) с шагом труб теплообменника.
5. Способ по п.4, отличающийся тем, что держатель (21) фиксируют на конце трубы за счет ввода в конец трубы фиксирующего пальца (73), отстоящего от него в направлении (5) струи.
6. Струйное устройство для осуществления способа согласно одному из предыдущих пунктов, отличающееся тем, что оно имеет струйное сопло (22) с выходным отверстием (39), окруженным упорной поверхностью (60), проходящей в плоскости его отверстия и взаимодействующей с торцевой стороной (59) очищаемой трубы (56), причем площадь поперечного сечения выходных отверстий (39) соответствует площади внутреннего поперечного сечения очищаемой трубы (56).
7. Струйное устройство по п.6, отличающееся тем, что содержит бездроссельное струйное сопло (22).
8. Устройство по п.7, отличающееся тем, что струйное сопло (22) пронизано ограниченным входным и выходным отверстиями (39, 40) проточным каналом (37), причем проточный канал (37) имеет, в основном, постоянную площадь сечения, по существу соответствующую величине выходного отверстия (39).
9. Устройство по п.8, отличающееся тем, что упорная поверхность (60) ограничена радиально снаружи аксиально выступающим буртиком (62), причем упорная поверхность и буртик образуют место (64) посадки конца трубы.
10. Устройство по любому из пп.7-9, отличающееся тем, что содержащий место (64) посадки и выходное отверстие (39) участок струйного сопла (22) состоит из эластомера.
11. Устройство по п.10, отличающееся тем, что эластомерный участок образован концевой частью (36) в виде отрезка трубы, соединенной со струйным соплом (22) с геометрическим замыканием.
12. Устройство по п.10, отличающееся тем, что окружающий место (64) посадки продольный отрезок эластомерного участка охвачен втулкой (67) жесткости из прочного материала.
13. Устройство по п.7, отличающееся тем, что несколько струйных сопел (22) расположены на держателе (21) с шагом труб очищаемого теплообменника (54).
14. Устройство по п.13, отличающееся тем, что на держателе (21) расположен вводимый в конец трубы фиксирующий палец (73).
15. Струйное сопло (22), с помощью которого содержащий струйное средство воздушный поток может продуваться через трубу (56) теплообменника (54), причем труба (56) теплообменника имеет внутренний диаметр, а струйное сопло (22) выполнено с возможностью соединения с подающим шлангом (46), который подает поток струйного средства и имеет подающий канал, по которому может протекать поток струйного средства, дополнительно выполненное следующим образом: струйное сопло (22) содержит корпус (25) с первым концом, противоположным вторым концом и ограниченным обоими концами проточным каналом, проходящим между первым и вторым концами, причем первый конец имеет входное отверстие (40), через которое может втекать поток струйного средства из подающего шланга (46), а второй конец имеет выходное отверстие (39), через которое поток струйного средства может вытекать из сопла, проточный канал (37) имеет в зоне входного отверстия (40) первый диаметр (50), а в зоне выходного отверстия (39) – второй диаметр (42), причем второй диаметр (42) соответствует внутреннему диаметру трубы (56) теплообменника, а первый диаметр (50) приблизительно равен второму диаметру (42).
16. Сопло по п.15, отличающееся тем, что второй диаметр (42) проточного канала (37) совпадает с внутренним диаметром трубы (56) теплообменника.
17. Сопло по п.15, отличающееся тем, что второй диаметр (42) проточного канала (37) чуть меньше внутреннего диаметра трубы (56) теплообменника.
18. Сопло по п.15, отличающееся тем, что диаметр проточного канала (37) остается постоянным в граничащей с выходным отверстием (39) зоне корпуса(25).
19. Сопло по п.18, отличающееся тем, что в граничащей с выходным отверстием (39) зоне корпуса диаметр проточного канала (37) совпадает с внутренним диаметром (43) подающего шланга (46).
20. Сопло по п.15, отличающееся тем, что первый диаметр (50) чуть больше второго диаметра (42).
21. Сопло по п.20, отличающееся тем, что первый диаметр (50) чуть больше внутреннего диаметра подающего шланга (46).
22. Сопло по п.21, отличающееся тем, что проточный канал (37) имеет в промежутке между входным отверстием (40) и выходным отверстием (39) третий диаметр, который чуть меньше первого диаметра (50).
23. Сопло по п.22, отличающееся тем, что диаметр проточного канала между входным отверстием (40) и промежутком уменьшается.
24. Сопло по п.22, отличающееся тем, что третий диаметр совпадает со вторым диаметром (42).
25. Сопло по п.24, отличающееся тем, что диаметр проточного канала остается постоянным между промежутком и выходным отверстием (39).
26. Сопло по любому из пп.22-25, отличающееся тем, что промежуток расположен посередине между выходным и входным отверстиями (39, 40).
27. Сопло по п.15, отличающееся тем, что проточный канал (37) имеет измеренную между первым и вторым концами корпуса (25) длину и на одном участке этой длины он свободен от узких мест.
28. Сопло по п.27, отличающееся тем, что один участок, на котором проточный канал (37) свободен от узких мест, находится между выходным отверстием (39) и промежутком между входным и выходным отверстиями.
29. Сопло по п.28, отличающееся тем, что промежуток находится посередине между входным и выходным отверстиями (40, 39).
30. Сопло по п.15, отличающееся тем, что проточный канал (37) имеет граничащий с входным отверстием (40) первый участок (52) и примыкающий к выходному отверстию (39) второй участок, причем первый участок (52) имеет легкое сужение, а второй участок имеет форму цилиндра.
31. Сопло по п.30, отличающееся тем, что первый участок (52) проходит между входным отверстием (40) и промежутком, а второй участок – между промежутком и выходным отверстием (39).
32. Сопло по п.15, содержащее уплотнительное устройство, которое при соединении сопла (22) и трубы (56) теплообменника служит в качестве герметизации.
33. Сопло по п.32, отличающееся тем, что уплотнительное устройство имеет окружающую выходное отверстие (39) упорную поверхность (60), которая при соединении сопла (22) и трубы (56) теплообменника прижата к части трубы (56) теплообменника.
34. Сопло по п.33, отличающееся тем, что корпус (25) имеет среднюю продольную ось (38), упорная поверхность (60) проходит в плоскости, перпендикулярной средней продольной оси (38) корпуса (25), а часть трубы (56) теплообменника, которая при соединении струйного сопла (22) и трубы (56) теплообменника прижата к упорной поверхности (60), является торцевой стороной конца трубы (56) теплообменника.
35. Сопло по п.34, отличающееся тем, что уплотнительное устройство имеет аксиально отстоящий от второго конца корпуса (25) буртик (62), который расположен радиально снаружи и окружает упорную поверхность (60), причем при соединении трубы (56) теплообменника и струйного сопла (22) краевой участок внутренней периферии буртика (62) прилегает к внешней периферии трубы (56) теплообменника.
36. Сопло по п.35, отличающееся тем, что упорная поверхность (60) и буртик (62) состоят из эластомера.
37. Сопло по п.36, отличающееся тем, что на его втором конце закреплена окружающая буртик (62) по всей периферии втулка (67) жесткости.
38. Струйная головка, с помощью которой содержащий струйное средство воздушный поток может быть продут одновременно через несколько труб (56) теплообменника, причем каждая труба (56) теплообменника имеет внутренний диаметр, а струйная головка имеет держатель (21) и несколько удерживаемых держателем (21) струйных сопел (22), причем струйные сопла выполнены следующим образом: держатель (21) и несколько удерживаемых держателем струйных сопел (22) в соответствующем выполнении: они содержат соответственно корпус (25) с первым концом, противоположным вторым концом и ограниченным обоими концами проточным каналом, проходящим между первым и вторым концами, причем первый конец имеет входное отверстие (40), через которое может втекать поток струйного средства из подающего шланга (46), а второй конец имеет выходное отверстие (39), через которое поток струйного средства может вытекать из сопла, проточный канал (37) имеет в зоне входного отверстия (40) первый диаметр (50), а в зоне выходного отверстия (39) – второй диаметр (42), причем второй диаметр (42) соответствует внутреннему диаметру трубы (56) теплообменника, а первый диаметр (50) приблизительно равен второму диаметру (42).
39. Головка по п.38, отличающаяся тем, что трубы (56) теплообменника расположены с равномерным шагом, при этом расположение струйных сопел (22) в держателе (21) соответствует шагу труб (56) теплообменника.
40. Головка по п.38, отличающаяся тем, что множество струйных сопел (22) содержит первое и второе струйные сопла, причем первое и второе струйные сопла (22) расположены на держателе (21).
41. Головка по п.40, отличающаяся тем, что держатель (21) имеет переднюю сторону, заднюю сторону и первую и вторую расточки (24) так, что первая и вторая расточки (24) проходят между передней и задней сторонами держателя (21), причем первая расточка (24) предусмотрена для размещения первого струйного сопла (22), а вторая расточка (24) – для размещения второго струйного сопла (22), а именно таким образом, что соответственно первый конец корпуса выступает из передней стороны держателя (21).
42. Головка по п.41, отличающаяся тем, что она содержит фиксирующее устройство, с помощью которого держатель (21) может быть расположен в заданном положении относительно труб (56) теплообменника, а именно с возможностью соединения первого и второго струйных сопел (22) с соответствующими трубами (56) теплообменника.
43. Головка по п.42, отличающаяся тем, что фиксирующее устройство содержит отстоящий от передней стороны держателя (21) фиксирующий палец (73), диаметр которого чуть меньше внутреннего диаметра данной трубы (56) теплообменника, так что фиксирующий палец может быть помещен в трубу теплообменника.
44. Головка по п.43, отличающаяся тем, что фиксирующий палец (73) расположен между первым и вторым струйными соплами (22).
45. Головка по п.43, отличающаяся тем, что фиксирующий палец (73) имеет передний конец, выступающий в направлении продольной средней оси (38) за передний конец первого и второго струйных сопел (22).
46. Способ очистки труб (56) теплообменника с применением содержащего струйное средство и протекающего через подающий шланг (46) потока струйного средства, отличающийся тем, что используют, по меньшей мере, одно струйное сопло (22) в следующем выполнении: струйное сопло (22) содержит корпус (25) с первым концом, противоположным вторым концом и ограниченным обоими концами проточным каналом, проходящим между первым и вторым концами, причем первый конец имеет входное отверстие (40), через которое может втекать поток струйного средства из подающего шланга (46), а второй конец имеет выходное отверстие (39), через которое поток струйного средства может вытекать из сопла, проточный канал (37) имеет в зоне входного отверстия (40) первый диаметр (50), а в зоне выходного отверстия (39) – второй диаметр (42), причем второй диаметр (42) соответствует внутреннему диаметру трубы (56) теплообменника, а первый диаметр (50) приблизительно равен второму диаметру (42), первый конец корпуса (25) струйного сопла (22) соединяют с концом подающего шланга (46), при этом поток струйного средства направляют из подающего шланга (46) через струйное сопло (22) в очищаемую трубу (56) теплообменника.
47. Способ по п.46, отличающийся тем, что используют, по меньшей мере, одно первое и одно второе струйные сопла, в процессе соединения первый конец корпуса (25) каждого струйного сопла (22) соединяют с концом соответствующего подающего шланга (46), в процессе соединения второй конец корпуса (25) каждого струйного сопла (22) соединяют с концом соответствующей очищаемой трубы (56) теплообменника, при этом поток струйного средства в процессе течения из соответствующего подающего шланга (46) течет одновременно через первое и второе струйные сопла (22) в соответствующую очищаемую трубу (56) теплообменника.
48. Способ по п.47, отличающийся тем, что в процессе присоединения образуют также герметизацию между первым концом корпуса (25), по меньшей мере, одного струйного сопла (22) и очищаемой трубы.
49. Способ по п.48, отличающийся тем, что корпус (25), по меньшей мере, одного струйного сопла (22) имеет окружающую выходное отверстие (39) упорную поверхность (60), ориентированную перпендикулярно продольной средней оси (38) корпуса (25), при этом для герметизации упорную поверхность (60) прижимают к торцевой стороне очищаемой трубы (56) теплообменника.
50. Способ по п.49, отличающийся тем, что, по меньшей мере, одно струйное сопло (22) имеет на втором конце своего корпуса (25) также расположенный радиально снаружи, выступающий в направлении продольной средней оси буртик (62), при этом для герметизации участок внутренней периферии буртика (62) прилегает к внешней периферии конца трубы (56) теплообменника.
51. Способ по п.48, отличающийся тем, что используют удерживающий, по меньшей мере, одно струйное сопло (22) держатель (21), имеющий переднюю сторону, заднюю сторону, выступающий за переднюю сторону фиксирующий палец (73) и, по меньшей мере, одну расточку (24), которая проходит между передней и задней сторонами и предусмотрена для размещения, по меньшей мере, одного струйного сопла (22), для фиксации положения фиксирующий палец (73) помещают в трубу (56) теплообменника, соседнюю с очищаемыми трубами теплообменника.
РИСУНКИ
|
|