|
|
(21), (22) Заявка: 2007110023/12, 27.07.2005
(24) Дата начала отсчета срока действия патента:
27.07.2005
(30) Конвенционный приоритет:
20.08.2004 TR 2004/02088
(43) Дата публикации заявки: 27.09.2008
(46) Опубликовано: 10.06.2009
(56) Список документов, цитированных в отчете о поиске:
US 2352345 А, 27.06.1944. US 4159071 А, 26.06.1979. ЕР 1338219 A1, 11.02.2003. US 2003/0020387 A1, 30.01.2003. JP 08-035765 A, 06.02.1996. SU 1220942 A, 30.03.1986.
(85) Дата перевода заявки PCT на национальную фазу:
20.03.2007
(86) Заявка PCT:
IB 2005/052529 20050727
(87) Публикация PCT:
WO 2006/018757 20060223
Адрес для переписки:
129090, Москва, ул. Б.Спасская, 25, стр.3, ООО “Юридическая фирма Городисский и Партнеры”, пат.пов. С.А.Дорофееву
|
(72) Автор(ы):
СЕТИНТЮРК Огуз (TR), АЙВЕРДИ Метин (TR)
(73) Патентообладатель(и):
АРЧЕЛЫК АНОНИМ ШИРКЕТИ (TR)
|
(54) ХОЛОДИЛЬНОЕ УСТРОЙСТВО
(57) Реферат:
Холодильное устройство содержит камеру, в которой хранятся продукты, напитки и другие подлежащие охлаждению изделия, по меньшей мере одну дверь, которая открывается и закрывается для обеспечения хранения в камере подлежащих охлаждению изделий, один или несколько блоков полок, которые расположены внутри камеры, которые складываются без рассоединения для использования в различных размерах и на которых хранятся подлежащие охлаждению изделия, перед или после складывания, и одну или несколько опор для полки, которые обеспечивают установку блока полок в камере, при этом блок полок содержит по меньшей мере две полки, на которых хранятся подлежащие охлаждению изделия, угловые держатели на соответствующих углах смежных сторон обеих полок, которые расположены так, что отсутствует зазор и разница уровней между полками, когда желательно закрепить одну полку смежно с другой полкой, и соединительный элемент, фиксированный на угловых держателях с соединением угловых держателей разных полок так, что отсутствует зазор или разница между полками, и с обеспечением поворотного перемещения полки. Поверхность полки для хранения выполнена из стекла, при этом поверхность для хранения содержит пазы для угловых держателей, которые соответствуют количеству угловых держателей, в которые устанавливают держатели. Использование данного изобретения обеспечивает возможность складывания полки в ее нерассоединенном положении, а затем использования после складывания с меньшим размером. 15 з.п. ф-лы, 9 ил.
Данное изобретение относится к холодильному устройству, которое содержит складываемую полку, имеющую опорную поверхность предпочтительно из стеклянного материала.
Одна или несколько полок используются в холодильном устройстве для хранения продуктов, напитков или других изделий. Опорная поверхность полки предпочтительно выполнена из стекла по соображениям гигиены и эстетики. Когда необходимо хранить на полках большие контейнеры с пищей или напитками, то требуется удаление или перестановка одной или нескольких полок. Согласно уровню техники в настоящее время используются складываемые или телескопические системы полок для гибкого создания объемов хранения, обеспечивающих хранение контейнеров различных размеров. Системы полок такого типа, хотя и имеются связанные с механической обработкой трудности, такие как разрезание, сверление и т.д., за счет использования стеклянного материала все еще остаются эффективными, надежными и имеющими структуру, не портящую внешний вид.
В патенте Германии DE 19751309 дано описание стеклянной полки, расположенной на ящике для овощей, которую можно открывать посредством поворота.
В европейском патенте ЕР 577939 дано описание стеклянной полки, выполненной из двух частей, которые могут скользить друг над другом для обеспечения возможности использования с меньшим размером.
В патенте Швейцарии СН 402907 дано описание проволочной полки, состоящей из двух частей, соединенных друг с другом с помощью дополнительной части.
В патенте США US 23117232 дано описание проволочной полки, состоящей из множества частей, соединенных друг с другом с помощью дополнительной части.
Задачей данного изобретения является создание холодильного устройства, содержащего полку, имеющую опорную поверхность предпочтительно из стеклянного материала, которую можно складывать в ее нерассоединенном положении и затем использовать после складывания с меньшим размером.
Согласно изобретению холодильное устройство содержит камеру, в которой хранятся продукты, напитки и другие подлежащие охлаждению изделия, по меньшей мере одну дверь, которая открывается и закрывается для обеспечения хранения в камере подлежащих охлаждению изделий, один или несколько блоков полок, расположенных внутри камеры, которые складываются без рассоединения для использования в различных размерах и на которых хранятся подлежащие охлаждению изделия, перед или после складывания, и одну или несколько опор для полки, которые обеспечивают установку блока полок в камере, при этом блок полок содержит по меньшей мере две полки, на которых хранятся подлежащие охлаждению изделия, угловые держатели на соответствующих углах смежных сторон обеих полок, расположенные так, что отсутствует зазор и разница уровней между полками, когда желательно закрепить одну полку смежно с другой полкой, и соединительный элемент, фиксированный на угловых держателях с соединением угловых держателей разных полок так, что отсутствует зазор или разница уровней между полками, и с обеспечением поворотного перемещения полки, при этом согласно изобретению полка, имеющая поверхность для хранения, выполнена из стекла, при этом поверхность для хранения содержит пазы для угловых держателей, соответствующие количеству угловых держателей, в которые устанавливаются угловые держатели.
Предпочтительно, полка содержит по меньшей мере один профиль, расположенный на кромке поверхности для хранения, на которой нет углового держателя, для исключения контакта пользователя или камеры со сторонами.
Предпочтительно, угловой держатель содержит одну или несколько канавок углового держателя, в которые входят пазы для угловых держателей, по меньшей мере один штифт, на котором фиксирован соединительный элемент, и замок штифта на вершине штифта, который предотвращает расцепление соединительного элемента, фиксированного на угловом держателе.
Угловой держатель может содержать один или несколько опорных элементов, обеспечивающих усиление его конструкции.
Предпочтительно, соединительный элемент содержит количество гнезд для штифтов, равное соответствующему количеству вставляемых штифтов.
Предпочтительно, полка содержит профиль, имеющий одну или несколько канавок профиля, в которые устанавливается поверхность для хранения.
Полка может иметь профиль, включающий по меньшей мере две краевые опоры на своих сторонах, которые при расположении на опоре для полки обеспечивают установку в камере и посредством скольжения в опоре для полки обеспечивают извлечение полки из камеры.
Также полка может иметь профиль, содержащий гнездо для фиксации, в которое входит выступ, расположенный под краевой опорой кромки, предпочтительно на камере, для обеспечения фиксации краевой опоры.
При этом профиль может иметь один или несколько гребней, которые проходят к задней стенке камеры и покрывают полностью заднюю кромку профиля для предотвращения ее контакта с камерой и исключения скатывания изделий, хранящихся на блоке полок, с задней стороны через пространство между блоком полок и камерой.
Предпочтительно, профиль, угловой держатель и соединительный элемент выполнены из пластмассового материала.
Предпочтительно, профиль и угловой держатель приклеены к поверхности для хранения с помощью клея.
Холодильное устройство, предназначенное для решения задачи данного изобретения, показано на прилагаемых чертежах, на которых изображено:
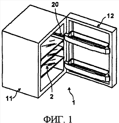
фиг.1 – холодильное устройство в изометрической проекции;
фиг.2 – блок полок в разнесенной изометрической проекции;
фиг.3 – две полки перед сборкой в изометрической проекции;
фиг.4 – разложенная полка в изометрической проекции;
фиг.5 – задняя поверхность для хранения и профиль перед сборкой в изометрической проекции;
фиг.6 – сложенная полка в изометрической проекции;
фиг.7 – блок полок, состоящий из трех полок, в изометрической проекции;
фиг.8 – блок полок без профиля, включающий две полки, скрепленные с помощью двух угловых держателей и соединительного элемента, в изометрической проекции;
фиг.9 – блок полок, содержащий поверхности хранения без угловых держателей, в изометрической проекции.
Холодильное устройство 1 содержит камеру 11, в которой хранятся продукты, напитки и другие изделия, подлежащие охлаждению, по меньшей мере одну дверь 12, которую можно открывать и закрывать для обеспечения хранения изделий, подлежащих охлаждению в камере 11, один или несколько блоков 2 для полок, расположенных внутри камеры 11, которые можно складывать без рассоединения для использования с разными размерами и на которых можно хранить изделия, подлежащие охлаждению, до или после складывания, и одну или несколько опор 20 для полок, которые обеспечивают установку блока 2 для полок в камеру 11.
Блок 2 для полок содержит по меньшей мере две полки 4, на которых можно хранить изделия, угловые держатели 8 на соответствующих углах смежных сторон полок 4, которые расположены без какого-либо зазора или без образования какой-либо разницы уровней между ними, когда желательно прикрепить одну полку 4 к другой полке 4 сторона к стороне, и соединительный элемент 7, фиксированный на угловых держателях и соединяющий угловые держатели 8 различных полок без зазора или образования разницы уровней между ними, и обеспечивающий поворотное движение.
Полка 4 содержит по меньшей мере одну поверхность 5 для хранения изделий, подлежащих хранению на ней, и по меньшей мере один профиль 3, расположенный на стороне поверхности 5 для хранения без углового держателя 8, который предотвращает контакт пользователя или камеры 11 со сторонами.
Поверхность 5 для хранения содержит на своих углах пазы 16 для угловых держателей, соответствующие количеству угловых держателей 8, в которые вставляются угловые держатели 8 так, что не образуется зазора или разницы уровней между двумя полками 4.
Угловой держатель 8 содержит одну или несколько канавок 15, в которые входят пазы 16 для углового держателя, по меньшей мере один штифт 10, на котором фиксируется соединительный элемент 7, замок 14 штифта наверху штифта 10, который предотвращает расцепление соединительного элемента 7, фиксированного на угловом держателе 8, и один или несколько опорных элементов 18, которые усиливают конструкцию.
Соединительный элемент 7 содержит гнезда 9 для штифтов, количество которых соответствует числу вставленных штифтов 10.
Профиль 3 содержит одну или несколько канавок 13 профиля, в которые устанавливается поверхность 5 для хранения, по меньшей мере две краевые опоры 19 на сторонах, которые посредством расположения на опорах 20 для полки обеспечивают установку в камере 11 и посредством скольжения в опоре 20 для полки обеспечивают удаление полки из камеры 11, и гнездо 17 фиксации, в которое входит выступ под краевой опорой 19, предпочтительно на камере 11, обеспечивая тем самым фиксацию краевой опоры 19.
В одном варианте осуществления данного изобретения профиль 3 содержит один или несколько гребней 6, которые направлены к задней стенке камеры 11 и полностью покрывают заднюю кромку профиля 3, предотвращая ее контакт с камерой 11 и исключая возможность скатывания изделий, хранящихся на блоке 2 полки с задней стороны, через пространство между блоком 2 полки и камерой 11.
В предпочтительном варианте осуществления данного изобретения поверхность 5 для хранения выполнена из стекла, стороны которой отполированы, профиль 3, угловой держатель 8 и соединительный элемент 7 изготовлены из пластмассового материала, причем профиль 3 и угловой держатель 8 приклеены к поверхности 5 для хранения с помощью клея.
В другом варианте осуществления данного изобретения поверхность 5 для хранения изготовлена из стеклянного материала, стороны которого отполированы, угловой держатель 8 и соединительный элемент 7 выполнены из пластмассового материала, профиль 3 выполнен из алюминиевого материала, причем профиль 3 зафиксирован на поверхности 5 для хранения посредством плотной посадки, а угловой держатель 8 приклеен к поверхности 5 для хранения с помощью клея.
В другом варианте осуществления данного изобретения профиль 3 содержит один или несколько выступов 21, которые обеспечивают фиксацию или посадку с защелкиванием на поверхности 5 для хранения, и поверхность 5 для хранения содержит гнезда 22, в которые входят выступы и которые соответствуют по количеству и форме выступам 21. В этом варианте осуществления при вдвигании поверхности 5 для хранения в канавку 13 профиля выступы 21 входят в гнезда 22 и фиксируют поверхность 5 для хранения на профиле 3 (фиг.5).
В одном варианте осуществления данного изобретения при подготовке полки 4 поверхность 5 для хранения фиксируется в профиле 3 посредством вставки ее в канавку 13 профиля, и уголковые держатели 8 по одному на каждом из двух открытых углов поверхности 5 для хранения вводятся в пазы 16 для угловых держателей. Собранные таким образом по меньшей мере две полки 4 расположены рядом друг с другом, при этом открытые боковые длинные стороны поверхностей 5 для хранения обращены друг к другу. В этом положении соединительный элемент 7 толкается в направлении углового держателя 8 так, что штифты 10 входят в гнезда 9 для штифтов. Таким образом, соединительный элемент 7 после сцепления с замками 14 штифтов соединяет штифты 10 и тем самым полки 4 друг с другом, предотвращая непреднамеренное расцепление. Полки 4, скрепленные соединительным элементом 7, образуют блок 2 полок и затем устанавливаются в камере 11 посредством вдвигания на опору 20 для полки. Если желательно уменьшить размер блока 2 полок без удаления его из камеры 11, то передняя полка 4 перемещается в направлении задней полки 4 посредством поворота вокруг оси, образованной шарнирно соединенными смежными сторонами двух полок 4 с помощью соединительного элемента, и передняя полка 4 укладывается на заднюю полку 4. Следовательно, блок 2 полок устанавливается для использования с размерами одной полки 4. Когда блок 2 полок желательно использовать с нормальными размерами, то верхняя полка 4 поворачивается вокруг оси, образованной шарнирно соединенными сторонами, и возвращается в исходное положение. Когда желательно извлечь блок 2 полок, то он вытягивается наружу на опоре 20 полки с помощью переднего профиля 3 и извлекается из камеры 11.
В одном варианте осуществления данного изобретения, содержащем более двух полок 4, используются три полки 4 с четырьмя угловыми держателями 8 на углах средней полки 4, и смежные стороны полок 4, шарнирно соединенных на сторонах средней полки 4, снабжены двумя угловыми держателями 8 и профилем 3 на своих других сторонах боковых полок. Угловые держатели 8 на средней полке 4 соединяются с помощью соединительных элементов 7 с угловыми держателями 8, расположенными по обе стороны полок, и полки 4 можно складывать друг на друга (фиг.6).
В другом варианте осуществления данного изобретения блок 2 полок выполнен из двух полок 4, каждая из которых содержит лишь один угловой держатель 8, при этом угловой держатель 8 прикреплен с помощью одного соединительного элемента 7, и их можно поворачивать вокруг друг друга. В этом варианте осуществления, поскольку блок 2 полок устанавливается на ступенчатую опору 20 для полки, то полки 4 могут скользить по опоре 20 для полки без удаления и поворота для складывания друг на друга (фиг.7).
В другом варианте осуществления данного изобретения блок 2 полок содержит по меньшей мере две поверхности 5 для хранения без пазов 16 для угловых держателей и по меньшей мере четыре угловых держателя 8 с формой, соответствующей форме поверхности 5 для хранения без пазов 16 для угловых держателей, которые расположены вблизи углов по сторонам для крепления, и по меньшей мере два соединительных элемента 7, соединяющих угловые держатели 8 (фиг.8).
Осуществление данного изобретения обеспечивает простую сборку и преимущества снижения времени и стоимости изготовления за счет небольшого количества элементов. Кроме того, полки 4, смежно соединенные друг с другом с помощью угловых держателей 8 и соединительных элементов 7 без зазоров или различия в уровне, образуют блок 2 полок с плоской поверхностью, что исключает нанесения ущерба хранимым изделиям смежными кромками и опасность повреждений пользователя, вызванных поверхностью 5 для хранения, посредством ограничения контакта с поверхностью 5 для хранения.
Осуществление данного изобретения обеспечивает как хранение больших контейнеров посредством складывания полок 4, так и хранение контейнеров при не сложенном положении полок.
Перечень позиций
1 – Холодильное устройство
2 – Блок полок
3 – Профиль
4 – Полка
5 – Поверхность для хранения
6 – Гребень
7 – Соединительный элемент
8 – Угловой держатель
9 – Гнездо для штифта
10 – Штифт
11 – Камера
12 – Дверь
13 – Канавка профиля
14 – Замок штифта
15 – Канавка углового держателя
16 – Паз для углового держателя
17 – Гнездо для фиксации
18 – Опорный элемент
19 – Краевая опора
20 – Опора для полки
21 – Выступ
22 – Гнездо для выступа
Формула изобретения
1. Холодильное устройство (1), содержащее камеру (11), в которой хранятся продукты, напитки и другие подлежащие охлаждению изделия, по меньшей мере, одну дверь (12), которая открывается и закрывается для обеспечения хранения в камере (11) подлежащих охлаждению изделий, один или несколько блоков (2) полок, расположенных внутри камеры (11), которые складываются без рассоединения для использования в различных размерах и на которых хранятся подлежащие охлаждению изделия, перед или после складывания, и одну или несколько опор (20) для полки, которые обеспечивают установку блока (2) полок в камере (11), при этом блок (2) полок содержит по меньшей мере две полки (4), на которых хранятся подлежащие охлаждению изделия, угловые держатели (8) на соответствующих углах смежных сторон обеих полок (4), расположенные так, что отсутствует зазор и разница уровней между полками, когда желательно закрепить одну полку (4) смежно с другой полкой (4), и соединительный элемент (7), фиксированный на угловых держателях (8) с соединением угловых держателей (8) разных полок (4) так, что отсутствует зазор или разница между полками, и с обеспечением поворотного перемещения полки (4), отличающееся тем, что полка (4) имеет поверхность (5) для хранения, выполненную из стекла, при этом поверхность (5) для хранения содержит пазы (16) для угловых держателей, соответствующие количеству угловых держателей (8), в которые устанавливают держатели.
2. Холодильное устройство (1) по п.1, отличающееся тем, полка (4) содержит, по меньшей мере, один профиль (3), расположенный на кромке поверхности (5) для хранения, на которой нет углового держателя (8), для исключения контакта пользователя или камеры (11) со сторонами.
3. Холодильное устройство (1) по п.1, отличающееся тем, что угловой держатель (8) содержит одну или несколько канавок (15) углового держателя, в которые входят пазы (16) для угловых держателей, по меньшей мере, один штифт (10), на котором фиксирован соединительный элемент (7), и замок (14) штифта на вершине штифта (10), который предотвращает расцепление соединительного элемента (7), фиксированного на угловом держателе (8).
4. Холодильное устройство (1) по п.3, отличающееся тем, что угловой держатель (8) содержит один или несколько опорных элементов (18), обеспечивающих усиление его конструкции.
5. Холодильное устройство (1) по п.3, отличающееся тем, что соединительный элемент (7) содержит количество гнезд (9) для штифтов, равное соответствующему количеству вставляемых штифтов (10).
6. Холодильное устройство (1) по п.3, отличающееся тем, что полка (4) содержит профиль (3), имеющий одну или несколько канавок (13) профиля, в которые устанавливается поверхность (5) для хранения.
7. Холодильное устройство (1) по п.1, отличающееся тем, что полка (4) имеет профиль (3), включающий, по меньшей мере, две краевые опоры (19) на своих сторонах, которые при расположении на опоре (20) для полки обеспечивают установку в камере (11) и посредством скольжения в опоре (20) для полки обеспечивают извлечение полки (4) из камеры (11).
8. Холодильное устройство (1) по п.3, отличающееся тем, что полка (4) имеет профиль (3), включающий, по меньшей мере, две краевые опоры (19) на своих сторонах, которые при расположении на опоре (20) для полки обеспечивают установку в камере (11) и посредством скольжения в опоре (20) для полки обеспечивают извлечение полки (4) из камеры (11).
9. Холодильное устройство (1) по п.7, отличающееся тем, что полка (4) имеет профиль (3), содержащий гнездо (17) для фиксации, в которое входит выступ, расположенный под краевой опорой (19) кромки, предпочтительно на камере (11), для обеспечения фиксации краевой опоры (19).
10. Холодильное устройство (1) по п.8, отличающееся тем, что полка (4) имеет профиль (3), содержащий гнездо (17) для фиксации, в которое входит выступ, расположенный под краевой опорой (19) кромки, предпочтительно на камере (11), для обеспечения фиксации краевой опоры (19).
11. Холодильное устройство (1) по п.3, отличающееся тем, что профиль (3) имеет один или несколько гребней (6), которые проходят к задней стенке камеры (11) и покрывают полностью заднюю кромку профиля (3) для предотвращения ее контакта с камерой (11) и исключения скатывания изделий, хранящихся на блоке (2) полок, с задней стороны через пространство между блоком (2) полок и камерой (11).
12. Холодильное устройство (1) по п.2, отличающееся тем, что профиль (3), угловой держатель (8) и соединительный элемент (7) выполнены из пластмассового материала.
13. Холодильное устройство (1) по п.3, отличающееся тем, что профиль (3), угловой держатель (8) и соединительный элемент (7) выполнены из пластмассового материала.
14. Холодильное устройство (1) по п.4, отличающееся тем, что профиль (3), угловой держатель (8) и соединительный элемент (7) выполнены из пластмассового материала.
15. Холодильное устройство (1) по п.12, отличающееся тем, что профиль (3) и угловой держатель (8) приклеены к поверхности (5) для хранения с помощью клея.
16. Холодильное устройство (1) по п.13 или 14, отличающееся тем, что профиль (3) и угловой держатель (8) приклеены к поверхности (5) для хранения с помощью клея.
РИСУНКИ
|
|