|
|
(21), (22) Заявка: 2006122940/12, 26.11.2004
(24) Дата начала отсчета срока действия патента:
26.11.2004
(30) Конвенционный приоритет:
28.11.2003 KR 10-2003-0085663 28.11.2003 KR 10-2003-0085661 28.11.2003 KR 10-2003-0085659 28.11.2003 KR 10-2003-0085670 28.11.2003 KR 10-2003-0085669 28.11.2003 KR 10-2003-0085665 28.11.2003 KR 10-2003-0085671 28.11.2003 KR 10-2003-0085664 28.11.2003 KR 10-2003-0085660 28.11.2003 KR 10-2003-0085662 28.11.2003 KR 10-2003-0085667 28.11.2003 KR 10-2003-0085684 05.12.2003 KR 10-2003-0088235
(43) Дата публикации заявки: 10.01.2008
(46) Опубликовано: 10.06.2009
(56) Список документов, цитированных в отчете о поиске:
KR 2000-0014608 А, 15.03.2000. KR 2000-0002573 U, 07.02.2000. US 5857596 A, 12.01.1999. US 5513496 A, 07.05.1996. KR 100358763 В, 16.10.2002. WO 97/05436 А, 13.02.1997. SU 1147905 А, 30.03.1985. US 3299663 А, 24.01.1967.
(85) Дата перевода заявки PCT на национальную фазу:
28.06.2006
(86) Заявка PCT:
KR 2004/003075 20041126
(87) Публикация PCT:
WO 2005/052477 20050609
Адрес для переписки:
129090, Москва, ул. Б.Спасская, 25, стр. 3, ООО “Юридическая фирма Городисский и Партнеры”, пат.пов. С.А.Дорофееву
|
(72) Автор(ы):
КИМ Сеонг-Оок (KR), КИМ Илл-Шин (KR), АН Си-Йеон (KR), ЙОО Донг-Йеол (KR), КВОН Ох-Чул (KR), ЛИ Бум-Сик (KR), ПАРК Дзоо-Вон (KR)
(73) Патентообладатель(и):
ЭлДжи ЭЛЕКТРОНИКС ИНК. (KR)
|
(54) ХОЛОДИЛЬНИК С ДОЗАТОРОМ
(57) Реферат:
Холодильник содержит основной корпус, который образует пространство для хранения, и дверь, которая выполнена с изолирующим слоем в ней и установлена на основном корпусе для селективного открытия и закрытия пространства для хранения, дозатор, который включает в себя корпус дозатора, который установлен в вогнутую часть на передней поверхности двери и выдающий воду/лед наружу, причем задняя поверхность корпуса дозатора является изогнутой поверхностью; емкость для воды, которая установлена между облицовкой двери, которая образует заднюю поверхность двери, и корпусом дозатора с зазором от каждого из них, причем емкость для воды хранит воду, подаваемую из внешнего источника подачи воды при заданной температуре, и, затем, подает воду в дозатор, при этом передняя поверхность емкости для воды является изогнутой поверхностью, соответствующей задней поверхности корпуса дозатора, таким образом, обеспечивая расположение передней поверхности емкости для воды на заданном расстоянии от задней поверхности корпуса дозатора; и нагреватель, установленный рядом с емкостью для воды и селективно генерирующий тепло. Использование данного изобретения позволяет сохранять температуру воды при низкой температуре, когда дозатор не используется долгое время. 7 н. и 31 з.п. ф-лы, 18 ил.
Область техники, к которой относится изобретение
Настоящее изобретение относится к холодильнику и, более конкретно, к холодильнику с дозатором для подачи воды из емкости для воды, которая соединена с внешним источником подачи воды и снабжается водой, и выдачи ее наружу.
Предпосылки изобретения
На Фиг.1 представлен холодильник с дозатором в соответствии с известным уровнем техники. В соответствии с этим, на передней поверхности основного корпуса 1 холодильника, в котором образованы морозильная и холодильная камеры, установлены двери 2 и 3 для селективного открытия и закрытия морозильной и холодильной камер.
Основной корпус 1 холодильника выполнен с клапаном 4 для управления подачей воды от внешнего источника подачи воды (не показан). Клапан 4 соединен с первой и второй трубами 5 и 5′ подачи и затем обеспечивает дозатор 7 и ледогенератор 8 водой, подаваемой из источника подачи воды. В середине первой трубы 5 подачи предусмотрена емкость 6 для воды. Емкость 6 для воды установлена в холодильной камере. Емкость 6 для воды содержит воду и затем подает ее в дозатор 7.
Дозатор 7 обычно выполнен в двери 2 для морозильной камеры, тогда как первая труба 5 подачи проходит через основной корпус 1 холодильника и внутреннюю часть двери 2 и затем соединяется с дозатором 7.
Однако известная конструкция имеет следующие недостатки.
Вода в емкости 6 для воды сохраняется, по существу, при той же самой температуре, что и во внутренней части холодильной камеры, и вода, сохраняемая таким образом, подается в дозатор 7 через первую трубу 5 подачи. Первая труба 5 подачи для подачи воды в дозатор 7 выполнена так, чтобы проходить через дверь 2 стороны морозильной камеры. Кроме того, при прохождении через внутреннюю часть двери 2 первая труба 5 подачи располагается рядом с передней поверхностью двери 2, которая в основном изготовлена из металлической пластины.
Температура воды, подаваемая из дозатора 7, зависит от температуры воды в емкости 6 для воды, которая основана на температуре холодильной камеры. Однако первой чашкой воды, подаваемой через дозатор 7, обычно является то количество, которое остается в первой трубе 5 подачи. Таким образом, если дозатор 7 не используется долгое время, подается вода из первой трубы 5 подачи, расположенной в двери 2, которая находится под относительным влиянием температуры снаружи холодильника. Таким образом, существует проблема в том, что вода с относительно высокой температурой подается пользователям через дозатор 7.
Кроме того, согласно известному уровню техники, поскольку клапан 4 установлен на задней торцевой поверхности основного корпуса 1 холодильника, в машинном отделении или ему подобном, то существует проблема в том, что основной корпус 1 холодильника придется передвигать для выполнения технического обслуживания и текущего ремонта клапана 4. Это то же самое относится к фильтру для фильтрации примесей, содержащихся в воде.
Раскрытие изобретения
Техническая проблема
Целью настоящего изобретения является создание холодильника с дозатором, способным сохранять температуру воды при низкой температуре, даже если дозатор не используется долгое время.
Другой целью настоящего изобретения является равномерное формирование пенного слоя при установке двери с емкостью для воды для подачи воды в дозатор.
Еще одной целью настоящего изобретения является формирование равномерного изолирующего слоя в двери холодильника, в котором дверь выполняется с дозатором и емкостью для воды.
Еще одной целью настоящего изобретения является обеспечение точного определения температуры воды в емкости для воды холодильника, в котором дверь имеет дозатор и емкость для воды.
Еще одной целью настоящего изобретения является точная установка емкости для воды в двери.
Еще одной целью настоящего изобретения является надежная установка емкости для воды в изолирующем слое, сформированном в двери.
Еще одной целью настоящего изобретения является предотвращение разбрызгивания воды в емкости для воды, установленной в двери, через насадку при открывании и закрывании двери.
Еще одной целью настоящего изобретения является обеспечение удобного соединения емкости для воды и сливной трубки дозатора друг с другом.
Еще одной целью настоящего изобретения является поддержание постоянной температуры воды в емкости для воды и сохранение заданного или большего объема хранения холодильника при установке емкости для воды в двери.
Еще одной целью настоящего изобретения является установка в дверь емкости для воды, клапана и ему подобное для обеспечения дозатора водой.
Еще одной целью настоящего изобретения является установка емкости для воды в двери для обеспечения технического обслуживания и текущего ремонта и подачи воды в дозатор.
Еще одной целью настоящего изобретения является подача воды в дозатор с использованием трубки, установленной в двери в качестве емкости, без изготовления дополнительной емкости для воды.
Еще одной целью настоящего изобретения является увеличение внутреннего пространства для хранения при наличии дозатора.
Техническое решение
В соответствии с аспектом настоящего изобретения для достижения указанных целей предлагается холодильник, содержащий основной корпус, выполненный с пространством для хранения, и дверь, выполненную с изолирующим слоем в ней и закрепленную на основном корпусе для селективного открытия и закрытия пространства для хранения. Холодильник содержит дозатор, имеющий корпус дозатора, установленный в вогнутую часть передней поверхности двери и выдающий воду/лед наружу; емкость для воды, которая устанавливается между облицовкой двери, образующей заднюю поверхность двери, и корпусом дозатора, с заданным зазором от каждого их них, хранит воду, подаваемую из внешнего источника подачи воды при заданной температуре и, затем подает воду в дозатор; и нагреватель, который устанавливается рядом с емкостью для воды и селективно генерирует тепло.
Задняя поверхность корпуса дозатора может быть выполнена с криволинейной поверхностью, и передняя поверхность емкости для воды может быть выполнена с криволинейной поверхностью, соответствующей задней поверхности корпуса дозатора, таким образом, обеспечивая расположение передней поверхности емкости для воды с заданным интервалом от задней поверхности корпуса дозатора.
Холодильник может дополнительно содержать датчик температуры, который определяет температуру воды, хранящейся в емкости для воды, и который установлен на наружной поверхности емкости для воды.
Передняя поверхность двери может дополнительно содержать электронное табло, которое показывает температуру воды в емкости для воды, определенную датчиком температуры.
Датчик температуры может быть установлен в пазе, который выполнен углубленным на наружной поверхности емкости для воды.
Паз для датчика может быть сформирован в положении, обращенном к пространству для хранения, когда емкость для воды установлена во внутренней части двери.
Емкость для воды может быть закреплена на опорном ребре, которое выступает из задней поверхности корпуса дозатора и сформировано на ней, и, таким образом, закреплена во внутренней части двери.
Емкость для воды может быть выполнена с крепежным ребром в положении, соответствующем опорному ребру корпуса дозатора, и закреплена во внутренней части двери посредством закрепления крепежного ребра на опорном ребре.
Основной корпус емкости для воды может быть выполнен со сквозным отверстием, через которое проходит жидкая пена, образующая изолирующий слой.
Множество сквозных отверстий может быть выполнено в более тонких частях основного корпуса емкости.
Емкость для воды может содержать основной корпус емкости, в котором хранится вода, горловину, сформированную как одно целое с основным корпусом емкости и имеющую относительно узкую площадь поперечного сечения потока, и насадку, установленную в горловину, выполненную посредством литьевого формования и соединенную со сливной трубкой дозатора, так что основной корпус емкости и горловина сформированы посредством дутьевого формования с установленной насадкой.
Площадь поперечного сечения потока насадки может быть сформирована относительно более узкой по сравнению с площадью поперечного сечения потока горловины.
Емкость для воды может быть изогнута и сформирована для соответствия с задней поверхностью корпуса дозатора и, по меньшей мере, поверхностью корпуса дозатора, расположенного рядом с ней, и изогнута и сформирована таким образом, чтобы часть, выходящая из задней поверхности корпуса дозатора, находилась на заданном расстоянии от корпуса дозатора.
Емкость для воды может быть изогнута и сформирована таким образом, что емкость для воды располагается на заданном расстоянии от задней поверхности и нижней поверхности корпуса дозатора и устанавливается во внутренней части двери.
Нагреватель может быть установлен на задней поверхности корпуса дозатора.
Нагреватель может селективно нагревать воду в емкости для воды, таким образом, сохраняя воду при заданной температуре, в то время как нагреватель может нагревать поверхность корпуса дозатора, таким образом, предотвращая обмерзание.
В изолирующем слое двери может быть дополнительно выполнена клапанная камера для открытия в пространство для хранения основного корпуса холодильника, и содержать клапан для управления подачей воды из внешнего источника подачи воды и фильтр для очистки воды.
Клапанная камера может селективно закрываться крышкой камеры.
Емкость для воды может быть установлена во внутренней части двери, соответствующей задней части дозатора, и закрываться открываемой и закрываемой крышкой, таким образом, не находясь под влиянием холодного воздуха в пространстве для хранения.
Крышка может быть выполнена с изолирующим слоем крышки.
Технические задачи могут быть также решены за счет того, что холодильник согласно изобретению содержит основной корпус, выполненный с пространством для хранения, и дверь, выполненную с изолирующим слоем в ней и закрепленную на основном корпусе для селективного открытия и закрытия пространства для хранения. Холодильник содержит дозатор, содержащий корпус дозатора, установленный в вогнутой части передней поверхности двери и выдающий воду/лед наружу; емкость для воды, которая устанавливается между облицовкой двери, образующей заднюю поверхность двери, и корпусом дозатора, и располагается с заданным зазором от каждого их них, хранит воду, подаваемую из внешнего источника подачи воды при заданной температуре, и затем подает воду в дозатор; и фильтр для очистки воды, подаваемой из внешнего источника подачи воды в емкость для воды.
Опорное ребро может выступать из задней поверхности корпуса дозатора и формироваться на ней, причем крепежное ребро может быть сформировано на емкости для воды в положении, соответствующем опорному ребру, и емкость для воды может быть закреплена во внутренней части двери на заданном расстоянии от облицовки двери посредством зацепления опорного ребра и крепежного ребра друг с другом.
Основной корпус емкости для воды может быть выполнен со сквозным отверстием, через которое проходит жидкая пена.
Множество сквозных отверстий может быть выполнено в более тонких частях основного корпуса емкости.
Емкость для воды может содержать основной корпус емкости, в котором хранится вода, горловину, сформированную как одно целое с основным корпусом емкости и имеющую относительно узкую площадь поперечного сечения потока, и насадку, установленную в горловину, выполненную с помощью литьевого формования и соединенную со сливной трубкой дозатора, так что основной корпус емкости и горловина сформированы путем дутьевого формования с установленной насадкой.
Площадь поперечного сечения потока насадки может быть сформирована относительно более узкой по сравнению с площадью поперечного сечения потока горловины.
Емкость для воды может быть изогнута и иметь форму, соответствующую задней поверхности корпуса дозатора и, по меньшей мере, поверхности корпуса дозатора, расположенного рядом с ней, и изогнута и сформирована таким образом, чтобы часть, выходящая из задней поверхности корпуса дозатора, находилась на заданном расстоянии от корпуса дозатора.
Емкость для воды может быть изогнута и иметь такую форму, что емкость для воды располагается на заданном расстоянии от задней поверхности и нижней поверхности корпуса дозатора и устанавливается во внутренней части двери.
Клапанная камера может быть дополнительно выполнена в изолирующем слое двери для открытия в пространство для хранения основного корпуса холодильника и содержать клапан для управления подачей воды из внешнего источника подачи воды и фильтр для очистки воды.
Клапанная камера может селективно закрываться крышкой камеры.
Емкость для воды может быть установлена во внутренней части двери, соответствующей задней части дозатора, и закрываться открываемой и закрываемой крышкой, таким образом, не подвергаясь влиянию холодного воздуха в пространстве для хранения.
Крышка может быть сформирована с изолирующим слоем крышки.
Технические задачи решаются и за счет того, что холодильник согласно изобретению содержит основной корпус, выполненный с пространством для хранения, и дверью, закрепленной на нем, для селективного открытия и закрытия пространства для хранения, причем дверь сформирована с изолирующим в ней слоем. Холодильник содержит дозатор, содержащий корпус дозатора, установленный в вогнутую часть передней поверхности двери и выгружающий воду/лед наружу; и емкость, которая устанавливается в изолирующем слое между облицовкой двери, образующей заднюю поверхность двери, и корпусом дозатора, сформированным посредством расположения трубки в форме многократного зигзага, хранит воду, подаваемую из внешнего источника подачи воды при заданной температуре, и подает воду в дозатор.
Емкость может быть выполнена посредством расположения трубки в форме многократного зигзага, причем трубка сформирована как одно целое с трубой подачи, соединенной с внешним источником подачи воды и непосредственно соединяется со сливной трубкой, через которую вода выдается из дозатора.
Емкость может быть выполнена посредством расположения трубки в форме многократного зигзага, причем трубка отдельно сформирована от трубы подачи, соединенной с внешним источником подачи воды, и непосредственно соединяется со сливной трубкой, через которую вода выдается из дозатора.
Емкость может быть закреплена на опорном ребре, которое выступает из задней поверхности корпуса дозатора и сформировано на ней.
Кроме того, технические задачи решаются за счет того, что холодильник согласно изобретению содержит основной корпус, выполненный с пространством для хранения и дверью, выполненный с изолирующим слоем в ней и закрепленный на основном корпусе для селективного открытия и закрытия пространства для хранения. Холодильник содержит дозатор, содержащий корпус дозатора, установленный в вогнутую часть передней поверхности двери и выдающий воду/лед наружу; емкость для воды, которая устанавливается между облицовкой двери, образующей заднюю поверхность двери, и корпусом дозатора, с заданным зазором от каждого их них, хранит воду, подаваемую из внешнего источника подачи воды при заданной температуре, и затем подает воду в дозатор; датчик температуры, который устанавливается на стороне емкости для воды и определяет температуру в емкости для воды; и нагреватель, который работает в соответствии с температурой в емкости для воды, определенной датчиком температуры, так что нагреватель генерирует тепло, когда зарегистрированная температура ниже установленной температуры, и выключается, когда определенная температура выше установленной температуры, таким образом, сохраняя температуру емкости для воды при заданном значении.
Технические задачи решаются и за счет того, что создан способ изготовления двери холодильника с дозатором, в котором пространство для хранения основного корпуса холодильника открывается и закрывается посредством двери, и внешний вид холодильника определяется наружной дверью и облицовкой двери. Дозатор установлен в двери, так что дозатор открыт по отношению к наружной двери. Изолирующий слой устанавливается между наружной дверью и облицовкой двери, так что облицовка двери располагается на заданном расстоянии от емкости для воды для подачи воды в дозатор. Согласно способу закрепляют крепежное ребро емкости для воды на опорном ребре, сформированном на корпусе дозатора, установленного в наружной двери; наносят жидкую пену на заднюю поверхность наружной двери при закреплении емкости для воды; и закрывают заднюю поверхность наружной двери, для которой применяется жидкая пена, облицовкой двери, и заполняют жидкую пену между облицовкой двери и наружной дверью.
Технические задачи также решаются и за счет того, что согласно изобретению создан холодильник с дозатором. Холодильник содержит основной корпус, имеющий пространство для хранения, которое определяется внутренним и наружным корпусами с изолирующим слоем, выполненным между ними, и делится на холодильную и морозильную камеры, расположенные рядом, с помощью перегородки с изолирующим слоем, сформированным в ней; емкость для воды, установленную в изолирующем слое перегородки для хранения воды, подаваемой из источника подачи воды; и дозатор, установленный в пространстве для хранения, соответствующем передней стороне емкости для воды, для обеспечения водой, подаваемой из емкости для воды.
Технические задачи также решаются за счет того, что согласно настоящему изобретению создан холодильник с дозатором. Холодильник содержит основной корпус, имеющий пространство для хранения, определяемое внутренним и наружным корпусами с изолирующим слоем, сформированным между ними; емкость для воды, установленную на поверхности внутреннего корпуса, определяющей внутреннюю поверхность холодильной камеры пространства для хранения воды, подаваемой из источника подачи воды; и дозатор, установленный в пространстве для хранения, соответствующем передней стороне емкости для воды для обеспечения водой, подаваемой из емкости для воды.
Преимущества
В соответствии с настоящим изобретением, поскольку температура воды в емкости для воды всегда может сохраняться постоянной, имеются преимущества, состоящие в том, что можно предотвратить замерзание воды и обледенение наружной поверхности дозатора благодаря разности температур, а также подавать воду всегда при постоянной температуре через дозатор.
Кроме того, поскольку зазоры между емкостью для воды и нагревателем и между облицовкой двери и емкостью для воды в основном сохраняются постоянными, то также существует преимущество, состоящее в том, что вода в емкости для воды в основном имеет постоянную температуру благодаря постоянной теплопроводности.
Кроме того, поскольку емкость для воды расположена на одинаковом и постоянном расстоянии от периферийных деталей, установленных спереди и сзади емкости для воды, то можно обеспечить жидкотекучесть жидкой пены, при впрыскивании жидкой пены. Следовательно, существует преимущество, заключающееся в том, что изолирующий слой в двери надежно сформирован.
В соответствии с настоящим изобретением, поскольку паз для датчика выполнен вогнутым на поверхности емкости для воды, и датчик температуры установлен в паз для датчика, то можно более точно измерять температуру в емкости для воды.
В соответствии с настоящим изобретением можно точно и надежно установить емкость для воды в изолирующий слой во внутренней части двери.
В соответствии с настоящим изобретением, поскольку площадь поперечного сечения потока насадки установлена относительно малой по сравнению с площадью поперечного сечения основного корпуса емкости или ей подобной, даже если емкость для воды установлена во внутренней части двери, то вода не разбрызгивается наружу через насадку, при открытии и закрытии двери.
В соответствии с настоящим изобретением, поскольку насадка дополнительно выполнена с помощью литьевого формования и установлена в емкость для воды, то можно легко соединить емкость для воды со сливной трубкой дозатора.
В соответствии с настоящим изобретением, поскольку емкость для воды имеет согнутую форму для соответствия с наружной формой корпуса дозатора, то можно обеспечить незначительный выступ задней поверхности двери, даже если емкость для воды установлена в изолирующем слое в двери.
В соответствии с настоящим изобретением, поскольку емкость для воды устанавливается вместе с клапаном и фильтром в двери, то можно легко выполнять их техническое обслуживание и текущий ремонт.
Кроме того, в соответствии с настоящим изобретением, поскольку труба подачи, через которую емкость для воды соединяется с клапаном и фильтром, устанавливается во внутренней части двери, то существуют преимущества в том, что указанная труба является короткой, и поломка, обусловленная внешним воздействием, предотвращена.
В соответствии с настоящим изобретением существует преимущество в том, что техническое обслуживание и текущий ремонт емкости для воды могут выполняться, поскольку крышка установлена на задней поверхности двери, в которую устанавливается емкость для воды.
В соответствии с настоящим изобретением, поскольку емкость, имеющая заданный объем, сформирована в двери посредством изгиба трубки без изготовления дополнительной емкости для воды, то можно сократить производственные расходы и предотвратить образование отложений в емкости.
В соответствии с настоящим изобретением можно расположить дозатор и емкость для воды в холодильнике, чтобы точно сохранять воду в емкости для воды ниже постоянной температуры, при получении воды из внутренней части холодильника и потреблении ее, и увеличить внутренний объем пространства для хранения.
Описание чертежей
Фиг.1 – частичный вид в разрезе, схематически показывающий холодильник с дозатором, в соответствии с известным уровнем техники.
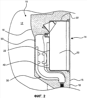
Фиг.2 – схематический продольный вид в разрезе, показывающий основную часть первого варианта осуществления холодильника с дозатором, в соответствии с настоящим изобретением.
Фиг.3 – схематический поперечный вид в разрезе, показывающий основную часть первого варианта осуществления изобретения.
Фиг.4 – вид сверху емкости для воды первого варианта осуществления настоящего изобретения.
Фиг.5 – блок-схема, иллюстрирующая работу нагревателя в первом варианте осуществления настоящего изобретения.
Фиг.6 – схематический поперечный вид в разрезе, показывающий основную часть второго варианта осуществления настоящего изобретения.
Фиг.7 – перспективный вид, показывающий емкость для воды второго варианта осуществления настоящего изобретения.
Фиг.8 – схематический продольный вид в разрезе, показывающий третий вариант осуществления настоящего изобретения.
Фиг.9 – схематический поперечный вид в разрезе, показывающий третий вариант осуществления настоящего изобретения.
Фиг.10 – перспективный вид, показывающий емкость для воды третьего варианта осуществления настоящего изобретения.
Фиг.11 – вид сбоку, показывающий емкость для воды третьего варианта осуществления настоящего изобретения.
Фиг.12 – перспективный вид, показывающий насадку третьего варианта осуществления настоящего изобретения.
Фиг.13 – схематический продольный вид в разрезе, показывающий четвертый вариант осуществления настоящего изобретения.
Фиг.14 – схематический продольный вид в разрезе, показывающий пятый вариант осуществления настоящего изобретения.
Фиг.15 – схематический поперечный вид в разрезе, показывающий пятый вариант осуществления настоящего изобретения.
Фиг.16 – схематический продольный вид в разрезе, показывающий шестой вариант осуществления настоящего изобретения.
Фиг.17 – схематический продольный вид в разрезе, показывающий седьмой вариант осуществления настоящего изобретения.
Фиг.18 – схематический продольный вид в разрезе, показывающий восьмой вариант осуществления настоящего изобретения.
Наилучший способ выполнения настоящего изобретения
Ниже будут подробно описаны предпочтительные варианты осуществления холодильника с дозатором, в соответствии с настоящим изобретением со ссылкой на сопроводительные чертежи.
Как показано на фиг.2-4, пространство 12 для хранения сформировано в основном корпусе 10 холодильника и селективно открывается и закрывается с помощью двери 14. Внешний вид двери 14 определяется наружной дверью 15 и облицовкой 16 двери. Облицовка 16 двери образует заднюю поверхность двери 14, в то время как наружная дверь 15, по существу, определяет ее остальную часть внешнего вида. Для предотвращения теплопередачи через дверь 14, в пространстве между наружной дверью 15 и облицовкой 16 двери сформирован изолирующий слой 18.
Дозатор 20 установлен таким образом, что передняя поверхность двери 14 является открытой. Предпочтительно, чтобы дверь 14, в которую установлен дозатор 20, являлась дверью морозильной камеры в случае, когда холодильник, в котором применяется настоящее изобретение, представляет собой смежный холодильник. Подробные описания конструкции дозатора 20, через который пользователи из холодильника достают воду или лед, и который не является отличительной особенностью настоящего изобретения, будут приведены.
Дозатор 20 выполнен с корпусом 22 дозатора. Корпус 22 дозатора образован в виде вогнутой части, утопленной в наружной двери 15. В основном, корпус 22 дозатора выполнен в форме полуцилиндра.
Емкость 30 для воды установлена между корпусом 22 дозатора и облицовкой 16 двери. Емкость 30 для воды содержит воду, подаваемую из внешнего источника подачи воды, и затем подает воду в дозатор 20. Емкость 30 для воды установлена в изолирующем слое 18.
Передняя поверхность 30′ емкости 30 для воды, обращенная к задней поверхности 22′ корпуса 22 дозатора, сформирована с криволинейной поверхностью, соответствующей корпусу 22 дозатора, выполненного в форме полуцилиндра. Следовательно, заданный зазор образован между корпусом 22 дозатора и емкостью 30 для воды. Конечно, предпочтительно, в случае если задняя поверхность 22′ корпуса 22 дозатора выполнена с плоской поверхностью, то передняя поверхность 30′ емкости 30 для воды также должна быть выполнена с плоской поверхностью, и между ними должен быть образован заданный зазор.
Емкость 30 для воды, которая установлена в изолирующем слое 18 между наружной дверью 15 и облицовкой 16 двери, должна сохраняться полностью при низкой температуре благодаря холодному воздуху в пространстве 12 для хранения, и не замерзать. Для того чтобы сохранять воду в емкости 30 для воды при постоянной температуре, между емкостью 30 для воды и пространством 12 для хранения должен быть предусмотрен изолирующий слой 18 заданной толщины. В соответствии с настоящим изобретением между плоской частью задней поверхности емкости 30 для воды и облицовкой 16 двери предусмотрен заданный зазор. Следовательно, можно добиться равномерной теплопередачи между пространством 12 для хранения и емкостью 30 для воды.
Нагреватель 40 установлен между корпусом 22 дозатора и емкостью 30 для воды. Нагреватель 40 предпочтительно установлен на задней поверхности 22′ корпуса 22 дозатора. Поскольку нагреватель 40 установлен на задней поверхности 22′ корпуса 22 дозатора, то также можно сохранять постоянный зазор между нагревателем и передней поверхностью 30′ емкости 30 для воды. Следовательно, тепло, генерируемое нагревателем 40, в основном передается равномерно в емкость 30 для воды.
Нагреватель 40 может использоваться для предотвращения замерзания воды в емкости 30 для воды и одновременного обледенения наружной поверхности корпуса 22 дозатора в результате разности температур.
Между тем, для измерения температуры воды в емкости 30 для воды, на емкости 30 для воды установлен датчик 50 температуры. Предпочтительно, чтобы датчик 50 температуры был установлен на задней поверхности емкости 30 для воды. Датчик 50 температуры соединяется с устройством 52 управления, которое является центральным устройством обработки данных холодильника, так что температура, зарегистрированная датчиком 50 температуры, может быть отображена на электронном табло 54 через устройство 52 управления. В основном, электронное табло 54 устанавливается на передней поверхности двери холодильника и, таким образом, показывает рабочее состояние холодильника пользователям.
Кроме того, устройство 52 управления холодильника соединяется с входной частью 58, посредством которой пользователи управляют работой холодильника в дополнение к датчику 50 температуры и электронному табло 54, как описано выше. Входной частью 58, которая обычно устанавливается рядом с электронным табло 54, является часть, через которую пользователи вводят сигналы для управления рабочими режимами холодильника и им подобное. Устройство 52 управления также соединяется с устройством 56 управления нагревателя для управления нагревателем 40 и, таким образом, может управлять нагревателем 40 посредством управления устройством 56 управления нагревателя.
Ниже будет описана работа первого варианта осуществления настоящего изобретения.
В соответствии с настоящим изобретением передняя поверхность 30′ емкости 30 для воды, установленной в изолирующем слое 18 двери 14, расположена на заданном расстоянии от задней поверхности 22′ корпуса 22 дозатора, и одновременно задняя поверхность 22′ корпуса 22 дозатора и передняя поверхность 30′ емкости 30 для воды соответствуют друг другу по форме, то есть задняя поверхность 22′ корпуса 22 дозатора имеет выпуклую криволинейную поверхность, а передняя поверхность 30′ емкости 30 имеет вогнутую криволинейную поверхность.
Кроме того, задняя поверхность емкости 30 для воды сформирована с плоской поверхностью, соответствующей облицовке 16 двери, изолирующий слой 18 заданной толщины также предусмотрен между облицовкой 16 двери и задней поверхностью емкости 30 для воды.
Таким образом, вода, хранящаяся в емкости 30 для воды, не замерзает и может сохраняться при постоянной температуре, даже если пространством 12 для хранения является морозильная камера. Это является причиной, почему между облицовкой 18 двери и емкостью 30 для воды предусмотрен изолирующий слой 18, и тепло может передаваться от нагревателя 40.
То есть, если необходимо обеспечить подогрев емкости 30 для воды на основании значения, определенного датчиком 50 температуры, устройство 52 управления управляет устройством 56 управления нагревателя для того, чтобы включить нагреватель 40. Когда нагреватель 40 работает и генерирует тепло, тепло передается в емкость 30 для воды и предотвращает замерзание.
Между тем, если температура, определенная датчиком 50 температуры, равна или больше заданного значения, то температура, определенная датчиком 50 температуры, передается в устройство 52 управления, и, затем, устройство 52 управления управляет устройством 56 управления нагревателя для того, чтобы выключить нагреватель 40. Следовательно, можно всегда сохранять температуру воды в емкости 30 для воды постоянной.
Следовательно, поскольку нагреватель 40 и емкость 30 для воды сконфигурированы таким образом, что зазор между ними остается постоянным, то тепло, генерируемое нагревателем 40, равномерно передается в емкость 30 для воды, и, таким образом, общая температура воды в емкости 30 для воды может сохраняться постоянной. Конфигурация, в которой изолирующий слой 18, имеющий в целом одинаковую толщину, сформирован между емкостью 30 для воды и облицовкой 16 двери, поэтому температура воды в емкости 30 для воды может в целом сохраняться постоянной.
Кроме того, поскольку емкость 30 для воды имеет такую форму, что она в целом расположена на одинаковом расстоянии от облицовки 16 двери корпуса 22 дозатора, то можно обеспечить равномерное прохождение жидкой пены при изготовлении двери 14. То есть в то время как емкость 30 для воды поддерживается в двери 14, жидкая пена впрыскивается между наружной дверью 15 и облицовкой 16 двери для формирования изолирующего слоя 18. В это время, поскольку жидкая пена должна в основном равномерно заполняться в дверь 14, то проникновение жидкой пены является важной.
Если спереди и сзади емкости 30 для воды предусмотрены определенные зазоры, как в соответствии с настоящим изобретением, то можно полностью обеспечить проникновение жидкой пены. Следовательно, в соответствии с настоящим изобретением изолирующий слой 18 в двери 14 может быть сформирован относительно надежно.
Способ выполнения по настоящему изобретению
Со ссылкой на фиг.6 и 7 будет описан второй вариант осуществления настоящего изобретения. В данном варианте осуществления ссылочные позиции, увеличенные на 100, даны для тех же самых элементов, как в предыдущем варианте осуществления, и для удобства описания будут описаны только основные части.
В соответствии с фигурами паз 131 для датчика сформирован на поверхности емкости 130 для воды. Паз 131 для датчика сформирован вогнутым на поверхности емкости 130 для воды. Датчик 150 температуры расположен в пазе 131 для датчика. При этом часть, в которой сформирован паз 131 для датчика, обращена к пространству 112 для хранения, когда емкость 130 для воды установлена в двери 114.
Таким образом, конфигурация, в которой паз 131 для датчика сформирован в положении, обращенном к пространству 112 для хранения, и в который установлен датчик 150 температуры, выполнена с целью предварительного предотвращения влияния на датчик 150 температуры извне. Конфигурация, в которой датчик 150 температуры установлен в паз 131 для датчика, выполненный вогнутым на поверхности емкости 130 для воды, выполнена с целью точной регистрации температуры воды в емкости 130 для воды.
Датчик 150 температуры соединен с устройством управления, который является центральным устройством обработки данных холодильника, таким образом, что температура, определенная датчиком 150 температуры, может отображаться на электронном табло через устройство управления.
Со ссылкой на фиг.8-12 будет описан третий вариант осуществления настоящего изобретения. В соответствии с фигурами пространство 212 для хранения сформировано в основном корпусе 210 холодильника и селективно открывается и закрывается дверью 214. Внешний вид двери 214 определяется наружной дверью 215 и облицовкой 216 двери. Для изоляции процесса теплопередачи через дверь 214 в пространстве между наружной дверью 215 и облицовкой 216 двери сформирован изолирующий слой 218. Дозатор 220 установлен так, что передняя поверхность двери 214 является открытой. Предпочтительно, чтобы дверь 214, в которую установлен дозатор 220, являлась дверью морозильной камеры в случае, когда холодильник, в котором применяется настоящее изобретение, представляет собой смежный холодильник.
Дозатор 220 выполнен с корпусом 222 дозатора. Корпус 222 дозатора образован в виде вогнутой части, утопленной в наружной двери 215. Обычно корпус 222 дозатора сформирован в виде полуцилиндра. В верхней части вогнутого пространства в корпусе 222 дозатора передний конец сливной трубки 224 для подачи воды наружу является открытым. Опорные ребра 226 сформированы в нескольких положениях на задней поверхности корпуса 222 дозатора с возможностью для расширения. Длины опорных ребер 226 отличаются друг от друга в соответствии с положениями формирования.
Емкость 230 для воды установлена между корпусом 222 дозатора и облицовкой 216 двери. Емкость 230 для воды содержит воду, подаваемую из внешнего источника подачи воды, и затем подает воду в дозатор 220. Емкость 230 для воды помещена в изолирующем слое 218.
Емкость 230 для воды в основном содержит основной корпус 232 емкости, горловину 233 и насадку 234. Пространство для хранения воды сформировано в основном корпусе 232 емкости. Площадь поперечного сечения, через которую проходит вода или хранится на ней, и которая показана, когда внутренняя часть основного корпуса 232 емкости разрезана поперек, выполнена относительно большей, чем площадь поперечного сечения горловины 233. Пространство, в котором хранится вода или проходит через него, сформировано в горловине 233, которая сформирована на верхней торцевой поверхности основного корпуса 232 емкости, так что насадка 234 и основной корпус 232 емкости сообщаются друг с другом.
Как показано на фиг.11 и 12, насадка 234 является относительно длинной и сформирована с узким внутренним каналом. Канал насадки 234 сформирован гораздо более узким по сравнению с площадью поперечного сечения потока основного корпуса 232 емкости или горловины 233. Канал в насадке 234 сформирован узким, как указано выше, поскольку емкость 230 для воды устанавливается в двери 212. То есть это является причиной, почему вода, хранящаяся в емкости 230 для воды, взбалтывается и колеблется при открытии двери 212 и может выливаться через насадку 234.
Однако если площадь поперечного сечения потока насадки 234 сформирована значительно более узкой по сравнению с площадью поперечного сечения основного корпуса 232 емкости или горловины 233, то вода проходит только в основной корпус 232 емкости или горловину 233 и не выливается через насадку 234 даже при колебании воды.
Если насадка 234, имеющая такую форму, сформирована вместе с основным корпусом 232 емкости и горловиной 233, когда они сформированы посредством дутьевого формования, существует проблема уменьшения их точности. В таком случае существует проблема относительно утечки воды, когда насадка 234 взаимодействует со сливной трубкой 224.
Следовательно, в соответствии с настоящим изобретением насадка 234 дополнительно изготавливается посредством литьевого формования. Обычно литьевое формование может обеспечить точный размер. После того как насадка 234 сформирована посредством литьевого формования и установлена в форму для выполнения дутьевого формования, формируются основной корпус 232 емкости и горловина 233. При таком способе насадка 234 может быть выполнена как одно целое с горловиной 233.
Сторона нижней торцевой поверхности основного корпуса 232 емкости предусмотрена с отверстием 235 для впрыска. Отверстие 235 для впрыска, через которое внутренняя часть и наружная часть основного корпуса 232 емкости сообщаются друг с другом, соединено с наружным источником подачи воды через трубу подачи (не показана).
Множество крепежных ребер 236 сформировано на наружной поверхности емкости 230 для воды. Крепежные ребра 236 сформированы в положениях, соответствующих опорным ребрам 226. В данном варианте осуществления крепежные ребра 236 сформированы на обеих сторонах основного корпуса 232 емкости и стороне горловины 233. Крепежные ребра 236 закреплены на опорных ребрах посредством крепежных средств таких, как винты. Конечно, крепежные ребра 236 и опорные ребра 226 могут соответствовать по форме и закрепляться друг с другом.
Между тем основной корпус 232 емкости 230 для воды сформирован со сквозными отверстиями 238. Сквозные отверстия 238 используются для равномерного прохождения жидкой пены при формировании пенного слоя 218. Как показано на фиг.10, емкость 230 для воды сформирована так, что она является плоской, и ее нижняя часть изогнута вдоль задней поверхности корпуса 222 дозатора. Следовательно, жидкая пена не может равномерно проходить, особенно между корпусом 222 дозатора и емкостью 230 для воды. Для предотвращения такого явления посредством формирования сквозных отверстий 238 жидкая пена равномерно проходит от задней поверхности к передней поверхности емкости 230 для воды, то есть в пространство между емкостью 230 для воды и задней поверхностью корпуса 222 дозатора.
Предпочтительно, чтобы множество сквозных отверстий 238 было выполнено в промежуточной части основного корпуса 232 емкости, особенно в относительно более тонкой части в основном корпусе 232 емкости.
В соответствии с настоящим изобретением емкость 230 для воды выполнена соответствующей задней поверхности корпуса 222 дозатора, и основной корпус 232 емкости, который проходит вверх в нижнюю часть корпуса 222 дозатора, выполнен изогнутым таким образом, что он проходит, по существу, на одинаковом расстоянии от нижней части корпуса 222 дозатора.
Это выполнено для того, чтобы не сужать пространство 212 для хранения основного корпуса 210 холодильника посредством относительного увеличения толщины двери 214, поскольку емкость 230 для воды устанавливается в изолирующий слой 218, сформированный в двери 214.
Конечно, форма емкости 230 для воды не ограничивается тем, что показано в данном варианте осуществления. Например, емкость 230 для подачи воды может быть дренажной и сформированной для соответствия с верхней, задней и нижней, задней и обеими боковыми поверхностями корпуса 222 дозатора, таким образом, являясь сформированной в форме П . Кроме того, емкость 230 для воды может быть дренажной и сформированной для соответствия с задней и верхней поверхностями корпуса 222 дозатора для того, чтобы быть сформированной в форме Г .
Ниже будет подробно описана работа третьего варианта осуществления настоящего изобретения.
Будет описана установка емкости 230 для воды в двери 214 в данном варианте осуществления. Дозатор 220 устанавливается таким образом, что является открытым со стороны к передней поверхности наружной двери 215 двери 214. Множество опорных ребер 226, с которыми зацепляются крепежные ребра 236 емкости 230 для воды, предусмотрены на задней поверхности корпуса 222 дозатора 220.
В таком положении емкость 230 для воды закрепляется на корпусе 222 дозатора. Конечно, насадка 234 зацепляется со сливной трубкой 224, и дополнительная труба подачи соединяется с отверстием 235 для впрыска. Поскольку в противоположность основному корпусу 232 емкости насадка 234, зацепленная со сливной трубкой 224, выполнена посредством литьевого формования и, таким образом, имеет высокую точность, утечка между насадкой 234 и сливной трубкой 224 не происходит. Затем жидкая пена применяется для задней поверхности наружной двери 215.
Жидкая пена применяется для задней поверхности наружной двери 215 и множества деталей, установленных на ней. Затем дозатор 220, емкость 230 для воды, задняя поверхность наружной двери 215 и им подобное, для которых применяется жидкая пена, закрываются с помощью соединения облицовки 216 двери с наружной дверью 215. В таком положении жидкая пена заполняется между наружной дверью 215 и облицовкой 216 двери.
В это время, поскольку емкость 230 для воды устанавливается на месте посредством закрепления крепежных ребер 236 с опорными ребрами 226, положение емкости 230 для воды не перекашивается или деформируется под давлением жидкой пены. Таким образом, емкость 230 для воды устанавливается в более точное положение.
Кроме того, сквозные отверстия 238, сформированные в основном корпусе 232 емкости 230 для воды, обеспечивают более равномерное прохождение жидкой пены вокруг емкости 230 для воды. То есть изолирующий слой 218 формируется более равномерным вокруг емкости 230 для воды посредством равномерной подачи жидкой пены по передней и задней поверхностям основного корпуса 232 емкости. Следовательно, емкость 230 для воды более надежно закрепляется и изолируется.
Если жидкая пена заполняется между облицовкой 216 двери и наружной дверью 215 двери 214 и высыхает, то образуется изолирующий слой 218. Изолирующий слой 218 уменьшает процесс теплопередачи между пространством 212 для хранения в основном корпусе 210 холодильника и его наружной стороной через дверь 214.
Между тем, в то время как емкость 230 для воды установлена между облицовкой 216 двери и корпусом 222 дозатора, часть емкости 230 для воды, которая проходит выше нижней части корпуса 222 дозатора, сформирована для закрытия нижней поверхности корпуса 222 дозатора. Таким образом, часть емкости 230 для воды, которая проходит вверх в нижнюю часть дозатора 220 не увеличивает толщину или объем двери 214. Следовательно, объем пространства 212 может быть сформирован относительно большим.
Фиг.13 показывает четвертый вариант осуществления изобретения. В соответствии с фигурой пространство 312 для хранения выполнено в основном корпусе 310 холодильника и селективно открывается и закрывается с помощью двери 314. Внешний вид двери 314 определяется наружной дверью 315 и облицовкой 316 двери. Для изоляции процесса теплопередачи через дверь 314 в пространстве между наружной дверью 315 и облицовкой 316 двери сформирован изолирующий слой 318. Дозатор 320 установлен таким образом, что передняя поверхность двери 314 является открытой. Предпочтительно, чтобы дверь 314, в которую установлен дозатор 320, являлась дверью морозильной камеры в случае, когда холодильник, в котором применяется настоящее изобретение, представляет собой смежный холодильник.
Дозатор 320 предусмотрен с корпусом 322 дозатора. Корпус 322 дозатора выполнен в виде вогнутой части, утопленной в наружной двери 315. В основном, корпус 322 дозатора образован в форме полуцилиндра. Верхняя часть вогнутого пространства в корпусе 322 дозатора, передний конец сливной трубки 324 для слива воды наружу являются открытыми.
Емкость 330 для воды установлена между корпусом 322 дозатора и облицовкой 316 двери. Емкость 330 для воды содержит воду, подаваемую из внешнего источника подачи воды, и затем подает воду в дозатор 320. Емкость 330 для воды предусмотрена в изолирующем слое 318. Ссылочный номер 334 обозначает насадку емкости 330 для воды, которая является частью, соединенной со сливной трубкой 324. Может быть использована емкость 330 для воды, в которой объединено и предусмотрено множество отличительных особенностей, описанных в третьем варианте осуществления.
Труба 360 подачи, которая соединена с внутренней частью двери 314, соединена с емкостью 330 для воды. Труба 360 подачи также соединена с внешним источником подачи воды таким образом, что она в основном проходит из основного корпуса 310 холодильника во внутреннюю часть двери 314 через узел шарнира, через который дверь 314 установлена с возможностью поворота в основном корпусе 310 холодильника.
Клапанная камера 361 сформирована в двери 314, так что труба 360 подачи проходит через внутреннюю часть клапанной камеры 361. Клапанная камера 361 сформирована в изолирующем слое 318, чтобы быть открытой по отношению к внутренней поверхности двери 314. Клапанная камера 361 закрывается крышкой 362 камеры. Крышка 362 камеры закрывается между пространством 312 для хранения и клапанной камерой 362, чтобы холодный воздух в пространстве 312 для хранения не поступал в клапанную камеру 361. С этой целью крышка 362 камеры изготовлена из материала, обладающего высокой изолирующей способностью, или предпочтительно дополнительный изолирующий слой 362′ предусмотрен, по меньшей мере, на поверхности крышки 362 камеры, как показано на фигуре.
Фильтр 363 и клапан 365 установлены в клапанной камере 361. Фильтр 363 используется для фильтрации разнообразных примесей, содержащихся в воде, подаваемой из внешнего источника подачи воды. Клапан 365 передает воду, отфильтрованную в фильтре 363, в емкость 330 для воды. Клапан 365 также может иметь такую конструкцию, чтобы подавать воду в ледогенератор. В таком случае ледогенератор должен быть установлен на стороне двери 314.
Работа четвертого варианта осуществления, имеющего такую конструкцию, будет описана кратко.
Если необходимо подавать воду в емкость 330 для воды или ледогенератор, то клапан селективно открывается. Когда клапан 365 селективно открывается, вода подается из внешнего источника подачи воды в фильтр 363 через трубу 360 подачи. Вода, подаваемая в фильтр 363, очищается и затем селективно подается в емкость 330 для воды или ледогенератор посредством регулировки клапана 365.
Пользователи могут использовать как воду, подаваемую в емкость 330 для воды, так и лед, образованный из воды, подаваемой в ледогенератор, получая воду и лед через дозатор 320 при заданном количестве.
Между тем, поскольку фильтр 363 является элементом одноразового применения, его необходимо периодически заменять. С этой целью пользователи открывают крышку 362 камеры и затем заменяют фильтр 363. Кроме того, техническое обслуживание и текущий ремонт клапана 365 можно также выполнять после открытия крышки 362 камеры. То есть в данном варианте осуществления замена фильтра 363 и техническое обслуживание и текущий ремонт клапана 365 можно выполнить просто после открытия двери 314.
Затем, со ссылкой фиг.14 и 15, будет описан пятый вариант осуществления настоящего изобретения. В соответствии с фигурами пространство 412 для хранения выполнено в основном корпусе 410 холодильника и селективно открывается и закрывается с помощью двери 414. Внешний вид двери 414 определяется наружной дверью 415 и облицовкой 416 двери. Для изоляции процесса теплопередачи через дверь 414, в пространстве между наружной дверью 415 и облицовкой 416 двери выполнен изолирующий слой 418. Дозатор 420 установлен таким образом, что передняя поверхность двери 414 является открытой. Предпочтительно, чтобы дверь 414, в которую установлен дозатор 420, являлась дверью морозильной камеры в случае, когда холодильник, в котором применяется настоящее изобретение, представляет собой смежный холодильник.
Дозатор 420 предусмотрен с корпусом 422 дозатора. Корпус 422 дозатора образован в виде вогнутой части, утопленной в наружной двери 415. В основном, корпус 422 дозатора образован в форме полуцилиндра. Верхняя часть вогнутого пространства в корпусе 422 дозатора, передний конец сливной трубки 424 для слива воды наружу являются открытыми. Опорные ребра 426 сформированы в нескольких положениях на задней поверхности корпуса 422 дозатора с возможностью для расширения. Длины опорных ребер 426 отличаются друг от друга в соответствии с положениями формирования.
Емкость 430 для воды установлена между корпусом 422 дозатора и облицовкой 416 двери. Емкость 430 для воды содержит воду, подаваемую из внешнего источника подачи воды, и затем подает воду в дозатор 420. Емкость 430 для воды предусмотрена в положении рядом с задней поверхностью двери 414, а не устанавливается в изолирующем слое 418. Это выполнено для обеспечения замены емкости 430 для воды. То есть после того как задняя часть дозатора 420 сформирована с пространством для установки емкости 430 для воды, емкость 430 для воды устанавливается в него. Затем изолирующий слой 418 формируется путем впрыскивания жидкой пены во внутреннюю часть двери 414, соответствующую передней стороне части, в которую устанавливается емкость 430 для воды. В это время изолирующий слой 418 должен быть выполнен таким образом, чтобы установка и съем емкости 430 для воды осуществлялся свободно. Ссылочный номер 434 обозначает насадку, соединенную со сливной трубкой 424.
Множество крепежных ребер 436 сформировано на наружной поверхности емкости 430 для воды. Крепежные ребра 436 сформированы в положениях, соответствующих опорным ребрам 426. Крепежные ребра 436 прикрепляются к опорным ребрам 426 посредством крепежных средств таких, как винты. Конечно, крепежные ребра 436 и опорные ребра 426 могут соответствовать по форме и закрепляться друг с другом.
Задняя поверхность емкости 430 для воды, т.е. поверхность, обращенная к пространству 412 для хранения, закрывается крышкой 470. Сама крышка 470 изготавливается из материала, обладающего высокой изолирующей способностью, или предпочтительно дополнительный изолирующий слой 472 крышки предусмотрен на внутренней поверхности крышки 470. Это делается с целью предотвращения влияния холодного воздуха в пространстве 412 для хранения на емкость 430 для воды.
Крышка 470 должна быть установлена с возможностью съема в облицовке 416 двери 414. Крышка 470 может быть закреплена на облицовке 416 двери, например, посредством формирования зацепляющих крючков и зацепляемых пазов в соответствующих положениях крышки 470 и облицовки 416 двери, соответственно, или посредством использования винтов. Конечно, крышка 470 может быть сконфигурирована с возможностью открытия, даже если вся крышка 470 не отсоединяется.
Крышка 470 сконфигурирована, чтобы открывать и закрывать в данном описании, что означает, что поскольку крышка 470 устанавливается с возможностью съема в облицовке 416 двери, как описано выше, то может выполняться техническое обслуживание и текущий ремонт емкости 430 для воды.
В пятом варианте осуществления настоящего изобретения, имеющего такую конструкцию, емкость 430 для воды можно отсоединять от двери 414 и отремонтировать ее. То есть емкость 430 для воды отсоединяется от двери 414 посредством открытия крышки 470, открывая емкость 430 для воды и разъединяя зацепление опорных ребер 426 и крепежных ребер 436.
После отсоединения емкости 430 для воды от двери 414 емкость 430 для воды можно очистить и снова установить в двери 414, или использованную емкость 430 для воды можно опорожнить и заменить новой емкостью 430 для воды. То есть крепежные ребра 436 емкости 430 для воды зацепляются и прикрепляются к опорным ребрам 426. Конечно, емкость 430 для воды должна быть соединена с трубой подачи, а насадка 434 и сливная трубка 424 дозатора 420 должны быть соединены друг с другом.
После того как емкость 430 для воды вновь установлена в двери 414, как описано выше, благодаря закрытию крышки 470 холодный воздух в пространстве 412 для хранения не оказывает влияния на емкость 430 для воды.
Со ссылкой на фиг.16 будет описан шестой вариант осуществления настоящего изобретения. В соответствии с фигурой пространство 512 для хранения сформировано в основном корпусе 510 холодильника и селективно открывается и закрывается с помощью двери 514. Внешний вид двери 514 определяется наружной дверью 515 и облицовкой 516 двери. Для изоляции процесса теплопередачи через дверь 514 в пространстве между наружной дверью 515 и облицовкой 516 двери сформирован изолирующий слой 518. Дозатор 520 установлен таким образом, что передняя поверхность двери 514 является открытой. Предпочтительно, чтобы дверь 514, в которую установлен дозатор 520, являлась дверью морозильной камеры в случае, когда холодильник, в котором применяется настоящее изобретение, представляет собой смежный холодильник.
Дозатор 520 предусмотрен с корпусом 522 дозатора. Корпус 522 дозатора образован в виде вогнутой части, утопленной в наружной двери 515. В основном, корпус 522 дозатора образован в форме полуцилиндра. Верхняя часть вогнутого пространства в корпусе 522 дозатора, передний конец сливной трубки 524 для слива воды наружу являются открытыми. Опорные ребра 526 сформированы в нескольких положениях на задней поверхности корпуса 522 дозатора с возможностью расширения. Длины опорных ребер 526 отличаются друг от друга в соответствии с положениями формирования.
Емкость 530 установлена между корпусом 522 дозатора и облицовкой 516 двери. Емкость 530 сформирована посредством многократного изгиба трубки из синтетической пластмассы или металла. Емкость 530 выполнена в виде двух слоев, как показано на фигуре данного варианта осуществления в разрезе. Конечно, трубка, составляющая емкость 530, может быть выполнена из двух или более слоев. Количество слоев трубки, составляющей емкость 530, определяется с учетом толщины двери 514 и ей подобное.
Один конец емкости 530 соединен с трубой 560 подачи для подачи воды, подаваемой из внешнего источника подачи воды. Другой конец емкости 530 соединен со сливной трубкой 524 дозатора 520. Сама труба 560 подачи может быть использована в качестве трубки, составляющей емкость 530 посредством удлинения трубы 560 подачи. То есть емкость 530 может быть сформирована посредством изгиба трубы 560 подачи. Конечно, трубка, составляющая емкость 530, может быть сконфигурирована и сформирована в дополнение к трубе 560 подачи.
Кроме того, емкость 530, которая установлена в изолирующем слое 518, может быть закреплена на опорных ребрах 526, которые проходят от задней поверхности корпуса 522 дозатора, для предотвращения перекоса положения емкости 530 в процессе формирования изолирующего слоя 518. То есть в положении, в котором емкость 530, которая сформирована посредством изгиба трубки, закреплена на опорных ребрах 526, сформирован изолирующий слой 518. Конечно, емкость 530 необязательно закрепляется на корпусе 522 дозатора.
Между тем емкость 530 может быть по-разному модифицирована в соответствии с расположением трубки. Предпочтительно, чтобы трубка, составляющая емкость 530, была расположена таким образом, чтобы не препятствовать потоку жидкой пены. Например, хотя трубка расположена в форме многократного зигзага от стороны к стороне, когда емкость 530 обращена к двери 514 с задней части на фигуре, трубка может быть расположена в форме зигзага вверх и вниз.
В шестом варианте осуществления настоящего изобретения, имеющего такую конструкцию, вода, подаваемая из внешнего источника подачи воды через трубу 560 подачи, содержится в трубке, составляющей емкость 530, и затем сливается через сливную трубку 524 дозатора 520.
То есть емкость 530 сформирована посредством изгиба трубки в форме многократного зигзага без использования дополнительной емкости для воды, и вода в емкости 530 сохраняется при заданной температуре благодаря холодному воздуху в пространстве для хранения и затем сливается через дозатор 520.
В данном варианте осуществления, поскольку емкость 530 сформирована посредством изгиба трубки в форме зигзага, то вода в емкости 530 сливается последовательно. То есть вода, раньше поданная в емкость 530, раньше сливается в дозатор 520. Следовательно, отложения не остаются в трубке, составляющей емкость 530, и легко выгружаются благодаря потоку воды даже при образовании отложений.
Со ссылкой на фиг.17 будет описан седьмой вариант осуществления настоящего изобретения. В соответствии с фигурой наружная и внутренняя поверхности основного корпуса 610 холодильника образованы наружным и внутренним корпусами 611 и 611′, соответственно. Изолирующий слой 610′ сформирован между наружным и внутренним корпусами 611 и 611′. Изолирующий слой 610′ используется для изоляции процесса теплопередачи между внутренней частью и наружной частью основного корпуса 610 холодильника.
Холодильная и морозильная камеры 612 и 612′, которые являются пространствами для хранения, сформированы в основном корпусе 610 холодильника. Холодильная и морозильная камеры 612 и 612′ разделены перегородкой 613. Перегородка 613 выполнена посредством формирования изолирующего слоя 610′ между внутренними корпусами 611′.
Между тем в данном варианте осуществления дозатор 620 установлен на боковой стенке перегородки 613, соответствующей внутренней поверхности стенки холодильной камеры 612. Дозатор 620, через который пользователи получают и пьют воду, обычно подает воду на наружную сторону двери. Однако, поскольку дозатор 620 установлен в основном корпусе 610 холодильника в данном варианте осуществления, вода может подаваться после открытия двери.
Емкость 630 для воды для хранения воды, подаваемой в дозатор 620, предусмотрена в изолирующем слое 610′ в перегородке 613. Однако емкость 630 для воды не обязательно устанавливается в изолирующем слое 610′ в перегородке 613. Например, емкость 630 для воды может быть установлена в любом положении в изолирующем слое 610′, сформированном между наружным и внутренним корпусами 611 и 611′.
Однако когда емкость 630 для воды установлена в изолирующем слое 610′, то более предпочтительно, чтобы емкость 630 для воды была установлена в положении, в котором температура воды может сохраняться при постоянном значении. То есть емкость 630 для воды необходимо установить в положение, в котором вода сохраняется при постоянной температуре (то есть температуре, при которой вода не замерзает и освежает пользователей при ее потреблении) под влиянием низкой температуры в холодильной камере 612 или морозильной камеры 612′.
Затем предпочтительно, чтобы дозатор 620 и емкость 630 для воды были установлены в положениях, расположенных рядом друг с другом. То есть предпочтительно, чтобы емкость 630 для воды была расположена в положении, в котором сливная трубка дозатора 620 и емкость 630 для воды непосредственно соединяются друг с другом без использования дополнительной соединительной трубки.
Между тем фиг.18 показывает восьмой вариант осуществления настоящего изобретения. Здесь ссылочные позиции, начинающиеся с 700, даны для элементов, соответствующих элементам седьмого варианта осуществления на фиг.17. Здесь емкость 730 для воды установлена на поверхности внутреннего корпуса 711′ холодильной камеры 712.
Затем дозатор 720 установлен как раз перед емкостью 730 для воды. Боковая поверхность холодильной камеры 712, на которой установлены емкость 730 для воды и дозатор 720, является одной из частей, которые реже всего используются. В данном варианте осуществления вода, сливаемая через дозатор 720, всегда сохраняется при низкой температуре под влиянием температуры в холодильной камере 712.
Промышленная применимость
Хотя описано множество вариантов осуществления настоящего изобретения со ссылкой на указанные чертежи, в дополнение к указанным вариантам осуществления могут быть осуществлены другие варианты осуществления, в которых конфигурации, в том виде как описаны выше, по-разному комбинируются.
Например, можно рассмотреть конфигурацию, в которой любые из сквозных отверстий 238 и крепежных ребер 236 предусмотрены в емкости 230 для воды в третьем варианте осуществления. Также можно рассмотреть вариант осуществления, в котором насадка 235 дополнительно сформирована посредством литьевого формования без сквозных отверстий 238 и крепежных ребер 236, а другие части емкости 230 для воды сформированы посредством дутьевого формования. Кроме того, можно рассмотреть вариант осуществления, в котором емкость 230 для воды третьего варианта осуществления заменяется емкостью 30 или 130 для воды первого или второго варианта осуществления.
Кроме того, хотя фильтр 363 и клапан 365 установлены в двери 314 в четвертом варианте осуществления, фильтр может быть установлен в двери или основном корпусе холодильника в других вариантах осуществления.
Формула изобретения
1. Холодильник, содержащий основной корпус, образующий пространство для хранения, и дверь, выполненную с изолирующим слоем в ней и установленную на основном корпусе для селективного открытия и закрытия пространства для хранения, причем холодильник содержит: дозатор, включающий в себя корпус дозатора, установленный в вогнутую часть на передней поверхности двери и выдающий воду/лед наружу, причем задняя поверхность корпуса дозатора является изогнутой поверхностью; емкость для воды, установленную между облицовкой двери, образующей заднюю поверхность двери, и корпусом дозатора и размещенную с заданным зазором от каждого из них, причем емкость для воды хранит воду, подаваемую из внешнего источника подачи воды при заданной температуре, и, затем, подает воду в дозатор, при этом передняя поверхность емкости для воды является изогнутой поверхностью, соответствующей задней поверхности корпуса дозатора, таким образом, обеспечивая расположение передней поверхности емкости для воды на заданном расстоянии от задней поверхности корпуса дозатора; и нагреватель, установленный рядом с емкостью для воды и селективно генерирующий тепло.
2. Холодильник по п.1, дополнительно содержащий датчик температуры для определения температуры воды, хранящейся в емкости для воды, причем датчик температуры предусмотрен на наружной поверхности емкости для воды.
3. Холодильник по п.2, в котором передняя поверхность двери дополнительно содержит электронное табло, на котором отображается температура воды в емкости для воды, определенная датчиком температуры.
4. Холодильник по п.2, в котором датчик температуры расположен в пазе для датчика, паз для датчика сформирован вогнутым на наружной поверхности емкости для воды.
5. Холодильник по п.4, в котором паз для датчика выполнен в положении, обращенным к пространству для хранения, когда емкость для воды установлена во внутреннюю часть двери.
6. Холодильник по п.1, в котором емкость для воды закреплена на опорном ребре и, таким образом, прикреплена к внутренней части двери, причем опорное ребро проходит от задней поверхности корпуса дозатора и сформировано на ней.
7. Холодильник по п.6, в котором емкость для воды выполнена с крепежным ребром в положении, соответствующем опорному ребру корпуса дозатора, и емкость для воды закреплена во внутренней части двери посредством закрепления крепежного ребра на опорном ребре.
8. Холодильник по п.1, в котором основной корпус емкости для воды выполнен со сквозным отверстием, через которое проходит жидкая пена, образующая изолирующий слой.
9. Холодильник по п.8, в котором множество сквозных отверстий выполнено в более тонких частях основного корпуса емкости.
10. Холодильник по п.1, в котором емкость для воды содержит основной корпус емкости, в котором хранится вода, горловину, сформированную как одно целое с основным корпусом емкости и имеющую относительно узкую площадь поперечного сечения потока, и насадку, установленную в горловину, выполненную посредством литьевого формования и соединенную со сливной трубкой дозатора, причем основной корпус емкости и горловина сформированы посредством дутьевого формования с насадкой, установленной в ней.
11. Холодильник по п.10, в котором площадь поперечного сечения потока насадки выполнена относительно более узкой, чем площадь поперечного сечения горловины.
12. Холодильник по п.1, в котором емкость для воды изогнута и имеет форму, соответствующую задней поверхности корпуса дозатора и, по меньшей мере, поверхности корпуса дозатора, расположенной рядом с ней, а также емкость для воды изогнута и сформирована таким образом, чтобы часть, выходящая из задней поверхности корпуса дозатора, располагалась на заданном расстоянии от корпуса дозатора.
13. Холодильник по п.12, в котором емкость для воды изогнута и имеет такую форму, чтобы находиться на заданном расстоянии от задней поверхности и нижней поверхности корпуса дозатора, а также установлена во внутренней части двери.
14. Холодильник по п.1, в котором нагреватель установлен на задней поверхности корпуса дозатора.
15. Холодильник по п.1 или 14, в котором нагреватель селективно нагревает воду емкости для воды, таким образом, поддерживая воду при заданной температуре, и нагревает поверхность корпуса дозатора, таким образом, предотвращая обледенение.
16. Холодильник по п.1, в котором в изолирующем слое двери дополнительно сформирована клапанная камера для открытия в пространство для хранения основного корпуса холодильника, причем клапанная камера содержит клапан для управления подачей воды из внешнего источника подачи воды и фильтр для очистки воды.
17. Холодильник по п.16, в котором клапанная камера селективно закрывается крышкой камеры.
18. Холодильник по п.1, в котором емкость для воды установлена во внутреннюю часть двери, соответствующую задней части дозатора, и емкость для воды закрывается открываемой и закрываемой крышкой, таким образом, является свободной от влияния холодного воздуха в пространстве для хранения.
19. Холодильник по п.18, в котором крышка выполнена с изолирующим слоем крышки.
20. Холодильник, содержащий основной корпус, выполненный с пространством для хранения, и дверь, выполненную с изолирующим слоем в ней и закрепленную на основном корпусе для селективного открытия и закрытия пространства для хранения, причем холодильник содержит: дозатор, включающий в себя корпус дозатора, установленный в вогнутую часть передней поверхности двери, и выдающий воду/лед наружу, причем из задней поверхности корпуса дозатора выступает опорное ребро, сформированное на ней; емкость для воды, установленную между облицовкой двери, образующей заднюю поверхность двери, и корпусом дозатора и расположенную с заданным зазором от каждого из них, причем емкость для воды хранит воду, подаваемую из внешнего источника подачи воды при заданной температуре, и, затем, подает воду в дозатор, при этом на емкости для воды в положении, соответствующем опорному ребру, сформировано крепежное ребро, и емкость для воды закреплена во внутренней части двери таким образом, что находится на заданном расстоянии от облицовки двери посредством взаимодействия опорного ребра корпуса дозатора и крепежного ребра друг с другом; и фильтр для очистки воды, подаваемой из внешнего источника подачи воды, и подачи воды в емкость для воды.
21. Холодильник по п.20, в котором основной корпус емкости для воды сформирован со сквозным отверстием, через которое проходит жидкая пена.
22. Холодильник по п.21, в котором множество сквозных отверстий выполнено в более тонких частях основного корпуса емкости.
23. Холодильник по п.21, в котором емкость для воды содержит основной корпус емкости, в котором хранится вода, горловину, выполненную как одно целое с основным корпусом емкости и имеющую относительно узкую площадь поперечного сечения потока, и насадку, установленную в горловине, выполненную посредством литьевого формования и соединенную со сливной трубкой дозатора, причем основной корпус емкости и горловина сформированы посредством дутьевого формования с насадкой, установленной в ней.
24. Холодильник по п.21, в котором площадь поперечного сечения потока насадки сформирована относительно более узкой, чем площадь поперечного сечения горловины.
25. Холодильник по п.23, в котором емкость для воды изогнута и имеет форму, соответствующую задней поверхности корпуса дозатора и, по меньшей мере, поверхности корпуса дозатора, расположенной рядом с ней, а также емкость для воды изогнута и имеет такую форму, чтобы часть, выходящая из задней поверхности корпуса дозатора, располагалась на заданном расстоянии от корпуса дозатора.
26. Холодильник по п.25, в котором емкость для воды изогнута и имеет такую форму, чтобы находиться на заданном расстоянии от задней поверхности и нижней поверхности корпуса дозатора, а также установлена во внутренней части двери.
27. Холодильник по п.24, в котором в изолирующем слое двери дополнительно сформирована клапанная камера для открытия в пространство для хранения основного корпуса холодильника, причем клапанная камера содержит клапан для управления подачей воды из внешнего источника подачи воды и фильтр для очистки воды.
28. Холодильник по п.27, в котором клапанная камера селективно закрывается крышкой камеры.
29. Холодильник по п.20, в котором емкость для воды установлена во внутреннюю часть двери, соответствующую задней части дозатора, и закрывается открываемой и закрываемой крышкой и, таким образом, свободна от влияния холодного воздуха в пространстве для хранения.
30. Холодильник по п.29, в котором крышка выполнена с изолирующим слоем.
31. Холодильник, содержащий основной корпус, выполненный с пространством для хранения, и дверь, выполненную с изолирующим слоем в ней и закрепленную на основном корпусе для селективного открытия и закрытия пространства для хранения, причем холодильник содержит дозатор, включающий в себя корпус дозатора, установленный в вогнутой части передней поверхности двери, и выдающий воду/лед наружу; и емкость, установленную в изолирующем слое между облицовкой двери, образующую заднюю поверхность двери, и корпусом дозатора, сформированную посредством расположения трубки в форме многократного зигзага, хранящую воду, подаваемую из внешнего источника подачи воды при заданной температуре, и подающую воду в дозатор.
32. Холодильник по п.31, в котором емкость образована посредством расположения трубки в форме зигзага, причем трубка сформирована как одно целое с трубой подачи, соединенной с внешним источником подачи, причем трубка непосредственно соединена со сливной трубкой, через которую вода сливается из дозатора.
33. Холодильник по п.31, в котором емкость образована посредством расположения трубки в форме зигзага, причем трубка сформирована отдельно от трубы подачи, соединенной с внешним источником подачи, и непосредственно соединена со сливной трубкой, через которую вода сливается из дозатора.
34. Холодильник по п.32 или 33, в котором емкость закреплена на опорном ребре, которое выходит из задней поверхности корпуса дозатора и сформировано на ней.
35. Холодильник, содержащий основной корпус, выполненный с пространством для хранения, и дверь, выполненную с изолирующим слоем в ней и закрепленную на основном корпусе для селективного открытия и закрытия пространства для хранения, причем холодильник содержит: дозатор, включающий в себя корпус дозатора, установленный в вогнутую часть передней поверхности двери, и выдающий воду/лед наружу; емкость для воды, установленную между облицовкой двери, образующей заднюю поверхность двери, и корпусом дозатора и расположенную с заданным зазором от каждого из них, причем емкость для воды хранит воду, подаваемую из внешнего источника подачи воды при заданной температуре, и затем подает воду в дозатор; датчик температуры, установленный на стороне емкости для воды и определяющий температуру в емкости для воды; и нагреватель, работающий в соответствии с температурой в емкости для воды, определяемой датчиком температуры, причем нагреватель генерирует тепло, когда определяемая температура ниже заданной температуры, и отключается, когда определяемая температура выше заданной температуры, таким образом, сохраняя температуру емкости для воды при заданном значении.
36. Способ изготовления двери холодильника с дозатором, в котором пространство для хранения основного корпуса холодильника открывается и закрывается дверью, и внешний вид холодильника определяется наружной дверью и облицовкой двери, причем дозатор установлен в двери, так что дозатор открыт к наружной двери, и изолирующий слой установлен между наружной дверью и облицовкой двери для того, чтобы облицовка двери находилась на заданном расстоянии от емкости для воды для подачи воды в дозатор, причем согласно способу прикрепляют крепежное ребро емкости для воды к опорному ребру, сформированному на корпусе дозатора, установленного в наружной двери; наносят жидкую пену на заднюю поверхность наружной двери, когда емкость для воды закреплена; и закрывают заднюю поверхность наружной двери, на которую нанесена жидкая пена облицовкой двери, и наполняют жидкую пену между облицовкой двери и наружной дверью.
37. Холодильник с дозатором, содержащий: основной корпус холодильника, выполненный с пространством для хранения, образованным внутренним и наружным корпусами с изолирующим слоем, размещенным между ними, причем указанное пространство для хранения разделено на холодильную и морозильную смежные камеры с помощью перегородки с изолирующим слоем, образованном в ней; емкость для воды, установленную в изолирующем слое перегородки, для хранения воды, подаваемой из источника подачи воды; и дозатор, установленный в пространстве для хранения, на передней стороне емкости для воды для подачи воды, подаваемой из емкости для воды.
38. Холодильник с дозатором, содержащий: основной корпус холодильника, выполненный с пространством для хранения, образованным внутренним и наружным корпусами с изолирующим слоем, выполненным между ними; емкость для воды, установленную на поверхности внутреннего корпуса, образующего внутреннюю поверхность холодильной камеры пространства для хранения, для хранения воды, подаваемой из источника подачи воды; и дозатор, установленный в пространстве для хранения, на передней стороне емкости для воды для подачи воды, подаваемой из емкости для воды.
РИСУНКИ
|
|