|
|
(21), (22) Заявка: 2006119145/12, 07.12.2004
(24) Дата начала отсчета срока действия патента:
07.12.2004
(30) Конвенционный приоритет:
15.12.2003 DE 10358734.9
(43) Дата публикации заявки: 27.01.2008
(46) Опубликовано: 10.06.2009
(56) Список документов, цитированных в отчете о поиске:
FR 2101020 А, 31.03.1972. KR 0136407 В, 07.01.1998. СА 19961786 А1, 05.07.2001. US 6231146 В1, 15.05.2001. RU 2213308 C2, 27.09.2003.
(85) Дата перевода заявки PCT на национальную фазу:
17.07.2006
(86) Заявка PCT:
EP 2004/053314 20041207
(87) Публикация PCT:
WO 2005/057107 20050623
Адрес для переписки:
191186, Санкт-Петербург, а/я 230, “АРС-ПАТЕНТ”, пат.пов. В.М.Рыбакову, рег. 90
|
(72) Автор(ы):
БЕКЕ Кристоф (DE)
(73) Патентообладатель(и):
БСХ БОШ УНД СИМЕНС ХАУСГЕРЕТЕ ГМБХ (DE)
|
(54) ХОЛОДИЛЬНЫЙ АППАРАТ С ЕМКОСТЬЮ, ЗАКРЫВАЕМОЙ СКОЛЬЗЯЩИМИ ДВЕРЦАМИ
(57) Реферат:
Холодильный аппарат, во внутренней полости которого расположен, по меньшей мере, один закрываемый контейнер для хранения охлаждаемых продуктов. Контейнер имеет, по меньшей мере, одну раздвижную дверцу, причем, по меньшей мере, одна раздвижная дверца образует, по меньшей мере частично, лицевую стенку и закрывающую контейнер сверху крышку. Использование данного изобретения позволяет обслуживать холодильный аппарат, имеющий простую конструкцию, одной рукой. 2 н. и 6 з.п. ф-лы, 2 ил.
Область техники
Настоящее изобретение относится к холодильному аппарату, в частности к домашнему холодильнику, во внутренней полости которого расположен, по меньшей мере, один закрываемый контейнер для хранения охлаждаемых продуктов, например продуктов питания.
Уровень техники
Примером подобного контейнера может служить масленка в холодильнике. В распространенных в настоящее время бытовых холодильниках масленки имеют откидывающиеся вверх крышки, которые, если их оставить открытыми, падают обратно. Поэтому пользователь при закладке или извлечении продуктов должен пользоваться обеими руками, одной – для того чтобы придерживать крышку в поднятом положении, а другой – для действий с охлаждаемыми продуктами. Это особенно неудобно в том случае, когда пользователь хочет заложить в контейнер несколько продуктов подряд.
Поэтому в патентном документе DE 10208040 А1 предлагается оснастить шарнир, соединяющий откидную крышку с контейнером, эластичными фиксаторами, позволяющими застопорить крышку в открытом положении.
Раскрытие изобретения
В основу настоящего изобретения положена задача создать холодильный аппарат упомянутого типа с закрываемым контейнером, который можно обслуживать одной рукой, и в то же время имеющим простую конструкцию.
Эта задача решается холодильным аппаратом согласно п.1 и контейнером по п.9 формулы изобретения. Зависимые пункты относятся к предпочтительным вариантам реализации.
Согласно этому предлагается холодильный аппарат, например домашний холодильник, по меньшей мере, с одним расположенным во внутренней полости холодильного аппарата контейнером для хранения охлаждаемых продуктов, например продуктов питания. При этом контейнер имеет, по меньшей мере, одну раздвижную дверцу.
Преимущество этого состоит в том, что контейнер с раздвижной дверцей можно обслуживать одной рукой. После открытия раздвижная дверца остается в открытом положении, так что в контейнер можно положить несколько предметов подряд, пользуясь только одной рукой, что в распространенных в настоящее время контейнерах с откидными крышками, как правило, невозможно. Кроме того, контейнер с раздвижной дверцей имеет более простую конструкцию, что делает возможным удешевление его изготовления.
Предпочтительно эта, по меньшей мере, одна раздвижная дверца образует, по меньшей мере, частично боковую стенку и крышку, закрывающую контейнер сверху. Это обеспечивает оптимальный доступ к находящимся в контейнере охлаждаемым продуктам. Если же раздвижная дверца выполнена хотя бы частично прозрачной, то содержимое контейнера можно видеть непосредственно.
В предлагаемом в изобретении холодильном аппарате контейнер предпочтительно оснащается несколькими, например, двумя раздвижными дверцами, которые можно надвигать друг на друга.
Внутренняя полость контейнера может быть разделена на отсеки одной или несколькими перегородками, причем каждому отсеку соответствует раздвижная дверца. Это позволяет хранить охлаждаемые продукты в контейнере отдельно друг от друга. Перегородка разделяет внутреннюю полость контейнера предпочтительно на два одинаковых отсека. При этом можно предусмотреть для отдельных отсеков раздвижные дверцы одинакового размера, которые для открытия отсека могут надвигаться друг на друга. В особенности предпочтительной является такая форма исполнения, при которой перегородка делит внутреннюю полость контейнера на две половины, и каждой половине соответствует одна передвигаемая в горизонтальном направлении дверца, образующая переднюю стенку и крышку соответствующей половины контейнера.
Предпочтительно в предлагаемом в изобретении холодильном аппарате контейнер размещается на внутренней стороне двери холодильного аппарата. Контейнер крепится к внутренней стороне двери аппарата, например с помощью фиксаторов, и предпочтительно выполняется съемным. Контейнер может иметь, например, углубления, сцепляющиеся с соответствующими выступами на двери холодильного аппарата.
Предметом изобретения является также контейнер, предпочтительно масленка для холодильного аппарата, причем контейнер обладает перечисленными выше признаками.
Предлагаемый в изобретении холодильный аппарат предпочтительно представляет собой холодильный аппарат типа домашнего холодильника, в котором контейнер служит, например, масленкой.
Краткий перечень фигур чертежей
Другие варианты исполнения и преимущества предлагаемого изобретения описываются ниже на примере одной из форм реализации предлагаемого изобретения. При этом чертежи изображают:
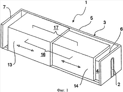
фиг.1 – вид в перспективе закрываемого раздвижными дверцами 13, 14 контейнера 1 для холодильного аппарата;
фиг.2 – продольный разрез контейнера 1 с фиг.1.
Осуществление изобретения
На фиг.1 изображен контейнер 1 холодильного аппарата в перспективе согласно предлагаемому изобретению. Таким холодильным аппаратом может быть, например, домашний холодильник. Сам холодильный аппарат в данном случае не изображен. На фиг.2 представлен продольный разрез контейнера по фиг.1. Контейнер 1 расположен во внутренней полости холодильного аппарата. В случае домашнего холодильника контейнер 1 может служить, например, масленкой, которая, как правило, крепится на внутренней стороне двери холодильного аппарата. Для этого контейнер 1 имеет с боков открытые снизу углубления 2, которые надеваются на соответствующие выступы на внутренней стороне двери холодильного аппарата для фиксации контейнера 1. И наоборот, выступы могут быть предусмотрены на контейнере 1, а углубления на двери холодильного аппарата. Возможны и другие средства для съемного прикрепления контейнера 1 к двери холодильного аппарата.
Контейнер 1 имеет основной корпус 3 с днищем 4 и тремя стенками. Стенка, расположенная с задней стороны, которая, как правило, обращена к внутренней стороне двери холодильного аппарата, образует заднюю стенку 5. К ней примыкают правая боковая стенка 6 и левая боковая стенка 7. На наружных сторонах боковых стенок 6 и 7 находятся углубления 2. Расположенная посредине перегородка 9, которая также является частью основного корпуса 3, делит внутреннюю полость контейнера в данном случае на два одинаковых отсека 10 и 11. Основной корпус 3 выполняется, как правильно, неразъемным. Он может быть изготовлен, например, из пластмассы методом литья под давлением.
Далее, в состав контейнера 1 входит крышка 17 и передняя стенка 16. Они образованы двумя надвигающимися друг на друга дверцами 13 и 14, с помощью которых можно закрывать и открывать отсеки 10 и 11. При этом каждому отсеку 10 и соответственно 11 соответствует раздвижная дверца 13 и соответственно 14. Обе раздвижные дверцы 13 и 14 образуют в разрезе L-образный профиль, так как каждая из раздвижных дверец 13 и 14 образует, как часть передней стенки 16, так и часть крышки 17 контейнера 1. Это обеспечивает оптимальный доступ к находящимся в контейнере 1 охлаждаемым продуктам. В днище 4 и в задней стенке 5, например, расположены два неизображенные параллельные паза, в которые соответственно входят свободные кромки L-профиля раздвижных дверец 13 или 14. Благодаря этому раздвижные дверцы 13 и 14 могут перемещаться по горизонтали и надвигаться друг на друга настолько, что один из отсеков 10, 11 в зависимости от положения раздвижных дверец 13 и 14 может быть полностью открыт. Как особенно хорошо видно на фиг.2, раздвижные дверцы 13 и 14 расположены со смещением одна позади другой.
Благодаря L-образной форме достаточна незначительная упругая деформация раздвижной дверцы 13 или 14, чтобы вытащить одну из ее свободных кромок из соответствующего паза и демонтировать раздвижную дверцу 13 или 14. При этом внутренность контейнера 1 становится доступной, например, для чистки.
Формула изобретения
1. Холодильный аппарат, во внутренней полости которого расположен, по меньшей мере, один закрываемый контейнер (1) для хранения охлаждаемых продуктов, отличающийся тем, что контейнер (1) имеет, по меньшей мере, одну раздвижную дверцу (13, 14), причем, по меньшей мере, одна раздвижная дверца (13, 14) образует, по меньшей мере, частично лицевую стенку (16) и закрывающую контейнер (1) сверху крышку (17).
2. Холодильный аппарат по п.1, отличающийся тем, что, по меньшей мере, одна раздвижная дверца (13, 14), по меньшей мере, частично прозрачна.
3. Холодильный аппарат по п.1 или 2, отличающийся тем, что содержит, по меньшей мере, две надвигающиеся друг на друга раздвижные дверцы (13, 14).
4. Холодильный аппарат по п.1, отличающийся тем, что внутренняя полость контейнера разделена перегородкой (9) на два отсека (10, 11), причем каждому отсеку (10, 11) соответствует раздвижная дверца (13, 14).
5. Холодильный аппарат по п.1, отличающийся тем, что внутренняя полость контейнера делится перегородкой (9) на два приблизительно одинаковых отсека (10, 11).
6. Холодильный аппарат по одному из пп.1 и 2, 5, отличающийся тем, что контейнер (1) расположен на внутренней стороне двери холодильного аппарата.
7. Холодильный аппарат по п.6, отличающийся тем, что контейнер (1) имеет крепежные средства (2), например средства фиксации (2) для съемной установки контейнера (1) на внутренней стороне двери холодильного аппарата.
8. Контейнер (1) для холодильного аппарата с признаками по одному из предшествующих пп.1-7.
РИСУНКИ
|
|