|
|
(21), (22) Заявка: 2007132542/06, 29.08.2007
(24) Дата начала отсчета срока действия патента:
29.08.2007
(46) Опубликовано: 10.06.2009
(56) Список документов, цитированных в отчете о поиске:
RU 2300049 С1, 19.12.2005. RU 2079684 С1, 20.05.1997. SU 1765610 А1, 30.09.1992. SU 31448 А, 31.08.1933. SU 1038694 А, 30.08.1983. SU 1513301 А, 07.10.1989. RU 2135889 С1, 27.08.1999. US 4644905 А, 24.02.1987.
Адрес для переписки:
141400, Московская обл., г. Химки, ул. Ватутина, 1, кв.36, С.П. Малышенко
|
(72) Автор(ы):
Грязнов Александр Никифорович (RU), Малышенко Станислав Петрович (RU)
(73) Патентообладатель(и):
Объединенный Институт высоких температур Российской академии наук (RU), Грязнов Александр Никифорович (RU), Малышенко Станислав Петрович (RU)
|
(54) ВОДОРОДНЫЙ ВЫСОКОТЕМПЕРАТУРНЫЙ ПАРОГЕНЕРАТОР С КОМБИНИРОВАННЫМ ИСПАРИТЕЛЬНЫМ ОХЛАЖДЕНИЕМ КАМЕРЫ СМЕШЕНИЯ
(57) Реферат:
Изобретение предназначено для выработки пара и может быть использовано в парогенераторах. Парогенератор с комбинированным испарительным охлаждением камеры смешения работает на химическом топливе с добавлением балластировочной воды, имеет электрическое воспламенение, содержит камеру сгорания с системой охлаждения и промежуточным соплом, камеру смешения с магистралью для подачи балластировочной воды и выходным соплом, а также подводящие магистрали для подачи химического топлива и балластировочной воды. В камере смешения установлен цилиндрический пористый вкладыш, обеспечивающий комбинированное испарительное охлаждение камеры смешения, смачивание которого обеспечивают орошением балластировочной водой, поступающей из системы охлаждения камеры сгорания и магистрали для подачи балластировочной воды в камеру смешения. Изобретение обеспечивает эффективное охлаждение камеры смешения, увеличивает температуру и давление генерируемого пара. 3 з.п. ф-лы, 1 ил.
Изобретение относится к силовым установкам паротурбинного типа, а именно парогенераторам, использующим в качестве горючего водород.
Одной из проблем при создании парогенераторов (особенно малогабаритных) является охлаждение камеры смешения. Малый расход балластировочной воды и необходимость центрирования промежуточного сопла специальными механическими приспособлениями (например, пилонами), разрывающими сплошную пелену воды, выходящую из тракта охлаждения промежуточного сопла, могут привести к тому, что на стенку камеры испарения вероятно попадание высокотемпературных «языков» газового потока, что отрицательно сказывается на надежности и эффективности работы парогенератора. Это вызывает необходимость разработки специальных средств для обеспечения надежного охлаждения камеры смешения, например, посредством испарительного охлаждения.
Известны парогенераторы, работающие на химическом топливе кислород (окислитель) – водород (горючее), камера сгорания и промежуточное сопло которых охлаждается балластировочной водой, см. патенты РФ 2079684, 2300049, опубликованную заявку 2005139564. Известно использование транспирационного (испарительного) охлаждения рабочих элементов силовых установок газодинамического принципа действия, например, из патента РФ на изобретение 2171388.
Использование испарительного охлаждения в силовых установках известно также из опубликованных японских заявок JP 11293320 (F25D 7/00), JP 2005169182 (F22B 1/18), JP 1098866 (F25B 33/00), JP 1023001 (F22B 1/06), патентов США US 5222361 (F02K 9/78), US 5970702, US 5956937, US 5715673, US 5709077, US 5135184.
Парогенератор, раскрытый в патенте РФ 2079684 (МПК F02C 3/30, F01K 21/04, F02K 9/64), включает в себя форкамеру, коллектор горючего и окислителя, водоохлаждаемую камеру сгорания и камеру смешения, разделенные устройством подачи балластировочного компонента (воды). В форкамере смонтировано электрозапальное устройство, содержащее свечу зажигания и магистрали подачи горючего и окислителя. Корпус камеры сгорания имеет тракт охлаждения, вода подается по каналам и затем сбрасывается в камеру смешения. Часть воды подается вдоль корпуса камеры смешения и за счет испарения активно его охлаждает.
За прототип может быть принято решение по патенту РФ 2300049, согласно которому парогенератор работает на химическом топливе кислород-водород с добавлением балластировочной воды и электрическим воспламенением. Узел зажигания и камера смешения объединены в единый узел воспламенительной форкамеры и смесительной головки с обеспечением подачи балластировочной воды наружного охлаждения камеры сгорания под углом к направлению потока продуктов сгорания, истекающих из промежуточного сопла, разделяющего камеру сгорания и смешения, при этом балластировочная вода подается под углом к потоку продуктов сгорания при заданном масштабе смешения. Выход струи продуктов сгорания в камеру смешения осуществлен по принципу внезапного расширения для обеспечения требуемого уровня равномерности поля температур при подаче всего расхода балластировочной воды в одном поясе, что, в свою очередь, реализует охлаждение камеры сгорания полным расходом балластировочной воды. В результате реализуется более эффективная схема организации рабочего процесса, снижены тепловые потери, уменьшена протяженность высокотемпературной зоны агрегата, обеспечено практически равномерное поле температур генерируемого пара.
В известных парогенераторах, работающих на химическом топливе кислород – водород, использующих в качестве балластировочного компонента для снижения температуры генерируемого рабочего тела воду, которой также производится охлаждение камеры сгорания, камера смешения, как правило, выполнена неохлаждаемой, что ограничивает верхний уровень температуры генерируемого рабочего тела термостойкостью конструкционного материала камеры смешения. В то же время повышение температуры генерируемого рабочего тела позволило бы увеличить КПД паросиловой установки, но это возможно лишь в том случае, если организовать активное охлаждение камеры смешения при одновременном уменьшении расхода балластировочной воды.
Однако организация традиционных способов охлаждения, таких как внешнее (проточное) или внутреннее (завесное), для камер сгорания и смешения парогенераторов весьма проблематична из-за необходимости в этих случаях использования больших расходов балластировочного компонента (воды) на эти виды охлаждения, что при попадании большого количества охлаждающей воды в объем камеры смешения обусловливает заметное снижение уровня температуры и давления генерируемого пара и, следовательно, снижение КПД устройства в целом. При этом расходы воды, необходимые для указанных выше способов охлаждения, вследствие малых габаритов изделия, т.е. малой величины отношения поверхности теплообмена к массе рабочих компонентов, будут относительно велики, а следовательно, снижение КПД значительно.
Данный недостаток устраняется настоящим изобретением, задачей которого является организация более эффективного внутреннего охлаждения камеры смешения таким малым расходом воды, добавка которого к расходу воды из тракта охлаждения камеры сгорания практически не приведет к снижению КПД.
В основу положено дополнительное внутреннее охлаждение камеры смешения частью балластировочной воды, подаваемой через пористую стенку, и организация эффективного испарения капель воды, поступающей из тракта охлаждения камеры сгорания в камеру испарения непосредственно на стенке. Для этого в камеру смешения устанавливается цилиндрический пористый вкладыш, изготовленный из пористого материала (любого известного, пригодного для данных целей, например, используемого для транспирационного охлаждения). Цилиндрический пористый вкладыш устанавливается либо без зазора между внутренней поверхностью камеры смешения и пористым материалом, либо с зазором. Пористый вкладыш обеспечивает эффективное осаждение на стенку капелек воды, поступающей из тракта охлаждения камеры сгорания в камеру испарения, и их испарение непосредственно на поверхности пористого вкладыша, что обеспечивает более эффективное охлаждение внутренней поверхности камеры смешения. Дополнительное охлаждение камеры смешения может быть обеспечено при наличии зазора между пористым вкладышем и внутренней поверхностью камеры смешения за счет подачи воды через, по меньшей мере, одну магистраль (канал) в стенке камеры смешения в зазор, образующий коллектор, и через поры, создавая тонкую пленку, равномерно распределенную по всей охлаждаемой поверхности (эффект «потения»).
В отличие от прототипа, где камера смешения выполнена неохлаждаемой, предлагаемая конструкция парогенератора с комбинированным испарительным охлаждением камеры смешения обеспечивает работу парогенератора при более высокой температуре и давлении рабочего тела, что, в конечном счете, дает возможность повысить КПД паросиловой установки в целом.
Предложенный водородный высокотемпературный парогенератор с комбинированным испарительным охлаждением камеры смешения работает на химическом топливе с добавлением балластировочной воды, имеет электрическое воспламенение, содержит камеру сгорания с системой охлаждения и промежуточным соплом, камеру смешения с магистралью для подачи балластировочной воды и выходным соплом, а также подводящие магистрали для подачи химического топлива и балластировочной воды. При этом в камере смешения установлен цилиндрический пористый вкладыш, обеспечивающий комбинированное испарительное охлаждение камеры смешения, смачивание которого обеспечивают орошением балластировочной водой, поступающей из системы охлаждения камеры сгорания и магистрали для подачи балластировочной воды в камеру смешения.
По одному из вариантов цилиндрический пористый вкладыш для обеспечения комбинированного испарительного охлаждения может быть установлен в камере смешения с радиальным зазором между внешней поверхностью вкладыша и внутренней стенкой камеры смешения, образующим собой коллектор, при этом магистраль подачи балластировочной воды в камеру смешения содержит, по меньшей мере, один канал для подачи балластировочной воды на цилиндрический пористый вкладыш.
По другому варианту цилиндрический пористый вкладыш может непосредственно примыкать к внутренней стенке камеры смешения, в этом случае желательно обеспечить равномерное смачивание поверхности вкладыша, для этого в стенке камеры смешения может быть выполнен ряд отверстий для подачи балластировочной воды.
Цилиндрический пористый вкладыш, как правило, выполняют с размером пор 10-100 мкм из материала, хорошо смачиваемого водой.
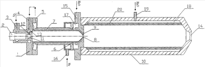
Изобретение поясняется чертежом, на котором схематично изображен вариант выполнения водородного высокотемпературного парогенератора, содержащего: объединенный узел зажигания и смесительной головки 1; запальную свечу 2; магистраль 3 подвода окислителя (кислород O2); магистраль 4 подвода горючего (водород H2) в смесительную головку; магистраль 5 отвода горючего из тракта охлаждения цилиндрической части камеры сгорания; отверстия 6 для поступления горючего из коллектора в тракт охлаждения; тракт 7 охлаждения цилиндрической части камеры сгорания; промежуточное сопло 8; тракт 9 охлаждения промежуточного сопла 8; камеру смешения 10; подсвечной канал 11; отверстия 12 для подачи горючего в подсвечной канал; струйные форсунки 13 для подачи горючего в камеру сгорания; выходное сопло 14; магистраль 15 подвода балластировочной воды (Н2О) в тракт охлаждения промежуточного сопла; магистраль 16 подвода горючего в коллектор охлаждающего тракта цилиндрической части камеры сгорания; коллектор 17 балластировочной воды; коллектор воды 18 охлаждения камеры смешения 10; магистраль 19 подачи воды в коллектор воды охлаждения камеры смешения 10; цилиндрический пористый вкладыш 20.
Данный водородный высокотемпературный парогенератор работает следующим образом.
Окислитель из магистрали 3 поступает к торцевой части электрической запальной свечи 2, где инициируется электрическим зарядом на свече, и далее поступает в подсвечной канал. Горючее из магистрали 16 попадает в коллектор, а из него через отверстия 6 в тракт 7 охлаждения цилиндрической части камеры сгорания, охлаждает ее и через магистрали 5 и 4 подается в смесительную головку 1. Меньшая часть горючего через отверстия 12 подается в подсвечной канал 11, где воспламеняется с инициированным окислителем, образуя окислительный запальный факел, который истекает в камеру сгорания. Большая часть горючего через форсунки 13 подается в камеру сгорания, где перемешивается с окислительным запальным факелом и сгорает при стехиометрическом соотношении компонентов. Образующийся высокотемпературный водяной пар истекает из промежуточного сопла 8 в камеру смешения 10. Небольшая часть балластировочной воды через магистраль 19 подается в коллектор 18, а из него через пористую стенку цилиндрического вкладыша 20 проходит внутрь камеры смешения, образуя тонкую пленку, защищающую стенку камеры смешения от перегрева.
Величина радиального зазора (d) коллектора 18 определяется потребным расходом балластировочной воды и может составлять от 0 до 0,1 D, где D – диаметр камеры смешения 10. В случае d=0 смачивание системы осуществляется за счет поглощения капель, попадающих при распылении охлаждающей воды струей продуктов сгорания, истекающей из промежуточного сопла.
Температура в камере сгорания составляет 3600 К (3327°С), в камере смешения, как правило, от 400 до 1200 К (127-927°С) при давлении от 1 до 50 атм (1-50 МПа). В качестве материала для камеры смешения может быть использована жаропрочная сталь с толщиной стенок 5 мм. Размеры пор, как правило, выбираются 10-100 мкм.
Предложенное изобретение не ограничивается приведенной выше конструкцией водородного высокотемпературного парогенератора с камерой смешения, имеющей комбинированное испарительное охлаждение посредством установки цилиндрического пористого вкладыша. Техническое решение обеспечивает эффективное охлаждение камеры смешения, дает возможность повысить температуру и давление генерируемого пара, а следовательно, увеличить значение КПД паросиловой установки в целом.
Формула изобретения
1. Водородный высокотемпературный парогенератор с комбинированным испарительным охлаждением камеры смешения, работающий на химическом топливе с добавлением балластировочной воды, имеющий электрическое воспламенение, содержащий камеру сгорания с системой охлаждения и промежуточным соплом, камеру смешения с магистралью для подачи балластировочной воды и выходным соплом, а также подводящие магистрали для подачи химического топлива и балластировочной воды, при этом в камере смешения установлен цилиндрический пористый вкладыш, обеспечивающий комбинированное испарительное охлаждение камеры смешения, смачивание которого обеспечивают орошением балластировочной водой, поступающей из системы охлаждения камеры сгорания и магистрали для подачи балластировочной воды в камеру смешения.
2. Парогенератор по п.1, отличающийся тем, что цилиндрический пористый вкладыш для обеспечения комбинированного испарительного охлаждения установлен в камере смешения с радиальным зазором между внешней поверхностью вкладыша и внутренней стенкой камеры смешения, образующим собой коллектор, при этом магистраль подачи балластировочной воды в камеру смешения содержит, по меньшей мере, один канал для подачи балластировочной воды на цилиндрический пористый вкладыш.
3. Парогенератор по п.1, отличающийся тем, что цилиндрический пористый вкладыш непосредственно примыкает к внутренней стенке камеры смешения.
4. Парогенератор по п.1, отличающийся тем, что цилиндрический пористый вкладыш имеет размер пор 10-100 мкм.
РИСУНКИ
|
|