|
|
(21), (22) Заявка: 2008106575/06, 19.02.2008
(24) Дата начала отсчета срока действия патента:
19.02.2008
(30) Конвенционный приоритет:
20.02.2007 FR 0701193
(46) Опубликовано: 10.06.2009
(56) Список документов, цитированных в отчете о поиске:
RU 2146027 C1, 27.02.2000. RU 2037736 C1, 19.06.1995. SU 1214982 A, 28.02.1986. ЕР 0779468 А, 18.06.1997.
Адрес для переписки:
103735, Москва, ул. Ильинка, 5/2, ООО “Союзпатент”, пат.пов. С.Б.Фелицыной, рег. 303
|
(72) Автор(ы):
ГРЮЗОН Бертран (FR)
(73) Патентообладатель(и):
СЕРАК ГРУП (FR)
|
(54) СПОСОБ И УСТРОЙСТВО ДЛЯ РЕГУЛИРОВАНИЯ ДАВЛЕНИЯ В РЕЗЕРВУАРЕ, СОДЕРЖАЩЕМ ЖИДКОСТЬ
(57) Реферат:
Изобретение относится к способу и устройству для регулирования давления в резервуаре, содержащем жидкость, поверх которого находится газ, создающий повышенное давление. Способ включает стадии подачи в резервуар газа с заданным расходом и корректирования расхода выпускаемого газа в зависимости от отклонения давления газа от предварительно заданной величины давления. Устройство для регулирования давления в резервуаре, снабженном отверстием для подачи газа и отверстием для выпуска газа, содержит элемент -средство для корректирования разности между расходом подачи газа и расходом выпуска. Техническим результатом изобретения является точное и плавное регулирование давления в питающем резервуаре. 2 н. и 8 з.п. ф-лы, 1 ил.
Настоящее изобретение относится к способу и устройству для регулирования давления в резервуаре, содержащем жидкость, в частности, но не обязательно, в питающем резервуаре установки, предназначенной для заправки приемных емкостей с весовой дозировкой.
Уровень техники
Известны установки для заполнения с весовой дозировкой приемных емкостей, содержащие наливные патрубки, соединенные с придонной частью общего питающего резервуара. Когда питающий резервуар находится под действием атмосферного давления, давление на дне резервуара определяется высотой уровня жидкости в этом резервуаре. Чтобы обеспечить подходящий расход жидкости, вытекающей через большое количество наливных патрубков, и в то же время использовать питающий резервуар, который обладает приемлемыми размерами, в резервуаре необходимо создавать давление путем нагнетания сжатого воздуха в объем над уровнем жидкости.
Для того чтобы обеспечить точное дозирование, осуществляемое с помощью дозирующего устройства, желательно, кроме того, чтобы давление на входе в наливной патрубок было по возможности постоянным. С этой целью в питающем резервуаре обычно поддерживают постоянный уровень жидкости, а давление сжатого воздуха над жидкостью непрерывно регулируют в зависимости от величины предварительно заданного давления (уставки).
В существующих устройствах такое регулирование давления воздуха над жидкостью осуществляют с помощью сервоклапана, входное отверстие которого соединено с источником воздуха под давлением, выходное отверстие подсоединено к питающему резервуару, а выпускное отверстие (для стравливания воздуха) соединено с атмосферой. Сервоклапан, кроме того, снабжен регулирующим соединительным элементом, служащим или для закрытия выходного отверстия, или для сообщения входного отверстия с выходным отверстием, или же для сообщения выходного отверстия с выпускным отверстием. Давление воздуха в питающем резервуаре регулируется, таким образом, рывками, что создает опасность перехода к нагнетанию жидкости.
Задача изобретения
Задача изобретения заключается в том, чтобы обеспечить способ и устройство, позволяющие точно и плавно регулировать давление в питающем резервуаре.
Сущность изобретения
Для решения этой задачи изобретение обеспечивает способ регулирования давления в резервуаре, содержащем жидкость, поверх которой находится газ, создающий повышенное давление, резервуар снабжен отверстием для подачи газа и отверстием для выпуска (стравливания) газа, при этом предлагаемый способ включает стадии подачи в резервуар газа с заданным расходом и корректирования расхода выпускаемого газа в зависимости от разности величин давления газа и предварительно заданного давления.
Таким образом, давление в резервуаре является функцией разности между расходом подачи газа и расходом выпуска газа, так, что корректирование расхода выпускаемого газа позволяет при желании непрерывно менять давление газа внутри резервуара.
В соответствии с другим аспектом изобретения обеспечивается устройство для регулирования давления в резервуаре, содержащем жидкость, при этом указанное устройство снабжено отверстием для подачи газа, отверстием для выпуска газа и корректирующим элементом, предназначенным для корректирования разности величин расходов подачи и выпуска газа.
В соответствии с подходящим воплощением изобретения корректирующий элемент представляет собой элемент клапана, побуждаемый к перемещению в направлении седла клапана, окружающего выпускное отверстие, под действием усилия, которое не зависит от положения упомянутого элемента клапана. Предпочтительно корректирующий элемент представляет собой элемент клапана, размещенный поверх седла, охватывающего выпускное отверстие.
В предпочтительном воплощении указанный элемент клапана соединен со средством регулирования, которое предпочтительно включает в себя магнитный сердечник, прикрепленный к элементу клапана и установленный с возможностью относительного скольжения внутри катушки индуктивности.
За счет соответствующего подвода электрической энергии к катушке индуктивности можно поддерживать элемент клапана во взвешенном состоянии между воздушной подушкой, образованной сжатым воздухом, проходящим между элементом клапана и отверстием для выпуска газа, и средствами магнитного поддерживания, которое определяется величиной тока, питающего катушку индуктивности.
Краткое описание чертежа
Другие особенности и преимущества изобретения очевидны из прочтения нижеследующего описания конкретного, не ограничивающего изобретение воплощения, представленного со ссылкой на чертеж, на котором представлена схема питающего резервуара, соединенного с наливными патрубками и оборудованного устройством для регулирования давления, соответствующим настоящему изобретению.
Подробное описание изобретения
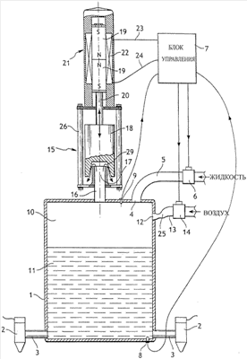
В соответствии с чертежом заправочная установка содержит питающий резервуар 1, имеющий наливные патрубки 2, из которых показаны только два, соединенные с резервуаром посредством труб 3, которые открыты в нижнюю часть питающего резервуара 1. Питающий резервуар 1, кроме того, снабжен отверстием 4 для подачи жидкости, соединенным с трубопроводом 5, в котором смонтирован клапан 6, регулируемый с помощью блока 7 управления, в зависимости от сигнала, полученного от датчика 8 полного давления, расположенного в нижней части резервуара, и датчика 9 давления газа, расположенного в верхней части резервуара в объеме газа 10, находящегося над жидкостью 11.
Резервуар известным образом снабжен отверстием 12 для подачи газа, соединенным с трубопроводом 13 подвода сжатого воздуха, оборудованным управляемым расширителем 14 проходного сечения, подключенным к блоку 7 управления.
В соответствии с изобретением питающий резервуар 1 соединен с устройством для корректирования давления, обозначенным на чертеже в целом позицией 15.
В конкретном воплощении, показанном на чертеже, устройство для корректирования давления включает трубу 16 для выпуска газа, расположенную вертикально, при этом нижний торец трубы 16 открыт в объем со сжатым газом 10 в питающем резервуаре 1. Верхний торец выпускной трубы 16 ограничивает выпускное отверстие 17 и образует седло для элемента клапана, представляющего собой груз 18, размещенный над седлом клапана и обращенный к нему передней поверхностью, при этом груз 18 снабжен выемкой 29, поверхность которой опирается сверху на седло клапана. Боковая поверхность выемки 29 предпочтительно выполнена в форме усеченного конуса так, что при перемещении элемента 18 клапана она позволяет выпускаемому газу выходить через выпускное отверстие 17, направляясь в сторону центра элемента 18 клапана.
Верхняя часть элемента 18 клапана связана со штоком 20, соединяющим клапан со средством регулирования, обозначенным на чертеже в целом позицией 21. В представленном осуществлении средство 21 регулирования включает в себя магнитный сердечник, состоящий из двух постоянных магнитов 19, перемещаемых с генерированием магнитного потока, коаксиального катушке 22, которая охватывает постоянные магниты 19. Катушка 22 смонтирована на стационарной конструкции 26, которая жестко закреплена к выпускной трубе 16. Постоянные магниты 19 предпочтительно установлены так, что их одноименные полюса обращены друг к другу. Верхний конец катушки 22 подключен к блоку управления посредством соединительного электрического провода 23, а противоположный конец катушки подключен к блоку управления посредством соединительного электрического провода 24.
Трубопровод 13 подачи сжатого газа, кроме того, снабжен калиброванным отверстием 25, которое обеспечивает подачу в резервуар 1 газа под давлением с точной заданной величиной расхода, которая является функцией давления, установленного с помощью указанного расширителя 14 проходного сечения.
Когда установка начинает работать, в питающий резервуар 1 заливают жидкость для заполнения до тех пор, пока она не достигнет в резервуаре некоторого уровня, который поддерживается известным способом постоянным за счет регулирования клапана 6 по сигналам, поступающим от датчика 8 давления. Затем к катушке подводят постоянный ток (ПТ), протекающий в надлежащем направлении, с тем, чтобы результирующая сила магнитного поля, действующая на постоянные магниты 19, прибавлялась к весу элемента 18 клапана и прижимала его к седлу, окружающему выпускное отверстие 17.
Воздух под давлением добавляется через отверстие 12 для подачи газа, и, когда давление в объеме 10 возрастает, сила электрического тока, питающего катушку 22, корректируется с помощью блока 7 управления в зависимости от информации о величине давления, которую предоставляет датчик 8 давления газа, для того, чтобы скорректировать расход газа, стравливаемого через выпускное отверстие 17, в зависимости от отклонения давления газа от предварительно заданной величины давления, введенной и хранимой в блоке 7 управления.
Уровень жидкости продолжают поддерживать постоянным посредством регулирования клапана 6 в зависимости от разности сигналов, поступающих от датчиков 8 и 9 давления.
В том случае, если электрическая энергия к катушке 22 не подводится, сила, приложенная к элементу клапана, не зависит от его положения и является функцией общего веса груза 18 и соединенных с ним постоянных магнитов 19. В предпочтительном воплощении устройства груз 18 и соединенные с ним постоянные магниты имеют такие размеры, что при равенстве давления внутри объема 10 резервуара 1 предварительно заданному давлению суммарный вес элемента клапана и соединенных с ним элементов уравновешивает давление, обусловленное действием расхода, с которым газ протекает через выпускное отверстие 17, при отсутствии необходимости подвода к катушке 22 электрической энергии. Это минимизирует степень нагревания катушки 22 и, кроме того, минимизирует потребление электрической энергии. Катушка 22 и магнитный сердечник при этом предпочтительно занимают положение, показанное на чертеже, при котором средняя плоскость, проходящая между обращенными друг к другу полюсами постоянных магнитов, совпадает с плоскостью, проходящей через половину высоты катушки. Когда давление внутри объема 10 изменяется, магнитный сердечник смещается относительно этого положения. После этого к катушке подводится электрическая энергия с током, протекающим в направлении, подходящем для изменения расхода газа через выпускное отверстие 17 таким образом, чтобы скорректировать существующее отклонение давления газа от предварительно заданной величины давления. Поскольку магнитные потоки от постоянных магнитов 19 направлены в противоположные стороны, один из постоянных магнитов находится под действием тягового усилия, в то время как на другой постоянный магнит действует сила магнитного отталкивания, в результате чего к магнитному сердечнику приложена сила, которая в два раза превышает силу, которая могла бы быть создана при использовании магнитного сердечника, содержащего единственный постоянный магнит, проходящий сквозь сердечник. Кроме того, следует отметить, что, задавая малые перемещения, производимые при регулировании давления с помощью элемента клапана, в такой конструкции можно обеспечить действие на элемент клапана возвращающей силы, которая не зависит от его положения.
В том случае, когда желательно полностью опорожнить питающий резервуар 1, контроль над поддержанием уровня жидкости в нем прерывают, и предварительно заданное давление газа для объема 10 постепенно увеличивают с тем, чтобы компенсировать уменьшение высоты уровня жидкости в этом резервуаре.
Настоящее изобретение, конечно же, не ограничивается описанным выше воплощением, и другие различные воплощения могут быть использованы без выхода за пределы объема изобретения, ограниченного пунктами формулы изобретения.
В частности, описанное устройство может быть выполнено с одним единственным постоянным магнитом, или даже без использования какого-либо постоянного магнита. При отсутствии постоянного магнита положение сердечника внутри катушки определяется, следовательно, только величиной тока, подводимого к катушке. В этом случае предпочтительно, чтобы сердечник был короче, чем катушка с тем, чтобы положение сердечника в катушке обеспечивало значительную магнитную силу, действующую на сердечник в дополнение к силе, обусловленной весом груза 18, или действующую в противоположном направлении. Изобретение также может быть реализовано с использованием нескольких катушек, которые питаются током независимо друг от друга, чтобы на магнитный сердечник могла действовать соответствующая подходящая сила. Катушка 22, кроме того, может быть заменена некоторым другим элементом, создающим магнитное притяжение, таким, как намагниченное кольцо, соединенное с приводным элементом, регулирование которого осуществляется с помощью блока 7 управления.
Для того чтобы учесть особенности некоторых других конструкций установки, датчик полного давления может быть установлен не в днище питающего резервуара, а в другом месте. В частности, когда наливные патрубки 2 подсоединены к резервуару не непосредственно, а через коллектор, датчик 8 предпочтительно устанавливать на этом коллекторе с тем, чтобы измеренное датчиком полное давление учитывало потери напора в трубопроводе, соединяющем коллектор с резервуаром 1.
Регулирование с помощью магнитного устройства может быть заменено регулированием посредством пневматического или гидравлического привода, который также обеспечивает возвратное усилие, которое не зависит от положения элемента клапана, в отличие от возвратной пружины, для которой эта сила изменяется в зависимости от степени сжатия или растяжения пружины.
Для более быстрого проведения начала или конца рабочего цикла можно обеспечить корректирование расхода подводимого газа в зависимости от величины отклонения давления от предварительно заданного давления за счет использования калиброванного отверстия переменного размера или путем изменения давления подводимого газа с помощью регулируемого расширителя 14 проходного сечения.
Формула изобретения
1. Способ регулирования давления в резервуаре, содержащем жидкость, поверх которой находится газ, создающий повышенное давление, и снабженном отверстием для подвода газа и отверстием для выпуска газа, при этом способ включает стадии подачи в резервуар газа с заданным расходом и корректирования расхода выпускаемого газа в зависимости от отклонения давления газа от предварительно заданной величины давления.
2. Способ регулирования давления по п.1, включающий, кроме того, стадию корректирования расхода подводимого газа в зависимости от отклонения давления газа от предварительно заданной величины давления.
3. Устройство для регулирования давления в резервуаре, снабженном отверстием для подачи газа и отверстием для выпуска газа, при этом устройство содержит элемент клапана, средство для корректирования разности между расходом подачи газа и расходом выпуска.
4. Устройство для регулирования давления по п.3, содержащее элемент клапана, расположенный обращенным в сторону отверстия для выпуска газа и соединенный со средством регулирования, создающим силовое воздействие на элемент клапана, которое не зависит от его положения.
5. Устройство для регулирования давления по п.3, в котором корректирующий элемент включает в себя элемент клапана, расположенный поверх седла клапана, окружающего выпускное отверстие для газа.
6. Устройство для регулирования давления по п.5, в котором элемент клапана соединен со средством регулирования.
7. Устройство для регулирования давления по п.6, в котором средство регулирования включает магнитный сердечник, прикрепленный к элементу клапана и соединенный с элементом, создающим магнитное притяжение.
8. Устройство для регулирования давления по п.3, в котором магнитный сердечник включает, по меньшей мере, один постоянный магнит, магнитное поле которого коаксиально элементу, создающему магнитное притяжение.
9. Устройство для регулирования давления по п.3, содержащее два постоянных магнита, одноименные полюса которых обращены друг к другу.
10. Устройство для регулирования давления по п.9, в котором элемент, создающий магнитное притяжение, представляет собой катушку, а элемент клапана и соединенный с ним магнитный сердечник имеют такие размеры, что при отсутствии электрического тока и давлении внутри резервуара, равного предварительно заданной величине давления, сердечник находится в положении, при котором плоскость, проходящая через середину сердечника, совпадает с плоскостью, проходящей через середину высоты катушки.
РИСУНКИ
|
|