|
|
(21), (22) Заявка: 2007141891/11, 12.11.2007
(24) Дата начала отсчета срока действия патента:
12.11.2007
(30) Конвенционный приоритет:
13.11.2006 FR 0609903
(46) Опубликовано: 10.06.2009
(56) Список документов, цитированных в отчете о поиске:
FR 2608242 А1, 17.06.1988. WO 2004040164 А2, 13.05.2004. US 6655509 В2, 02.12.2003. SU 55366 А1, 31.07.1939.
Адрес для переписки:
103735, Москва, ул. Ильинка, 5/2, ООО “Союзпатент”, пат.пов. Ю.В.Пинчуку, рег. 656
|
(72) Автор(ы):
ЛААРГУ Андре (FR), БРЮН Марк (FR)
(73) Патентообладатель(и):
МЕССЬЕ-ДОВТИ СА (FR)
|
(54) ТЕЛЕСКОПИЧЕСКИЙ ЭЛЕМЕНТ С ПРЕОДОЛЕВАЕМЫМ ВНУТРЕННИМ УПОРОМ
(57) Реферат:
Изобретение относится к телескопическим элементам. Телескопический элемент содержит цилиндр, в котором шток с поршнем установлен с возможностью телескопического скольжения. Средство внутреннего упора преодолевается при превышении заданного усилия, когда шток упирается в него внутри цилиндра в направлении сокращения. Средство внутреннего упора содержит деталь упора, продолжающуюся в открытое отверстие внутри штока и выступающую из него. Деталь упора удерживается на штоке с помощью шпильки. Достигается упрощение конструкции. 3 з.п. ф-лы, 1 ил.
Область техники, к которой относится изобретение
Изобретение относится к телескопическому элементу с преодолеваемым внутренним упором
Уровень техники
Известны различные телескопические элементы, в которых убранное положение определяется внутренним упором, например устройство силового привода или амортизаторы шасси для летательного аппарата.
В конкретном случае амортизаторов часто необходимо определить упор при сокращении длины амортизатора, поскольку такие амортизаторы также используются для убирания шасси, при этом внутренний упор определяет убранное положение шасси.
Тем не менее, в случае жесткой посадки рабочий ход, определяемый упором, может быть короче, чем рабочий ход, требуемый для поглощения энергии при посадке.
Известны телескопические элементы, которые имеют преодолеваемый упор. В частности, известно использование детали упора, расположенной на конце амортизатора, при этом шток амортизатора упирается в нее при достижении положения упора. Когда шток прижимается с силой, превышающей заданное пороговое значение, деталь упора отводится, в результате чего шток получает возможность дополнительного перемещения за пределы его убранного положения.
Тем не менее, такие детали упора имеют сложную форму, которая обеспечивает возможность отвода, и в связи с распределенным производством очень трудно обеспечить соответствие пороговому значению выгибания ее отвода.
Раскрытие изобретения
Цель изобретения состоит в создании телескопического элемента с преодолеваемым упором простого типа.
Для достижения этой цели в изобретении предусмотрен телескопический элемент, содержащий цилиндр, в котором шток, на котором установлен поршень, установлен с возможностью телескопического скольжения, при этом телескопический элемент включает в себя средство внутреннего упора, преодолеваемое при превышении заданного усилия, когда шток упирается в него внутри цилиндра в направлении сокращения. В соответствии с изобретением средство внутреннего упора содержит деталь упора, продолжающуюся в открытое отверстие внутри штока и выступающую из него, при этом деталь упора удерживается на штоке с помощью шпильки.
Таким образом, когда шток упирается в упор в направлении сокращения с силой, превышающей пороговое значение среза шпильки, шпилька высвобождается, и деталь упора выталкивается в отверстие штока, обеспечивая, таким образом, возможность дополнительного перемещения штока в направлении укорачивания. Силу, приводящую к срезу шпильки, можно легко контролировать, в результате чего такая сила будет намного лучше определена, чем в деталях упора предшествующего уровня техники.
Краткое описание чертежей
Эти и другие аспекты изобретения будут более понятны в свете единственного прилагаемого чертежа, на котором представлен вид в разрезе амортизатора в конкретном варианте выполнения изобретения, в котором воплощена функция выдвижения/втягивания и который показан в выдвинутом положении.
Осуществление изобретения
Иллюстрируемое здесь изобретение направлено на амортизатор, используемый для основного шасси вертолета, такого типа, в котором содержится качающаяся балка, закрепленная шарнирно непосредственно на фюзеляже вертолета, при этом описанный здесь амортизатор предназначен для шарнирной установки между качающейся балкой и точкой шарнирной подвески на фюзеляже.
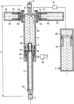
Амортизатор содержит основной цилиндр 1, в котором установлен шток 2 с возможностью телескопического скольжения. С этой целью в штоке 2 установлен уплотнительный поршень 3, который скользит внутри основного цилиндра 1 и который образует в нем кольцевую камеру 4 (прерываемую штоком 2) и непрерываемую камеру 5, заполненную гидравлической жидкостью, образующей запас гидравлической жидкости. На концах основного цилиндра 1 и штока 2 установлены тяги 6, 7 для шарнирного соединения амортизатора с фюзеляжем на одном конце и с качающейся балкой шасси на другом конце.
Амортизатор имеет первый вспомогательный цилиндр 10, жестко закрепленный на основном цилиндре, например, как показано на чертеже, с помощью крепления винтами, с проложенной между ними уплотнительной прокладкой, ближе к оконечной тяге 6 основного цилиндра 1. Первый вспомогательный цилиндр 10 продолжается в направлении, по существу, перпендикулярном продольной оси основного цилиндра 1. Первый поршень 11 установлен с возможностью скольжения с уплотнением в первом вспомогательном цилиндре 10 и разделяет его внутреннее пространство на первую пневматическую камеру 12, заполненную газом под давлением, и первую камеру 13 с жидкостью, сообщающуюся с непрерываемой камерой 5 основного цилиндра 1 через первый элемент 14 дроссельного клапана.
Амортизатор имеет второй вспомогательный цилиндр 20, жестко закрепленный на основном цилиндре, например, как показано на чертеже, с помощью крепления винтами, с установкой между ними уплотнительной прокладки, в непосредственной близости к концевой тяге 6 основного цилиндра 1. Второй вспомогательный цилиндр 20 продолжается с другой стороны основного цилиндра 1, по существу, на той же оси, что и первый вспомогательный цилиндр 10. Второй поршень 21 установлен с возможностью скольжения с уплотнением внутри второго вспомогательного цилиндра 20 так, что он разделяет его внутреннее пространство на вторую пневматическую камеру 22, заполненную газом под давлением, и вторую камеру 23 с жидкостью, которая сообщается с непрерываемой камерой 5 основного цилиндра 1 через второй элемент 24 дроссельного клапана.
Элементы 14 и 24 дроссельного клапана хорошо известны для специалистов в данной области техники, и поэтому они здесь подробно не описаны.
Соединение для потока жидкости между непрерываемой камерой 5 и вспомогательными цилиндрами 10 и 20 в данном примере выполнено настолько просто, насколько возможно, поскольку вспомогательные цилиндры непосредственно сообщаются с непрерываемой камерой 5 через элементы 14, 24 дроссельного клапана, расположенные во входных отверстиях во вспомогательные цилиндры, что позволяет исключить лишние трубопроводы.
Первая пневматическая камера 12 накачана до первого давления, в то время как вторая пневматическая камера 22 накачана до второго давления, которое больше, чем первое давление. Обычно первая пневматическая камера 12 накачана до 20 бар, в то время как вторая пневматическая камера 22 накачана до 80 бар.
Во время посадки амортизатор работает следующим образом. Под действием силы привода от качающейся балки, которая стремится укоротить амортизатор, шток 2 вталкивается в основной цилиндр 1, выдавливая, таким образом, гидравлическую жидкость, содержащуюся в непрерываемой камере 5, так, что она протекает через первый и второй элементы 14, 24 дроссельного клапана, заполняя первую и вторую камеры 13, 23 гидравлической жидкостью, выталкивая обратно, таким образом, первый и второй поршни 11, 21, которые сжимают газ, содержащийся в первой и второй пневматических камерах 12, 22.
В нормальных условиях кольцевая камера 4 соединена через первый управляемый клапан 30 с запасом гидравлической жидкости или гидравлическим резервуаром летательного аппарата (не показан) обычно под давлением приблизительно 5 бар, в результате чего кольцевая камера 4 последовательно заполняется гидравлической жидкостью по мере того, как шток 2 вталкивают внутрь, что устраняет кавитацию.
Когда вертолет взлетает, газ под давлением, находящийся в пневматических камерах 12, 22, выталкивает обратно гидравлическую жидкость, содержащуюся в камерах 13 и 23 для жидкости, через элементы 14 и 24 дроссельного клапана в направлении непрерываемой камеры 5, выталкивая, таким образом, шток 2 в направлении его выдвинутого положения. Гидравлическая жидкость, содержащаяся в кольцевой камере 4, выталкивается обратно в источник гидравлической жидкости, содержащийся под давлением летательного аппарата.
Поскольку пневматические камеры, таким образом, расположены рядом с основным цилиндром, амортизатор в результате имеет длину L в выдвинутом положении, которая, в частности, является компактной.
В конкретном аспекте изобретения амортизатор разработан так, что он обеспечивает возможность втягивания качающейся балки для снижения ее аэродинамического сопротивления во время полета. С этой целью управляемое сокращение амортизатора организовано следующим образом. Гидравлическую жидкость под высоким давлением (обычно 206 бар) впрыскивают в кольцевую камеру 4 через первый управляемый клапан 30, в результате чего шток 2 убирается в основной цилиндр 1. Одновременно второй управляемый клапан 31 обеспечивает возможность соединения непрерываемой камеры 5 так, что она сообщается с баллоном 40 таким образом, что гидравлическая жидкость, содержащаяся в непрерываемой камере 5, может быть удалена в упомянутый баллон 40. Гидравлическая жидкость, поступающая в баллон 40, выталкивает обратно поршень 41, установленный с возможностью скольжения в баллоне 40, который, в свою очередь, выталкивает обратно гидравлическую жидкость, присутствующую под поршнем 41, в направлении источника жидкости летательного аппарата. При этом можно видеть, что гидравлическая жидкость из непрерываемой камеры 5 не смешивается с гидравлической жидкостью летательного аппарата. Когда шток 2 примыкает к оконечной стенке основного цилиндра 1, первый управляемый клапан 30 закрывают таким образом, что гидравлическая жидкость, присутствующая в кольцевой камере 4, удерживается, будучи захваченной в ней, что предотвращает удлинение амортизатора.
Можно видеть, что во время такого втягивания, не происходит накачивание пневматических камер 12 и 22, поскольку давление в них выше, чем давление в баллоне 40 (по существу, такое же, как давление в резервуаре, то есть, 5 бар), в результате чего гидравлическая жидкость, предпочтительно, поступает в баллон 40.
Для обеспечения возврата амортизатора в его выдвинутое положение достаточно открыть первый управляемый клапан 30 для перевода кольцевой камеры 4 в состояние, в котором она сообщается с источником жидкости летательного аппарата, и одновременно открыть второй управляемый клапан 31, если он был закрыт.По существу, одинаковое давление затем присутствует с обеих сторон поршня 3, и из-за разности в поперечном сечении между кольцевой камерой 4 и непрерываемой камерой 5 шток выдвигается наружу, и амортизатор удлиняется до тех пор, пока он не возвратится в положение, показанное на чертеже.
В соответствии с изобретением амортизатор выполнен с возможностью дополнительного удлинения в случае особенно жесткой посадки. С этой целью шток 2 включает в себя полое отверстие, выходящее на сторону поршня 3, при этом в отверстие штока 2 устанавливается деталь 50 упора, так что она выступает из штока 2. Деталь 50 упора удерживается на штоке с помощью шпильки 51. Деталь 50 упора имеет оконечную стенку, и уплотнительная прокладка 52 расположена между штоком 2 и деталью 50 упора, обеспечивая, таким образом, изоляцию отверстия в штоке от непрерываемой камеры 5.
Когда амортизатор используют для того, чтобы убрать шасси, деталь 50 упора примыкает к оконечной стенке 53 основного цилиндра 1, определяя в результате втянутое положение амортизатора. Когда амортизатор используется для демпфирования ударов при подсадке, деталь 50 упора обычно не входит в контакт с оконечностью 53 основного цилиндра 1. Однако во время некоторых жестких посадок деталь 50 упора не только может войти в контакт с оконечной стенкой 53, но энергия, которую требуется поглотить, может быть такой, что такой контакт будет не достаточным для того, чтобы остановить сокращение амортизатора. В соответствии с изобретением шпилька 51 выполнена таким образом, что происходит ее срез в случае превышения заданного порогового значения силы с целью, прежде всего, поглощения части избыточной энергии при посадке в результате разрыва шпильки 51, а также для обеспечения возможности дополнительного движения штока 2 в основном цилиндре 1 с дополнительной накачкой пневматических камер 12, 22, что также способствует поглощению другой части избыточной энергии при посадке.
При разрыве шпильки во время ее среза деталь 50 упора проталкивается в направлении к донной части отверстия в штоке 2, в результате чего деталь 50 упора больше не взаимодействует с уплотнительной прокладкой 52. Гидравлическая жидкость, содержащаяся в непрерываемой камере 5, затем может (медленно) протекать между элементом 52 упора и стенкой отверстия в штоке 2, вытекая через выпускное отверстие 54, расположенное в донной части штока, что способствует снижению высокого давления, присутствующего в амортизаторе в результате избыточной его накачки.
Можно видеть, что в нормальных условиях наличие выпускного отверстия 54 вызывает риск сообщения кольцевой камеры 4 с внешним воздухом. Для исключения какого-либо смешивания воздуха с гидравлической жидкостью летательного аппарата между цилиндром 1 и штоком 2 установлен с уплотнением плавающий поршень 55 так, что подача гидравлической жидкости через первый управляемый клапан 30 происходит ниже плавающего поршня 55, в то время как воздух, поступающий через выпускное отверстие 54, может заполнять только пространство между плавающим поршнем 55 и поршнем 3 штока 2. При этом отсутствует риск загрязнения гидравлической жидкости летательного аппарата внешним воздухом.
Изобретение не ограничивается приведенным выше описанием, но наоборот, охватывает любые варианты в пределах объема, определенного формулой изобретения.
В частности, хотя изобретение представлено здесь в отношении амортизатора, используемого для основного шасси вертолета такого типа, который включает в себя качающуюся балку, непосредственно шарнирно установленную на фюзеляже вертолета, представленный здесь амортизатор шарнирно установлен между качающейся балкой и точкой шарнирной подвески на фюзеляже, изобретение не ограничивается шасси этого типа; например, его вполне также можно применять для шасси непосредственного типа, в котором подкос формирует основной цилиндр 1, и колесо (колеса) установлено непосредственно на штоке 2.
Хотя вспомогательные цилиндры показаны закрепленными непосредственно на основном цилиндре, в результате чего элементы дроссельного клапана расположены во входном отверстии вспомогательных цилиндров, вспомогательные цилиндры могут быть расположены в другом месте. Например, они могут быть закреплены по бокам основного цилиндра параллельно ему, при этом вспомогательные цилиндры соединяются с основным цилиндром через соединения для потока жидкости, например, с использованием жестких труб. Также возможно закрепить вспомогательные цилиндры в колесной нише летательного аппарата, но при этом на летательном аппарате потребуется предусмотреть дополнительные средства соединения. В таких условиях необходимо предусмотреть соединения для потока жидкости с гибким шлангом или шлангом, который способен работать в условиях движений амортизатора относительно шланга. Во всех таких случаях предпочтительно располагать элементы дроссельного клапана во входном отверстии соединения для потока жидкости, в результате чего такие соединения и вспомогательные цилиндры не подвергаются высокому давлению, присутствующему в непрерываемой камере 5 во время сокращения амортизатора.
Хотя настоящее описание относится к амортизатору, имеющему две пневматических камеры, естественно данное изобретение можно применять в амортизаторах, имеющих одну пневматическую камеру, или, наоборот, имеющих более чем две пневматические камеры.
Наконец, хотя конкретное расположение элемента 50 в отверстии штока 2 с фиксацией его с помощью шпильки иллюстрируется здесь для амортизатора, такое расположение, в общем случае, применимо для устройства любого типа, выполненного в виде телескопического цилиндра.
Формула изобретения
1. Телескопический элемент, содержащий цилиндр, в котором шток, на котором установлен поршень, установлен с возможностью телескопического скольжения, при этом телескопический элемент включает в себя средство внутреннего упора, преодолеваемое при превышении заданного усилия, когда шток упирается в него внутри цилиндра в направлении сокращения, в котором средство внутреннего упора содержит деталь упора, продолжающуюся в открытое отверстие внутри штока и выступающую из него, при этом деталь упора удерживается на штоке с помощью шпильки.
2. Элемент по п.1, в котором деталь упора содержит концевую стенку, причем уплотнительная прокладка расположена между штоком и деталью упора для изоляции отверстия штока от непрерываемой камеры телескопического элемента, продолжающегося за пределы поршня.
3. Элемент по п.2, в котором шток включает в себя средство связи отверстия в штоке с окружающим воздухом.
4. Элемент по п.2, в котором в кольцевой камере телескопического элемента расположен плавающий поршень, продолжающийся между штоком и цилиндром для разделения участка кольцевой камеры, который сообщается с цепью гидравлической жидкости от участка кольцевой камеры, который продолжается между плавающим поршнем и поршнем штока.
РИСУНКИ
|
|