|
|
(21), (22) Заявка: 2007130584/06, 09.08.2007
(24) Дата начала отсчета срока действия патента:
09.08.2007
(46) Опубликовано: 10.06.2009
(56) Список документов, цитированных в отчете о поиске:
RU 2195582 С2, 20.06.2002. RU 2224911 С2, 27.02.2004. WO 03/044369 А1, 30.05.2003. DE 19614329 А1, 31.10.1996. JP 9112444 А, 02.05.1997.
Адрес для переписки:
607760, Нижегородская обл., г. Первомайск, ул. Мочалина, 2а, ОАО “ТРАНСПНЕВМАТИКА”
|
(72) Автор(ы):
Авдеев Александр Владимирович (RU), Галкин Александр Юрьевич (RU), Елькин Владимир Михайлович (RU), Охотников Виктор Григорьевич (RU), Шехмаметьев Рашит Равильевич (RU)
(73) Патентообладатель(и):
ОАО “ТРАНСПНЕВМАТИКА” (RU)
|
(54) ВАКУУМНЫЙ ПЛАСТИНЧАТО-РОТОРНЫЙ НАСОС
(57) Реферат:
Изобретение относится к машиностроению, в частности к роторным вакуумным насосам для автомобильных двигателей. Вакуумный пластинчато-роторный насос содержит цилиндрический корпус с рабочей полостью, торцевую крышку, прокладку, входной штуцер, ротор, размещенный на валу эксцентрично корпусу, по меньшей мере, с тремя пластинами, расположенными в радиальных пазах ротора с возможностью радиального и осевого перемещения. Пластины выполнены из материала с низким короблением. Периферийная часть пластин выполнена закругленной. На входном штуцере расположен отвод, установленный между входным штуцером и корпусом через две уплотнительные прокладки, имеющий возможность поворота относительно оси штуцера на 360°. На оси ротора и перпендикулярно этой оси выполнены центральный и боковые каналы, обеспечивающие равномерную смазку ротора и пластин маслом от масляной системы двигателя. Повышается долговечность, надежность, увеличивается КПД вакуумного насоса. 1 з.п. ф-лы, 4 ил.
Изобретение относится к машиностроению, в частности к роторным вакуумным насосам, которые можно использовать в автомобильной промышленности для создания вакуума в усилителях тормозного привода автомобиля, а также в гидравлических или пневматических системах.
Известен насос [RU 2224911 С2, 27.02.2004, F04C 2/344], содержащий статор, перемещаемый в статоре корпус, ротор с установленными в его пазах попарно внахлест шиберами с выступами и отверстиями. Одна пара шиберов имеет Т-образную форму, а остальные П-образную для пропуска выступов соседних шиберов. Шиберы выполнены ступенчатыми, на верхней части шиберов выполнены выемки, в которых размещены противовесы, жестко закрепленные на концах выступов. Парные шиберы установлены навстречу друг другу хвостовыми выступами, в шибере выполнено отверстие с продольным пазом, в которое вставляется стержень с закрепленным на нем уплотнительным элементом, имеющим в поперечном сечении, например, Т-образную форму, или на шибере закрепляется стержень, а на него надевается уплотнительный элемент, имеющий в поперечном сечении, например, прямоугольную форму с выступающими закраинами.
Недостатками представленного в качестве аналога насоса являются большое количество деталей, несопоставимое с решаемой задачей, и сложность изготовления деталей и насоса в целом.
В качестве прототипа выбран известный вакуумный пластинчато-роторный насос [RU 2195582 С2, 20.06.2002, F04C 2/344], содержащий, цилиндрический корпус с торцевыми крышками, с входным и выходным штуцерами, размещенный на валу эксцентрично корпусу ротор, включающий расположенные в радиальных пазах рабочие пластины, причем зазоры между соединениями насоса уплотнены рабочей жидкостью, отличающийся тем, что рабочей жидкостью является вода. Водой уплотнены зазоры между соединениями внутри насоса, а для подачи воды в насос и ее непрерывной циркуляции во время рабочего цикла в роторе выполнены торцевые кольцевые проточки, в одной из торцевых крышек корпуса расположены две взаимно перпендикулярные, связанные между собой полости, причем первая полость перпендикулярна оси вращения ротора, связана перепускным каналом с одной из кольцевых проточек ротора и в ней установлен регулировочный винт, а во второй полости помещен конец ниппеля для подачи воды от источника.
Недостатками представленного прототипа являются повышенный износ контактирующих поверхностей пластина – ротор, что обусловлено перекосом пластин в прорези ротора из-за одностороннего давления рабочего тела на всю поверхность передней грани пластины и материала пластины с высоким короблением и необходимостью дополнительной механической обработки. В результате эксплуатации насоса во внутренней полости образуются продукты износа пластины и ротора, которые, воздействуя на поверхность пластин, ротора и корпуса, производят унос материала, изменяя важные геометрические параметры деталей насоса. Износ по толщине пластин приводит к увеличению перекоса пластин в пазах ротора. Износ по длине пластин приводит к увеличению торцевого зазора между пластинами и поверхностями корпуса и крышки и, как следствие, к понижению КПД насоса. К недостаткам прототипа также можно отнести однофункциональность.
Задачей, на решение которой направлено данное изобретение, является повышение долговечности, надежности, увеличение КПД вакуумного насоса, а также введение дополнительной функции – создание вакуума в системе рециркуляции отработанных газов автомобиля.
Поставленная задача решается за счет того, что в вакуумном пластинчато-роторном насосе, содержащем цилиндрический корпус с рабочей полостью, торцевую крышку, прокладку, входной штуцер, ротор, размещенный на валу эксцентрично корпусу, по меньшей мере, с тремя пластинами, расположенными в радиальных пазах ротора с возможностью радиального и осевого перемещения, согласно изобретению пластины выполнены из материала с низким короблением, причем периферийная часть пластин выполнена закругленной, а на входном штуцере расположен отвод, установленный между входным штуцером и корпусом через две уплотнительные прокладки, имеющий возможность поворота относительно оси штуцера на 360°, на оси ротора и перпендикулярно этой оси выполнены центральный и боковые каналы, обеспечивающие равномерную смазку ротора и пластин маслом от масляной системы двигателя.
Кроме того, пластины выполнены из полимерного прессовочного материала.
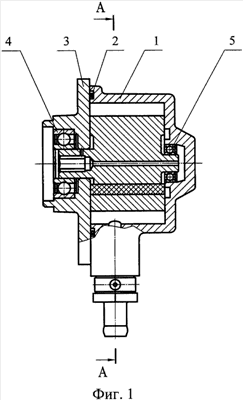
Сущность изобретения иллюстрируется следующими чертежами: на фиг.1 изображен общий вид насоса в разрезе, на фиг.2 – сечение А-А, на фиг.3 – сечение входного штуцера с отводом в увеличенном масштабе, на фиг.4 – общий вид насоса в разрезе в увеличенном масштабе.
Насос содержит цилиндрический корпус 1, прокладку 2, торцевую крышку 3 и установленный на подшипниках 4 и 5 эксцентрично корпусу ротор 6 с пластинами 7, выполненными из материала с низким коэффициентом корабления для выполнения функций пластин при различных температурных условиях, расположенными в пазах ротора по касательной к цилиндрической поверхности ротора на расстоянии, равном половине радиуса ротора. Между входным штуцером 8 и корпусом 1 через две уплотнительные прокладки 19 для герметизации расположен отвод 9 для рециркуляции отработанных газов автомобиля и поворотным корпусом 10 с возможностью поворота отвода вокруг оси входного штуцера на 360° для осуществления подхода к отводу со всех позиций. Ребра пластин закруглены радиусом для предотвращения излишнего трения с металлом корпуса. В качестве рабочей жидкости может быть использовано машинное масло, которым во время рабочего цикла уплотняются все зазоры между пластинами, ротором и корпусом. На оси ротора и перпендикулярно этой оси выполнены центральный 11 и боковой 12 каналы, обеспечивающие равномерную смазку ротора и пластин маслом от масляной системы двигателя через центральный и боковой каналы. На внутренней плоской поверхности корпуса и ротора выполнены кольцевые проточки 13 и 14 для подачи достаточного количества масла. Пластины 7 выполнены из полимерного прессовочного материала с низким коэффициентом температурного расширения.
Работа насоса осуществляется следующим образом. Перед запуском насоса масло из системы двигателя через отверстия 15, центральный 11 и боковой 12 каналы и кольцевые проточки 13 и 14 поступает на подшипники 4, 5 и во внутреннюю полость насоса 16. При включении насоса вращение от привода (не показан) передается ротору 6 с пластинами 7. Под действием центробежной силы пластины 7 и масло отбрасываются к внутренним стенкам корпуса 1, образуя на них тонкий слой и заполняя все зазоры между соединениями насоса. В процессе работы насоса масло поступает в насос постоянно и, пройдя через него, уносится потоком газа через выходной штуцер (не показан). При вращении ротора 6 пластины 7 прижимаются к стенкам корпуса 1, обеспечивая изменение объема рабочей камеры 16, образующейся поверхностями корпуса 1, ротора 6 и пластин 7. В начале цикла объем камеры 16 возрастает до максимального значения (в конце процесса всасывания), затем уменьшается, обеспечивая процесс сжатия газа до соответствующего давления нагнетания. Выхлоп газа вместе с использованным маслом осуществляется через выходной штуцер (не показан), а поступление газа в рабочую камеру 16 из откачиваемого объема (не показан) через входной штуцер 8. За один оборот ротора 6 совершаются три рабочих цикла. Во время работы насоса на отводе 9, связанном с входным штуцером 8, отверстиями 17 и кольцевой проточкой 18 создается разрежение того же порядка, что и на входе во входной штуцер 8. Отвод 9 с поворотным корпусом 10 установлен между корпусом 1 и входным штуцером 8 через уплотнительные прокладки 19 для предотвращения утекания масла вне устройства. Предлагаемое техническое устройство прошло испытания на дизельных двигателях семейства ЗМЗ-514 ОАО «ЗМЗ» и показало хорошие результаты в части основных технических характеристик.
Формула изобретения
1. Вакуумный пластинчато-роторный насос, содержащий цилиндрический корпус с рабочей полостью, торцевую крышку, прокладку, входной штуцер, ротор, размещенный на валу эксцентрично корпусу, по меньшей мере, с тремя пластинами, расположенными в радиальных пазах ротора с возможностью радиального и осевого перемещения, отличающийся тем, что пластины выполнены из материала с низким короблением, причем периферийная часть пластин выполнена закругленной, а на входном штуцере расположен отвод, установленный между входным штуцером и корпусом через две уплотнительные прокладки, имеющий возможность поворота относительно оси штуцера на 360°, на оси ротора и перпендикулярно этой оси выполнены центральный и боковые каналы, обеспечивающие равномерную смазку ротора и пластин маслом от масляной системы двигателя.
2. Насос по п.1, отличающийся тем, что пластины выполнены из полимерного прессовочного материала.
РИСУНКИ
|
|