|
|
(21), (22) Заявка: 2007128905/06, 30.07.2007
(24) Дата начала отсчета срока действия патента:
30.07.2007
(43) Дата публикации заявки: 10.02.2009
(46) Опубликовано: 10.06.2009
(56) Список документов, цитированных в отчете о поиске:
US 4018191 А, 19.04.1977. SU 1301987 А1, 07.04.1987. RU 2120042 С1, 10.10.1998. RU 2087729 С1, 20.08.1997. US 6250280 В1, 26.06.2001. US 6772728 В2, 10.08.2004.
Адрес для переписки:
142020, Московская обл., г. Домодедово, м/р Востряково, ул. Сосновая, 35/1, В.И.Муратову
|
(72) Автор(ы):
Муратов Василий Иванович (RU), Муратов Александр Васильевич (RU), Фарзалиев Назим Ганифа оглы (RU)
(73) Патентообладатель(и):
Муратов Василий Иванович (RU), Муратов Александр Васильевич (RU), Фарзалиев Назим Ганифа оглы (RU)
|
(54) РОТОРНО-ПОРШНЕВОЙ ДВИГАТЕЛЬ ВНУТРЕННЕГО СГОРАНИЯ
(57) Реферат:
Изобретение относится к области двигателестроения. Роторно-поршневой двигатель внутреннего сгорания содержит статор (наружный корпус), всасывающее и выхлопное отверстия на статоре для газообмена в камерах сгорания, боковые крышки статора, ротор, вал, систему зажигания и систему герметизации. В статоре отверстие выполнено сквозным, а по форме в виде эллипса. В отверстие статора встроен выполненный цилиндрическим ротор. В ротор встроены лопатки, выполненные с возможностью радиального возвратно-поступательного перемещения. Лопатки ротора делят отверстие статора на камеры с переменным объемом. Ротор посажен на неподвижную посадку на цилиндрический вал. Лопатки подпружинены, встроены в цилиндрический ротор равномерно по окружности и содержат на осях ролики на подшипниках, имеющие кинематическую связь с поверхностью замкнутого паза. Паз выполнен в виде эллипса в боковых крышках статора. Герметизация камер переменного объема обеспечивается встроенными в ротор, лопатки и боковые крышки статора уплотнительными элементами. Всасывающее отверстие выполнено в первой половине первой четверти статора. Система зажигания (свеча) для воспламенения рабочей смеси в камере выполнена в первой половине третьей четверти статора. Два выхлопных отверстия выполнены во второй половине четвертой четверти статора. Техническим результатом является упрощение кинематики и конструкции, улучшение динамики и повышение мощности двигателя. 4 ил.
Изобретение относится к области двигателестроения и может быть использовано во всех отраслях, где используются двигатели внутреннего сгорания.
Известны двигатели внутреннего сгорания, например поршневые, содержащие цилиндр, поршень, шатун, коленчатый вал, впускные и выпускные клапаны, корпус двигателя (см. учебник для студентов вузов по специальности «Двигатели внутреннего сгорания» /В.П.Алексеев, В.Ф.Воронин, Л.В.Грехов и др./ под общей редакцией А.С.Орлина и М.Г.Круглова – 4-е изд. переработанное и дополненное. – М.: Машиностроение, 1990, – 228 с. – С.5 и рис.1,а.) Недостатком известных поршневых двигателей является ограниченная агрегатная мощность, высокий уровень шума, относительно большая частота вращения коленчатого вала при пуске и сложность конструкции из-за наличия кривошипно-шатунного механизма, которая ограничивает частоту вращения особенно при значительных размерах двигателя и является причиной появления неуравновешенных сил инерции и моментов на него.
Известен роторный двигатель, патент RU 2241131 C1, кл. 7 F02C 5/04, дата публикации 27.11.2004. Роторный двигатель внутреннего сгорания состоит из неподвижного статора, ротора, камеры сгорания, канала вспрыска рабочего тела (топлива), лопатки, канала отвода продуктов горения.
Известный роторный двигатель внутреннего сгорания работает следующим образом.
Струя газа из камеры сгорания, как из ствола огнестрельного орудия ударяет по лопатке, заставляя вращаться ротор двигателя. Продукты сгорания через отверстие удаляются во внутреннюю полость ротора.
Недостатки двигателя следующие. Сложная система согласования положения лопатки ротора двигателя относительно камеры горения для вспрыска топлива в камеру, чтобы газовая струя топлива из камеры попала в лопатку. Сложная система зажигания для своевременного воспламенения топлива в камере сгорания. Сложная система герметизации камеры и полости с лопаткой на роторе. Все это в совокупности делает проблематичной реализацию данного двигателя на практике.
Известен роторно-поршневой двигатель внутреннего сгорания (прототип) Феликса Ванкеля (см. патент 1133943 класс, подкласс, группа 46а5 -10 фирмы Даймлер – Бенц ФРГ 1966 г. и патент 1137901 класс, подкласс, группа 46а5 -10 фирмы НСУ 1960, ФРГ и др.)
Двигатель Ванкеля состоит из статора (наружного корпуса), внутренняя поверхность которого выполнена по эпитрохоиде с впускными и выпускными окнами для газообмена и делится расположенным в нем трехвершинным ротором на три камеры с переменным объемом. Сам ротор расположен на валу, содержащем эксцентрик и установленном на подшипниках, расположенных в боковой крышке статора и в статоре. Статор и ротор имеют кинематическую связь, которая обеспечивается парой шестерен, одна из которых (зубчатое колесо) на роторе, а вторая (шестерня) на статоре (т.е. планетарная передача). Данная кинематическая связь позволяет обкатывать вершины ротора по эпитрохоиде статора.
Двигатель Ванкеля работает следующим образом. При вращении ротора зубчатое колесо, закрепленное на нем, как бы обкатывается вокруг шестерни, закрепленной на статоре, а вершины ротора при этом скользят по эпитрохоидной поверхности статора и отсекают переменные объемы камер в статоре. За полный оборот в трех камерах меняется их объем, а его вершинами при прохождении их через впускные и выпускные окна регулируется газообмен в камерах.
В результате в каждой из камер за один оборот ротора совершается полный четырехтактный цикл, а крутящий момент получается в результате действия газовых сил через трехвершинный ротор на эксцентрик вала.
Недостатки роторно-поршневого двигателя Ванкеля следующие: сложная траектория движения ротора (вращение и огибание вершинами ротора эпитрохоиды, т.е. планетарное движение ротора) и определила кинематику двигателя: с одной стороны своим зубчатым колесом ротор кинематически связан с неподвижной шестерней на статоре, а с другой – кинематически связан с эксцентриковым валом. Это усложнило конструкцию кинематики двигателя, ухудшило его динамику и потребовало надежной системы уравновешивания кинематики двигателя; эпитрохоидный контур имеет два участка с отрицательной кривизной, что ограничивает максимальные обороты (и соответственно мощность) из-за возможности потери радиальных уплотнений с эпитрохоидальной рабочей поверхностью статора.
Задачей изобретения является упрощение кинематики и конструкции двигателя, улучшение его динамики, повышение мощности.
Задача решена следующим образом. В статоре (наружный корпус) двигателя отверстие под ротор выполнено сквозным, а по форме в виде эллипса. Введена вторая боковая крышка статора. В само отверстие статора встроен выполненный цилиндрическим ротор, посаженный на неподвижную посадку на цилиндрический вал, установленный на подшипниках, расположенных в боковых крышках, сопряженных со статором. В цилиндрический ротор равномерно по окружности встроены подпружиненные лопатки, выполненные с возможностью радиального возвратно-поступательного перемещения, и содержат по бокам на осях ролики на подшипниках.
Ролики лопатки имеют кинематическую связь с поверхностью замкнутого паза, выполненного в виде эллипса на торцах боковых крышек статора, и ограничивают силу давления вершины лопаток на внутреннюю поверхность статора от центробежных сил и усилия пружин лопатки при вращении ротора, что позволит уменьшить ее износ.
Образующей замкнутого паза, выполненного в виде эллипса в боковых крышках статора, является траектория перемещения ролика лопатки при скольжении вершины лопатки по внутренней поверхности статора во время вращения ротора. Лопатки ротора делят отверстие статора на камеры с переменным объемом, герметизация которых обеспечивается встроенными в ротор лопатки и боковые крышки статора уплотнительными элементами. А всасывающее отверстие для заполнения камеры рабочей смесью, система зажигания (свеча) для воспламенения рабочей смеси в камере и выхлопные отверстия в статоре выполнены следующим образом. В первой четверти статора (если смотреть по часовой стрелке и ввести отсчет от вертикальной оси симметрии внутреннего отверстия статора, выполненного виде эллипса) и в первой ее половине выполнено всасывающее отверстие. Система зажигания (свеча) для воспламенения рабочей смеси в камере выполнена в третьей четверти статора в первой ее половине. А два выхлопных отверстия выполнены в четвертой четверти статора во второй ее половине.
Таким образом, роторно-поршневой двигатель внутреннего сгорания, содержащий статор (наружный корпус), всасывающее и выхлопное отверстия на статоре для газообмена в камерах сгорания, боковую крышку статора, ротор, вал, установленный на подшипниках, расположенных в боковых крышках статора, систему зажигания, в статоре отверстие выполнено сквозным, а по форме в виде эллипса и введена вторая боковая крышка статора, а в отверстие статора встроен выполненный цилиндрическим ротор, в который встроены лопатки, выполненные с возможностью радиального возвратно-поступательного перемещения, при этом лопатки ротора делят отверстие статора на камеры с переменным объемом, в статоре в первой его четверти (по направлению вращения ротора) выполнено всасывающее отверстие, система зажигания (свеча) для воспламенения рабочей смеси в камере выполнена в третьей четверти статора, а выхлопное отверстие в четвертой четверти статора, отличается тем, что двигатель содержит систему герметизации, ротор посажен на неподвижную посадку на цилиндрический вал, лопатки подпружинены, встроены в цилиндрический ротор равномерно по окружности и содержат на осях ролики на подшипниках, имеющие кинематическую связь с поверхностью замкнутого паза, выполненного в виде эллипса в боковых крышках статора, герметизация камер переменного объема обеспечивается встроенными в ротор, лопатки и боковые крышки статора уплотнительными элементами, а всасывающее отверстие выполнено в первой половине первой четверти статора, система зажигания (свеча) для воспламенения рабочей смеси в камере выполнена в первой половине третьей четверти статора, при этом выполнены два выхлопных отверстия во второй половине четвертой четверти статора.
Такое техническое решение позволило:
упростить кинематику и конструкцию двигателя, выполнить ротор в сборе с валом и лопатками конструктивно сбалансированным без дополнительных систем для уравновешивания ротора в сборе с валом и с лопатками. Это позволит улучшить динамику двигателя, увеличить число его оборотов и, следовательно, повысить его мощность;
отверстие в статоре выполнено по форме в виде эллипса и имеет только положительную кривизну. Это улучшит работу элементов герметизации, уменьшит утечку рабочей смеси из камеры при работе двигателя и позволит повысить потолок числа оборотов двигателя и его мощность;
предложенная схема двигателя позволяет наращивать его мощность следующим образом:
а) путем наращивания секций из двигателей;
б) путем увеличения объема камеры двигателя, т.е. увеличения размера двигателя по диаметру и ширине;
в) одновременно путем увеличения объема камеры двигателя и наращивания секций из двигателей.
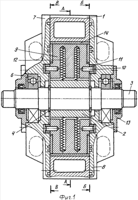
На первом листе чертежа на Фиг.1 изображен общий вид роторно-поршневого двигателя внутреннего сгорания, а на втором листе на Фиг.2, на третьем листе на Фиг.3 и на четвертом листе на Фиг.4 его разрезы. Двигатель состоит из статора 1 (наружного корпуса), ротора 2, установленного на вал 3 и зафиксированного на нем стопорными кольцами 4 и шпонкой 5 (см. Фиг.1). Вал 3 установлен на подшипниках 6 в боковых крышках 7 и 8 статора (см. Фиг.1).
В ротор 2 (см. Фиг.1, 2, 3 и 4) встроены лопатки 9, выполненные с возможностью радиального возвратно-поступательного перемещения в роторе 2. В лопатку 9 по бокам встроены оси 10 с роликами 11 на подшипниках. Ролики 11 лопатки 9 имеют кинематическую связь с замкнутым пазом, выполненным в виде эллипса в боковых крышках 7 и 8 статора 1. В лопатку 9 встроены пружины 12, предназначенные для прижима к внутренней поверхности статора вершины лопатки 9 и роликов 11 лопатки 9 к внутренней поверхности замкнутого паза в боковых крышках 7 и 8 статора. Лопатки 9 делят внутреннюю поверхность статора 1 на камеры с переменным объемом. Боковые крышки 7 и 8 содержат крышки 13 с элементами герметичности.
В лопатки 9 (см. Фиг.1, 2, 3 и 4), боковые крышки 7 и 8, ротор 2 встроены элементы 14 герметизации камер, а в статоре 1 выполнены всасывающее отверстие 15, два выхлопных отверстия 16 и встроена свеча 17 для воспламенения рабочей смеси в камере.
Принцип работы роторно-поршневого двигателя.
При верхнем расположении камеры в статоре 1 во время вращения ротора 2 и симметричном расположении первой и второй лопаток 9 камеры относительно вертикальной оси симметрии статора 1 вершины первой и второй лопаток 9 равно удалены от оси вращения ротора 2 и почти полностью утоплены в ротор 2.
Камера очищена от рабочей смеси, пуста и герметизирована. При дальнейшем вращении ротора 2 и нахождении данной камеры на участке первой четверти статора 1 лопатки 9 камеры от центробежных сил при вращении ротора 2 и усилия пружин 12 будут перемещаться вдоль радиального паза в роторе 2, и одновременно их вершины будут скользить по внутренней поверхности статора 1. Давление вершин лопаток 9 на внутреннюю поверхность статора 1 от центробежных сил и усилия пружин 12 лопаток 9 на внутреннюю поверхность статора 1 будет ограничиваться двумя роликами 11 лопаток 9, имеющих кинематическую связь с замкнутым пазом в боковых крышках 7 и 8 статора 1. После пересечения вершиной первой лопатки 9 камеры (при вращении ротора по часовой стрелке) всасывающего отверстия вершина первой лопатки 9 будет более удалена от оси вращения ротора, чем вершина второй лопатки. Т.е. первая лопатка 9 будет более выдвинута по отношению к наружной поверхности ротора 2 чем вторая. Это объясняется тем, что отверстие статора выполнено в виде эллипса.
Разность между расстоянием от вершины первой лопатки 9 и до оси вращения ротора 2 и расстоянием от вершины второй лопатки 9 и до оси вращения ротора 2, умноженная на ширину лопатки, – есть рабочая площадь первой лопатки камеры
Sp=(R1-R2)·В см2,
где Sp – рабочая площадь первой лопатки, см2;
R1 – расстояние от вершины первой лопатки 9 до оси вращения ротора 2, см;
R2 – расстояние от вершины второй лопатки 9 до оси вращения ротора 2, см;
В – ширина лопатки 9, см.
При вращении ротора 2 в первой четверти статора 1 объем камеры и рабочая площадь первой лопатки 9 будут увеличиваться при своем перемещении, и при этом камера как поршень будет всасывать в себя рабочую смесь. Всасывание рабочей смеси в данную камеру будет продолжаться до тех пор, когда вершина второй лопатки 9 отсечет всасывающее отверстие от данной камеры. Наибольшего объема камера достигнет при симметричном расположении первой и второй лопаток 9 относительно горизонтальной оси симметрии статора 1. В этом положении лопатки 9 камеры равноудалены от оси вращения ротора 2 и максимально выдвинуты относительно поверхности ротора. При дальнейшем вращении ротора 2 на участке второй четверти статора 1 ролики 11 первой и второй лопаток 9 данной камеры, перекатываясь по замкнутому пазу в боковых крышках 7 и 8 статора 1, будут утапливать лопатки 9 в ротор 2.
Во второй четверти статора 1 уже вторая лопатка 9 будет более удалена от оси вращения ротора 2, чем первая ввиду того, что отверстие статора выполнено в виде эллипса. На данном участке статора 1 рабочая площадь второй лопатки 9 и объем камеры (при вращении ротора по часовой стрелке) будет уменьшаться при своем перемещении вместе с ротором 2 и сжимать рабочую смесь в камере.
Наибольшее сжатие рабочей смеси в камере произойдет тогда, когда первая и вторая лопатки 9 данной камеры расположатся в нижней части статора 1 симметрично относительно вертикальной оси симметрии статора 1.
В данном положении первой и второй лопаток 9 объем камеры достигнет минимума, а сжатие рабочей смеси достигнет максимума. После пересечения вершиной первой лопатки 9 данной камеры отверстия со свечой для зажигания рабочей смеси в камере, вершина первой лопатки 9 будет более удалена от оси вращения ротора, чем вершина второй лопатки 9.
При воспламенении в данный момент свечой 17 рабочей смеси в камере и ее сгорании давление газов на рабочую площадь первой лопатки 9 преобразуется в крутящий момент и во вращательное движение ротора 2.
Мкр=q·Sp·Rc, кгс·см,
где Мкр – крутящий момент на роторе 2, кгс·см;
q – давление газа от сгорания рабочей смеси в камере на единицу площади, кгс/см2;
Sp – рабочая площадь лопатки, см2;
Rc – плечо рабочей площади лопатки 9 камеры, равное
расстоянию от середины рабочей площади лопатки
9 и до оси вращения ротора 2.
Rc=(R1+R2)/2, см,
где R1 – расстояние от вершины первой лопатки 9 до оси вращения ротора 2, см;
R2 – расстояние от вершины второй лопатки 9 и до оси вращения ротора 2, см.
На данном участке статора 1 рабочая площадь и объем камеры при вращении ротора 2 будут увеличиваться.
Давление в камере в связи с расширением объема камеры будет уменьшаться. Но произведение величины рабочей площади на давление газов от сгорания рабочей смеси будет носить характер примерно постоянной величины ввиду того, что рабочая площадь первой лопатки будет на данном участке постоянно увеличиваться. Рабочий ход данной камеры будет продолжаться до тех пор, когда первая и вторая лопатки 9 расположатся симметрично относительно горизонтальной оси симметрии статора 1. При этом первая лопатка 9 откроет первое выхлопное отверстие 16 статора 1. При дальнейшем вращении ротора 2 ролики 11 первой лопатки 9 данной камеры, перекатываясь по замкнутому пазу в боковых крышках 7 и 8 статора 1, будут утапливать первую лопатку 9 в ротор 2. В четвертой четверти статора 1 вершина второй лопатки 9 будет более удалена от оси вращения ротора 2, чем первая. Рабочий объем камеры и рабочая площадь второй лопатки 9 на данном участке статора 1 будут уменьшаться. Вращаясь вместе с ротором 2, уменьшающиеся рабочая площадь второй лопатки 9 и объем данной камеры будут выжимать отработанную рабочую смесь из камеры сначала через первое выхлопное отверстие, а потом и через второе.
Таким образом камера очищается от отработанной рабочей смеси.
При верхнем симметричном расположении первой и второй лопаток 9 данной камеры относительно вертикальной оси симметрии статора 1 камера очищена от отработанной рабочей смеси, имеет минимальный рабочий объем и герметично заперта.
Затем рабочий цикл повторяется.
Аналогично происходит рабочий цикл и в остальных камерах. Таким образом при вращении ротора 2 лопатки 9, скользя своими вершинами по внутренней поверхности статора 1, то утопают в ротор 2, то выдвигаются из него, и в результате объем в каждой камере ротора 2 то уменьшается, то увеличивается. При этом в каждой камере за один оборот ротора 2 при прохождении их через впускные и выхлопные отверстия регулируется газообмен. В результате в каждой из камер с момента всасывания рабочей смеси в камеру за один оборот ротора 2 совершается четырехтактный цикл, а ротор силу давления газов на рабочую площадь первой лопатки 9 от сгорания рабочей смеси в каждой из камер преобразует в крутящий момент и во вращательное движение ротора 2 с валом 3.
Предложенный роторно-поршневой двигатель внутреннего сгорания найдет применения в автомобилестроении, авиастроении и др. отраслях, где потребуются подобные двигатели.
Формула изобретения
Роторно-поршневой двигатель внутреннего сгорания, содержащий статор (наружный корпус), всасывающее и выхлопное отверстия на статоре для газообмена в камерах сгорания, боковую крышку статора, ротор, вал, установленный на подшипниках, расположенных в боковых крышках статора, систему зажигания, в статоре отверстие выполнено сквозным, а по форме в виде эллипса и введена вторая боковая крышка статора, а в отверстие статора встроен выполненный цилиндрическим ротор, в который встроены лопатки, выполненные с возможностью радиального возвратно-поступательного перемещения, при этом лопатки ротора делят отверстие статора на камеры с переменным объемом, в статоре в первой его четверти (по направлению вращения ротора) выполнено всасывающее отверстие, система зажигания (свеча) для воспламенения рабочей смеси в камере выполнена в третьей четверти статора, а выхлопное отверстие в четвертой четверти статора, отличающийся тем, что двигатель содержит систему герметизации, ротор посажен на неподвижную посадку на цилиндрический вал, лопатки подпружинены, встроены в цилиндрический ротор равномерно по окружности и содержат на осях ролики на подшипниках, имеющие кинематическую связь с поверхностью замкнутого паза, выполненного в виде эллипса в боковых крышках статора, герметизация камер переменного объема обеспечивается встроенными в ротор, лопатки и боковые крышки статора уплотнительными элементами, а всасывающее отверстие выполнено в первой половине первой четверти статора, система зажигания (свеча) для воспламенения рабочей смеси в камере выполнена в первой половине третьей четверти статора, при этом выполнены два выхлопных отверстия во второй половине четвертой четверти статора.
РИСУНКИ
|
|