|
(21), (22) Заявка: 2007145898/06, 10.12.2007
(24) Дата начала отсчета срока действия патента:
10.12.2007
(46) Опубликовано: 10.06.2009
(56) Список документов, цитированных в отчете о поиске:
GB 1341241 А, 19.12.1973. ЕР 0305763 A1, 08.03.1989. RU 2014482 C1, 15.06.1994. FR 2100530 A, 24.03.1972. US 2743375 A, 24.01.1956. US 5376827 A, 27.12.1994. SU 1020592 A, 30.05.1983.
Адрес для переписки:
443112, г.Самара, ул. Крайняя, 18-17, Н.Б. Болотину
|
(72) Автор(ы):
Болотин Николай Борисович (RU)
(73) Патентообладатель(и):
Болотин Николай Борисович (RU)
|
(54) ВИНТОВЕНТИЛЯТОРНЫЙ АВИАЦИОННЫЙ ДВИГАТЕЛЬ
(57) Реферат:
Винтовентиляторный авиационный двигатель содержит турбокомпрессор с компрессором, камерой сгорания, выход из которой соединен газовым трактом с турбиной, и не менее двух электрических машин. В компрессор встроен электрогенератор. На входе в компрессор установлен биротативный электродвигатель, два вала которого соединены с передним и задним винтовентилятором. Электрогенератор соединен с биротативным электродвигателем посредством силового кабеля. В линии силового кабеля установлен электронный регулятор. Винтовентиляторы размещены внутри обтекателя. Изобретение направлено на повышение КПД и надежности авиационного двигателя. 2 з.п. ф-лы, 3 ил.
Изобретение относится к двигателестроению, в том числе к авиационным и стационарным двигателям.
Известна силовая установка по патенту РФ 2189477, которая содержит газотурбинный двигатель – ГТД, газовый тракт, соединяющий этот газотурбинный двигатель со свободной турбиной, и нагрузку в виде электрогенератора, вал которого подсоединен к валу свободной турбины через муфту.
Недостатком этой силовой установки является то, что она имеет низкий КПД – около 20%, что почти в 2 раза меньше, чем у современных дизельных установок.
Недостатком этого двигателя является низкий КПД силовой установки.
Известен газотурбинный двигатель по патенту РФ 2252316, который содержит турбокомпрессор, состоящий из компрессора, камеры сгорания и турбины, и не менее двух электрических машин (электрогенератор и электродвигатель), встроенных в турбокомпрессор. Система постоянных магнитов установлена на внутренней поверхности ротора турбокомпрессора, а статор электрической машины установлен на корпусе подшипниковой опоры, т.е. на малом диаметре.
Недостаток – низкая мощность электрогенератора и электродвигателя из-за их расположения на небольшом диаметре.
Известен газотурбинный двигатель по патенту Великобритании 1341241, который содеожит турбокомпрессор, состоящий из компрессора, камеры сгорания и турбины, и не менее двух электрических машин (электрогенератор и электродвигатель), встроенных в турбокомпрессор. Система постоянных магнитов установлена на внутренней поверхности ротора турбокомпрессора, а статор электрической машины установлен на корпусе подшипниковой опоры, т.е. на малом диаметре.
Недостатки этого двигателя: очень маленькая мощность электрических машин, связанная с тем, что они размещены на малом диаметре и имеют по одной ступени. Кроме того, возникают проблемы с охлаждением обмоток статора, размещенных внутри двигателя в зоне высоких температур, которая достигает для современных ГТД 1500°С. Большой электрический ток дополнительно нагревает обмотки электрогенератора и электродвигателя и делает проблему их охлаждения практически не разрешимой при расположении обмоток в зоне высоких температур. Такая конструкция применима для использования электрической машины в качестве стартера или в качестве вспомогательного электрогенератора для питания агрегатов газотурбинного двигателя и самолета. Кроме того, газотурбинный двигатель имеет низкий КПД (экономичность), и для его запуска требуется большая мощность стартера из-за инерционности его роторов.
Задачи создания изобретения: повышение мощности электрических машин, экономичности и надежности турбовинтового газотурбинного двигателя.
Решение указанных задач достигнуто за счет того, что винтовентилятор авиационного двигателя, содержащий турбокомпрессор с компрессором, камерой сгорания, выход из которой соединен газовьм трактом с турбиной, и не менее двух электрических машин, при этом в компрессор встроен электрогенератор, на входе в компрессор установлен биротативный электродвигатель, два вала которого соединены с передним и задним соосными винтовентиляторами, электрогенератор соединен с биротативным электродвигателем посредством силового кабеля. В линии силового кабеля установлен электронный регулятор. Винтовентиляторы могут быть размещены внутри обтекателя.
Предложенное техническое решение обладает новизной, изобретательским уровнем и промышленной применимостью, что подтверждается проведенными патентными исследованиями. Для реализации изобретения достаточно применения известных узлов и деталей, ранее разработанных и реализованных в конструкции газотурбинных двигателей и в машиностроении.
Сущность изобретения поясняется на чертежах, где:
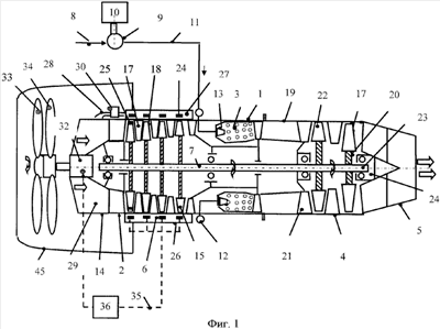
на фиг.1 приведена схема винтовентиляторного авиационного двигателя,
на фиг.2 приведена схема подключения и схема охлаждения обмоток электрогенератора и электродвигателя,
на фиг.3 приведена схема биротативного электродвигателя.
Предложенное техническое решение (фиг.1) содержит турбокомпрессор 1, содержащий компрессор 2, камеру сгорания 3 и турбину 4 и выхлопное устройство 5. Винтовентиляторный авиационный двигатель содержит две электрические машины, одна из них встроена в турбокомпрессор 1, а именно в компрессор 2 встроен электрогенератор 6. Ротор компрессора 2 и турбины 4 соединены валом турбогенератора 7.
Турбовинтовой газотурбинный двигатель содержит систему топливоподачи с топливопроводом низкого давления 8, подключенным ко входу в топливный насос 9, имеющий привод 10, топливопровод высокого давления 11, вход которого соединен с топливным насосом 9, а выход соединен с кольцевым коллектором 12, кольцевой коллектор 12 соединен с форсунками 13 камеры сгорания 3.
Компрессор 2 содержит статор 14 и ротор 15. Кроме того, компрессор 2 содержит направляющие лопатки 17 и рабочие лопатки 18.
Турбина 4 содержит статор 19 и ротор 20, который кинематически связан с валом 7 турбокомпрессора 1 и ротором 15 компрессора 2. Кроме того, турбина 4 содержит сопловые аппараты 21 и рабочие лопатки 22 (количество ступеней свободной турбины может быть от одной до нескольких). Далее находятся опора турбины 23 и выхлопное устройство 5.
Электрогенератор 6 содержит статорные обмотки 24, выполненные на статоре 14, и систему постоянных магнитов 25, установленную на рабочих лопатках 18.
Статорные обмотки 24 заключены в кожух 26 компрессора (фиг.2). К внутренним полостям 27 кожуха 26 подключена система охлаждения 28, соединенная с внутренней полостью 29 турбокомпрессора 1. В системе охлаждения 28 установлен клапан 30. К полости 29 подсоединен трубопровод сброса охлаждающего воздуха 31 (фиг.2).
Перед турбокомпрессором установлен биротативный электродвигатель 32, к которому подсоединены два соосных воздушных винта: передний винтовентилятор 33 и задний винтовентилятор 34. Винтовентилятор – устройство для нагнетания (сжатия) воздуха, занимает промежуточное положение между воздушным винтом и вентилятором. Применительно к авиационным двигателям винтом считается устройство, имеющее от 2-х до 4-х лопастей. Вентилятор имеет значительное число лопаток (от 14 до 50 и более), т.е. он практически не отличается от осевого компрессора. Винтовентилятор имеет от 5 до 13 лопаток. Применение воздушного винта позволяет создать авиационный двигатель, имеющий высокую экономичность, но из-за большого диаметра имеет ограничения по скорости полета и создает большой уровень шума. Двухконтурный двигатель с вентилятором позволяет спроектировать ГТД для полетов на сверхзвуковых скоростях, но значительно уступает по экономичности двигателям, имеющим воздушные винты, например турбовинтовым газотурбинным двигателям. Применение винтовентиляторов является новейшим направлением в авиадвигателестроении и позволит объединить положительные свойства двух типов авиационных двигателей, описанных выше, и устранить все недостатки.
Биротативный электродвигатель 32 кабелем 35 соединен с электрогенератором 6. В линии кабеля 35 может быть установлен электронный регулятор 36.
Биротативный электродвигатель 32 (фиг.3) содержит внутренний ротор 37 с внутренним валом 38 и постоянными магнитами 39, внешний ротор 40 с внешним валом 41, с обмотками 42 и статор 43. Для подвода электроэнергии служит коллектор 44.
Винтовентиляторы 33 и 34 могут быть установлены внутри обтекателя 45. Это позволит устранить радиальное перетекание воздуха и увеличить КПД двигателя. Кроме того, обтекатель снижает шум двигателя.
Электронный регулятор 36 предназначен для того, чтобы регулировать силу тока, отключать ток и изменять его полярность для реверсирования воздушных винтовентиляторов 33 и 34.
При работе винтовентиляторного авиационного двигателя осуществляют его запуск путем подачи электроэнергии на биротативный электродвигатель 32 от внешнего источника энергии (не показано). Потом включают привод 10 топливного насоса, и топливный насос 9 подает топливо в камеру сгорания 3, точнее в форсунки 13, где оно воспламеняется при помощи электрозапальника (не показан). Турбина 4 раскручивается и электрогенератор 6 вырабатывает электрический ток, который по силовому кабелю 35 подается на биротативный электродвигатель 32. Биротативный электродвигатель 32 в дальнейшем приводит в действие воздушные винтовентиляторы 33 и 34, а внешний источник тока отключается.
При останове винтовентиляторного авиационного двигателя все операции осуществляются в обратной последовательности. Так как роторы биротативного электродвигателя 32 имеют рабочие обороты, в несколько раз меньшие, чем вал 7 турбокомпрессора 1, то отпадает необходимость в применении тяжелого и дорогостоящего редуктора, который применяется, например, на двигателе НК 12 MB. Воздушные винтовентиляторы 33 и 34 вращаются в противоположные стороны с одинаковыми частотами вращения.
Применение изобретения позволило:
1. Повысить мощность электрических машин: электрогенератора за счет его расположения на максимально возможном диаметре и его охлаждения, электродвигателя за счет его выполнения биротативным и охлаждения набегающим потоком воздуха на входе в двигатель.
2. Повысить КПД винтовентиляторного авиационного двигателя за счет более рациональной компоновки двигателя, наличия двух соосных воздушных винтов, дающих дополнительную тягу, отсутствия жесткой кинематической связи между компрессором и воздушными винтами. Это позволило спроектировать оптимальные компрессор, воздушные винты и турбину, например, на разные рабочие обороты и оптимально согласовать их совместную работу.
3. Улучшить надежность винтовентиляторного авиационного двигателя за счет размещения катушек электрического генератора вне двигателя в зоне низких температур на компрессоре, предпочтительно ближе к его входу.
4. Обеспечить запуск газотурбинного двигателя и питание электроэнергией очень энергоемких потребителей. Облегчить запуск за счет раскрутки только ротора компрессора, без раскручивания винтовентиляторов.
5. Облегчить условия работы воздушных винтов за счет отсутствия механической связи с валом компрессора и возможности их взаимного проскальзывания и работы при различающихся в несколько раз частотах вращения.
6. Уменьшить вес и габариты двигателя за счет отсутствия редуктора между компрессором и винтовентиляторами.
7. Управлять режимом работы винтовентиляторов, в том числе отключать и реверсировать электронным регулятором.
Формула изобретения
1. Винтовентиляторный авиационный двигатель, содержащий турбокомпрессор с компрессором, камерой сгорания, выход из которой соединен газовым трактом с турбиной, и не менее двух электрических машин, при этом в компрессор встроен электрогенератор, на входе в компрессор установлен биротативный электродвигатель, два вала которого соединены с передним и задним винтовентилятором, электрогенератор соединен с биротативным электродвигателем посредством силового кабеля.
2. Винтовентиляторный авиационный двигатель по п.1, отличающийся тем, что в линии силового кабеля установлен электронный регулятор.
3. Винтовентиляторный авиационный двигатель по п.1 или 2, отличающийся тем, что винтовентиляторы размещены внутри обтекателя.
РИСУНКИ
|