|
|
(21), (22) Заявка: 2008101628/06, 23.01.2008
(24) Дата начала отсчета срока действия патента:
23.01.2008
(46) Опубликовано: 10.06.2009
(56) Список документов, цитированных в отчете о поиске:
RU 2287063 С1, 10.11.2006. RU 2150627 С1, 10.06.2000. RU 2244182 С1, 10.01.2005. RU 50621 U1, 20.01.2006. US 5037114 А, 06.08.1991. DE 3836474 А, 22.06.1989.
Адрес для переписки:
115280, Москва, 3-й Автозаводской пр-д, 4, корп.1, оф.312, ООО “Научно-производственное предприятие “АРМС” (ООО “НПП “АРМС”), С.В. Ушинину
|
(72) Автор(ы):
Лисянский Александр Степанович (RU), Юшка Михаил Павеласович (RU), Ушинин Сергей Владимирович (RU), Горлицын Константин Витальевич (RU)
(73) Патентообладатель(и):
Лисянский Александр Степанович (RU), Юшка Михаил Павеласович (RU), Ушинин Сергей Владимирович (RU), Горлицын Константин Витальевич (RU)
|
(54) ЛАБИРИНТНОЕ НАДБАНДАЖНОЕ УПЛОТНЕНИЕ ДЛЯ ПАРОВОЙ ТУРБИНЫ
(57) Реферат:
Изобретение относится к уплотнительной технике. Лабиринтное надбандажное уплотнение паровой турбины содержит уплотнительные кольцевые гребешки ротора турбины, мелкоячеистые сотовые блоки, припаянные к сегментам держателей сотовых блоков между сегментами уплотняющих кольцевых гребней статора, кольцевой паз обоймы статора турбины, имеющий Т-образную в продольном сечении турбины форму. Сегменты держателей мелкоячеистых сотовых блоков выполнены из листового материала, к которым с двух сторон сотовых блоков припаяны с прихваткой точечной сваркой сегменты кольцевых гребней из листового материала. Сегменты держателей сотовых блоков установлены в Т-образный паз статора турбины и зафиксированы от радиальных и окружных перемещений сегментами стопорной проволоки, установленными с натягом и перекрытием в окружном направлении в щель между сегментами держателей сотовых блоков и статором турбины. Такое выполнение уплотнения позволит снизить стоимость его изготовления. 5 ил.
Область техники
Изобретение относится к лабиринтным надбандажным уплотнениям паровых турбин.
Уровень техники
В паровых турбинах в последнее время для уплотнения зазоров между бандажом рабочих лопаток и невращающимися (статорными) деталями корпуса турбины нашли применение надбандажные уплотнения с мелкоячеистыми сотовыми блоками, выполненными из жаропрочного листового сплава на никелевой основе толщиной 0,05 мм (Патент RU 2150627, МКИ F16J 15/447; Патент RU 2244182, МКИ F16J 15/447). В приведенных конструкциях уплотнений мелкоячеистые сотовые блоки припаяны высокотемпературным припоем на никелевой основе к держателям сотовых блоков. Необходимость применения пайки высокотемпературным припоем обусловлена тем, что это является единственно надежным способом крепления мелкоячеистых сотовых блоков к основанию держателя. Держатели сотовых блоков представляют из себя сегменты, которые нарезаются из кольцевой заготовки (раскатного кольца) высоколегированной коррозионностойкой стали. Кольцевые уплотняющие гребни статора выполнены заодно с основным телом сегмента держателя. Кроме того, держатели имеют Г-образные или Т-образные замки для их фиксации на статоре турбины. Поэтому заготовка в виде раскатного кольца из высоколегированной коррозионностойкой стали для держателей имеет большую площадь поперечного сечения и, следовательно, большую массу и стоимость.
Наиболее близко к предлагаемому решению лабиринтное надбандажное уплотнение для паровой турбины, раскрытое в патенте RU 2287063, МКИ F16D 11/08. Лабиринтное уплотнение по указанному патенту имеет держатель сотовых блоков с Т-образным замком и кольцевыми уплотняющими гребнями статора. Сегменты держателей вставляются в паз статора, имеющий Т-образную в продольном сечении турбины форму. От окружных перемещений сегменты держателей зафиксированы радиальными штифтами. В осевом направлении сегменты держателей удерживаются боковой поверхностью Т-образного паза статора турбины. Кольцевые уплотняющие гребни статора выполнены заодно с основным телом сегмента держателя. Такая конструкция уплотнения приводит к большому поперечному сечению держателя (чистовой размер тела держателя в радиальном направлении – не менее 22 мм). Это обуславливает высокую стоимость заготовки держателя в виде раскатного кольца из высоколегированной коррозионностойкой стали и, следовательно, высокую стоимость изготовления всего лабиринтного уплотнения.
Раскрытие изобретения
Изобретение решает задачу снижения стоимости изготовления уплотнения.
Лабиринтное надбандажное уплотнение паровой турбины содержит по меньшей мере один уплотнительный кольцевой гребешок, установленный на роторе турбины. Мелкоячеистые сотовые блоки припаяны к сегментам держателей сотовых блоков между сегментами уплотняющих кольцевых гребней статора. Кольцевой паз обоймы статора турбины, в который вставляются сегменты держателей сотовых блоков, имеет Т-образную в продольном сечении турбины форму.
Согласно изобретению сегменты держателей мелкоячеистых сотовых блоков выполнены из листового материала, к которым с двух сторон сотовых блоков припаяны с прихваткой точечной сваркой сегменты кольцевых гребней из листового материала. Сегменты держателей сотовых блоков установлены в Т-образный паз статора турбины и зафиксированы от радиальных и окружных перемещений сегментами стопорной проволоки, которые установлены с натягом и перекрытием в окружном направлении в щель между сегментами держателей и статором турбины.
Краткое описание чертежей
В дальнейшем изобретение поясняется конкретным примером его реализации со ссылками на прилагаемые чертежи.
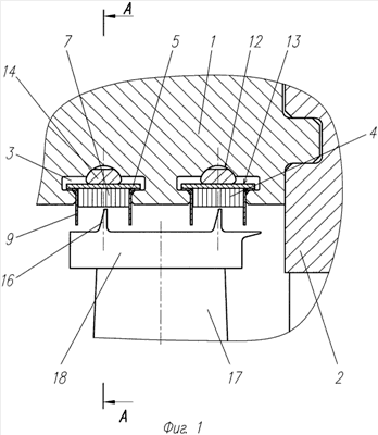
Фигура 1 – патентуемое уплотнение, продольное сечение.
Фигура 2 – сечение А-А фигуры 1 в уменьшенном масштабе.
Фигура 3 – продольное сечение сегмента уплотнения в увеличенном масштабе.
Фигура 4 – вид по стрелке Б (развертка) на сегмент уплотнения в увеличенном масштабе.
Фигура 5 – продольный разрез по обойме на участке Т-образного паза в увеличенном масштабе.
Осуществление изобретения
Сотовое надбандажное уплотнение для паровой турбины содержит обойму 1 статора турбины 2 с кольцевым пазом 3 обоймы статора турбины, имеющим Т-образную в продольном сечении турбины форму. В Т-образный кольцевой паз вставлены сегменты уплотнения 4, каждый из которых включает в себя держатель сотовых блоков 5, выполненный из листа высоколегированной коррозионностойкой стали. К держателю сотовых блоков 5 припаяны (паяный шов 6) мелкоячеистые сотовые блоки 7. С двух сторон сотовых блоков 7 к сегменту держателя 5 припаяны (паяный шов 8) два уплотняющих гребня статора 9. Для удобства сборки сегментов перед пайкой уплотняющие гребни 9 прихватываются точечной сваркой 10 к держателю сотовых блоков 5. Осевое расстояние между наружными поверхностями уплотняющих гребней 9 выполняется таким образом, чтобы при установке сегментов уплотнений в паз 3 по поверхностям 11 был зазор не более 0,2 мм. В щель между поверхностью 12 на обойме 1 и наружной поверхностью 13 держателя 5 вставляются с небольшим натягом и перекрытием в окружном направлении сегменты стопорной проволоки 14. При этом сегменты уплотнения 4 прижимаются к наружному диаметру 15 паза 3 и фиксируются от радиальных и окружных перемещений. Уплотнительные кольцевые гребешки 16 ротора турбины 17 выполнены заодно с бандажом рабочих лопаток 18.
Работа лабиринтного надбандажного уплотнения заключается в том, что при вращении ротора турбины 17 гребешки 16, уплотняющие зазор, по которому перетекает пар, могут касаться о мелкоячеистые сотовые блоки 7 без аварийных последствий и уменьшения эффективности уплотнения. Это происходит из-за того, что острая кромка гребешка 16 прорезает канавку в мелкоячеистом сотовом блоке 7 без притупления своей острой кромки, т.е. мелкоячеистые сотовые блоки позволяют автоматически установить минимально возможные радиальные зазоры лабиринтного надбандажного уплотнения.
Преимуществом предлагаемой конструкции лабиринтного надбандажного уплотнения является то, что масса заготовки для держателя мелкоячеистых сотовых блоков, выполненного из листа, и масса заготовки для уплотняющих гребней, также выполненных из листа, в совокупности имеют массу в 4-5 раз меньшую, чем масса заготовки для держателя мелкоячеистых сотовых блоков, выполненного из раскатного кольца, т.к. толщина листа для держателя составляет 1 мм, толщина листа для уплотняющих гребней составляет 0,4 мм, а чистовой размер тела держателя, выполненного из раскатного кольца, в радиальном направлении составляет не менее 22 мм. Это приводит к экономии высоколегированной коррозионностойкой стали и снижению цены изготовления лабиринтного надбандажного уплотнения.
Формула изобретения
Лабиринтное надбандажное уплотнение для паровой турбины, содержащее уплотнительные кольцевые гребешки ротора турбины, мелкоячеистые сотовые блоки, припаянные к сегментам держателей сотовых блоков между сегментов уплотняющих кольцевых гребней статора, кольцевой паз обоймы статора турбины, имеющий Т-образную в продольном сечении турбины форму, отличающееся тем, что сегменты держателей мелкоячеистых сотовых блоков выполнены из листового материала, к которым с двух сторон сотовых блоков припаяны, с прихваткой точечной сваркой, сегменты кольцевых гребней из листового материала, сегменты держателей сотовых блоков установлены в Т-образный паз статора турбины и зафиксированы от радиальных и окружных перемещений сегментами стопорной проволоки, установленными с натягом и перекрытием в окружном направлении в щель между сегментами держателей сотовых блоков и статором турбины.
РИСУНКИ
|
|