|
(21), (22) Заявка: 2005110332/06, 08.04.2005
(24) Дата начала отсчета срока действия патента:
08.04.2005
(30) Конвенционный приоритет:
09.04.2004 FR 04 03738
(43) Дата публикации заявки: 20.10.2006
(46) Опубликовано: 10.06.2009
(56) Список документов, цитированных в отчете о поиске:
US 6520743 В2, 18.02.2003. ЕР 1096107 А2, 02.05.2001. US 3096074 А, 02.07.1963. US 4344740 А, 17.08.1982. US 5330324 А, 19.07.1994. SU 387128 А, 21.06.1973.
Адрес для переписки:
129090, Москва, ул. Б.Спасская, 25, стр. 3, ООО “Юридическая фирма Городисский и Партнеры”, пат.пов. С.А.Дорофееву
|
(72) Автор(ы):
ПАСКЬЕ Дидье Дезире Рене (FR)
(73) Патентообладатель(и):
СНЕКМА (FR)
|
(54) УСТРОЙСТВО ДЛЯ ФИКСИРОВАНИЯ В ОСЕВОМ НАПРАВЛЕНИИ ЛОПАТОК НА ДИСКЕ РОТОРА ТУРБОМАШИНЫ
(57) Реферат:
Устройство для фиксирования в осевом направлении лопаток на диске ротора турбомашины содержит кольцо и кольцевой замок. Кольцо с помощью внутренней по радиусу кромки крепится в кольцевой канавке диска, а внешней по радиусу кромкой опирается на хвостовики лопаток, установленных в канавках по периферии диска. Кольцевой замок размещен в кольцевой канавке диска для предотвращения поворота кольца в упомянутой кольцевой канавке. Кольцевой замок выполнен с возможностью поворота в кольцевой канавке между положением запирания кольца и положением для установки и снятия. Изобретение позволяет упростить изготовление, а также установку и снятие кольца на диске ротора и снижает риск повреждения кольца при его установке на диск. 9 з.п. ф-лы, 10 ил.
Настоящее изобретение относится к устройству для фиксирования в осевом направлении лопаток на диске ротора, в частности, в компрессоре высокого давления или в турбине высокого давления турбомашины, такой как турбореактивный двигатель.
Известно, например, из ЕР 1439282, что для выполнения такого фиксирования используется кольцо, у которого внутренняя по радиусу кромка входит в кольцевую канавку поверхности диска ротора со стороны выхода потока и чья внешняя по радиусу кромка опирается на концы хвостовиков лопаток со стороны выхода потока, которые зацепляются с осевыми канавками по периферии диска.
Внешняя по радиусу кромка кольцевой канавки в диске и внутренняя по радиусу кромка кольца имеют комплементарные фестончатые или зубчатые формы, обеспечивая, таким образом, возможность введения кольца в кольцевую канавку диска путем перемещения в осевом направлении, когда выступы фестончатой кромки кольца совмещаются с впадинами фестончатой кромки кольцевой канавки, и дальнейшее закрепление кольца в осевом направлении в кольцевой канавке посредством его поворота таким образом, чтобы выступы его фестончатой кромки совместились с выступами фестончатой кромки кольцевой канавки диска, которые затем будут на них опираться.
На своей поверхности, обращенной к хвостовикам лопатки, внешний по радиусу участок кольца имеет штифты, которые вводятся в соответствующие выемки в хвостовиках лопатки и которые служат для предотвращения поворота кольца вокруг своей оси.
В положении запирания кольцо фиксируется в осевом направлении с помощью своих частей, опирающихся на хвостовики лопаток, на поверхность диска со стороны выхода потока и на фестончатую кромку кольцевой канавки в диске. Для того чтобы привести кольцо в такое положение поворотом его в кольцевой канавке, необходимо деформировать его, вытягивая его внешний по радиусу участок в осевом направлении и выталкивая его внутренний по радиусу участок в осевом направлении, соответственно, чтобы вынимать вышеупомянутые штифты из торцов хвостовиков лопаток до тех пор, пока штифты не совпадут с выемками, в которые они должны входить, и для того, чтобы обеспечить введение выступов фестончатой кромки кольца в кольцевую канавку диска.
Такую сборку сложно выполнять и она требует использования специального приспособления. Поскольку кольца должны выдерживать очень высокие температуры и поскольку они изготавливаются из агломерированных материалов, которые очень чувствительны к царапинам (такие царапины способствуют появлению трещин и могут существенно снизить срок работы кольца), необходимо проявлять большую осторожность, чтобы избежать повреждения колец во время их установки на диск.
Кроме того, штифты с помощью механической обработки должны быть выполнены из единой заготовки вместе с кольцом, что отнимает много времени и является очень дорогим. Необходимо также механически обрабатывать выемки, чтобы вставлять штифты на концах хвостовиков лопаток, что также увеличивает затраты.
В частности, настоящее изобретение направлено на устранение недостатков, имеющихся в предшествующем уровне техники.
Цель изобретения заключается в создании устройства описанного выше типа для фиксирования хвостовиков лопаток на диске ротора в осевом направлении, причем такого устройства, которое не требует специальной механической обработки колец и облегчает установку и снятие колец на дисках ротора, а также снижает риск повреждения колец при их установке.
С этой целью создано устройство для фиксирования в осевом направлении лопаток на диске ротора турбомашины, содержащее кольцо, которое с помощью внутренней по радиусу кромки крепится в кольцевой канавке диска и которое внешней по радиусу кромкой опирается на хвостовики лопаток, установленных в канавках по периферии диска, и дополнительно содержащее кольцевой замок, размещенный в кольцевой канавке диска для предотвращения поворота кольца в упомянутой кольцевой канавке, причем упомянутый замок выполнен с возможностью поворота в кольцевой канавке между положением запирания кольца и положением для установки и снятия в кольцевой канавке.
Предпочтительно внешняя по радиусу кромка кольцевой канавки диска и внутренние по радиусу кромки кольца и кольцевого замка имеют фестончатую или зубчатую форму.
Предпочтительно замок имеет крючки для взаимодействия путем упругого защелкивания на внутренней по радиусу кромке кольца и между выступами фестончатой или зубчатой кромки кольцевой канавки в положении запирания кольца.
Предпочтительно замок имеет крючки для взаимодействия путем упругого защелкивания на внутренней по радиусу кромке кольца и между выступами фестончатой или зубчатой кромки кольцевой канавки в положении запирания кольца, и в котором крючки кольцевого замка образованы на выступах его внутреннего по радиусу участка.
Предпочтительно крючки замка содержат радиальные лапки, проходящие к оси замка от его внешнего по радиусу кольцевого участка, и осевые лапки, присоединенные к радиальным лапкам на одних их концах и заканчивающиеся на их других концах в соответствующих захватах, обращенных по радиусу наружу и образующих элементы для фиксации внутренней по радиусу кромки кольца.
Предпочтительно захваты крючков замка предназначены для частичного сцепления на кольцевых кромках выемок фестончатой или зубчатой кромки кольца при установке кольца по месту путем перемещения вдоль оси внутрь кольцевой канавки диска.
Предпочтительно для предотвращения движения кольца и замка вдоль оси относительно диска в положении запирания кольца выступы фестончатой или зубчатой кромки кольца совмещены в осевом направлении с выступами фестончатой или зубчатой кромки кольцевой канавки, и выступы фестончатого или зубчатого внутреннего по радиусу участка замка, зацепленные во впадины фестончатой или зубчатой кольцевой кромки кольца, зацепляются во впадины фестончатой или зубчатой кольцевой кромки канавки диска и таким образом совмещаются с ними в поперечном направлении для предотвращения поворота замка и кольца относительно диска.
Предпочтительно осевые лапки крючков вытянуты на своих концах, имея захваты и соответствующие вторые радиальные лапки, отходящие от захватов, причем вторые радиальные лапки включают в себя средства, такие как отверстия для зацепления или захвата приспособлениями для приложения тянущего усилия для защелкивания захватов на кромке кольца и для приложения выталкивающего усилия для отсоединения захватов от кромки кольца для снятия кольца.
Предпочтительно вторые радиальные лапки замка, помещенные во впадины фестончатой кромки кольцевой канавки в положении запирания кольца, имеют форму, по существу, дополняющую форму вышеупомянутых впадин.
Предпочтительно в положении запирания кольца внешний по радиусу участок кольцевого замка прижат по оси к внутренней по радиусу кромке кольца, которое прижато по оси к выступу фестончатой кромки кольцевой канавки и которое зажимается в осевом направлении между внешним по радиусу участком кольцевого замка и захватами крючков, образованных на внутреннем по радиусу участке упомянутого замка.
Таким образом, кольцевой замок согласно изобретению избавляет от необходимости выполнять механическую обработку штифтов на кольце и выемок для введения штифтов в хвостовики лопаток. Кроме того, кольцо может быть заперто по месту для фиксирования хвостовиков лопаток без деформирования кольца, уменьшая, таким образом, риск его повреждения.
В соответствии с другим упомянутым отличительным признаком изобретения замок имеет крючки для зацепления посредством упругого защелкивания на внутренней по радиусу кромке кольца и между выступами кромки кольцевой канавки фестончатой или зубчатой формы в положении запирания кольца.
Таким образом, единственной операцией является операция защелкивания замка на поверхностях кольца для предотвращения поворота кольца, и такая операция может быть выполнена с использованием простых средств.
Замок может быть защелкнут на кольце посредством упругого деформирования осевых лапок и радиальных лапок крючков.
В положении запирания кольца выступы фестончатой или зубчатой кромки кольца автоматически совмещаются с выступами фестончатой кромки кольца канавки, так как крючки замка входят во впадины фестончатой кольцевой кромки канавки диска.
Преимущественно, вышеупомянутые осевые лапки крючков вытянуты на своих концах, имея захваты и вторые радиальные лапки, проходящие в противоположном направлении к захватам.
Эти радиальные лапки входят точно во впадины кромки кольцевой канавки диска и преимущественно включают в себя средства, такие как отверстия, для захвата или зацепления приспособлениями для приложения тянущего усилия для защелкивания захватов на кромке кольца и для приложения выталкивающего усилия для отсоединения захватов от кромки кольца для снятия кольца.
В положении запирания кольца внешний по радиусу участок кольцевого замка прижат по оси к внутренней по радиусу кромке кольца, которое прижато по оси к выступу фестончатой кромки кольцевой канавки и которое зажимается в осевом направлении между внешним по радиусу участком кольцевого замка и захватами крючков, образованных на внутреннем по радиусу участке упомянутого замка.
Другие подробности, характеристики и преимущества изобретения будут понятны из последующего описания неограничивающего примера со ссылкой на прилагаемые чертежи, на которых:
Фиг.1 – частичный схематический вид осевого сечения диска ротора турбомашины, имеющего в соответствии с предшествующим уровнем техники кольцо со стороны выхода потока для фиксации хвостовиков лопаток.
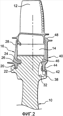
Фиг.2 – частичный схематический вид осевого сечения диска ротора турбомашины, имеющего устройство согласно изобретению для осевой фиксации хвостовиков лопаток.
Фиг.3 – частичный схематический вид в перспективе, показывающий кольцевой замок устройства согласно изобретению, размещенный в кольцевой канавке диска.
Фиг.4 – частичное схематическое осевое сечение Фиг.3.
Фиг.5 – частичный схематический вид в перспективе, показывающий кольцевой замок в положении установки кольца в кольцевой канавке диска.
Фиг.6 – частичный схематический вид, показывающий кольцо, установленное на кольцевом замке в кольцевой канавке диска.
Фиг.7 – частичное схематическое осевое сечение Фиг.6.
Фиг.8 – частичный схематический вид, показывающий кольцо и кольцевой замок в промежуточном положении запирания;
Фиг.9 – частичный схематический вид в перспективе, показывающий кольцо и кольцевой замок в конечном положении запирания; и
Фиг.10 – частичное схематическое осевое сечение Фиг.9.
Первоначально ссылка производится на Фиг.1, показывающую уровень техники, предшествующий настоящему изобретению.
Ротор компрессора или турбины высокого давления турбомашины содержит множество роторных дисков, один из которых частично показан на Фиг.1, причем каждый диск 10 имеет множество, по существу, радиальных лопаток 12, имеющих хвостовики 14, которые зацепляются в осевых канавках, например, в виде ласточкина хвоста, по периферии диска 10.
Лопатки 12, установленные на диске 10, удерживаются от осевого перемещения в канавках установленным на диске кольцом 16 со стороны входа потока и кольцом 18 со стороны выхода потока.
На внутреннем по радиусу участке кольцо 16 со стороны входа потока имеет внутренний кольцевой обод 20, обращенный радиально внутрь и вставленный в кольцевую канавку 22 поверхности диска 10 со стороны входа потока, и цилиндрический обод 24, обращенный к выходу потока и вставленный в цилиндрическую канавку 26 поверхности диска 10 со стороны входа потока. Внешним по радиусу участком 28 кольцо 16 со стороны входа потока опирается на торцы хвостовиков 14 лопаток 12 диска 10 со стороны входа потока, таким образом, фиксируя их в осевом направлении со стороны входа потока.
Кольцо 18 со стороны выхода потока имеет внутренний по радиусу участок 30 с фестончатой или зубчатой кромкой, то есть представляет собой чередующиеся выступы и впадины, равномерно распределенные по всей окружности кольца 18 и входящие в кольцевую канавку 32 поверхности диска 10 со стороны выхода потока. Внешним по радиусу участком 34 кольцо 18 со стороны выхода потока опирается на концы хвостовиков 14 лопаток 12 со стороны выхода потока, таким образом, фиксируя их в осевом направлении со стороны выхода потока.
Кольцо 18 со стороны выхода потока удерживается от поворота вокруг оси диска 10 благодаря наличию множества штифтов 36, предусмотренных на поверхности ее внешнего по радиусу участка 34 со стороны входа потока и предназначенных для зацепления с соответствующими выемками в хвостовиках 14 лопаток 12.
Внутренняя по радиусу кольцевая кромка 38 канавки 32 имеет такую же фестончатую или зубчатую форму, что и внутренняя кольцевая кромка 30 кольца 18, обеспечивая, таким образом, введение внутренней кромки 30 кольца 18 внутрь канавки 32 при движении в осевом направлении и позволяя впоследствии фиксировать ее в осевом направлении посредством поворачивания в канавке 32, до тех пор, пока выступы фестончатой или зубчатой внутренней кромки 30 кольца 18 не совместятся с выступами кромки 38 канавки 32 и не станут опираться на эти упомянутые выступы.
На Фиг.1 кольцо 18 показано в положении, когда оно зафиксировано в осевом направлении, так как его внешний по радиусу участок 34 поджат торцами хвостовиков 14 лопаток 12 и так как внутренний по радиусу участок 30 поджат ободом 38 канавки 32.
Таким образом, для того чтобы поместить кольцо 18 на место, необходимо использование специального приспособления, позволяющего приложить усилие вытягивания к его внешнему участку 34 и усилие выталкивания к его внутреннему участку 30 и позволяющего затем повернуть кольцо в канавке 32 с возможным риском поцарапать и сломать кольцо 18, как упоминалось выше.
Устройство согласно изобретению, показанное на Фиг.2 и всех последующих чертежах, предназначено для того, чтобы избежать этих недостатков и также чтобы избежать необходимость изготовления штифтов 36 на внешней части кольца 18 и необходимость изготовления выемок под них в хвостовиках 14 на лопатках 12.
Устройство содержит кольцо 40, дополненное кольцевым замком 42, который установлен в канавке 32 диска 10 и который изготовлен из любого подходящего материала, в частности из металла.
Кольцо 40, по существу, аналогично кольцу 18 с Фиг.1 за исключением того, что у него нет штифтов 36, но у него есть внутренняя кольцевая кромка 44, вставляемая внутрь кольцевой канавки 32 диска 10, и цилиндрическая опорная поверхность 46, образованная на его поверхности кольца со стороны входа потока, для того чтобы войти с небольшим зазором во внутрь внешней по радиусу периферийной кромки кольцевой канавки 32 так, чтобы в результате отцентрировать кольцо 40 относительно диска 10.
На внешнем по радиусу участке кольца 40 со стороны выхода потока выполнен цилиндрический периферийный обод 48, обращенный к стороне входа потока и прижатый к концам хвостовиков 14 лопаток 12 со стороны выхода потока, таким образом, фиксируя их в осевом направлении со стороны выхода потока.
Кольцевой замок 42 более детально показан на Фиг.3 и 4, где он изображен при зацеплении после осевого перемещения внутри кольцевой канавки 32, чья внутренняя по радиусу фестончатая кромка 50 состоит из выступов 52, чередующихся с впадинами 54, которые равномерно расположены по всей окружности кольцевой канавки 32.
Замок 42, по существу, содержит плоское радиальное кольцо 56 с крючками 58, выполненными в зависимости от взаимодействия с внутренними фестончатыми или зубчатыми кромками кольца 40 и канавки 32. Количество крючков 58 может быть равным количеству впадин 54 в кромке 50 или может быть меньше указанного количества, при этом крючки 58 распределяются по всей окружности замка 42.
Крючки 58 проходят со стороны выхода потока относительно плоского кольца 56 и состоят из первых радиальных лапок 60, которые проходят от кольца 56 к оси замка 42, осевых лапок 62, присоединенных к внутренним по радиусу торцам первых радиальных лапок 60 и проходящих со стороны выхода потока относительно диска 10, и вторых радиальных лапок 64, присоединенных к торцам осевых лапок 62 со стороны выхода потока и проходящих к оси замка 42.
Осевые лапки 62 крючков 58 имеют соответствующие захваты 66 для зацепления с внутренней кромкой 44 кольца 40, причем каждый захват 66 содержит радиальную поверхность 68 со стороны входа потока и наклонную или со снятой фаской поверхность 70 со стороны выхода потока.
Вторые радиальные лапки 64 крючков 58 имеют отверстия 72, обеспечивающие возможность захвата или зацепления упомянутых лапок 64 приспособлениями, что будет описано более подробно ниже.
Радиальный размер кольца 56 меньше относительно радиального размера канавки 32 в диске 10, и вторые радиальные лапки 64 крючков 58 по форме и размерам, по существу, близки к форме и размерам впадин 54 в кромке 50 канавки 32, так что замок 42 может быть помещен без деформирования в канавку 32 с помощью перемещения в осевом направлении, и при этом его вторые радиальные лапки 64 совмещаются с впадинами 54 кромки 50 канавки 32, как показано на Фиг.3.
Далее замок 42 поворачивается вокруг оси диска 10 внутри кольцевой канавки 32 из положения, показанного на Фиг.3, в положение установки кольца, показанное на Фиг.5.
В этом положении вторые радиальные лапки 64 крючков 58 совмещены с выступами 52 кромки 50 канавки 32, что позволяет впадинам 54 кромки 50 канавки 32 принять выступы внутренней по радиусу кромки 44 кольца 40, как показано на Фиг.6.
Внутренняя по радиусу кромка 44 фестончатой или зубчатой формы кольца 40 со стороны выхода потока состоит из выступов 74, чередующихся с впадинами 76, которые равномерно распределены по всей окружности кольца 40.
Фестончатая кромка 44 кольца 40 совпадает с фестончатой кромкой 50 канавки 32, так что когда замок 42 находится в положении установки кольца 40, как показано на Фиг.5, кольцо 40 может быть введено в канавку 32 путем перемещения в осевом направлении, при этом выступы 74 его кромки 44 совмещены с впадинами 54 кромки 50 канавки 32.
Перемещение кольца 40 вдоль оси по направлению к диску 10 продолжается до тех пор, пока внутренняя по радиусу кромка 44 кольца 40 полностью не войдет в канавку 32, как показано на Фиг.7, при этом его цилиндрическая опорная поверхность 46 входит во внешнюю кромку канавки 32, причем внешний по радиусу участок кольца 40 опирается на концы хвостовиков 14 лопаток 12.
Внешний диаметр впадин 76 фестончатой кромки 44 кольца 40 меньше внешнего диаметра захватов 66, так что при вхождении кромки 44 кольца 40 в канавку 32 крючки 58 упруго деформируются захватами 66, опирающимися на днища впадин 76 в кромке 44 кольца 40. Первые радиальные лапки 60 и осевые лапки 62 крючков 58 подвергаются деформации, и угол между ними меняется, например вместо значения примерно 90° угол становится равным примерно 120°, при этом вторые радиальные лапки 64 выталкиваются без деформации по направлению к оси диска 10.
Наклонные или со снятой фаской поверхности 70 захватов 66 со стороны выхода потока облегчают вхождение кольца 40 в зацепление с захватами 66 крючков 58 и способствуют деформированию лапок 60 и 62 крючков 58, принимая положение, показанное на Фиг.7, где видно, что замок 42 выталкивается по направлению к днищу канавки 32.
Далее кольцо 40 перемещается вместе с замком 42 путем поворачивания вокруг оси диска 10 внутри кольцевой канавки 32 из положения его установки, как показано на Фиг.6, в положение его запирания, как показано на Фиг.8.
В данном положении запирания выступы 74 на внутренней по радиусу кромке 44 кольца 40 совмещены с выступами 52 кромки 50 канавки 32. Замок 42 повернут совместно с кольцом 40, и запирание кольца 40 состоит во введении вторых радиальных лапок 64 крючков 58 замка 42 во впадины 54 кромки 50 канавки 32 со стороны выхода потока, как показано на Фиг.9 и 10, и в зацеплении захватов 66 крючков 58 с поверхностью кромок 44 кольца 40 со стороны выхода потока.
Для того чтобы это выполнить, подходящие приспособления вставляются в упомянутые выше отверстия 72, выполненные во вторых радиальных лапках 64, для того, чтобы вытягивать вторые радиальные лапки 64 вдоль оси со стороны выхода потока либо одну за другой, либо все одновременно, пока радиальные поверхности 68 захватов 66 со стороны входа потока не станут опираться на кольцо 40 со стороны выхода потока во впадинах 76 внутренней кромки 44 кольца 40, и пока вторые радиальные лапки 64 не выровняются с выступами 52 кромки 50 канавки 32 в поперечном направлении.
В этом положении внешний по радиусу конец 48 кольца 40 опирается на хвостовики 14 лопаток 12, при этом поверхность плоского кольца 56 замка 42 со стороны выхода потока опирается на поверхность внутренней кромки 44 кольца 40 со стороны входа потока, чья поверхность со стороны выхода потока опирается на выступы 52 кромки канавки 32 диска 10, причем поверхности 68 захватов 66 крючков 58 замка 42 со стороны входа потока опираются на поверхность кольца 40 со стороны выхода потока, и радиальные лапки 64 крючков 58 находятся между выступами 52 кромки 50 канавки 32 диска 10, так что сборочный узел, состоящий из кольца 40 и замка 42, удерживается от поворота и перемещения относительно диска 10.
Крючки 58 освобождаются путем выталкивания вторых радиальных лапок 64 в осевом направлении со стороны входа потока посредством вышеупомянутых приспособлений, и затем поворотом кольца 40 и замка 42 из положения защелкивания, показанного на Фиг.8, в разобранное положение, показанное на Фиг.6.
Формула изобретения
1. Устройство для фиксирования в осевом направлении лопаток на диске ротора турбомашины, содержащее кольцо, которое с помощью внутренней по радиусу кромки крепится в кольцевой канавке диска и которое внешней по радиусу кромкой опирается на хвостовики лопаток, установленных в канавках по периферии диска, и дополнительно содержащее кольцевой замок, размещенный в кольцевой канавке диска для предотвращения поворота кольца в упомянутой кольцевой канавке, причем упомянутый замок выполнен с возможностью поворота в кольцевой канавке между положением запирания кольца и положением для установки и снятия в кольцевой канавке.
2. Устройство по п.1, в котором внешняя по радиусу кромка кольцевой канавки диска и внутренние по радиусу кромки кольца и кольцевого замка имеют фестончатую или зубчатую форму.
3. Устройство по п.1, в котором замок имеет крючки для взаимодействия путем упругого защелкивания на внутренней по радиусу кромке кольца и между выступами фестончатой или зубчатой кромки кольцевой канавки в положении запирания кольца.
4. Устройство по п.2, в котором замок имеет крючки для взаимодействия путем упругого защелкивания на внутренней по радиусу кромке кольца и между выступами фестончатой или зубчатой кромки кольцевой канавки в положении запирания кольца и в котором крючки кольцевого замка образованы на выступах его внутреннего по радиусу участка.
5. Устройство по п.3, в котором крючки замка содержат радиальные лапки, проходящие к оси замка от его внешнего по радиусу кольцевого участка, и осевые лапки, присоединенные к радиальным лапкам на одних их концах и заканчивающиеся на их других концах в соответствующих захватах, обращенных по радиусу наружу и образующих элементы для фиксации внутренней по радиусу кромки кольца.
6. Устройство по п.5, в котором захваты крючков замка предназначены для частичного сцепления на кольцевых кромках выемок фестончатой или зубчатой кромки кольца при установке кольца по месту путем перемещения вдоль оси внутрь кольцевой канавки диска.
7. Устройство по п.2, в котором для предотвращения движения кольца и замка вдоль оси относительно диска в положении запирания кольца выступы фестончатой или зубчатой кромки кольца совмещены в осевом направлении с выступами фестончатой или зубчатой кромки кольцевой канавки и выступы фестончатого или зубчатого внутреннего по радиусу участка замка, зацепленные во впадины фестончатой или зубчатой кольцевой кромки кольца, зацепляются во впадины фестончатой или зубчатой кольцевой кромки канавки диска и таким образом совмещаются с ними в поперечном направлении для предотвращения поворота замка и кольца относительно диска.
8. Устройство по п.5, в котором осевые лапки крючков вытянуты на своих концах, имея захваты и соответствующие вторые радиальные лапки, отходящие от захватов, причем вторые радиальные лапки включают в себя средства, такие, как отверстия для зацепления или захвата приспособлениями для приложения тянущего усилия для защелкивания захватов на кромке кольца и для приложения выталкивающего усилия для отсоединения захватов от кромки кольца для снятия кольца.
9. Устройство по п.8, в котором вторые радиальные лапки замка, помещенные во впадины фестончатой кромки кольцевой канавки, в положении запирания кольца имеют форму, по существу дополняющую форму вышеупомянутых впадин.
10. Устройство по п.1, в котором в положении запирания кольца внешний по радиусу участок кольцевого замка прижат по оси к внутренней по радиусу кромке кольца, которое прижато по оси к выступу фестончатой кромки кольцевой канавки и которое зажимается в осевом направлении между внешним по радиусу участком кольцевого замка и захватами крючков, образованных на внутреннем по радиусу участке упомянутого замка.
РИСУНКИ
|