|
(21), (22) Заявка: 2007140585/03, 02.11.2007
(24) Дата начала отсчета срока действия патента:
02.11.2007
(46) Опубликовано: 10.06.2009
(56) Список документов, цитированных в отчете о поиске:
Крейнин Е.В. Нетрадиционные термические технологии добычи трудноизвлекаемых топлив: уголь, углеводородное сырье. – М.: ООО «ИРЦ Газпром», 2004, с.104-105. SU 2004785 C1, 15.12.1993. SU 1760787 A1, 20.02.1996. RU 2209984 C2, 10.08.2003. RU 2236599 C2, 20.09.2004. RU 2298093 C1, 27.04.2007. RU 2307244 C1, 27.09.2007. GB 1501310 A, 15.02.1978.
Адрес для переписки:
117420, Москва, ул. Наметкина, 6, ОАО “Газпром промгаз”
|
(72) Автор(ы):
Карасевич Александр Мирославович (RU), Крейнин Ефим Вульфович (RU)
(73) Патентообладатель(и):
Открытое акционерное общество “Газпром промгаз” (ОАО “Газпром промгаз”) (RU)
|
(54) СПОСОБ ЭКСПЛУАТАЦИИ ДУТЬЕВЫХ СКВАЖИН ПОДЗЕМНОГО ГАЗОГЕНЕРАТОРА
(57) Реферат:
Изобретение относится к подземной газификации угольных пластов, а именно к способу эксплуатации дутьевых скважин подземного газогенератора. Способ включает контролируемый подвод воздушного дутья (окислителя) к раскаленной угольной поверхности по длине дутьевой скважины, пробуренной и обсаженной по всей длине, в т.ч. и по угольному пласту. По длине дутьевой скважины осуществляют фиксацию очага горения гидродинамическим регулированием расхода воздушного дутья от минимума, при котором очаг горения перемещают вдоль скважины навстречу нагнетаемому дутью, до максимального расхода, при котором очаг горения фиксируют в ближайшей зоне раскаленной угольной поверхности пласта. Выгазовывают уголь с высокими теплоэнергетическими показателями. После выгазовывания полосы угольного пласта между дутьевой и газоотводящей скважинами на максимальном расходе дутья снижают его расход до минимального и перемещают очаг горения навстречу нагнетаемому воздушному дутью до новой зоны дутьевой скважины. Затем повышают расход дутья до максимального и выгазовывают свежую полосу угольного пласта. Обеспечивает получение высоких теплоэнергетических показателей при осуществлении подземной газификации угля. 2 з.п. ф-лы, 1 ил.
Изобретение относится к подземной газификации угольных пластов на месте их залегания. Способ (согласно изобретению) заключается в оптимизации технологического регламента эксплуатации дутьевых скважин, направленного на решение задачи повышения управляемости подземной газификации угля (ПГУ).
Известен способ ПГУ американской технологии (КРИП), заключающейся в контролируемом подводе окислителя к раскаленной поверхности [1, с.85-86]. Согласно технологии КРИП в дутьевую скважину опускают трубопровод с пропановой горелкой на конце. По мере выгазовывания угольного пласта пропанопровод ступенчато извлекают, автоматически розжигают горелку и прожигают колонну дутьевой скважины. Нагнетаемый в скважину окислитель (кислород, воздух) реагирует с вновь созданной раскаленной поверхностью угольного пласта. Этот способ обеспечивает направленный (контролируемый) подвод дутья к выгазовываемой зоне угольного пласта. Однако, несмотря на теплофизическую разумность технологии КРИП, она сложна в эксплуатации и сопровождается неполнотой выгазовывания угольного пласта между скважинами.
Другим известным техническим решением является возможность перемещения очага горения вдоль бурового канала дутьевой скважины навстречу нагнетаемому в нее воздушному дутью [2]. При этом местоположение очага горения контролируется специальной системой [3]. Недостаток этого способа заключается в отсутствии технологических решений по длительной и контролируемой эксплуатации дутьевых скважин.
Наиболее близким техническим решением является способ контролируемого подвода дутья к угольной поверхности путем периодической установки цементных пробок в колонне дутьевой скважины, простреле колонны скважины над пробкой и организации в этом месте новой зоны газификации [4]. Недостатком этого технического решения является сложность его реализации, обусловленная избыточным давлением в работающем подземном газогенераторе (1-2 кг/см2). Отсутствие строгих рекомендаций по установке цементных пробок при противодавлении в газогенераторе не позволило реализовать это техническое решение на практике.
Целью настоящего изобретения является создание простого и надежного способа переноса контролируемого подвода дутья к реакционной угольной поверхности вдоль дутьевой скважины. Такой способ позволит осуществлять ПГУ с высокими теплоэнергетическими показателями.
Поставленная цель достигается тем, что в известном способе ПГУ, заключающемся в контролируемом подводе воздушного дутья (окислителя) к реакционной угольной поверхности по длине обсаженной дутьевой скважины, в т.ч. и по угольному пласту, а также с фиксацией очага горения по ее длине, фиксацию очага горения осуществляют гидродинамическим регулированием воздушного дутья от минимума, при котором очаг горения перемещают вдоль скважины навстречу нагнетаемому дутью, до максимального расхода, при котором очаг горения фиксируют в ближайшей зоне раскаленной поверхности угольного пласта и выгазовывают в ней уголь с высокими теплоэнергетическими показателями. При этом технологический регламент эксплуатации дутьевой скважины осуществляют в следующей последовательности:
– выгазовывают полосу угольного пласта между дутьевой и газоотводящей скважинами на максимальном расходе дутья;
– снижают расход воздушного дутья до минимального (700-900 м3/ч) и перемещают очаг горения навстречу нагнетаемому воздушному дутью до заданной новой зоны дутьевой скважины;
– повышают расход дутья до максимального и выгазовывают в новой зоне свежую полосу угольного пласта.
Кроме того, первую вводимую дутьевую скважину подземного газогенератора оборудуют системой контроля за перемещением очага горения навстречу воздушному дутью, определяют зависимость скорости перемещения очага горения от расхода воздушного дутья и распространяют ее на режимы эксплуатации остальных дутьевых скважин подземного газогенератора. В ходе газификации угольного пласта контролируют его выгазовывание вокруг каждой из дутьевых скважин и обеспечивают равномерное продвижение огневого забоя по всей ширине газогенератора.
Сопоставительный анализ заявляемого изобретения с прототипом показывает, что новое техническое решение отличается простотой исполнения, заключающегося в гидродинамическом регулировании расхода воздушного дутья. Благодаря последнему воспламененная зона угольного пласта перемещается по трассе дутьевой скважины, обеспечивая контролируемый контакт окислителя с реакционной угольной поверхностью. Это отличие является новым в заявляемом изобретении.
Заявляемое техническое решение соответствует изобретательскому уровню, так как позволяет простым гидродинамическим способом регулировать и контролировать перемещение зоны газификации угольного пласта по длине дутьевой скважины.
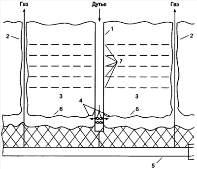
На чертеже представлена принципиальная схема модуля подземного газогенератора, состоящего из одной дутьевой и двух газоотводящих скважин (в плоскости пласта).
Предлагаемый способ эксплуатации дутьевых скважин иллюстрируется следующим образом.
Дутьевую 1 и газоотводящие 2 скважины бурят направленно по угольному пласту 3 (независимо от угла его залегания – от горизонтального до крутопадающего). Эти скважины располагают параллельно друг другу и поочередно. Расстояние между скважинами обусловлено прежде всего мощностью газифицируемого угольного пласта. Скважины 1 и 2 бурят вне зоны сдвижения покрывающего горного массива, т.е. в лучшем варианте – со стороны почвы угольного пласта 3.
Дутьевые скважины 1 обсаживают колонной на всю длину и используют для направленного подвода дутья непосредственно к огневому забою реакционной поверхности 4 угольного пласта 3. Контролируемое взаимодействие окислительного дутья с огневым забоем угольного пласта благоприятствует надежному и управляемому процессу выгазовывания угольного пласта.
По мере выгазовывания угольного пласта, начиная от поперечной горизонтальной скважины 5 к входу дутьевой скважины 1 в угольный пласт 3, колонна дутьевой скважины 1 при противоточном перемещении очага горения ликвидируется и зона 6 взаимодействия окислительного дутья с раскаленной реакционной поверхностью переносится в зону с нетронутым углем 7. Таким образом, зону взаимодействия 7 перемещают вдоль дутьевой скважины 1 по мере выгазовывания угольного пласта, обеспечивая тем самым направленный подвод дутья к огневому забою (без неуправляемых обводных потоков окислителя в подземном генераторе).
Контроль за выгазовыванием угольного пласта 3 между дутьевой 1 и газоотводящими 2 скважинами осуществляют по количеству поданного дутья, а следовательно, и выгазованного угля. Последний равномерно распределяют между упомянутыми скважинами 1 и 2.
Пример реализации заявляемого изобретения.
Согласно заявленному техническому решению технологический регламент эксплуатации дутьевой скважины 1 осуществляется в следующей последовательности:
1. Воздушное дутье нагнетается в скважину 1 в количестве около 10 000 м3/ч, газ отводится через скважины 2.
2. После того как контур выгазовывания 6 (зона взаимодействия окислителя с раскаленной реакционной поверхностью) переносится на 20-30 м, снижают расход воздушного дутья до 700-900 м3/ч.
3. Очаг горения начинает перемещаться по трассе скважины навстречу нагнетаемому воздушному дутью.
4. По ранее зафиксированной зависимости скорости противоточного перемещения очага горения от расхода воздушного дутья останавливают его перемещение на расстоянии 30-50 м от предыдущего контура выгазовывания 6 путем возрастания расхода воздушного дутья до 10 000 м3/ч.
5. Последовательно осуществляя технологические режимы по пп.1-4, контур выгазовывания угольного пласта 6 перемещается по зонам взаимодействия окислителя с нетронутым углем 7.
6. Для уточнения зависимости скорости противоточного перемещения очага горения в конкретных горногеологических условиях первую вводимую дутьевую скважину оборудуют специальной системой контроля за перемещением очага горения [3].
7. Зафиксированную зависимость и оптимальный расход воздушного дутья распределяют на остальные дутьевые скважины.
8. Рассчитывают количество выгазованного угля (по количеству поданного дутья) в зоне между дутьевой и газоотводящей скважинами, обеспечивая равномерное продвижение контура выгазовывания 6 по зонам 7.
Итак, заявляемый способ эксплуатации дутьевых скважин имеет ряд преимуществ по сравнению с традиционной технологией ПГУ:
– надежная управляемость процессом ПГУ;
– стабильное получение газа ПГУ;
– высокая полнота выгазовывания запасов угля (до 90-95%);
– универсальность для любых горногеологических условий залегания газифицируемого угольного пласта.
Настоящее изобретение обеспечивает контролируемый и регулируемый подвод дутья непосредственно к реакционной угольной поверхности, благодаря чему подземная газификация угля осуществляется с высокими теплоэнергетическими показателями.
Источники информации
1. Крейнин Е.В. Нетрадиционные термические технологии добычи трудноизвлекаемых топлив: уголь, углеводородное сырье. – М.: ООО «ИРЦ Газпром», 2004 – 302 с.
2. Патент РФ 2209984, 2003.
3. Патент РФ 2236599, 2004.
4. Патент РФ 2004785, 1993.
Формула изобретения
1. Способ эксплуатации дутьевых скважин подземного газогенератора, заключающийся в контролируемом подводе окислителя к раскаленной угольной поверхности по длине дутьевой скважины, пробуренной и обсаженной по всей длине, в т.ч. и по угольному пласту, а также с фиксацией очага горения по ее длине, отличающийся тем, что фиксацию очага горения по длине дутьевой скважины осуществляют гидродинамическим регулированием расхода воздушного дутья от минимума, при котором очаг горения перемещают вдоль скважины навстречу нагнетаемому дутью, до максимального расхода, при котором очаг горения фиксируют в ближайшей зоне раскаленной угольной поверхности пласта и выгазовывают в ней уголь с высокими теплоэнергетическими показателями, при этом после выгазовывания полосы угольного пласта между дутьевой и газоотводящей скважинами на максимальном расходе дутья снижают его расход до минимального и перемещают очаг горения навстречу нагнетаемому воздушному дутью до новой зоны дутьевой скважины, после чего повышают расход дутья до максимального и выгазовывают свежую полосу угольного пласта.
2. Способ эксплуатации дутьевых скважин подземного газогенератора по п.1, отличающийся тем, что в первой вводимой в эксплуатацию дутьевой скважине подземного газогенератора размещают систему контроля за перемещением очага горения навстречу нагнетаемому минимальному расходу воздушного дутья, определяют зависимость скорости противоточного перемещения очага горения от расхода воздушного дутья и распространяют ее на режимы эксплуатации остальных дутьевых скважин подземного газогенератора.
3. Способ эксплуатации дутьевых скважин подземного газогенератора по п.1 или 2, отличающийся тем, что контролируют выгазовывание угля вокруг каждой из дутьевых скважин подземного газогенератора и обеспечивают равномерное продвижение огневого забоя по всей ширине газогенератора.
РИСУНКИ
|