|
|
(21), (22) Заявка: 2006139083/03, 04.04.2005
(24) Дата начала отсчета срока действия патента:
04.04.2005
(30) Конвенционный приоритет:
07.04.2004 US 10/819,593
(43) Дата публикации заявки: 20.05.2008
(46) Опубликовано: 10.06.2009
(56) Список документов, цитированных в отчете о поиске:
US 3957114 А, 18.05.1986. RU2011788 C1, 30.04.1994. RU 2133900 С1, 27.07.1999. RU 2233963 С2, 10.08.2004. US 4624316 А, 25.11.1986. ЕР 0255269 А2, 03.02.1988. GB 2391239 А, 04.02.2004.
(85) Дата перевода заявки PCT на национальную фазу:
07.11.2006
(86) Заявка PCT:
GB 2005/001307 20050404
(87) Публикация PCT:
WO 2005/098197 20051020
Адрес для переписки:
129090, Москва, ул. Б.Спасская, 25, стр.3, ООО “Юридическая фирма Городисский и Партнеры”, пат.пов. С.А.Дорофееву, рег. 146
|
(72) Автор(ы):
СУРДЖААТМАДЖА Джим Б. (US)
(73) Патентообладатель(и):
ХЭЛЛИБЕРТОН ЭНЕРДЖИ СЕРВИСИЗ, ИНК. (US)
|
(54) ОБРАТНЫЙ КЛАПАН, ПЕРЕКЛЮЧАЕМЫЙ ПОТОКОМ
(57) Реферат:
Изобретение относится к клапанам управления потоком или к обратным клапанам, переключаемым потоком для скважинного инструмента. Задача изобретения – обеспечить гибкость циркуляции флюида в скважине. Обратный клапан, переключаемый потоком, содержит корпус, направляющий элемент с проходящим сквозь него отверстием, расположенный внутри корпуса, и клапанный затвор, имеющий головку и шток. Головка имеет верхнюю по потоку поверхность, взаимодействующую с посадочной поверхностью корпуса, когда клапанный затвор находится в первом положении. Палец проходит в канавку так, что следует форме канавки при перемещении клапанного затвора внутри корпуса. Форма канавки имеет такую конфигурацию, чтобы направлять клапанный затвор из первого положения во второе положение при приложении силы к головке и из второго положения в третье положение, когда на головку перестает воздействовать сила, при этом третье положение расположено ниже по потоку относительно первого положения. В зависимости от формы канавки клапана и количества клапанов возможно создавать различные варианты циркуляции без применения клапанных систем или без спускоподъемных операций. 6 н. и 24 з.п. ф-лы, 6 ил.
Предпосылки создания изобретения
Изобретение относится по существу к клапанам управления потоком и, более конкретно, к обратному клапану, переключаемому потоком, для скважинных инструментов.
Для увеличения потока углеводородов из подземных пластов, в которые входят скважины, были разработаны и применялись различные процедуры. Например, широко используемый способ повышения дебита заключается в создании и увеличении разрывов в подземном пласте для создания в нем каналов притока, по которым углеводороды протекают из пласта в скважину. Разрывы в пласте создают путем закачивания в него флюида для гидроразрыва пласта с расходом, который создает достаточное давление в пласте для образования и расширения в нем разрывов. Во флюид для гидроразрыва пласта часто добавляют расклинивающий наполнитель, например, песок, чтобы при закачке этого флюида в пласт и после создания разрыва расклинивающий наполнитель попадал в разрыв и отлагался в нем, препятствуя смыканию разрывов под воздействием подземных сил после прекращения нагнетания флюида для гидроразрыва пласта.
При таком гидроразрыве пласта и при других способах повышения дебита часто применяются инструменты для гидроразрыва и другие инструменты для повышения дебита и заканчивания скважины, в которых для приведения в действие скважинных инструментов для получения требуемого результата используется циркуляция флюида. Управление каналами циркуляции флюида во многих случаях осуществляется с помощью обратных клапанов, таких как шаровые клапаны, которые открываются, когда флюид течет в одном направлении, и закрываются, когда флюид течет в обратном направлении.
Краткое описание изобретения
Согласно одному варианту настоящего изобретения клапан, переключаемый потоком, содержит корпус, направляющий элемент, расположенный в корпусе и имеющий отверстие, и клапанный затвор, имеющий головку и шток. Головка имеет верхнюю по потоку поверхность, которая взаимодействует с посадочной поверхностью, выполненной на корпусе, когда клапанный затвор находится в первом положении. Палец входит в канавку так, что следует форме канавки, когда клапанный затвор перемещается в корпусе. Форма канавки имеет конфигурацию, которая направляет клапанный затвор из первого положения во второе положение, когда к головке приложено усилие, и далее направляет клапанный затвор из второго положения в третье положение, когда воздействие силы на головку прекращается, и это третье положение находится ниже по потоку относительно первого положения.
Некоторые варианты настоящего изобретения обладают многочисленными техническими преимуществами. В некоторых вариантах может быть реализована часть этих преимуществ, все эти преимущества или ни одно из этих преимуществ. Например, согласно определенным вариантам обратный клапан, переключаемый потоком, обеспечивает гибкость циркуляции флюида в скважине. Обратный клапан сконструирован так, что при желании он может перекрывать или разрешать обратную циркуляцию. В зависимости от формы J-образного паза клапана и количества клапанов, буровики могут создавать множество вариантов циркуляции без применения дорогостоящих клапанных систем или без многочисленных спускоподъемных скважинных операций.
Например, во время некоторых операций по гидроразрыву пласта, где используется один или несколько инструментов для гидроразрыва, такой клапан может использоваться как нижний обратный клапан, расположенный под инструментом для гидроразрыва для подачи давления на инструмент, или над инструментом, чтобы перекрыть обратный поток. При использовании в качестве нижнего клапана такой клапан позволяет поднимать давление, реверсировать циркуляцию и, после переключения, обеспечивать в затрубном пространстве циркуляцию с низким давлением и высоким расходом. При использовании в качестве верхнего клапана такой клапан позволяет проводить закачку и затем быстро перекрывать обратный поток (для отсоединения и перемещения трубы) и, после переключения, обеспечивает возможность обратной циркуляции.
Краткое описание чертежей
Фиг.1А и 1В изображают вид в перспективе и вид с торца, соответственно, обратного клапана, переключаемого потоком, по одному варианту настоящего изобретения.
Фиг.2А и 2В – две разные формы канавки по разным вариантам настоящего изобретения.
Фиг.3 изображает скважинный инструмент, содержащий переводник для гидроразрыва пласта, в котором используется пара обратных клапанов с переключением потоком по варианту настоящего изобретения.
Фиг.4 – блок-схема способа регулирования потока флюида в скважине согласно варианту настоящего изобретения.
Подробное описание
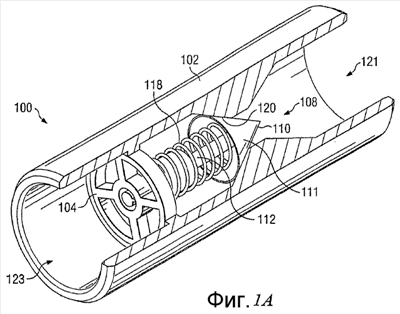
На фиг.1А и 1В представлены виды в перспективе и с торца, соответственно, обратного клапана 100, переключаемого потоком, по одному варианту настоящего изобретения. Как более подробно описано ниже, помимо работы в качестве обратного клапана, обратный клапан 100, переключаемый потоком, может селективно удерживаться в открытом положении для облегчения обратной циркуляции флюида, когда это необходимо. Хотя обратный клапан 100 может использоваться в любой подходящей системе труб, по которой течет флюид, обратный клапан 100 особенно пригоден для использования в скважинных установках, поскольку на наземном оборудовании можно организовать множество вариантов циркуляции, а для скважинного оборудования существует немного вариантов, не требующих дорогих клапанных систем или многократных спускоподъемных скважинных операций.
В показанном варианте обратный клапан 100 содержит корпус 102, направляющий элемент 104, расположенный внутри корпуса 102 и имеющий отверстие 106, проходящее в нем, клапанный затвор 108, имеющий головку 110 и шток 112, и палец или прилив 114, проходящий в канавку 116, выполненную в отверстии 106. Для целей настоящего подробного описания “верхний по потоку” конец обратного клапана 100 обозначен позицией 121, а “нижний по потоку” конец обратного клапана 100 обозначен позицией 123. Однако внутри обратного клапана 100 флюид может течь в любом направлении.
Корпус 102 представляет собой корпус любой подходящей формы, имеющий любую подходящую длину и выполненный из подходящего материала. В одном варианте корпус 102 имеет цилиндрическую форму с диаметром, подходящим для крепления к участкам трубы на верхнем по потоку конце 101 и на нижнем по потоку конце 123 так, что сквозь него может течь соответствующий флюид. Корпус 102 содержит посадочную поверхность 120, которая взаимодействует с верхней по потоку поверхностью 111 головки 110, когда обратный клапан 100 находится в “закрытом” положении. Для облегчения взаимодействия верхней по потоку поверхности 111 с посадочной поверхностью 120 можно использовать смещающий элемент 118, например, пружину или другой подходящий упругий элемент, который противодействует смещению клапанного затвора 108 в направлении потока относительно направляющего элемента 104. Однако, в зависимости от позиционирования и использования обратного клапана 100, смещающий элемент 118 может не требоваться. Хотя смещающий элемент 118 показан расположенным на верхней по потоку стороне направляющего элемента 104, этот смещающий элемент 118 может быть установлен на нижнем по потоку конце направляющего элемента 104. Корпус 102 также может содержать бортик 103 для крепления к нему направляющего элемента 104. Однако направляющий элемент 104 может крепиться к корпусу 2 любым подходящим способом.
Направляющий элемент 104 может крепиться к корпусу 2 любым подходящим способом и предназначен для направления клапанного затвора 108, когда клапанный затвор 108 перемещается в корпусе 102. Направляющий элемент 104 может иметь любую подходящую конфигурацию, которая позволяет флюиду протекать через корпус 102. Например, направляющий элемент 104 может иметь любое количество подходящих отверстий 105, выполненных в нем для пропускания потока флюида. В показанном варианте направляющий элемент 104 содержит канавку 116, выполненную в стенке 115 отверстия 106 для облегчения направления клапанного затвора 108, когда клапанный затвор 108 перемещается либо вниз, либо вверх по потоку. Детали канавки 116 по разным вариантам настоящего изобретения более подробно описаны ниже со ссылками на фиг.2А и 2В.
Клапанный затвор 108 может быть любым подходящим затвором, штоком, поршнем или другим подходящим элементом, который перемещается внутри корпуса 102 для регулирования потока флюида через обратный клапан 100. Состояние клапанного затвора 108 определяет тип потока флюида (или отсутствие потока флюида) через корпус 102. Клапанный затвор 108 содержит головку 110, которая может иметь любую подходящую форму и которая функционирует, открывая или перекрывая поток флюида через корпус 102. В показанном варианте головка 110 имеет коническую форму, однако головка 110 может иметь любую подходящую форму. Шток 112 расположен с возможностью перемещения в отверстии 106 направляющего элемента 104 и может иметь любую подходящую длину и любой подходящий диаметр. Для облегчения направления клапанного затвора 108 в направляющем элементе 104 шток 112 содержит палец 114, который выступает в канавку 116. И палец 114 и канавка 116 могут иметь любой подходящий контур сечения, который способствует направлению пальца 114 канавкой 116. Хотя в показанном варианте палец 114 соединен со штоком 112, а канавка выполнена в стенке отверстия 106, в других вариантах палец 114 может выступать наружу из стенки отверстия 106, а канавка 116 может быть выполнена в штоке 112.
На фиг.2А и 2В показаны две разные формы канавки 116 согласно разным вариантам настоящего изобретения. Фиг.2А и фиг.2В иллюстрируют стенку 115 отверстия 106 в развернутом виде для упрощения описания.
На фиг.2А показана форма 200 канавки 116. Форма 200 содержит пару J-образных пазов, соединенных друг с другом для образования непрерывной канавки 116. Хотя канавка 116 показана на фиг.2А как имеющая ширину 203, приблизительно вдвое превышающую диаметр пальца 114, канавка 116 может иметь любую подходящую ширину 203, а палец 114 может иметь любой подходящий диаметр.
Форма 200, показанная на фиг.2А, имеет конфигурацию, предназначенную для направления пальца 114 из первого положения 204 во второе положение 206, когда к головке 110 приложена сила от верхнего по потоку конца 121 обратного клапана 100. Направление силы показано стрелкой 208 на фиг.2А. Первое положение 204 представляет закрытое состояние клапанного затвора 108, когда верхняя по потоку поверхность 111 взаимодействует с посадочной поверхностью 120 (фиг.1), что перекрывает поток через корпус 102 в обоих направлениях. Когда к головке 110 приложена сила и клапанный затвор 108 перемещается, палец 114 перемещается из первого положения 204 во второе положение 206, как показано стрелкой 201. Это приводит к небольшому повороту клапанного затвора 108, когда палец перемещается по траектории, показанной стрелкой 201. Несмотря на то, что может прилагаться любая сила, в одном варианте сила прилагается флюидом, текущим через обратный клапан 100 с верхнего по потоку направления.
Во втором положении 206 обратный клапан открыт, поэтому флюид может протекать через него. Когда сила, показанная стрелкой 208, прекращает действовать на головку 110, палец 114 перемещается из второго положения 206 в третье положение 210, как показано стрелкой 211, под воздействием силы, создаваемой смещающим элементом 118, или другой подходящей силы. Это также приводит к небольшому повороту клапанного затвора 108, вызванному перемещением пальца по пути, показанному стрелкой 211. Третье положение 210 означает приоткрытое состояние клапана 100, когда флюид все еще может проходить через клапан в обоих направлениях. Это позволяет осуществлять обратную циркуляцию через обратный клапан 100.
Когда к головке 100 от верхнего по потоку конца 121 в последующем прилагается сила, клапанный затвор 108 перемещается внутри корпуса, и палец 114 перемещается из третьего положения 210, обратно во второе положение 206, как показано стрелкой 213. Обратный клапан 100 вновь переходит в полностью открытое состояние, обеспечивая свободный поток флюида. После того как эта приложенная в последующем сила будет снята, палец 114 движется по канавке 116 обратно в первое положение 204, как показано стрелкой 215. Обратный клапан 100 переходит в полностью закрытое положение, когда верхняя по потоку поверхность 111 взаимодействует с посадочной поверхностью 120 на корпусе 102. Другими словами, клапанный затвор 108 совершает один полный оборот и возвращается в первоначальное положение.
Таким образом, в зависимости от количества путей циркуляции флюида, проходящих через обратный клапан 100, обратный клапан 100 может оказаться либо в закрытом положении, либо в открытом положении, в зависимости от того, в каком положении находится палец 114 в канавке 116, которая определяет состояние клапанного затвора 108. Первое положение 204 определяет закрытое положение обратного клапана 100, второе положение 206 определяет открытое положение обратного клапана 100, когда флюид протекает через обратный клапан 100 от верхнего по потоку конца 121, а третье положение 210 обозначает приоткрытое положение обратного клапана 100, при котором разрешена обратная циркуляция флюида от нижней по потоку стороны 123 к верхней по потоку стороне 121. Такая гибкость циркуляции в обратном клапане 100 особенно полезна для скважинных операций, таких как гидроразрыв и другие операции.
На фиг.2В показана форма 220 канавки 116. Форма 220 похожа на форму 200 по фиг.2А, за исключением того, что она содержит три последовательных J-образных участка, соединенных один с другим для образования непрерывной канавки 116. Дополнительный J-образный паз 222 в форме 220 позволяет клапанному затвору 108 находиться в открытом положении, которое допускает обратную циркуляцию после двух циклов потока флюида через обратный клапан 100, в отличие от формы 200, которая закрывает обратный клапан 100 после двух циклов потока флюида через обратный клапан 100. Это иллюстрируется тем путем, который проходит палец 114 при каждом цикле потока флюида.
Более конкретно, перед тем как на головку 110 начнет действовать сила, показанная стрелкой 208, палец 114 находится в первом положении 204 и, когда сила прилагается в первый раз, перемещается по канавке 116, как показано стрелкой 221, во второе положение 206. После прекращения действия силы палец 114 перемещается по канавке 116 в третье положение 210, как показано стрелкой 223. Последующее приложение силы, показанной стрелкой 208, к головке 110 переводит палец 114 из третьего положения 210 обратно во второе положение 206, как показано стрелкой 225. Когда эта последующая сила снимается, палец 114 перемещается по канавке 116 обратно в третье положение 210, а не в первое положение 204, как это происходит в форме 200 на фиг.2А. Палец 114 затем перемещается по канавке 116 обратно во второе положение 206, когда на головку 110 вновь начинает действовать сила, показанная стрелкой 208, а после прекращения действия этой силы палец 114 перемещается обратно в первое положение 204, как показано стрелкой 231. Клапанный затвор 108 теперь вернулся в первоначальное закрытое положение и совершил один полный оборот.
Таким образом, форма 220 позволяет клапанному затвору 108 быть открытой после первого цикла прохода флюида, оставаться открытой после второго цикла прохода флюида и закрываться после третьего цикла прохода флюида. Это обеспечивает обратному клапану 100 больше возможностей для циркуляции флюида, особенно, когда он используется в комбинации с обратным клапаном 100, имеющим канавку формы 200, что более подробно описано ниже со ссылками на фиг.3, где показано применение двух разных обратных клапанов 100 с канавками разной формы.
На фиг.3 схематически показана система 300 для регулирования потока флюида в скважине 302 по одному из вариантов настоящего изобретения. Система 300 иллюстрирует технические преимущества обратного клапана 100, описанного выше со ссылками на фиг.1А-2В. В показанном варианте система 300 содержит скважинный инструмент 304, размещенный между первым обратным клапаном 100а и вторым обратным клапаном 100b, и колонну 310, соединенную с первым обратным клапаном 100а. Колонна 310, первый и второй обратные клапаны 100а, 100b и скважинный инструмент 304 показаны расположенными в скважине 302, которая может быть любой подходящей скважиной, пробуренной любым подходящим способом.
В иллюстративном варианте первый обратный клапан 100а содержит канавку 116, имеющую форму 220, показанную на фиг.2В, а второй обратный клапан 100b содержит канавку 116, имеющую форму 200, показанную на фиг.2А. Кроме того, первый обратный клапан 100а, который находится вверх по потоку от второго обратного клапана 100b, расположен так, что головка 110а обращена вверх по потоку, а головка 110b второго обратного клапана 100b обращена вниз по потоку.
Скважинный инструмент 304 в показанном варианте является переводником для гидроразрыва пласта, который применяется для создания множества разрывов 312 в пласте 314, например по фирменному процессу гидроразрыва Hulliburton SURGIFRAC. Детали этого процесса приведены в патенте США 5,765,642. Настоящее изобретение, однако, допускает использование в качестве скважинного инструмента 304 других типов скважинных инструментов, выполняющих операции другого типа в скважине 302. Скважинный инструмент 304 может соединяться с обратными клапанами 100а, 100b любыми подходящими средствами, например, сваркой или резьбовым соединением. Колонна 310 также может соединяться с первым обратным клапаном 100а любым подходящим способом и может быть любым удлиненным телом, например, секционной трубой или гибкой трубой, которая применяется для транспортировки по ней флюида.
Первый обратный клапан 100а и второй обратный клапан 100b работают подобно описанному выше обратному клапану 100. Разница между первым обратным клапаном 100а и вторым обратным клапаном 100b заключается в том, что первый обратный клапан 100а содержит канавку формы 220, а второй обратный клапан 100b содержит канавку формы 200. Какая комбинация позволяет получить множество возможностей циркуляции флюида для системы 300. Например, первая 320 циркуляция флюида вниз по колонне 310 заставляет первый обратный клапан 100а открыться и оставаться открытым, когда первая циркуляция флюида остановится. Такая циркуляция флюида может использоваться в процессе гидроразрыва пласта, когда второй обратный клапан 100b должен оставаться закрытым, чтобы создать достаточное давление флюида для гидроразрыва пласта 314. Когда эта циркуляция 320 флюида останавливается, первый обратный клапан 100а остается открытым, как описано выше со ссылками на фиг.2В. Как показано на фиг.2В, это открытое состояние соответствует нахождению пальца 114 в третьем положении 210.
Возвращаясь к фиг.3, поскольку первый обратный клапан 100а теперь находится в третьем положении 210, имеется возможность обратной циркуляции через первый обратный клапан 100а. Это позволяет проводить вторую циркуляцию 322 флюида вниз, в затрубное пространство 303 скважины 102 и вверх через второй обратный клапан 100b, скважинный инструмент 304, первый обратный клапан 100а (поскольку он остается открытым) и колонну 310. При этом открывается второй обратный клапан 100b, поскольку циркуляция 322 флюида соответствует расположению пальца 114 во втором положении 206 (фиг.2А). Когда вторая циркуляция 322 флюида прекращается, второй обратный клапан 100b остается открытым, так как палец 114 движется по пути, показанному стрелкой 223, в третье положение 210.
В этой точке в скважину 302 флюид не поступает и первый обратный клапан 100а и второй обратный клапан 100b находятся в открытом положении. Это значит, что по колонне 310 можно начать третью циркуляцию флюида, обозначенную позицией 324, при которой флюид поступает в скважину через первый обратный клапан 100а, скважинный инструмент 304, второй обратный клапан 100b в затрубное пространство 303. Это облегчает создание в затрубном пространстве 303 циркуляции с высоким расходом и малым давлением.
Таким образом, гибкость в скважинной циркуляции флюида экономит много времени и средств, поскольку оператору скважинного инструмента 304 не приходится извлекать скважинный инструмент 304 из скважины 302 для изменения типа обратных клапанов, используемых для получения определенных циркуляционных потоков. Им просто необходимо направлять флюид либо в затрубное пространство 303, либо в колонну 310 для получения нужной циркуляции флюида.
Скважинный инструмент 304 можно затем переместить в другое положение в скважине 302, чтобы провести дополнительную операцию гидроразрыва пласта или другую подходящую операцию в зависимости от типа скважинного инструмента 304. В этом новом положении в скважине 302 первую циркуляцию 320 флюида можно использовать для гидроразрыва другого участка этого пласта 314. После окончания первой циркуляции 320 первый обратный клапан 100а остается открытым, поскольку в нем используется форма 220 канавки, показанная на фиг.2В. Палец 114 теперь находится в положении, обозначенном позицией 330, которая соответствует третьему положению 210, что означает, что первый обратный клапан 100а остается в открытом состоянии. Затем можно выполнять вторую циркуляцию 322 флюида, как показано выше. Однако эта вторая циркуляция 322, после ее прекращения, закрывает второй обратный клапан 100b, поскольку в нем используется канавка формы 200, показанная на фиг.2А. Другими словами, палец 114 возвращается в первое положение 204. Тогда третья циркуляция 324 флюида уже не может проводиться, поскольку второй клапан 100b закрыт. Для открытия второго обратного клапана 100b, нужна последующая циркуляция флюида, подобная циркуляции 322, чтобы палец 114 переместился во второе положение 206, как показано на фиг.2А. Затем можно проводить третью циркуляцию 324 флюида, поскольку и первый обратный клапан 100а и второй обратный клапан 100b открыты.
На фиг.4 представлена блок-схема, иллюстрирующая вариант способа регулирования потока флюида в скважине согласно настоящему изобретению. Способ начинается стадией 400, на которой гидравлический переводник для гидроразрыва, например, скважинный инструмент 304, размещают между первым обратным клапаном 100а и вторым обратным клапаном 100b. На стадии 402 колонну 310 соединяют с первым обратным клапаном 100а. На стадии 404 колонну спускают в скважину 302 так, чтобы второй обратный клапан 100b находился ниже по потоку от первого обратного клапана 100а.
Затем на стадии 406 начинают нагнетание флюида по колонне 310 и его откачку из затрубного пространства 303, после того, как он пройдет через отверстие или отверстия в скважинном инструменте 304, как показано на стадии 408. Затем, на стадии 410 эту циркуляцию останавливают. Прекращение циркуляции флюида приводит к тому, что первый обратный клапан 100а остается открытым.
Затем, на стадии 412 флюид нагнетают через затрубное пространство 303 и откачивают через первый обратный клапан 100а, после того, как на стадии 414 он пройдет через второй обратный клапан 100b и скважинный инструмент 304. Затем, на стадии 416, эту циркуляцию флюида прекращают, что приводит к тому, что второй обратный клапан 100b остается открытым. Затем, на стадии 418 поток циркулирует по колонне 310. Этот флюид откачивается через затрубное пространство 303, как показано на стадии 420, после того, как он пройдет первый обратный клапан 100а, скважинный инструмент 304 и второй обратный клапан 100b. На этом иллюстративный способ, показанный на фиг.4, завершается.
Хотя некоторые варианты настоящего изобретения описаны подробно, специалистам понятны различные возможные изменения и модификации. Настоящее изобретение охватывает такие изменения и модификации, и его объем определяется прилагаемой формулой изобретения.
Формула изобретения
1. Обратный клапан, переключаемый потоком, содержащий корпус, направляющий элемент, расположенный в корпусе и имеющий отверстие, проходящее сквозь него, и клапанный затвор, имеющий головку и шток, при этом головка имеет верхнюю по потоку поверхность, взаимодействующую с посадочной поверхностью корпуса, когда клапанный затвор находится в первом положении, направляющий элемент и клапанный затвор, каждый, имеет палец или канавку, причем палец проходит в канавку так, что он следует форме канавки при перемещении клапанного затвора внутри корпуса, форма канавки имеет такую конфигурацию, чтобы направлять клапанный затвор из первого положения во второе положение при действии силы на головку и из второго положения в третье положение при прекращении действия силы на головку, при этом третье положение находится ниже по потоку относительно первого положения.
2. Клапан по п.1, в котором форма канавки дополнительно имеет такую конфигурацию, чтобы направлять клапанный затвор из третьего положения в четвертое положение при приложении к головке последующей силы и из четвертого положения обратно в первое положение при отсутствии действия силы на головку.
3. Клапан по п.1, в котором канавка выполнена в стенке, определяющей отверстие, и палец соединен со штоком клапанного затвора.
4. Клапан по п.1, в котором канавка выполнена в штоке клапанного затвора и палец соединен со стенкой, определяющей отверстие.
5. Клапан по п.1, дополнительно содержащий смещающий элемент, расположенный в корпусе для противодействия перемещению клапанного затвора вниз по потоку относительно направляющего элемента.
6. Клапан по п.5, в котором смещающий элемент является пружиной.
7. Клапан по п.1, в котором головка содержит конус.
8. Клапан по п.1, в котором ширина канавки приблизительно вдвое превышает диаметр пальца.
9. Клапан по п.1, в котором силой является флюид.
10. Способ регулирования потока флюида через обратный клапан, включающий следующие стадии: приложение силы к верхней по потоку поверхности клапанного затвора для перемещения клапанного затвора из первого положения во второе положение за счет следования пальцем форме канавки; прекращение воздействия силы на верхнюю по потоку поверхность клапанного затвора для перемещения клапанного затвора из второго положения в третье положение за счет продолжения следования пальцем форме канавки, причем третье положение находится ниже по потоку от первого положения; приложение последующей силы к верхней по потоку поверхности клапанного затвора для перемещения клапанного затвора из третьего положения в четвертое положение за счет продолжения следования пальцем форме канавки; прекращение воздействия последующей силы на верхнюю по потоку поверхность клапанного затвора для перемещения клапанного затвора из четвертого положения обратно в первое положение за счет продолжения следования пальцем форме канавки.
11. Способ по п.10, дополнительно содержащий стадию противодействия перемещению клапанного затвора вниз по потоку смещающим элементом.
12. Способ по п.11, в котором смещающим элементом является пружина.
13. Способ по п.10, в котором приложение силы включает приложение силы флюида.
14. Способ регулирования потока флюида в скважине, включающий следующие стадии: размещение переводника для гидроразрыва между первым обратным клапаном и вторым обратным клапаном; соединение колонны с первым обратным клапаном; размещение колонны в скважине так, чтобы второй обратный клапан находился ниже по потоку относительно первого обратного клапана; нагнетание флюида вниз по колонне для перевода первого клапана в открытое положение; откачивание флюида из затрубного пространства скважины после его прохождения сквозь отверстие в переводнике для гидроразрыва; прекращение закачки флюида в скважину через колонну, тем самым заставляя первый обратный клапан оставаться в открытом состоянии; закачивание флюида через затрубное пространство для открывания второго обратного клапана; откачивание флюида через первый обратный клапан.
15. Способ по п.14, дополнительно содержащий стадию прекращения закачки флюида в затрубное пространство, тем самым заставляя второй клапан оставаться открытым, закачивания флюида через колонну и откачивания флюида через затрубное пространство.
16. Способ по п.14, дополнительно содержащий стадию прекращения закачки флюида через колонну, тем самым заставляя первый клапан перейти в закрытое положение.
17. Способ по п.14, дополнительно содержащий стадии прекращения закачки флюида через колонну, тем самым заставляя первый клапан оставаться в открытом положении.
18. Система регулирования потока флюида в скважине, содержащая первый обратный клапан, второй обратный клапан, переводник для гидроразрыва пласта, расположенный между первым обратным клапаном и вторым обратным клапаном, и колонну, соединенную с первым обратным клапаном и расположенную в скважине так, что второй обратный клапан расположен ниже по потоку относительно первого обратного клапана, при этом первый обратный клапан сконфигурирован так, что первая циркуляция флюида через колонну заставляет первый клапан открыться и оставаться открытым, когда первая циркуляция останавливается, второй обратный клапан сконфигурирован так, что вторая циркуляция флюида через затрубное пространство скважины заставляет первый обратный клапан открыться и оставаться открытым, когда вторая циркуляция флюида останавливается.
19. Система по п.18, в которой первый обратный клапан дополнительно сконфигурирован так, что он закрывается после третьей циркуляции флюида по колонне.
20. Система по п.18, в которой первый обратный клапан дополнительно сконфигурирован так, что он остается открытым после третьей циркуляции флюида по колонне.
21. Система по п.18, в которой второй обратный клапан дополнительно сконфигурирован так, что он закрывается после третьей циркуляции флюида по затрубному пространству.
22. Система по п.18, в которой второй обратный клапан дополнительно сконфигурирован так, что он остается открытым после третьей циркуляции флюида по затрубному пространству.
23. Система по п.18, в которой каждый из первого и второго обратных клапанов содержит: корпус, направляющий элемент, расположенный в корпусе и имеющий отверстие, проходящее сквозь него, и клапанный затвор, имеющий головку и шток, при этом головка имеет верхнюю по потоку поверхность, взаимодействующую с посадочной поверхностью корпуса, когда клапанный затвор находится в закрытом положении, и палец, проходящий в канавку так, что он следует форме канавки при перемещении клапанного затвора внутри корпуса.
24. Обратный клапан, переключаемый потоком, содержащий корпус и клапанный затвор, размещенный в корпусе и выполненный с возможностью в первом состоянии пропускать поток только в одном направлении и во втором состоянии пропускать поток в обоих направлениях и с возможностью селективного переключения флюидом, протекающим через корпус, между первым и вторым состояниями.
25. Клапан по п.24, в котором клапанный затвор дополнительно выполнен с возможностью перекрывать поток в обоих направлениях, находясь в третьем состоянии.
26. Клапан по п.24, в котором клапанный затвор расположен внутри направляющего элемента, расположенного в корпусе, и каждый из направляющего элемента и клапанного затвора имеет палец или канавку, причем палец проходит в канавку так, что он следует форме канавки, когда клапанный затвор перемещается внутри корпуса, и положение пальца в канавке определяет состояние клапанного затвора.
27. Клапан по п.26, дополнительно содержащий смещающий элемент, расположенный в корпусе для противодействия перемещению клапанного затвора относительно направляющего элемента.
28. Клапан по п.24, в котором ширина канавки приблизительно вдвое превышает диаметр пальца.
29. Способ регулирования потока флюида через обратный клапан, содержащий следующие стадии: размещение клапанного затвора в корпусе; обеспечение потока только в одном направлении через корпус, когда клапанный затвор находится в первом состоянии; обеспечение потока в обоих направлениях через корпус, когда клапанный затвор находится во втором состоянии; селективное перемещение клапанного затвора между первым и вторым состояниями потоком флюида через корпус.
30. Способ по п.29, дополнительно содержащий стадию перекрытия потока в обоих направлениях через корпус когда клапанный затвор находится в третьем состоянии.
РИСУНКИ
|
|