|
|
(21), (22) Заявка: 2007144010/12, 29.11.2007
(24) Дата начала отсчета срока действия патента:
29.11.2007
(46) Опубликовано: 10.06.2009
(56) Список документов, цитированных в отчете о поиске:
RU 2254297 С2, 20.06.2005. RU 2033551 C1, 20.04.1995. RU 2155716 C2, 10.09.2000. RU 2305206 C1, 27.08.2007. US 5130029 A, 14.07.1992. DE 3412217 A1, 10.10.1985.
Адрес для переписки:
123458, Москва, ул. Твардовского, 11, кв.92, О.С. Кочетову
|
(72) Автор(ы):
Кочетов Олег Савельевич (RU), Волков Виктор Анатольевич (RU), Колаева Лидия Владимировна (RU)
(73) Патентообладатель(и):
Кочетов Олег Савельевич (RU)
|
(54) ФЛОТАЦИОННО-ФИЛЬТРАЦИОННАЯ УСТАНОВКА
(57) Реферат:
Изобретение относится к очистным сооружениям, используемым, в частности, на моечных станциях автотранспорта. Флотационно-фильтрационная установка содержит всасывающий трубопровод, насосный агрегат, эжектор, соединенный с байпасным трубопроводом и установленный на входе насосного агрегата. Связанный с сатуратором эжектор имеет два штуцера. Один из них служит для ввода раствора реагента и соединяется трубкой с насосом-дозатором, другой – для подсоса атмосферного воздуха. В обоих штуцерах встроены обратные клапаны. Вторая ступень сатуратора содержит манометр и выходную магистраль, соединенную с единым трубопроводом, и через обратный клапан связана с распределительным коллектором. Распределительный коллектор с соплами расположен в нижней части камеры флотации, оснащенной скребковым механизмом, лотком и переливной трубкой, связанной с верхней частью фильтра. Фильтр имеет слой адсорбирующей фильтрующей загрузки, которая удерживается поддерживающей и прижимной рамками. Установка оснащена заборным фильтром, обратным клапаном и защитной сеткой. Защитная сетка установлена на входе в эжектор и служит для предотвращения засорения сопла эжектора. Установка позволяет повысить эффективность очистки сточных вод до степени, позволяющей ее многократное использование. 6 з.п. ф-лы, 4 ил.
Изобретение относится к очистным сооружениям, используемым на различных объектах, в частности на моечных станциях автотранспорта.
Наиболее близким техническим решением является флотационно-фильтрационная установка по RU 2254297, опубл. 20.06.2005. Установка содержит всасывающий трубопровод, насосный агрегат, эжектор, соединенный с байпасным трубопроводом и установленный на входе насосного агрегата. Связанный с сатуратором эжектор имеет два штуцера, один из которых служит для ввода раствора реагента и соединяется трубкой с насосом-дозатором, а другой служит для подсоса атмосферного воздуха. Камера флотации оснащена скребковым механизмом, лотком и переливной трубкой, связанной с верхней частью фильтра, имеющего слой адсорбирующей фильтрующей загрузки, которая удерживается поддерживающей и прижимной рамками. В нижней части камеры флотации расположен распределительный коллектор с соплами.
Недостатком известного очистного сооружения является то, что оно не обеспечивает высокой степени очистки сточных вод.
Задача, на решение которой направлено заявляемое решение, направлено на устранение данного недостатка. При этом обеспечивается технический результат, заключающийся в повышении эффективности очистки сточных вод до степени, позволяющей многократное ее использование.
Указанный технический результат достигается тем, что флотационно-фильтрационная установка, содержащая всасывающий трубопровод, насосный агрегат, эжектор, соединенный с байпасным трубопроводом и установленный на входе насосного агрегата, при этом связанный с сатуратором эжектор имеет два штуцера, один из которых служит для ввода раствора реагента и соединяется трубкой с насосом-дозатором, а другой служит для подсоса атмосферного воздуха, распределительный коллектор с соплами, расположенный в нижней части камеры флотации, оснащенной скребковым механизмом, лотком и переливной трубкой, связанной с верхней частью фильтра, имеющего слой адсорбирующей фильтрующей загрузки, которая удерживается поддерживающей и прижимной рамками, согласно изобретению оснащена заборным фильтром, обратным клапаном, защитной сеткой, установленной на входе в эжектор и служащей для предотвращения засорения сопла эжектора, при этом в обоих штуцерах встроены обратные клапаны, а вторая ступень сатуратора, содержащая манометр и выходную магистраль, соединенную с единым трубопроводом, через обратный клапан связана с распределительным коллектором.
Адсорбент может быть выполнен по форме в виде шариков, а также сплошных или полых цилиндров, зерен произвольной поверхности, получающейся в процессе его изготовления, а также в виде коротких отрезков тонкостенных трубок или колец равного по высоте и диаметру размера, в частности 8, 12, 25 мм.
Для повышения степени очистки газового потока от целевого компонента за счет увеличения площади контакта адсорбента с целевым компонентом адсорбент может быть выполнен по форме в виде полых шаров, на сферической поверхности которых прорезана винтовая канавка, имеющая в сечении, перпендикулярном винтовой линии, профиль типа «седла Берля» или седла «Италлокс».
Адсорбент может быть выполнен по форме в виде цилиндрических колец, на боковой поверхности которых прорезана винтовая канавка, имеющая в сечении, перпендикулярном винтовой линии, профиль типа «седла Берля» или седла «Италлокс».
Также адсорбент может быть выполнен по форме в виде тороидальных колец, имеющих профиль типа «седла Берля» или седла «Италлокс».»
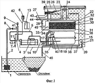
На фиг.1 изображен общий вид флотационно-фильтрационной установки, на фиг.2 – адсорбент адсорбирующей фильтрующей загрузки фильтра, выполненный в форме полых шаров, на сферической поверхности которых прорезана винтовая канавка, на фиг.3 – адсорбент адсорбирующей фильтрующей загрузки фильтра, выполненный в форме цилиндрических колец, на боковой поверхности которых прорезана винтовая канавка, на фиг.4 – разрез Б-Б на фиг.3 с винтовой канавкой, имеющей в сечении, перпендикулярном винтовой линии, профиль типа «седла Берля» или седла «Италлокс».
Флотационно-фильтрационная установка содержит заборный фильтр 1, всасывающий трубопровод 2, обратный клапан 8, соединенный через тройник 41 с краном 9 для запуска насосного агрегата 3. Эжектор 4, соединенный с байпасным трубопроводом 5 и установленный на входе насосного агрегата 3, смонтированного на основании 14. Для первоначального запуска насосного агрегата 3 предусмотрен кран 9. На входе в эжектор 4 установлена защитная сетка, служащая для предотвращения засорения сопла эжектора. Эжектор 4 имеет 2 штуцера 11 и 12. Штуцер 11 служит для ввода раствора реагента и соединяется трубкой 42 с насосом-дозатором 6. Насос-дозатор 6 соединен трубкой с канистрой 13. Штуцер 12 служит для подсоса атмосферного воздуха и имеет регулировочный винт 7. В обоих штуцерах встроены обратные клапаны.
Смешение сточной воды с раствором реагента и воздухом осуществляется в насосе 3, после чего смесь поступает по трубопроводу 10 в двухступенчатый сатуратор 15, 16, где под давлением 0,5-5,5 МПа происходит растворение воздуха в воде и смешение с реагентом. Вторая ступень сатуратора 16 содержит манометр 17 и выходную магистраль 18, соединенную с единым трубопроводом 38. Кроме того, вторая ступень сатуратора 16 предназначена для подвода очищаемой воды по трубопроводу 19, через обратный клапан 40, которая затем поступает в распределительный коллектор 21 через сопла 20, расположенные в нижней части камеры флотации 22. Пена снимается скребковым механизмом (шламоудалителем) 25 и сбрасывается в лоток 26 и далее через патрубок 43 поступает в шламовую емкость (на чертеже не показана) для отстаивания. Для нормальной работы скребковым механизмом используется переливная трубка 39, связанная с верхней частью фильтра 29.
В фильтре 29 вода поступает в нижнюю часть, проходит через слой адсорбирующей фильтрующей загрузки 30, а очищенная вода сбрасывается через переливной карман 33 и патрубок 45, при этом загрузка фильтра 29 удерживается поддерживающей 31 и прижимной 32 рамками. Промывные воды сбрасываются через кран 34 в накопитель. В качестве адсорбента применяют активные угли марок БАУ, АР-А, СКТ-3 и др.
Если нет необходимости в глубокой очистке, то очищенная вода после флотации сбрасывается через кран 27 и патрубок 44. Все емкости установки имеют сливные краны 34, 35, 36, 37, объединенные единым трубопроводом 38, оканчивающимся патрубком 46. Вода, очищенная флотационным способом, поступает через переливную трубу 24 в оголовок 23 и далее через кран 28 на глубокую очистку в засыпной встроенный фильтр 29.
Флотационно-фильтрационная установка работает следующим образом.
Загрязненная вода после предварительной очистки в отстойнике через заборный фильтр 1 по всасывающему трубопроводу 2 через обратный клапан 8 поступает в эжектор 4, установленный на входе насосного агрегата 3. Для первоначального запуска установки корпус насосного агрегата 3 необходимо заполнить водой через кран 9. Рабочий поток жидкости на эжектор поступает по байпасному трубопроводу 5. На входе в эжектор 4 установлена защитная сетка, служащая для предотвращения засорения сопла эжектора. Эжектор 4 имеет 2 штуцера 11 и 12. Штуцер 11 служит для ввода раствора реагента и соединяется трубкой 42 с насосом-дозатором 6. Насос-дозатор 6 соединен трубкой с канистрой 13. Штуцер 12 служит для подсоса атмосферного воздуха и имеет регулировочный винт 7. В обоих штуцерах встроены обратные клапаны.
В насосе 3 происходит смешение сточной воды с раствором реагента и воздухом, после чего смесь поступает по трубопроводу 10 в двухступенчатый сатуратор 15,16. Здесь под давлением 0,50-5,5 МПа происходит растворение воздуха в воде и смешение с реагентом. Из 2-й ступени сатуратора 16 очищаемая вода по трубопроводу 19, через обратный клапан 40 поступает в распределительный коллектор 21 через сопла 20. В нижней части камеры флотации 22 происходит сброс давления и из воды выделяется растворенный воздух в виде мельчайших пузырьков, к которым прилипают частицы загрязнений. Шлам собирается на поверхности флотационной камеры в виде пены, которая снимается скребковым механизмом (шламоудалителем) 25 и сбрасывается в лоток 26 и далее через патрубок 43 поступает в шламовую емкость (не входящую в комплект поставки) для отстаивания. Шлам может быть сдан на переработку как целиком (если имеется такая возможность), так и отдельными фракциями после отстоя и слива сверху нефтепродуктов и воды из средней части. Нефтепродукты следует сдать на переработку или использовать в качестве жидкого топлива. Вода возвращается на очистку в отстойник. Отстоявшиеся в шламовой емкости взвешенные вещества могут быть вывезены и захоронены на полигоне или использованы в качестве добавки в дорожные покрытия на асфальтобетонных заводах.
В фильтре 29 вода поступает в нижнюю часть, проходит через слой адсорбирующей фильтрующей загрузки 30. Очищенная вода сбрасывается через переливной карман 33 и патрубок 45, загрузка фильтра удерживается поддерживающей 31 и прижимной 32 рамками. Загрузка фильтров выбирается в зависимости от технологии очистки сточных вод. Стандартная загрузка фильтра для очистки сточных вод автомоек – пенополиуретановый нефтесорбент (крошка 10-20 мм). При засорении пенополиуретановой крошки фильтр 29 извлекается из установки и промывается сверху струей воды. Промывные воды сбрасываются через кран 34 в накопитель.
Если нет необходимости в глубокой очистке, то очищенная вода после флотации сбрасывается через кран 27 и патрубок 44. Все емкости установки имеют сливные краны 34, 35, 36, 37, объединенные единым трубопроводом 38, оканчивающимся патрубком 46. Электрическая и гидравлическая схемы установки обеспечивают ее работу в автоматическом режиме в соответствии с потреблением оборотной воды для мойки автомобилей либо по мере поступления сточных вод с помощью датчиков минимального и максимального уровней воды в емкости. Вода, очищенная флотационным способом, поступает через переливную трубу 24 в оголовок 23 и далее через кран 28 на глубокую очистку в засыпной встроенный фильтр 29.
Реагентная обработка применяется при повышенных требованиях к очищаемым стокам от автомойки либо при повышенных концентрациях загрязнений сточной воды. Тип, доза и рабочая концентрация реагента принимаются согласно технологии очистки сточных вод. Предлагаемое устройство может работать с реагентной обработкой сточных вод. В связи с тем что основную часть растворенных загрязнений составляют анионные ПАВ, в качестве реагентов применяются катионные флокулянты, например поливинилпиридин.
Предлагаемое устройство предназначено для использования именно замкнутой системы водопотребления. Характерные уровни дозирования флокулянтов при их использовании в процессах осветления находятся в пределах 0,05-0,2 г/м3 в зависимости от качества неочищенной воды.
Формула изобретения
1. Флотационно-фильтрационная установка, содержащая всасывающий трубопровод, насосный агрегат, эжектор, соединенный с байпасным трубопроводом и установленный на входе насосного агрегата, при этом связанный с сатуратором эжектор имеет два штуцера, один из которых служит для ввода раствора реагента и соединяется трубкой с насосом-дозатором, а другой служит для подсоса атмосферного воздуха, распределительный коллектор с соплами, расположенный в нижней части камеры флотации, оснащенной скребковым механизмом, лотком и переливной трубкой, связанной с верхней частью фильтра, имеющего слой адсорбирующей фильтрующей загрузки, которая удерживается поддерживающей и прижимной рамками, отличающаяся тем, что оснащена заборным фильтром, обратным клапаном, защитной сеткой, установленной на входе в эжектор и служащей для предотвращения засорения сопла эжектора, при этом в обоих штуцерах встроены обратные клапаны, а вторая ступень сатуратора, содержащая манометр и выходную магистраль, соединенную с единым трубопроводом, через обратный клапан связана с распределительным коллектором.
2. Флотационно-фильтрационная установка по п.1, отличающаяся тем, что адсорбент выполнен по форме в виде шариков, а также сплошных или полых цилиндров, зерен произвольной поверхности, получающейся в процессе его изготовления, а также в виде коротких отрезков тонкостенных трубок или колец равного по высоте и диаметру размера 8, 12, 25 мм.
3. Флотационно-фильтрационная установка по п.1, отличающаяся тем, что адсорбент выполнен по форме в виде полых шаров, на сферической поверхности которых прорезана винтовая канавка, имеющая в сечении, перпендикулярном винтовой линии, профиль типа «седла Берля» или седла «Италлокс».
4. Флотационно-фильтрационная установка по п.1, отличающаяся тем, что адсорбент выполнен по форме в виде цилиндрических колец, на боковой поверхности которых прорезана винтовая канавка.
5. Флотационно-фильтрационная установка по п.1, отличающаяся тем, что адсорбент выполнен по форме в виде цилиндрических колец, на боковой поверхности которых прорезана винтовая канавка, имеющая в сечении, перпендикулярном винтовой линии, профиль типа «седла Берля» или седла «Италлокс».
6. Флотационно-фильтрационная установка по п.1, отличающаяся тем, что адсорбент выполнен по форме в виде тороидальных колец.
7. Флотационно-фильтрационная установка по п.1, отличающаяся тем, что адсорбент выполнен по форме в виде тороидальных колец, имеющих профиль типа «седла Берля» или седла «Италлокс».
РИСУНКИ
|
|