|
|
(21), (22) Заявка: 2007145796/11, 10.12.2007
(24) Дата начала отсчета срока действия патента:
10.12.2007
(46) Опубликовано: 10.06.2009
(56) Список документов, цитированных в отчете о поиске:
RU 2017679 С1, 15.08.1994. GB 1405750 А, 10.09.1975. US 4620627 А, 04.11.1986. DE 3014042 А1, 15.10.1981. JP 5116736 А, 14.05.1993.
Адрес для переписки:
644018, г.Омск, 5-я Кордная, 4, ФГУП “НПП “Прогресс”
|
(72) Автор(ы):
Балашенко Валерий Михайлович (RU), Ленкова Нина Александровна (RU)
(73) Патентообладатель(и):
Федеральное государственное унитарное предприятие “Научно-производственное предприятие “Прогресс” (ФГУП “НПП “Прогресс”) (RU)
|
(54) УСТРОЙСТВО ДЛЯ УБОРКИ ПРОСЫПИ
(57) Реферат:
Изобретение относится к конвейерному транспорту, предназначено для уборки просыпи в концевой части ленточного конвейера и может быть использовано на предприятиях, применяющих ленточные конвейеры, транспортирующие сыпучие материалы. Устройство для уборки просыпи включает герметичный корпус (1) из двух соединенных между собой полутруб, охватывающих став ленточного конвейера в его концевой части вне зоны опор натяжного барабана, установленный в нем рабочий орган, выполненный в виде замкнутого контура, и привод с передающими звездочками. Подбор и доставка просыпи к рабочему органу осуществляется шнеком (5), смонтированным в герметичном кожухе (6) под концевой частью ленточного конвейера. Рабочий орган выполнен в виде стального троса с закрепленными на нем скребками, а движение рабочего органа внутри герметичного корпуса осуществляется с помощью звездочки, установленной на валу шнека. Изобретение повышает качество уборки просыпи вследствие исключения попадания просыпи в окружающую среду и повышает экологичность. 1 з.п.ф-лы, 2 ил.
Изобретение относится к конвейерному транспорту и предназначено для уборки просыпи в концевой части ленточного конвейера и может быть использовано на предприятиях, применяющих ленточные конвейеры, транспортирующие сыпучие материалы.
Известен подборщик просыпи (см. а.с. 1689240, B65G 45/00, опубл. 07.11.91), содержащий рабочий орган в виде замкнутого, охватывающего став ленточного конвейера контура с ковшами.
Недостатком этого устройства является загрязнение окружающей среды при уборке мелкодисперсного материала.
Наиболее близким к изобретению по технической сущности и достигаемому результату является устройство для уборки просыпи мелкодисперсного материала (см. патент 2017679, B65G 45/00, опубл. 05.08.94), содержащее установленный в герметичном корпусе рабочий орган в виде замкнутого, охватывающего став ленточного конвейера контура с ковшами, тяговый элемент, привод и несущие звездочки.
Однако недостатком известных устройств является снижение качества экологически чистой уборки просыпи из-за попадания материала в окружающую среду во время ремонта узлов натяжного барабана и натяжения ленты конвейера, происходящего в результате ограничения доступа к опорам натяжного барабана, расположенным внутри герметичного корпуса.
Техническим результатом предлагаемого изобретения является повышение качества экологически чистой уборки просыпи вследствие исключения попадания материала просыпи в окружающую среду во время ремонта узлов натяжного барабана и натяжения ленты конвейера.
Технический результат достигается тем, что в предложенном устройстве в качестве герметичного корпуса используются две соединенных между собой полутрубы, охватывающих став ленточного конвейера в его концевой части вне зоны опор натяжного барабана. При этом подбор и доставка просыпи материала к рабочему органу осуществляется шнеком, установленным в герметичном кожухе под концевой частью ленточного конвейера.
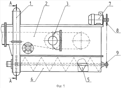
Предлагаемое устройство поясняется чертежами:
фиг.1 – общий вид устройства,
фиг.2 – сечение А-А фиг.1.
Устройство для уборки просыпи состоит из герметичного корпуса 1, выполненного в виде двух соединенных между собой полутруб, охватывающих став ленточного конвейера 2 вне зоны опор натяжного барабана 3, рабочего органа 4, установленного в корпусе 1 и представляющего собой замкнутый контур из стального троса с закрепленными на нем скребками, шнека 5, смонтированного в герметичном кожухе 6 под концевой частью ленточного конвейера, привода 7 с ведущей звездочкой 8 и установленных на валу шнека 5 звездочек 9 и 10.
Устройство для уборки просыпи работает следующим образом.
Привод 7 через звездочки 8 и 9 передает движение шнеку 5, который, вращаясь в герметичном кожухе 6, подбирает просыпь под концевой частью ленточного конвейера 2 и доставляет ее к рабочему органу 4 предлагаемого устройства. Звездочка 10, установленная на валу шнека 4, приводит в движение рабочий орган 4, скребки которого перемещают просыпь в герметичном корпусе 1 в верхнее положение, где материал просыпи высыпается на грузонесущую ветвь конвейерной ленты 11.
Формула изобретения
1. Устройство для уборки просыпи, включающее герметичный корпус, установленный в нем рабочий орган, выполненный в виде замкнутого, охватывающего став ленточного конвейера контура, и привод с передающими звездочками, отличающееся тем, что герметичный корпус устройства представляет собой две соединенные между собой полутрубы, охватывающие став ленточного конвейера в его концевой части вне зоны опор натяжного барабана, а подбор и доставка просыпи к рабочему органу осуществляется шнеком, смонтированным в герметичном кожухе под концевой частью ленточного конвейера.
2. Устройство по п.1, в котором рабочий орган выполнен в виде стального троса с закрепленными на нем скребками, а движение рабочего органа внутри герметичного корпуса осуществляется с помощью звездочки, установленной на валу шнека.
РИСУНКИ
|
|