|
|
(21), (22) Заявка: 2007138098/02, 05.03.2007
(24) Дата начала отсчета срока действия патента:
05.03.2007
(30) Конвенционный приоритет:
24.04.2006 DE 102006019448.9
(46) Опубликовано: 10.06.2009
(56) Список документов, цитированных в отчете о поиске:
DE 10335527 A1, 15.02.2005. DE 2035698 A1, 27.01.1972. WO 0121333 A1, 19.03.2001. KR 20040011170 А, 05.02.2004. JP 2000237807 A, 05.09.2000. RU 2251461 C2, 10.05.2005.
(85) Дата перевода заявки PCT на национальную фазу:
15.10.2007
(86) Заявка PCT:
EP 2007/001868 20070305
(87) Публикация PCT:
WO 2007/121806 20071101
Адрес для переписки:
129090, Москва, ул. Б.Спасская, 25, стр.3, ООО “Юридическая фирма Городисский и Партнеры”, пат.пов. А.В.Мицу
|
(72) Автор(ы):
КЕЛЛЕР Карл (DE), РЕИНГ Конрад (DE), ШЕФФЕ Курт (DE)
(73) Патентообладатель(и):
СМС ДЕМАГ АГ (DE)
|
(54) УСТРОЙСТВО ДЛЯ ДЕМОНТАЖА
(57) Реферат:
Изобретение относится к прокатным клетям, в частности к устройству для демонтажа втулки цапфы, подшипниковой втулки и подушки с выполненного коническим участка цапфы валка прокатного валка. Устройство содержит расположенное на надставке цапфы валка прокатного валка прижимное кольцо с буртиком, которое опирается на торцевую поверхность втулки цапфы, между прижимным кольцом с буртиком и торцевой стороной цапфы валка предусмотрен зазор, прижимное кольцо с буртиком связано с втулкой цапфы, и в зазоре предусмотрено, по меньшей мере, одно рабочее тело для демонтажа втулки цапфы и подушки, в качестве рабочего тела использовано текучее и/или газообразное рабочее тело, в частности подшипниковое масло, или механическое рабочее тело, в частности пружина, кольцевая пружина или пакет пружин, или две винтовые пружины, защищенные от смещения частично в кольцевом пазу в торцевой стороне цапфы валка и/или в прижимном кольце с буртиком. Обеспечивается более короткая конструкция и возможность достижения стягивающего движения демонтажа при небольших давлениях рабочей среды. 11 з.п. ф-лы, 2 ил.
Изобретение относится к устройству для демонтажа втулки цапфы, подшипниковой втулки и подушки с выполненного коническим участка цапфы валка прокатного валка, причем на надставке цапфы валка прокатного валка расположено прижимное кольцо с буртиком, которое опирается на торцевую поверхность втулки цапфы.
Устройства для демонтажа подшипникового узла, состоящего из подушки с расположенным в ней подшипником цапфы валка, с цапфы валка опорного валка прокатной клети известны из DE 103 35 527 А1. В этом случае устройство для демонтажа связано с подшипниковым узлом. При оказании давления между цапфой валка и подшипниковым узлом последний снимается в осевом направлении относительно валка. В процессе демонтажа подшипниковый узел опирается на буртик подшипниковой втулки, которая захватывается подшипниковым узлом. Затем подшипниковая втулка зацепляется за буртик втулки цапфы и снимает ее с цапфы валка.
При этом процессе демонтажа суммируются многие мертвые ходы, так что устройство для демонтажа должно пройти большой путь, чтобы можно было снять втулку цапфы с цапфы валка. Из-за этого устройство для демонтажа конструируют очень длинным, так что для этого устройства для демонтажа нужно оставлять соответственно место, вследствие чего в результате требуются большие помещения для демонтажа втулки цапфы вместе с подушкой подшипника. К тому же из-за относительно малых поверхностей поршня устройства для демонтажа нужно прилагать большие давления, чтобы можно было привести в действие устройство для демонтажа.
В основе изобретения лежит задача представить устройство для демонтажа, которое является очень коротким и при котором стягивающее движение достигается уже при малых давлениях.
Для решения этой задачи предлагается, чтобы между прижимным кольцом с буртиком и торцевой стороной цапфы валка был предусмотрен зазор, чтобы прижимное кольцо с буртиком было соединено с втулкой цапфы и чтобы в зазоре была предусмотрена рабочая среда для демонтажа втулки цапфы и подушки.
Благодаря тому что прижимное кольцо с буртиком непосредственно соединено с втулкой цапфы, не нужно преодолевать никаких путей и мертвых ходов прежде, чем усилие демонтажа начнет воздействовать на втулку цапфы. К тому же торцевая сторона цапфы валка своей большой поверхностью противостоит также имеющему большую поверхность прижимному кольцу с буртиком. Благодаря большой поверхности достаточно уже небольших давлений рабочей среды, чтобы снять втулку цапфы с цапфы валка.
Преимуществом является, если в отношении рабочей среды речь идет о текучей или газообразной рабочей среде.
Оправдало себя уплотнение прижимного кольца с буртиком относительно надставки цапфы валка с помощью, по меньшей мере, одного уплотнительного устройства. Таким образом, обеспечивается, что теряется не слишком много рабочей среды и можно надежно создать нужное давление.
Если между прижимным кольцом с буртиком и торцевой поверхностью втулки подшипника также предусмотреть, по меньшей мере, одно уплотнительное устройство, то рабочее пространство станет еще более герметичным. Насосу для создания давления благодаря этому нужно потреблять меньше мощности.
Преимуществом является, если в надставке цапфы валка предусмотрено, по меньшей мере, одно отверстие, через которое может обеспечиваться рабочей средой зазор между торцевой стороной цапфы валка и прижимным кольцом с буртиком. Благодаря этому создается простая возможность попасть в зазор между торцевой поверхностью цапфы валка и прижимным кольцом с буртиком снаружи.
Преимуществом является и то, что отверстие на свободном конце надставки цапфы валка имеет подсоединение, предпочтительно быстро действующую муфту для подсоединения трубопровода с рабочей средой. Таким образом, можно простым способом осуществить соединение емкости с рабочей средой с рабочим пространством между торцевой стороной валка и прижимным кольцом с буртиком.
Особенное преимущество получается благодаря тому, что в качестве рабочей среды находит применение подшипниковое масло, служащее для смазки радиального подшипника. Благодаря этому обеспечивается, что смешивание служащего в качестве рабочей среды масла и выступающего из подшипника в масляной ванне масла не создает проблем.
В качестве альтернативы или также в дополнение можно в качестве рабочей среды использовать механическую рабочую среду.
Преимуществом при этом является, если речь идет о, по меньшей мере, одной предварительно натянутой при насаживании втулки цапфы пружине. Так как прижимное кольцо с буртиком для процесса демонтажа в осевом направлении высвобождается, предварительно натянутая пружина может перемещать прижимное кольцо с буртиком в осевом направлении. Благодаря тому что прижимное кольцо с буртиком непосредственно воздействует на втулку цапфы, она снимется с цапфы валка без прохождения пружинами большого пути снятия напряжения.
Предпочтительным образом в случае пружины речь может идти о кольцеобразной пружине или же о винтовой пружине. Пружины все же, чтобы не получилось нежелательного их смещения, следует располагать в пазу, соответственно в выемке в торцевой стороне цапфы валка и/или в торцевой стороне прижимного кольца с буртиком, противолежащей торцевой стороне цапфы валка.
Изобретение поясняется более подробно на основе чертежа. При этом показывают:
фиг.1 – устройство для демонтажа, работающее с жидкой рабочей средой, и
фиг.2 – устройство для демонтажа, работающее с использованием усилия пружины.
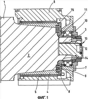
Фиг.1 показывает валок 1, имеющий цапфу 2 валка. На цапфе 2 валка расположена надставка 3 цапфы валка. На цапфу 2 валка натянута втулка 4 цапфы, которая окружена подшипниковой втулкой 5. Подшипниковая втулка 5 поддерживается подушкой 6. Противоположно торцевой стороне 7 цапфы 2 валка расположено прижимное кольцо 8 с буртиком, которое установлено с возможностью перемещения на надставке 3 цапфы валка с уплотнением с помощью уплотнительного устройства 14. Прижимное кольцо 8 с буртиком соединено с втулкой 4 цапфы. Также между прижимным кольцом 8 с буртиком и втулкой 4 цапфы предусмотрен уплотнительный элемент 15. Прижимное кольцо 8 с буртиком имеет призматическую шпонку 9, которая препятствует относительному вращательному движению между цапфой 2 валка и прижимным кольцом 8 с буртиком. Далее показан упорный подшипник 10, который опирается на надставку 3 цапфы и соединен с подушкой 6.
Между торцевой стороной цапфы 2 валка и обращенной к ней стороной прижимного кольца 8 с буртиком предусмотрен зазор 11. Отверстие 12 в надставке 3 цапфы валка создает соединение с зазором снаружи. На свободном конце надставки 3 цапфы валка отверстие имеет муфту 13 для подключения отверстия 12 к не показанному трубопроводу с рабочей средой.
Когда через отверстие 12 подается в зазор 11 рабочая среда, то прижимное кольцо 8 с буртиком перемещается на фигуре вправо, при этом связанная с прижимным кольцом 8 с буртиком втулка 4 цапфы снимается с цапфы 2 валка.
Прижимное кольцо 8 с буртиком перемещает далее через упорный подшипник 10 подушку 6 ее подшипниковой втулкой 5 на фигуре вправо. Этим достигается, что исключаются мертвые ходы, так что достаточно лишь очень короткого хода, чтобы отделить втулку 4 цапфы и подушку 6 с подшипниковой втулкой 5 от цапфы 2 валка. Таким образом, все устройство для демонтажа получается очень коротким.
Благодаря большой нагруженной рабочей средой поверхности достаточно малых давлений, чтобы отделить втулку 4 цапфы от цапфы 2 валка. К этому добавляется, что благодаря непосредственному воздействию прижимного кольца на втулку 4 цапфы и приблизительно непосредственному воздействию на подушку 6 упраздняются дорогостоящие в изготовлении захватные заплечики как на втулке 4 цапфы, так и на подшипниковой втулке 5.
Фиг.2 показывает также валок 1, который имеет цапфу 2 валка. На цапфе 2 валка расположена надставка 3 цапфы валка. На цапфу 2 валка натянута втулка 4 цапфы, которая окружена подшипниковой втулкой 5. Подшипниковая втулка 5 поддерживается подушкой 6. В торцевой стороне 7′ цапфы 2 валка предусмотрены углубления 16, в которых расположены предварительно натянутые пружины 17, опирающиеся на прижимное кольцо 8 с буртиком. Если отвернуть гайку 18 с надставки 3 цапфы валка, то пружины 17 перемещают прижимное кольцо 4 с буртиком в осевом направлении, на фиг.2 вправо. При этом втулка 4 цапфы снимается с цапфы 2 валка.
Прижимное кольцо 8 с буртиком перемещает далее через упорный подшипник 10 подушку 6 с ее подшипниковой втулкой 5, на фиг.2 вправо. Таким образом, достигается, что мертвые ходы исключаются, так что достаточно лишь очень короткого хода, чтобы втулку 4 цапфы и подушку 6 с подшипниковой втулкой 5 отделить от цапфы 2 валка. Таким образом, конструкция всего устройства для демонтажа выполнена очень короткой.
Перечень обозначений
1 валок
2 цапфа валка
3 надставка цапфы валка
4 втулка цапфы
5 подшипниковая втулка
6 подушка
7 торцевая сторона
8 прижимное кольцо с буртиком
9 призматическая шпонка
10 упорный подшипник
11 зазор
12 отверстие
13 муфта
14 уплотнительное устройство
15 уплотнительный элемент
16 углубления
17 пружины
18 гайка.
Формула изобретения
1. Устройство для демонтажа втулки (4) цапфы, подшипниковой втулки (5) и подушки (6) с выполненного коническим участка цапфы (2) валка (1) прокатного валка (1), содержащее расположенное на надставке (3) цапфы валка прокатного валка (1) прижимное кольцо (8) с буртиком, которое опирается на торцевую поверхность втулки (4) цапфы, отличающееся тем, что между прижимным кольцом (8) с буртиком и торцевой стороной (7) цапфы (2) валка предусмотрен зазор (11), прижимное кольцо (8) с буртиком связано с втулкой (4) цапфы и в зазоре (11) предусмотрено, по меньшей мере, одно рабочее тело для демонтажа втулки (4) цапфы и подушки (6).
2. Устройство по п.1, отличающееся тем, что в качестве рабочего тела использовано текучее и/или газообразное рабочее тело.
3. Устройство по п.2, отличающееся тем, что прижимное кольцо (8) с буртиком уплотнено относительно надставки (3) цапфы валка с помощью, по меньшей мере, одного уплотнительного устройства (14).
4. Устройство по п.2 или 3, отличающееся тем, что между прижимным кольцом (8) с буртиком и торцевой поверхностью втулки (4) цапфы предусмотрен, по меньшей мере, один уплотнительный элемент (15).
5. Устройство по п.1, отличающееся тем, что в надставке (3) цапфы валка предусмотрено, по меньшей мере, одно отверстие (12), через которое может снабжаться рабочим телом зазор (11), образованный между торцевой стороной (7) цапфы (2) валка и прижимным кольцом (8) с буртиком.
6. Устройство по п.5, отличающееся тем, что отверстие (12) на свободном конце надставки (3) цапфы валка имеет подсоединение, предпочтительно быстродействующую муфту (13), для подсоединения трубопровода с рабочей средой.
7. Устройство по п.2 или 6, отличающееся тем, что в качестве рабочего тела применено подшипниковое масло, служащее для смазки радиального подшипника.
8. Устройство по п.1, отличающееся тем, что в качестве рабочего тела предусмотрено механическое рабочее тело.
9. Устройство по п.8, отличающееся тем, что предусмотрена, по меньшей мере, одна пружина (17), предварительно напряженная при натягивании втулки (4) цапфы, подшипниковой втулки (5) и подушки.
10. Устройство по п.9, отличающееся тем, что пружина является кольцевой пружиной.
11. Устройство по п.10, отличающееся тем, что кольцевая пружина выполнена в виде пакета пружин и защищена от смещения частично в кольцевом пазу в торцевой стороне (7) цапфы (2) валка и/или в прижимном кольце (8) с буртиком.
12. Устройство по п.9, отличающееся тем, что в качестве пружины (17) использованы, по меньшей мере, две винтовых пружины, которые в равномерно распределенных углублениях (16) на торцевой стороне (7′) цапфы (2) валка и/или в прижимном кольце (8) защищены от смещения.
РИСУНКИ
|
|