|
|
(21), (22) Заявка: 2007124028/03, 26.06.2007
(24) Дата начала отсчета срока действия патента:
26.06.2007
(43) Дата публикации заявки: 10.01.2009
(46) Опубликовано: 10.06.2009
(56) Список документов, цитированных в отчете о поиске:
SU 147087 А, 13.04.1962. SU 419244 А, 13.08.1974. SU 704659 А, 30.12.1979. SU 704660 А, 30.12.1979. SU 1065013 А, 07.01.1984. US 5381976 А, 17.01.1995. US 6971598 В2, 06.12.2005. US 3545691 А, 08.12.1970.
Адрес для переписки:
606443, Нижегородская обл., г. Бор-3, ул. Чугунова, 1, кв.14, Н.Н. Леухину
|
(72) Автор(ы):
Леухин Николай Николаевич (RU)
(73) Патентообладатель(и):
Леухин Николай Николаевич (RU)
|
(54) СПОСОБ УСТАНОВКИ И УСТРОЙСТВО БЫСТРОУСТАНАВЛИВАЕМЫХ БИЛ
(57) Реферат:
Изобретение относится к отрасли промышленности, занимающейся дроблением сырьевых материалов с использованием молотковых дробилок, но чаще всего используется в промышленности строительных материалов. Способ установки бил включает надевание радиальной накладки на основу. Радиальную накладку по пазу в основе надевают на основу со стороны, противоположной направлению вращения бил, а торцевую накладку с усилием, превышающим усилия подпружиненных фиксаторов, также вставляют в основу со стороны, противоположной направлению вращения бил, причем радиальную и торцевую накладки изготавливают из износостойкого ударопрочного материала. Изобретение позволяет повысить надежность работы крепления бил и уменьшить материальные затраты на ремонт, увеличив срок службы бил. 2 н.п. ф-лы, 3 ил.
Изобретение относится к отрасли промышленности, занимающейся дроблением сырьевых материалов с использованием молотковых дробилок, но чаще всего используется в промышленности строительных материалов.
Известны способ установки бил и била быстроустанавливаемая, включающая надевание радиальной накладки на основу (см. авторское свидетельство СССР 147187, опубликованное 13.04.1962).
Известный способ установки бил менее надежен, а била дороже за счет изготовления всей билы из износостойкого и ударопрочного материала.
Предлагаемые цели достигаются тем, что билы выполняются с быстроустанавливаемыми накладками со стороны, противоположной направлению вращения бил, и накладки выполняются из износостойкого ударопрочного материала, что ведет к снижению затрат на ремонт.
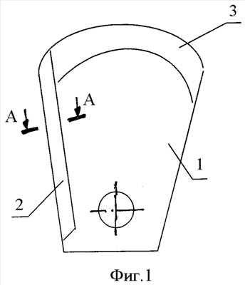
На фиг.1 изображен общий вид билы быстроустанавливаемой. На фиг.2 – вертикальный разрез билы. На фиг.3 – местный вид в разрезе с поворотом на один из узлов стопорения накладки.
Пример осуществления способа
Радиальная накладка 3 надевается по пазу в основе 1 со стороны, противоположной направлению вращения бил (ротора). Торцевая накладка 2 с усилием, превышающим усилия подпружиненных фиксаторов 5, вставляется в основу 1 со стороны, противоположной направлению вращения бил (ротора). Била готова к работе. Съем изношенных накладок 2 и 3 с билы производится в обратном порядке.
Била быстроустанавливаемая включает в себя основу 1 и торцевую 2 и радиальную 3 накладки из износостойкого ударопрочного материала. Радиальная накладка 3 устанавливается за счет перемещения по пазу 4, а торцевая накладка 2 – за счет любого из множества известных подпружиненных фиксаторов 5, выполняемых либо в форме пружины, либо в форме подпружиненного пальца, либо иначе. Также основа имеет упор на радиальной поверхности, предотвращающий смещение радиальной поверхности.
Использование предлагаемого способа установки и устройства позволит повысить надежность работы крепления бил и уменьшить материальные затраты на ремонт (восстановление), увеличив срок их службы.
Формула изобретения
1. Способ установки бил, включающий надевание радиальной накладки на основу, отличающийся тем, что радиальную накладку по пазу в основе надевают на основу со стороны, противоположной направлению вращения бил, а торцевую накладку с усилием, превышающим усилия подпружиненных фиксаторов, также вставляют в основу со стороны, противоположной направлению вращения бил, причем радиальную и торцевую накладки изготавливают из износостойкого ударопрочного материала.
2. Била быстроустанавливаемая, состоящая из основы и радиальной накладки, отличающаяся тем, что радиальная накладка выполнена с возможностью надевания за счет перемещения по пазу на основу со стороны, противоположной направлению вращения бил, а била снабжена торцевой накладкой, вставляемой в основу со стороны, противоположной направлению вращения бил, и закрепляемой с помощью подпружиненных фиксаторов, причем накладки выполнены из износостойкого ударопрочного материала, а основа имеет упор на радиальной поверхности, предотвращающий смещение радиальной накладки.
РИСУНКИ
|
|