|
|
(21), (22) Заявка: 2004114085/12, 07.05.2004
(24) Дата начала отсчета срока действия патента:
07.05.2004
(43) Дата публикации заявки: 27.10.2005
(46) Опубликовано: 10.06.2009
(56) Список документов, цитированных в отчете о поиске:
Гликин М.А., Кутакова Д.А., Принь Е.М., Гликина И.М. Обезвреживание жидких и твердых промышленных отходов аэрозольным катализом. – ХIМIЧНА ПРОМИСЛОВIСТЬ УКРАIНИ, 2000, 1-2, с.80-86. RU 2198024 C1, 10.02.2003. RU 2081695 C1, 20.06.1997. RU 2181072 C1, 10.04.2002. GB 763369 A, 12.12.1956.
Адрес для переписки:
93412, Луганская обл., г. Северодонецк, ш. Строителей, 13, кв.56, М.А. Гликину
|
(72) Автор(ы):
Гликин Марат Аронович (UA), Гликина Ирина Маратовна (UA), Попова Любовь Васильевна (UA), Принь Елена Маратовна (UA)
(73) Патентообладатель(и):
Гликин Марат Аронович (UA), Гликина Ирина Маратовна (UA), Попова Любовь Васильевна (UA), Принь Елена Маратовна (UA)
|
(54) СПОСОБ И РЕАКТОР ДЛЯ ОСУЩЕСТВЛЕНИЯ ГАЗОФАЗНЫХ ХИМИЧЕСКИХ ПРОЦЕССОВ АЭРОЗОЛЬНЫМ НАНОКАТАЛИЗОМ
(57) Реферат:
Изобретение относится к способам и устройствам для осуществления химических процессов в промышленности и может быть использовано для лабораторных исследований кинетических характеристик химических реакций. Газофазные химические процессы осуществляют аэрозольным нанокатализом в реакторе в присутствии инертного материала и гетерогенного катализатора в аэрозольном состоянии с эквивалентным диаметром частиц не более 10 мкм. Реактор или только частицы инертного материала и гетерогенного катализатора подвергают воздействию упругих колебаний с частотой 33-400 колебаний в минуту и амплитудой 10-20 мм с энергией соударений инертных частиц, равной 1,4·10-5 Дж. Концентрация пропущенной парогазовой смеси в зоне реакции составляет от 5,2·10-4 до 7,01·10-3 г/м3. Реактор содержит цилиндрический корпус с входными и выходными патрубками для реагентов и продуктов реакции, люк для ввода гетерогенного катализатора и инертного материала. Окончания патрубков находятся внутри виброожиженного слоя. На концах патрубков установлены газораспределительные фильтры, поверхность которых расположена соосно направлению движения инертных частиц и гетерогенного катализатора. Предлагаемый способ и реактор позволит снизить потребность в катализаторе при одновременном увеличении скорости реакции. 2 н. и 3 з.п. ф-лы, 1 табл., 1 ил. 
Изобретение относится к способам и реакторам для осуществления химических процессов в промышленности и может быть использовано для лабораторных исследований кинетических характеристик химических реакций.
Известный способ осуществления химических процессов в присутствии гетерогенного катализатора, состоящего только из каталитически активного материала, находящегося в аэрозольном состоянии, и инертного материала в реакторе с псевдоожиженным слоем катализатора или инертного материала, в который непрерывно вводят сверху или снизу и выводят снизу или сверху инертный материал или катализатор (патент Украины 9010 заявл. 04.08.88 г., опубл. 30.09.96 г.).
Недостатком известного способа является необходимость рециркуляции катализатора или инертного материала и псевдоожиженное состояние одного из них, что значительно усложняет технологический процесс и реакторное оборудование.
Известен способ осуществления газофазных химических процессов в присутствии гетерогенного катализатора, состоящего только из каталитически активных частиц, находящихся в аэрозольном состоянии, и псевдоожиженного слоя инертного материала, в который непрерывно вводят снизу и выводят сверху катализатор, при этом концентрация катализатора равна 1-15 г/м3 парогазовой смеси при нормальных условиях, с эквивалентным диаметром частиц катализатора не более 10 мкм.
Недостатками известного способа являются:
– необходимость рециркуляции катализатора;
– жесткая связь между диаметром и плотностью частиц инертного материала и линейной скоростью рабочей смеси, характерная для псевдоожиженного слоя, не позволяет существенно изменять время пребывания реагентов в зоне реакции;
– активность и дисперсный состав катализатора, которые обеспечиваются путем неуправляемого хаотичного взаимодействия движущихся частиц инертного материала и катализатора с эффективностью порядка 10%;
– необходимость преодоления сопротивления псевдоожиженного слоя.
Наиболее близким техническим решением для способа и устройства является реакторный блок, который состоит из реактора и системы циркуляции катализатора: реактор – циклон – фильтр – дозатор катализатора – реактор.
Реактор представляет собой цилиндрический аппарат, в нижней части которого находится непровальная газораспределительная решетка, и ниже – ее дополнительный объем, обеспечивающий равномерное распределение большего потока одного из реагентов по сечению распределительной решетки и реактора.
В зоне псевдоожиженного слоя расположены жестко зафиксированные горизонтальные распределительные устройства для подачи других реагентов. Продукты реакции и катализатор отводят сверху реактора и направляют в циклон, а затем в фильтр для отделения частиц катализатора от продуктов реакции. Катализатор возвращают в реактор («Хiмiчна промисловicть Украïни, 1-2, 2000, стр. 80-88).
Недостатком этого устройства является наличие сложного газораспределительного устройства, через которое вводят один из реагентов, обеспечивающий равномерное псевдоожижение инертных частиц по всему сечению аппарата, необходимость дополнительных патрубков и газораспределительных устройств по вводу реагентов, расположенных перпендикулярно направлению движения реагентов и инертного материала, сложность их фиксации из-за больших динамических нагрузок, а также сложная, громоздкая и слабо контролируемая система обеспечения катализатором зоны реакции.
В основу изобретения поставлена задача создания такого способа и реактора для осуществления газофазных химических процессов аэрозольным нанокатализом, в котором благодаря созданию направленного взаимодействия инертных частиц и гетерогенного катализатора, состоящего только из частиц каталитически активного вещества или веществ, находящихся в аэрозольном состоянии, ввода реагентов и вывода продуктов реакции через патрубки, оканчивающиеся фильтрами (сетками), находящимися в виброожиженном слое, достигают повышения активности катализатора и упрощения технологии.
Поставленная задача решается тем, что в способе осуществления газофазных химических процессов аэрозольным нанокатализом в реакторе в присутствии инертного материала и гетерогенного катализатора в аэрозольном состоянии с эквивалентным диаметром частиц не больше 10 мкм согласно изобретению реактор или только частицы инертного материала и гетерогенного катализатора с концентрацией в зоне реакции, равной от 5,2·10-4 до 7,01·10-3 г/м3, пропущенной парогазовой смеси подвергают воздействию упругих колебаний с частотой 33-400 колебаний в минуту, амплитудой 10-20 мм и энергией взаимодействия инертных частиц равной 1,4·10-5 Дж. Размер частицы катализатора находится в пределах 10-8-10-9 м. Масса инертной частицы до 1015 раз превышает массу частицы катализатора. Прочность и истираемость инертных частиц выше, чем у катализатора.
В реакторе для осуществления газофазных химических процессов аэрозольным нанокатализом, включающем цилиндрический корпус с входным и выходным патрубками для реагентов и продуктов реакции, люк для ввода гетерогенного катализатора и инертного материала, поставленная задача решается тем, что окончания патрубков находятся внутри виброожиженного слоя, а на концах патрубков установлены газораспределители-фильтры (сетки), поверхность которых расположена соосно направлению движения инертных частиц и гетерогенного катализатора.
Исследования показали, что активность катализатора, определяемая изменением скорости реакции, возрастает от 2,52 до 8000 г/м3 реакционного объема по сравнению с прототипом. Это достигается при непрерывном взаимодействии виброожиженного слоя инертных частиц с одним и тем же объемом гетерогенного катализатора, что достигается под воздействием упругих колебаний на реактор или только на частицы инертного материала и гетерогенного катализатора. Диапазон частоты колебаний от 33 до 400 колебаний в минуту позволяет управлять и оптимизировать интенсивность взаимодействия инертных частиц и гетерогенного катализатора. Особенностью предлагаемого процесса является непрерывная и длительная механохимактивация каталитически активного материала в аэрозольном состоянии за счет ударного взаимодействия инертных частиц по частицам гетерогенного катализатора непосредственно в зоне реакции. Это приводит к некоторым принципиальным отличиям с прототипом. В условиях прототипа концентрации катализатора в расчете на объем реактора и на объем пропущенной реакционной смеси равны, так как катализатор постоянно вводится и выводится из реактора. В условиях предлагаемого изобретения в реактор вначале вносится некоторое количество катализатора и постоянно вводятся реагенты. При этом катализатор постоянно подвергается механическому воздействию виброожиженного инертного материала. При этом катализатор диспергируется, возникают дефекты структуры и изменяются свойства его поверхности, определяющие его активность. Все это приводит к значительным уменьшениям концентрации катализатора и составляет от 5,2·10-4 до 7,01·10-3 г/м3 пропущенной реакционной смеси. Оптимальным является отношение массы частицы катализатора к массе частицы инертного материала порядка 1:1015, что обеспечивает при соударении необходимую энергию воздействия на катализатор. Материал инертных частиц выбирают таким образом, чтобы его прочность была значительно выше, чем у каталитически активного материала, благодаря чему инертные частицы практически не изнашиваются в течение нескольких лет, а каталитически активный материал диспергируется до наноразмеров, что обеспечивает рост поверхности контакта с реагентами и увеличивает активность катализатора. Благодаря постоянному пребыванию аэрозоля катализатора в зоне реакции, значительно увеличивается предельная нагрузка по сырью в перерасчете на массу катализатора и соответственно уменьшается потребность в нем.
В реакторе создается газодинамический режим, приближенный к идеальному смешению по твердой фазе. В предлагаемом реакторе возможно исследовать и осуществлять промышленное производство с реагентами жидкого исходного агрегатного состояния. Конструкция реактора, в сравнении с прототипом, упрощается. Благодаря соосному расположению патрубков ввода и вывода реагентов, которое совпадает с направлением движения инертных частиц и гетерогенного катализатора, рабочая поверхность газораспределителей-фильтров (сеток) постоянно очищается от частиц катализатора инертными частицами, движущимися соосно. Наличие фильтров (сеток) исключает унос катализатора из зоны реакции и необходимость использования дополнительного оборудования: циклонов и фильтров. Движение слоя инертных частиц за счет внешнего влияния практически исключает сопротивление слоя и потери давления при прохождении материальных потоков сквозь реактор.
Предлагаемый способ осуществляют следующим образом. В реактор загружают инертный материал, сюда же вводят гетерогенный катализатор. Включают виброустройство и не менее 0,5 часов подготавливают каталитическую систему. Перед пуском каталитическую систему нагревают до рабочей температуры с помощью дополнительного пускового подогревателя. Подогрев осуществляют продувкой реактора воздухом, продуктами сгорания или инертным газом, или поступлением тепловой энергии через встроенный в виброслой теплообменник. Реагенты отдельными потоками или в смеси непрерывно подают в нижнюю или верхнюю часть реактора через специальные патрубки-газораспределители, заканчивающиеся внутри аппарата фильтрами (сетками). Реагенты проходят каталитическую систему: виброожиженный слой инертного материала и гетерогенного катализатора. При этом протекает химическое взаимодействие. Время пребывания реагента в виброслое определяется кинетикой конкретного процесса и при необходимости легко изменяется в широких пределах. Продукты реакции выводят через специальные патрубки, сконструированные аналогично описанному ранее, но точка их отбора расположена выше по ходу газа. Продукты реакции направляют на утилизацию тепла и дальше на выделение целевых продуктов.
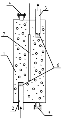
Для осуществления предлагаемого способа разработан реактор, техническая сущность и принцип работы которого поясняются чертежом, на котором показаны: 1 – реактор; 2 – патрубок ввода; 3 – патрубок вывода; 4, 5 – люки для ввода и вывода каталитической системы; 6 – фильтрующий элемент; 7 – виброустройство.
Реактор 1 представляет собой цилиндрический аппарат с входным и выходным патрубками 2, 3 для реагентов и продуктов реакции (количество патрубков определяется запасом давления на входе в реактор), люками 4, 5 для ввода и вывода инертного материала и гетерогенного катализатора. Окончания патрубков-газораспределителей 2, 3 находятся внутри виброожиженного слоя, на концах которых установлены фильтры (сетки) 6. Внутри реактора установлено виброустройство 7. Прежде чем подавать реагенты в реактор, вводят каталитическую систему, включают виброустройство. Каталитическую систему нагревают до необходимой температуры. Реагенты вводят снизу или сверху через патрубки 2, 3, на концах которых установлены фильтры (сетки) 6, благодаря которым катализатор не выносится из зоны реакции, и совместно с вибрацией осуществляется газораспределение входящих и выходящих потоков.
Лабораторный реактор для исследования кинетики работает следующим образом. Реактор тщательно продувают, по необходимости промывают растворителем. Затем в него помещают инертный материал и требуемую навеску катализатора Закрывают люк, монтируют в трубчатую печь, соединяют с виброустройством и системой коммуникаций. Проверяют герметичность системы. Затем включают печь и разогревают реактор до заданной температуры. В реактор подают газоподобный реагент – воздух и включают виброустройство. По состоянию фильтра, установленного на линии продуктов реакции, контролируют работу фильтра, вмонтированного в реактор. В случае выноса катализатора из зоны реакции опыт прекращают и устраняют причину выноса катализатора.
Если принять, согласно исследованиям, что унос катализатора составляет не более 2% в сутки, то помещенный в реактор катализатор не теряет активности в течение 50 суток. В промышленности унос катализатора компенсируется периодическим вводом дополнительного катализатора. При этом за 50 суток потери катализатора станут вдвое больше и составят 2,52·10-4 до 7,01·10-3 г/м3 пропущенной реакционной смеси.
Пример 1 (сравнительный)
Природный газ окисляют кислородом воздуха в реакторе проточного типа с внутренним диаметром 0,05 м и высотой 1,2 м, начальный разогрев которого обеспечивают электрообогревателем. Воздух, являющийся псевдоожижающим агентом твердого инертного материала, подают в нижнюю зону реактора. Объем псевдоожиженного инертного материала, в качестве которого используют стеклянные шарики диаметром 0,7-1,0 мм составляет 1000 см3. Природный газ подают в нижнюю зону реактора. Проточным компонентом является катализатор глубокого окисления, в качестве которого используются металлы переходной группы, их оксиды и соединения. Катализатор подают в нижнюю часть реактора, а выводят с верхней и возвращают на начало процесса, окисление проводят при температуре 600°С. Концентрацию катализатора в зоне реакции определяют по запылению отходящих газов непосредственно после реактора.
Примеры 8 и 12 проводят в условиях прототипа на установке с псевдоожиженным слоем инертного материала. Катализатор вводят в нижнюю часть аппарата и выводят сверху. Диаметр реактора 50 мм, высота 1,2 м. Результаты исследований приведены в таблице.
Примеры 2-7
Окисление природного газа проводят кислородом воздуха в реакторе с реакционным объемом 38 мл, вмонтированном в трубчатую печь. Диаметр реактора 34 мм, высота 40 мм. Расход воздуха составляет 97,6 г/ч. Инертный материал для создания виброожиженного слоя занимает 70% насыпного объема реактора. В качестве катализатора окисления используют исходные частички оксида железа 400-2000 нм. Катализатор загружают в реактор через люк вместе с твердым инертным материалом. В примерах 2-4 используют в качестве инертного материала стеклянные шарики диаметром 1-1,3 мм, реакцию проводят при температуре 600°С и частоте колебаний 150 колебаний в минуту при изменении амплитуды колебаний в интервале 10-20 мм. В примерах 5-7 используется в качестве инертного материала кварцевый песок диаметром 1-2 мм, реактор разогревают до температуры 700°С и исследуют интервал колебаний 66-168 колебаний в минуту при амплитуде колебаний 10 мм. Об эффективности химического превращения судят по поддержанию в отходящих газах ди- и монооксидов углерода. На основании этих данных рассчитывают скорость химических реакций. Отбор продуктов реакции осуществляют через верхний штуцер реактора. Состав их определяют на сенсорном анализаторе непрерывного контроля MSI-150 Basic. Результаты испытаний приведены в таблице.
Примеры 9-14
Окисление уксусной кислоты и 1,2-дихлорэтана проводят кислородом воздуха. Для проведения процессов используют реактор, вмонтированный в трубчатую печь реакционным объемом 8 мл. Диаметр реактора 20 мм и высота – 25 мм. Расход воздуха – 18,8 г/ч. Частота колебаний – 33-400 мин-1, амплитуда колебаний – 15 мм. Инертный материал для создания виброожиженного слоя (стеклянные шарики диаметром 1-1,3 мм) составляет 70% насыпного объема. Окисляемое вещество подают через нижний патрубок в реактор. В качестве катализатора окисления используют частички оксида железа для примеров 9-12 и оксида меди для примеров 13-14 с начальным размером 400-2000 нм. Катализатор загружают в реактор через люк вместе с твердым инертным материалом. Реактор разогревают до температуры 600°С, а для примеров 13-14 до 580°С, подают воздух и включают виброустройство. Отбор продуктов реакции осуществляют через верхний штуцер реактора. Об эффективности химического превращения судят по содержанию в отходящих газах ди- и монооксидов углерода для примеров 9-12 и диоксида углерода, хлористого водорода и хлора для примеров 13-14. Состав продуктов реакции определяют тетраметрическим методом, на хроматографе «Цвет» и на сенсорном анализаторе непрерывного контроля MSI-150 Basic. Результаты испытаний приведены в таблице.
Результаты экспериментов показали, что объем реактора не влияет на активность катализатора, основной специфичной для данного технологического и аппаратурного оформления процесса характеристикой является частота и амплитуда колебаний.
Приведенные примеры подтверждают, что осуществление процесса предлагаемым способом в предлагаемом реакторе позволяет существенно снизить расход катализатора на единицу перерабатываемого продукта за счет увеличения активности гетерогенного катализатора при сохранении оптимальной степени превращения реагирующих веществ.
Примеры 2-4, 9-11 и 13-14 показывают, что использование виброреактора приводит к значительному росту производительности по сырью в расчете на массу катализатора (столбец 10) по сравнению с данными прототипа. В прототипе катализатор значительное время находится во внешнем транспортном цикле: выход из зоны реакции – циклон – фильтр – дозатор – вход в зону реакции. В приведенных примерах скорость реакции по сравнению с прототипом растет от 2,52 до 8000 раз, что объясняется непрерывностью механохимактивации катализатора в зоне реакции.
Примеры 2-4 показывают, что при постоянном числе колебаний рост их амплитуды в пределах 10-20 мм приводит к увеличению производительности, скорости реакции и сокращению почти в 2000 раз потребности в катализаторе и более чем в 3,5 раза объема реакционной зоны. Снижение последних двух показателей (столбцы 12, 13) приводит к снижению эксплуатационных расходов и капитальных вложений. Это объясняется повышением эффективности активации катализатора по сравнению с прототипом в 2,52 раза.
В примерах 5-7 в качестве инертного материала использовался кварцевый песок произвольной формы. Производительность и скорость реакции снизились, несмотря на рост температуры с 600°С до 700°С. Это объясняется уменьшением интенсивности активации за счет неправильной формы инертного материала. Наилучшие показатели в этой серии имеет пример 5 с наименьшим числом колебаний.
Уксусная кислота в условиях прототипа многократно исследовалась. Производительность и скорость реакции растет в 554 раза, а необходимый объем реактора снижается на эту же величину, потребность в катализаторе снижается в 11000 раз, примеры 9-11.
В примерах 12-14 по сравнению с прототипом объем реактора снижается почти в 8000 раз, а концентрация катализатора уменьшается в 34400 раз.
В современных промышленных реакторах концентрация каталитически активного компонента достигает 200-400 кг/м3 реакционного объема. Таким образом аэрозольный катализ в виброреакторе позволяет снизить потребность в катализаторе при одновременном повышении скорости реакции.
На основании изложенного выше можно сделать вывод, что предлагаемое техническое решение является новым, обладает техническим уровнем и является промышленно применимым.

Формула изобретения
1. Способ осуществления газофазных химических процессов аэрозольным нанокатализом в реакторе в присутствии инертного материала и гетерогенного катализатора в аэрозольном состоянии с эквивалентным диаметром частиц не более 10 мкм, в котором реактор или только частицы инертного материала и гетерогенного катализатора подвергают воздействию упругих колебаний с частотой 33-400 колебаний в минуту и амплитудой 10-20 мм с энергией соударений инертных частиц, равной 1,4·10-5 Дж, при этом концентрация пропущенной парогазовой смеси в зоне реакции составляет от 5,2·10-4 до 7,01·10-3 г/м3.
2. Способ по п.1, отличающийся тем, что размер частицы катализатора находится в пределах 10-9-10-8 м.
3. Способ по п.1 или 2, отличающийся тем, что масса инертной частицы до 1015 раз превышает массу частицы катализатора.
4. Способ по п.1, отличающийся тем, что прочность и истираемость инертных частиц выше, чем у катализатора.
5. Реактор для осуществления газофазных химических процессов аэрозольным нанокатализом, имеющий цилиндрический корпус с входным и выходным патрубками для реагентов и продуктов реакции, люк для ввода гетерогенного катализатора и инертного материала, отличающийся тем, что на концах патрубков, расположенных внутри виброожиженного слоя, установлены газораспределители-фильтры, при этом поверхность патрубков соосна направлению движения инертных частиц и гетерогенного катализатора.
РИСУНКИ
|
|