|
|
(21), (22) Заявка: 2005137078/15, 26.05.2004
(24) Дата начала отсчета срока действия патента:
26.05.2004
(30) Конвенционный приоритет:
06.06.2003 IT 2003А000058 06.06.2003 IT 2003А000059
(43) Дата публикации заявки: 10.06.2006
(46) Опубликовано: 10.06.2009
(56) Список документов, цитированных в отчете о поиске:
SU 1551395 А1, 23.03.1990. SU 871809 А, 15.10.1981. US 3807567 А, 30.04.1974.
(85) Дата перевода заявки PCT на национальную фазу:
10.01.2006
(86) Заявка PCT:
EP 2004/005760 20040526
(87) Публикация PCT:
WO 2004/110587 20041223
Адрес для переписки:
117342, Москва, ул. Миклухо-Маклая, 65, корп.4, кв.34, пат.пов. И.Л.Стояченко, рег. 23
|
(72) Автор(ы):
БАРТАЛУЧЧИ Пьеро (IT), ДЖЕНТИЛИ Лучано (IT)
(73) Патентообладатель(и):
ДИЕММЕ С.П.А. (IT)
|
(54) ПОДАЮЩЕЕ УСТРОЙСТВО ДЛЯ ФИЛЬТР-ПРЕССОВ
(57) Реферат:
Изобретение предназначено для фильтрации. Подающее устройство для фильтр-прессов, снабженных, по крайней мере, двумя пластинами, которые прижимают друг к другу с образованием фильтрационной камеры, по крайней мере, одной фильтровальной тканью, присоединенной к каждой пластине, включает элемент, который размещают между двумя полувыемками, каждая из которых выполнена в одной из сторон указанных, по крайней мере, двух пластин и имеет профиль, соответствующий контуру этого элемента. Концы двух соответствующих профилей элемента подающего устройства соединены вместе, образуя угол, значение которого меньше 180°. Длина элемента, по крайней мере, равна длине стороны пластины, причем этот элемент образует верхнюю сторону камеры и содержит канал коллектора для подачи материала, предназначенного для фильтрации. Технический результат – простота, надежность устройства. 6 з.п. ф-лы, 10 ил.
Область техники
Данное изобретение относится к устройству для подачи материала, предназначенного для фильтрации, к фильтр-прессу, снабженному камерами, имеющими постоянный или изменяющийся объем.
Уровень техники
Известны фильтр-прессы, используемые в различных отраслях промышленности, которые содержат множество подвижных вертикальных пластин, расположенных вдоль горизонтальной оси. Такие пластины расположены между неподвижной балкой и подвижной балкой и могут быть прижаты друг к другу с образованием множества фильтрационных камер.
Каждая пластина содержит два углубления, которые выполнены в противоположных лицевых поверхностях, образующие камеру между двумя взаимно соприкасающимися (контактирующими) пластинами, к которым присоединена фильтровальная ткань, расположенная в каждом из углублений, для отделения твердой фазы (части) от жидкой фазы (части) жидкого или полужидкого материала, предназначенного для фильтрации.
Такие ткани в основном разделяют каждую камеру на первый участок, который соединен с входным каналом для материала, предназначенного для фильтрации, и в котором происходит накопление твердой фазы, и на второй участок, в который проходит отфильтрованная жидкость и который соединен с каналом для ее отвода, выполненным в корпусах пластин.
Входной канал для материала, предназначенного для фильтрации, содержит трубку, имеющую круглое поперечное сечение, вставленную в отверстие, стенки которого образованы двумя соответствующими полувыемками полуцилиндрической формы, выполненными в одной из сторон каждой пластины.
Когда пластины прижимают друг к другу, канал соответственно расположен в отверстии вместе с фильтровальными тканями, которые присоединены к каждой пластине. Следовательно, фильтровальная ткань оказывается зажатой каналом в полувыемках полуцилиндрической формы, что приводит к ее быстрому износу, особенно на остром крае, который образуется между каждой полувыемкой и плоскостью, в которой контактирующие пластины присоединены друг к другу. Это приводит к преждевременному разрыву тканей, которые, следовательно, требуется менять с определенной периодичностью. Цель данного изобретения состоит в том, чтобы преодолеть недостатки предшествующего уровня техники посредством простого, рационального и надежного решения.
Раскрытие изобретения
Данное изобретение достигает указанной цели посредством признаков, приведенных в формуле изобретения.
В частности, данное изобретение представляет собой подающее устройство для фильтр-пресса, снабженного, по крайней мере, двумя пластинами, которые прижимают друг к другу с образованием фильтрационной камеры с помещенными между этими пластинами обычными фильтровальными тканями. Устройство по данному изобретению содержит элемент, который размещают между двумя полувыемками, каждая из которых выполнена в одной из сторон указанных, по крайней мере, двух пластин и имеет профиль, соответствующий контуру этого элемента. Контур элемента устройства, который размещают в полувыемках, выполнен таким, что касательные к нему в плоскости, в которой пластины соединены друг с другом, образуют угол, значение которого меньше 180°. Предпочтительно значение этого угла составляет от 40° до 80°.
Согласно изобретению длина элемента, который размещают в полувыемках пластин, зависит от материала, предназначенного для фильтрации. В определенных случаях длина этого элемента может быть равна длине одной из сторон пластины. Такая конфигурация обладает преимуществом, заключающимся в обеспечении полного заполнения камеры и гомогенного распределения материала внутри нее, в тоже время для заполнения камеры требуется гораздо меньше времени, что сокращает продолжительность производственного цикла.
Краткое описание чертежей
Конструктивные и функциональные особенности данного изобретения станут более понятными из приведенного ниже описания двух предпочтительных вариантов выполнения данного изобретения, приведенных в качестве примера, не ограничивающего рамки изобретения, со ссылками на сопровождающие чертежи.
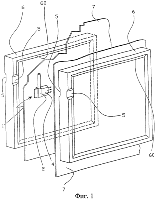
На Фиг.1 представлен общий вид устройства по данному изобретению.
На Фиг.2 представлен частичный разрез устройства по данному изобретению, расположенного между двумя разъединенными пластинами.
На Фиг.3 представлен тот же вид, который показан на Фиг.2, за исключением того, что пластины соединены.
На Фиг.4, 5 и 6 представлены некоторые варианты выполнения данного изобретения.
На Фиг.7 представлен общий вид второго варианта выполнения устройства по данному изобретению.
На Фиг.8 в увеличении показана часть изображения, представленного на Фиг.7.
На Фиг.9 представлен вид в разрезе, выполненном по линии IX-IX, показанной на Фиг.7.
На Фиг.10 представлен вид в разрезе, выполненном по линии IX-IX, причем устройство показано на другом этапе работы.
Предпочтительный вариант выполнения изобретения
На Фиг.1-6 представлено подающее устройство 1, содержащее расположенный сзади коллектор 2, который с одного края соединен с впускным каналом, через который происходит подача материала, предназначенного для фильтрации, а с другого края сообщается с тремя отверстиями 3 для подачи материала. Отверстия 3 выполнены в элементе 4 устройства 1, поперечное сечение элемента имеет удлиненную шестиугольную форму, при этом элемент отходит от коллектора 2.
В других вариантах выполнения данного изобретения в зависимости от типа материала, предназначенного для фильтрации, количество и форма отверстий может быть различным(ой). Элемент 4 устройства 1 размещают между двумя соответствующими полувыемками 5, каждая из которых выполнена в одной из сторон пластины 6. Каждая пластина 6, которая представляет собой пластину известного типа, содержит два внутренних углубления 60, выполненных в противоположных лицевых поверхностях, которые образуют камеру 61 между двумя взаимно контактирующими (соприкасающимися) пластинами. В каждом из углублений 60 размещена фильтровальная ткань 7, предназначенная для отделения твердой фазы от жидкой фазы жидкого или полужидкого материала, предназначенного для фильтрации.
Как показано на Фиг.3, когда пластины прижаты друг к другу, элемент 4 устройства расположен между двумя полувыемками 5 с помещенными там тканями 7. Так как угол , образованный касательными к профилю элемента 4 в плоскости, в которой пластины 6 соединены друг с другом, меньше 180°, ткани не лежат на острых краях, как в предшествующем уровне техники, и не подвергаются износу по этой причине.
На Фиг.4, 5 и 6 представлены некоторые варианты выполнения элемента 4 подающего устройства, поперечное сечение которого имеет ромбовидную форму 40 или имеет профиль 41, выполненный в виде двух дуг, концы которых соединены вместе. В обоих случаях угол , образованный касательными к профилю элемента 4 в плоскости, в которой пластины 6 соединены друг с другом, меньше 180°. Кроме того, на Фиг.5 и 6 представлены варианты выполнения, которые вместо отверстий 3 содержат одну удлиненную прорезь 42.
На Фиг.7-10 показан второй вариант выполнения изобретения, причем при описании второго варианта выполнения изобретения детали, идентичные тем, которые уже были описаны для первого варианта выполнения, обозначены теми же цифрами.
На Фиг.7, 8, 9 и 10 представлено подающее устройство 10, содержащее продолговатый элемент 11, поперечное сечение которого имеет удлиненную шестиугольную форму, предназначенный для размещения в двух соответствующих полувыемках 12, каждая из которых выполнена в одной из сторон пластины 13. Каждая пластина 13, которая представляет собой пластину известного типа, в основном сходна с уже описанной выше пластиной 6 и содержит два внутренних углубления 60, выполненных в противоположных лицевых поверхностях, образующих камеру 61 между двумя взаимно контактирующими пластинами. В каждом из углублений 60 размещена фильтровальная ткань 7, предназначенная для отделения твердой фазы от жидкой фазы жидкого или полужидкого материала, предназначенного для фильтрации.
Длина элемента 11, по крайней мере, равна длине стороны пластин 13, причем, когда пластины 13 прижаты друг к другу, этот элемент образует верхнюю часть камеры 61 (Фиг.10). Внутри элемент 11 снабжен расположенным по центру каналом 110 коллектора, назначением которого является подача материала, предназначенного для фильтрации, к множеству выполненных с равными промежутками отводов 111, отверстия которых расположены в нижней части элемента 11.
Канал 110 коллектора соединен с насосом (не показан на чертежах) для подачи материала, предназначенного для фильтрации.
Отводы 111, рассредоточенные по элементу 11, обеспечивают равномерное распределение материала, предназначенного для фильтрации, внутри камеры и, следовательно, полное и быстрое заполнение камеры, что является преимуществом такого выполнения.
Как показано на Фиг.9 и 10, когда пластины прижаты друг к другу, элемент 11 устройства расположен в двух полувыемках 12 с помещенными там тканями 7. Так как угол , образованный касательными к поперечному сечению элемента 11 в плоскости, в которой пластины 13 соединены друг с другом, меньше 180°, ткани не лежат на острых краях, как в предшествующем уровне техники, и не подвергаются износу по этой причине.
В показанном варианте выполнения поперечное сечение элемента 11 имеет шестиугольную форму, однако в других вариантах выполнения элемент 11 может иметь любую форму, подходящую для данной цели, например косоугольную или ромбовидную форму, или может иметь профиль, выполненный в виде двух дуг, концы которых соединены вместе.
Формула изобретения
1. Подающее устройство для фильтр-прессов, снабженных, по крайней мере, двумя пластинами, которые прижимают друг к другу с образованием фильтрационной камеры, по крайней мере, одной фильтровальной тканью, присоединенной к каждой пластине, причем устройство содержит элемент (11), который размещают между двумя полувыемками, каждая из которых выполнена в одной из сторон указанных, по крайней мере, двух пластин и имеет профиль, соответствующий контуру этого элемента, при этом концы двух соответствующих профилей элемента подающего устройства соединены вместе, образуя угол ( ), значение которого меньше 180°, при этом длина элемента (11), по крайней мере, равна длине стороны пластины, причем этот элемент образует верхнюю сторону камеры, при этом элемент содержит канал (110) коллектора для подачи материала, предназначенного для фильтрации.
2. Устройство по п.1, отличающееся тем, что от канала (110) коллектора отходят, по крайней мере, два отвода (111) для подачи материала, предназначенного для фильтрации.
3. Устройство по п.2, отличающееся тем, что отверстия отводов (111) канала (110) коллектора расположены в нижней части элемента (11).
4. Устройство по п.1, отличающееся тем, что профили элемента подающего устройства выполнены в виде двух дуг.
5. Устройство по п.1, отличающееся тем, что профиль элемента подающего устройства имеет шестиугольную форму.
6. Устройство по п.1, отличающееся тем, что профиль элемента подающего устройства имеет ромбовидную форму.
7. Устройство по п.1, отличающееся тем, что элемент (11) связан с верхней частью пластин.
РИСУНКИ
|
|