|
|
(21), (22) Заявка: 2007110807/12, 18.08.2005
(24) Дата начала отсчета срока действия патента:
18.08.2005
(30) Конвенционный приоритет:
24.08.2004 KR 10-2004-0066661
(43) Дата публикации заявки: 10.10.2008
(46) Опубликовано: 10.06.2009
(56) Список документов, цитированных в отчете о поиске:
JP 2004008566 А, 15.01.2004. RU 2128536 C1, 10.04.1999. JP 2003520065 Т, 02.07.2003. JP 7222815 А, 22.08.1995.
(85) Дата перевода заявки PCT на национальную фазу:
26.03.2007
(86) Заявка PCT:
KR 2005/002711 20050818
(87) Публикация PCT:
WO 2006/022489 20060302
Адрес для переписки:
103735, Москва, ул.Ильинка, 5/2, ООО “Союзпатент”, пат.пов. Ю.Б.Перегудовой, рег. 1103
|
(72) Автор(ы):
КИМ Бонг-Тэк (KR)
(73) Патентообладатель(и):
ШАЛОМ ЭНДЖИНИРИНГ КО., ЛТД. (KR), КИМ Бонг-Тэк (KR)
|
(54) СИСТЕМА ТУШЕНИЯ ПОЖАРА В ПОЕЗДЕ
(57) Реферат:
Изобретение относится к системам автоматического тушения пожара в поезде. Система автоматического тушения пожара в поезде содержит блоки выявления пожара, размещенные в вагонах поезда и выполненные с возможностью выявления возникновения пожара; блок управления для приема сигнала от блока выявления пожара и определение наличия пожара; блоки форсунок, установленные в вагонах поезда и выполненные для распыления огнетушащего вещества, когда блок управления определяет наличие пожара; и блоки подачи огнетушащего вещества, содержащие корпуса, связанные с блоками форсунок и наполненные огнетушащим веществом при заданном давлении, клапаны для избирательного открывания и закрывания корпусов и блоков форсунок и приводы для приведения в действие клапанов под управлением блока управления. Изобретение позволяет увеличить скорость определения пожара в вагоне и принять меры противодействия. 8 з.п. ф-лы, 10 ил.
Область техники, к которой относится изобретение
Настоящее изобретение относится в основном к системам автоматического тушения пожара в поезде, а более конкретно к системам автоматического тушения пожара, которые в случае возникновения пожара в поезде могут автоматически и быстро его потушить, обеспечивают простой контроль за готовностью огнетушителей к работе и состоянием очага возгорания.
Уровень техники
До настоящего времени в случае возникновения пожара в поезде пассажиры пассивно ощущали присутствие огня и затем покидали поезд, или наличие пожара определялось автоматически, и пассажиры покидали поезд по сигналу аварийного оповещения, что давало возможность предотвратить людские потери из-за воздействия пламени, тепла, дыма или ядовитых газов.
Однако до настоящего времени проблема заключалась в том, что машинист не был осведомлен о появлении пожара заранее и продолжал управлять поездом, что приводило к людским потерям, хотя в противном случае он мог бы остановить поезд и эвакуировать людей в безопасное место.
Кроме того, поскольку ранее не мог быть определен каждый подверженный огню вагон поезда, то трудно быстро эвакуировать пассажиров в другие безопасные вагоны. Существует также другая проблема, заключающаяся в том, что в ходе эвакуации пассажиры ошибочно перемещаются в тот вагон поезда, в котором имеется возгорание, что увеличивает людские потери.
Кроме того, проверка прекращения пожара производится визуально, что неудобно. Проблема также заключается и в том, что при возникновении пожара огнетушители могут не работать должным образом, поскольку их работоспособность заранее не проверяется.
По завершении работы огнетушителя трудно узнать, какой огнетушитель работал, т.к. сведения о состоянии огнетушителей не фиксируются. Проблема заключается также в том, что не сообщается о наличии возгораний на станцию, на которую прибывает поезд с горящими вагонами, и, следовательно, не могут быть заранее приняты меры противодействия огню.
Раскрытие изобретения
Техническая проблема
Настоящее изобретение было выполнено для решения упомянутых выше проблем.
Целью настоящего изобретения является создание системы автоматического тушения пожара в поезде, которая способна точно определить вагон, в котором возник пожар, и одновременно с этим безопасно эвакуировать пассажиров и потушить огонь.
Другой целью настоящего изобретения является создание системы автоматического тушения пожара в поезде, которая способна легко установить время ремонта или замены блока с огнетушащим веществом, находящегося в каждом вагоне, путем автоматического отслеживания его состояния.
Еще одной целью настоящего изобретения является создание системы автоматического тушения пожара в поезде, которая способна быстро принимать меры противодействия пожару путем отслеживания в реальном времени состояния вагона поезда, в котором возник пожар, и сведения к минимуму ухудшения аварийной ситуации путем подачи огнетушащего вещества, которое безвредно для человека и эффективно для тушения пожара.
Техническое решение
Система автоматического тушения пожара в поезде в соответствии с предпочтительным вариантом осуществления настоящего изобретения содержит блоки выявления пожара, установленные в вагонах поезда и выполненные для определения момента возникновения пожара, блок управления для приема сигнала с блока выявления пожара и определения наличия пожара; блоки форсунок, установленные в вагонах поезда и выполненные для распыления огнетушащего вещества, когда блок управления определяет наличие пожара; и блоки подачи огнетушащего вещества, содержащие корпуса, которые объединены с блоками форсунок и наполнены огнетушащим веществом под определенным давлением, клапаны для избирательного открывания и закрывания корпусов и блоков форсунок и приводы для открывания клапанов под управлением блока управления.
В соответствии с предпочтительным вариантом блокам выявления пожара присвоены идентификационные номера (ID) выявления пожара, которые соответствуют номерам вагонов поезда. Блокам подачи огнетушащего вещества присвоены идентификационные номера, которые соответствуют ID номерам выявления пожара.
В данном случае блок управления определяет идентификационный номер выявления пожара того блока выявления пожара, который передает сигнал о пожаре. Блок управления приводит в действие привод блока подачи огнетушащего вещества, идентификационный номер которого соответствует идентификационному номеру выявления пожара.
Более того, каждый блок подачи огнетушащего вещества содержит блок датчика давления, определяющий давление заполняющего блок огнетушащего вещества. В предпочтительном варианте блок управления определяет идентификационный номер выявления пожара, который соответствует идентификационному номеру блока подачи огнетушащего вещества, в котором давление ниже заранее определенного значения, и определяет номер вагона, который соответствует идентификационному номеру выявления пожара.
Далее система согласно настоящему изобретению содержит блоки камер наблюдения, помещенные в вагонах поезда и имеющие идентификационные номера камер, которые соответствуют идентификационным номерам выявления пожара. Блок управления определяет идентификационный номер выявления пожара того блока выявления пожара, который передает сигнал о пожаре. Далее блок управления записывает изображение с помощью блока камеры наблюдения, у которого идентификационный номер камеры соответствует идентификационному номеру выявления пожара.
В соответствии с другим предпочтительным вариантом осуществления настоящего изобретения блокам выявления пожара присвоены идентификационные номера выявления пожара, которые соответствуют номерам вагонов поезда. Блокам подачи огнетушащего вещества присвоены идентификационные номера подачи, которые соответствуют номерам вагонов поезда.
В данном случае блок управления определяет номер вагона, который соответствует идентификационному номеру выявления пожара того блока выявления пожара, который передает сигнал о пожаре. Далее в предпочтительном варианте блок управления приводит в действие привод того блока подачи огнетушащего вещества, идентификационный номер подачи которого соответствует номеру вагона поезда.
Более того, каждый блок подачи огнетушащего вещества содержит блок датчика давления, определяющего давление заполняющего блок огнетушащего вещества. Блок управления определяет идентификационный номер выявления пожара, который соответствует идентификационному номеру подачи блока подачи огнетушащего вещества, в котором давление ниже заранее определенного значения. Затем в предпочтительном варианте блок управления определяет номер вагона, который соответствует идентификационному номеру выявления пожара.
Далее система согласно настоящему изобретению содержит блоки камер наблюдения, помещенные в вагонах поезда и имеющие идентификационные номера камеры, которые соответствуют идентификационным номерам выявления пожара. Блок управления определяет номер вагона поезда, который соответствует идентификационному номеру выявления пожара того блока выявления пожара, который передает сигнал о пожаре. Далее блок управления записывает изображение с помощью блока камеры наблюдения, идентификационный номер камеры которого соответствует номеру вагона поезда.
Далее система согласно настоящему изобретению содержит передающие терминалы, которые установлены в вагонах поезда и выполнены для связи с помещением машиниста поезда или зданием станции, и блок вспомогательного питания, который подает вспомогательное питание на приводы, клапаны, датчики давления, блок управления и блоки выявления пожара, когда питание с токосъемника поезда отключено.
Огнетушащим веществом в предпочтительном варианте является фторкетон.
Преимуществом настоящего изобретения является то, что пожар в вагоне поезда может быть быстро и эффективно автоматически потушен. Более того, поскольку вагон, в котором случился пожар, может быть немедленно обнаружен, то быстро могут быть приняты меры противодействия. Работа по тушению пожара может выполняться только в том вагоне, где случился пожар, так что пожар может быть эффективно потушен.
Кроме того, может быть найден блок подачи огнетушащего вещества, не содержащий огнетушащего вещества. Может быть легко и быстро определен момент замены или ремонта блока подачи огнетушащего вещества, наполненного огнетушащим веществом, путем измерения давления огнетушащего вещества, заполняющего блок.
Кроме этого, могут быть быстро приняты меры противодействия пожару за счет наблюдения за состоянием вагона поезда, в котором случился пожар, в реальном масштабе времени.
Даже если возникнет ситуация, когда отключится питание, система сможет стабильно работать, за счет чего огонь может быть быстро потушен.
Краткое описание чертежей
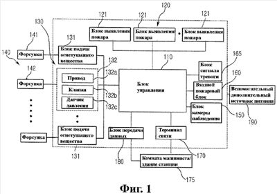
На фиг.1 приведена блок-схема системы автоматического тушения пожара в соответствии с предпочтительным вариантом осуществления настоящего изобретения.
На фиг.2 и 3 приведены диаграммы, поясняющие выполнения системы тушения пожара в поезде по фиг.1.
На фиг.4-7 приведены диаграммы, поясняющие взаимосвязь между предварительно записанным номером вагона, идентификационными номерами блоков выявления пожара, идентификационными номерами блоков подачи огнетушащего вещества и идентификационными номерами блоков камер наблюдения.
На фиг.8 приведена диаграмма, поясняющая способ автоматического тушения пожара в поезде в соответствии с первым предпочтительным вариантом осуществления настоящего изобретения.
На фиг.9 приведена диаграмма, поясняющая способ автоматического тушения пожара в поезде в соответствии со вторым предпочтительным вариантом осуществления настоящего изобретения.
На фиг.10 приведена диаграмма, поясняющая способ определения поврежденного блока подачи агента тушения пожара, который применим к предпочтительному варианту по фиг.8 и 9.
Наилучший предпочтительный вариант осуществления настоящего изобретения
Ниже со ссылкой на фиг.1-3 описан предпочтительный вариант системы автоматического тушения пожара в соответствии с настоящим изобретением.
Система содержит блок 120 выявления пожара, блок 110 управления, блок 140 форсунок и блок 130 подачи огнетушащего вещества.
Блок 120 выявления пожара содержит множество блоков выявления пожара, установленных в соответствующих вагонах 121, 122 , и определяет момент возникновения пожара в вагоне. Блок 120 выявления пожара может определить наличие пожара в поезде путем выявления дыма, тепла или пламени, которые появляются в случае возникновения пожара.
Способ выявления дыма основан на том, что о наличии пожара судят по интенсивности принимаемого светового луча, излучаемого светопередающим блоком. Наличие пожара по дыму определяют с помощью блока 110 управления в ситуации, когда величина принимаемого света меньше заданной величины, учитывая при этом тот факт, что величина принимаемого света уменьшается из-за наличия дыма, который возникает при пожаре.
Способ выявления пожара по теплу основан на том, что с помощью термодатчика измеряют тепло, излучаемое в случае пожара, и с помощью блока 110 управления определяют наличие пожара в том случае, если измеренная температура выше заданного значения температуры.
Способ выявления пожара по пламени основан на том, что наличие пожара определяют по пламени, когда изменение ультрафиолетового или инфракрасного излучения, которые испускает пламя во время горения, выше заданного значения.
Блок 110 управления определяет наличие пожара на основе сигнала с блока 120 выявления пожара и управляет работой блока 120 выявления пожара 120 и блока 130 подачи огнетушащего вещества.
Блок 140 форсунок содержит множество форсунок 141, 142, Когда блок 110 управления определяет наличие пожара, огнетушащее вещество подается из блока 130 подачи огнетушащего вещества, проходит через блок 140 форсунок, при этом в предпочтительном варианте форсунки 141, 142 располагают на потолке вагонов поезда.
Блок 130 подачи огнетушащего вещества включает в себя множество блоков 131, 132 подачи огнетушащего вещества, установленных в соответствующих вагонах поезда. Блок 130 подачи огнетушащего вещества содержит корпуса 131d, 132d, имеющие емкости (не показаны), наполненные огнетушащим веществом при заданном давлении, клапаны 131b, 132b , служащие для избирательного открывания и закрывания канала между емкостью и блоком 140 форсунок, и приводы 131а, 132b , служащие для открывания и закрывания клапанов 131b, 132b
В данном случае блок 130 подачи огнетушащего вещества расположен на потолке поезда, как показано на фиг.2. В другом варианте блок 130 подачи огнетушащего вещества может быть установлен на полу поезда для удобства его монтажа или замены, как показано на фиг.3.
При возникновении пожара приводы 131а, 132а срабатывают по сигналу с блока 110 управления и открываются клапаны 131b, 132b После этого огнетушащее вещество, заполняющее блок, проходит под давлением через блок 140 форсунок наружу, благодаря чему пожар прекращается.
В этом случае в предпочтительном варианте система определяет вагон, в котором случился пожар, и проводит работу по тушению пожара только в том вагоне, где этот пожар случился.
В соответствии с первым предпочтительным вариантом осуществления настоящего изобретения блокам 120 выявления пожара, расположенным в соответствующих вагонах поезда, присвоены идентификационные номера выявления пожара, которые соответствуют номерам вагонов поезда. Кроме того, блокам 130 подачи огнетушащего вещества присвоены идентификационные номера подачи, которые соответствуют идентификационным номерам выявления пожара.
Как показано на фиг.4 и 6, соответствующие вагоны поезда обозначены, например, буквами от А до J. Кроме этого, блокам 120 выявления пожара, установленным в соответствующих вагонах поезда, присвоены идентификационные номера выявления пожара от а до j. Блокам 130 подачи огнетушащего вещества, установленным в соответствующих вагонах поезда, присвоены идентификационные номера подачи от а1 до j1, соответственно.
Таким образом, когда пожар обнаруживает блок 122 выявления пожара с идентификационным номером «b» выявления пожара, тогда блок 122 выявления пожара передает соответствующий сигнал на блок 110 управления. Блок 110 управления может определить, в каком вагоне в настоящий момент возник пожар, определив, какой вагон поезда имеет номер В, который соответствует ID номеру «b» выявления пожара.
Затем блок 110 управления обеспечивает работу по тушению пожара только в соответствующем вагоне поезда, определяя ID номер «b1» подачи, который соответствует ID номеру «b» выявления пожара, и приводя в действие только тот привод 132а блока 132а подачи огнетушащего вещества, который соответствует ID номеру «b1» подачи.
В соответствии с этим может быть немедленно выявлен вагон, в котором возник пожар, и быстро приняты меры противодействия. Более того, поскольку работу по тушению пожара выполняют только в том вагоне, в котором этот пожар возник, то этот пожар может быть эффективно потушен. Кроме этого, поскольку могут быть определены блоки 130 подачи огнетушащего вещества, которые не содержат огнетушащие вещества, то может быть легко определен момент замены корпуса 132d, который заполняется огнетушащим веществом.
В предпочтительном варианте в соответствующих вагонах поезда помещены камеры 150 наблюдения, которым присвоены идентификационные номера камер от а2 до j2, соответствующие идентификационным номерам выявления пожара. Блок 110 управления записывает изображение внутреннего помещения горящего вагона с помощью камеры 152, имеющей идентификационный номер b2 камеры, который соответствует идентификационному номеру b выявления пожара, и с помощью приемопередающего блока 180 передает это изображение в комнату машиниста или здание 175 станции.
В предпочтительном варианте блок 130 подачи огнетушащего вещества также содержит блок 130с датчика давления, который определяет давление огнетушащего вещества в корпусе 130d.
Это обстоятельство дает возможность решить проблему, связанную с тем, что работа по тушению пожара не выполняется должным образом из-за неудовлетворительной подачи огнетушащего вещества, когда давление ниже заданной величины, поскольку подача огнетушащего вещества происходит под действием давления в корпусе 130d.
Блок 110 управления определяет повреждение соответствующего корпуса 130d в том случае, когда обнаруживает, что давление, измеряемое датчиком 130с, ниже предварительно записанной опорной величины, и, следовательно, может определить момент для его замены.
В данном случае датчик 130с давления передает информацию об идентификационном номере подачи соответствующего блока 130 подачи огнетушащего вещества. В предпочтительном варианте блок 110 управления автоматически определяет, в каком вагоне поезда имеется поврежденный блок 130 подачи огнетушащего вещества путем выявления идентификационного номера выявления пожара, который соответствует полученному идентификационному номеру подачи, и определяет номер вагона, который соответствует идентификационному номеру выявления пожара.
В соответствии со вторым предпочтительным вариантом осуществления настоящего изобретения блокам 120 выявления пожара, установленным в соответствующих вагонах поезда, присвоены идентификационные номера выявления пожара, которые соответствуют соответствующим номерам вагонов поезда. Блокам 130 подачи огнетушащего вещества также присвоены идентификационные номера подачи, которые соответствуют соответствующим номерам вагонов поезда.
Как показано на фиг.5 и 7, соответствующим вагонам поезда присвоены, например, номера от А до J. Кроме этого, блокам 120 выявления пожара, установленным в соответствующих вагонах поезда, присвоены идентификационные номера выявления пожара от а до j. Блокам 130 подачи огнетушащего вещества, установленным в соответствующих вагонах поезда, присвоены идентификационные номера подачи от А1 до J1, которые соответствуют номерам вагонов соответственно.
В соответствии с этим, когда пожар обнаруживает блок 122 выявления пожара с идентификационным номером b выявления пожара, тогда сигнал, относящийся к ID номеру b выявления пожара передается на блок 110 управления. Блок 110 управления может определить, в каком вагоне в настоящий момент возник пожар, определяя, какой вагон поезда имеет номер В, который соответствует идентификационному номеру b выявления пожара.
Затем блок 110 управления проводит работы по тушению пожара только в соответствующем вагоне поезда, определяя идентификационный номер В1 подачи, который соответствует номеру В вагона, и приводя в действие только привод 132а блока 132 подачи огнетушащего вещества, который соответствует идентификационному номеру В1 подачи.
В предпочтительном варианте в соответствующих вагонах поезда помещены блоки 150 камер наблюдения, которым присвоены идентификационные номера А2-J2 камеры, которые соответствуют номерам вагонов. Блок 110 управления записывает изображение внутреннего помещения горящего вагона с помощью блока 152 камеры, имеющей идентификационный номер В2 камеры, который соответствует номеру В вагона, и передает это изображение в комнату машиниста или здание 175 станции с помощью приемопередающего блока 180.
В предпочтительном варианте блок 130 подачи огнетушащего вещества также содержит датчик 130 с давления, который определяет давление, под которым находится корпус 130d, заполненный огнетушащим веществом.
Блок 110 управления определяет повреждение соответствующего корпуса 130d в случае, когда обнаруживает, что давление, полученное от датчика 130с давления, ниже предварительно записанной опорной величины давления, и, следовательно, он может определить момент для замены корпуса.
В данном случае датчик 130с давления передает информацию об идентификационном номере подачи соответствующего блока 130 подачи огнетушащего вещества. В предпочтительном варианте блок 110 управления автоматически определяет, в каком вагоне поезда имеется поврежденный блок 130 подачи огнетушащего вещества путем определения номера вагона, который соответствует указанному идентификационному номеру подачи.
Как упоминалось, автоматическая система тушения пожара в поезде в соответствии с первым и вторым вариантами осуществления настоящего изобретения позволяет быстро выявить вагон, в котором произошел пожар, и принять необходимые меры. Более того, может быть определен один блок 132 из ряда блоков 130 подачи огнетушащего вещества, в котором отсутствует огнетушащее вещество. Более того, легко может быть определен момент замены корпуса 132d, наполненного огнетушащим веществом.
Как указано выше, информация о вагоне, включая номер вагона, в котором произошел пожар, информация о моменте замены блока 130 подачи огнетушащего вещества и изображение внутреннего помещения вагона передаются в комнату машиниста или на станцию с помощью приемопередатчика 180, следовательно, текущее состояние может быть определено в реальном масштабе времени и быстро приняты меры в момент возникновения пожара.
Кроме этого, имеется возможность отслеживать состояние вагона в реальном времени путем передачи изображения внутреннего помещения вагона в комнату машиниста или здание станции как в обычной, так и в аварийной ситуации.
Также желательно в соответствующих вагонах установить ручные пожарные блоки 160 с тем, что обеспечить возможность ручной работы в случае пожара. Более того, желательно установить блок 165 сигнала тревоги, так чтобы дать возможность пассажирам быстро эвакуироваться из соответствующего вагона в случае пожара.
Желательно иметь в вагонах поезда терминалы 170 связи, такие как переговорные устройства, чтобы о возникновении аварийной ситуации можно было сообщить машинисту поезда или в комнату управления здания 175 станции при одновременном выполнении вручную или автоматически работ по тушению пожара.
Кроме этого желательно, чтобы, когда возникает авария, при которой отключается напряжение питания и загорается или выходит из строя токосъемник вагона поезда, блок 120 выявления пожара, блок 130 подачи огнетушащего вещества, блок 110 управления, блок 165 сигнала тревоги, пожарный блок 160, блок 150 камер наблюдения, блок 180 передачи данных и терминал 170 связи питались бы от вспомогательного источника 190 энергии, такого как батарея.
При этом если даже и случится аварийная ситуация при отключении сети питания, то система может стабильно работать и быстро потушить пожар.
В предпочтительном варианте осуществления настоящего изобретения в качестве огнетушащего вещества используют фторкетоновые соединения. Фторкетоны, такие как CF3, CF2 или (O)CF(CF3)2 – это вещества, которые получены путем замещения фтором атомов углерода в кетоновых молекулах. Фторкетоны не имеют ни цвета, ни запаха, а фтор имеет свойства стабилизатора. В соответствии с этим фторкетоны не проводят электричество и быстро испаряются, как только приходят в соприкосновение с пламенем или дымом, когда их подают в огонь, за счет чего фторкетоны могут быть использованы в качестве огнетушащего вещества. В качестве огнетушащего вещества может быть использована противопожарная текучая среда Novec 1230, выпускаемая в США под названием «ЗМ». Novec 1230 была признана Национальной противопожарной ассоциацией (NFPA) как чистое огнетушащее вещество, и зарегистрирована под названием «FK5-1-12».
Ниже со ссылкой на фиг.8 описана работа системы автоматического тушения пожара в соответствии с первым предпочтительным вариантом осуществления настоящего изобретения.
В начале, на этапе S110 запоминают номера вагонов поезда, идентификационные номера выявления пожара блоков 120 выявления пожара, которые соответствуют номерам вагонов, идентификационные номера подачи блоков 130 подачи огнетушащего вещества, которые соответствуют идентификационным номерам выявления пожара, и идентификационные номера камер наблюдения блоков 150 камер наблюдения, которые соответствуют идентификационным номерам выявления пожара. На этапе S120 блок 120 выявления пожара определяет, имеется ли в настоящее время пожар. При возникновении пожара на этапе S130 сигнал о пожаре передают на блок 110 управления, который определяет идентификационный номер выявления пожара блока 120 выявления пожара, передавшего сигнал о пожаре.
Блок 110 управления 110 открывает клапан 130b с помощью привода 130а блока 130 подачи огнетушащего вещества, имеющего идентификационный номер подачи, который соответствует найденному идентификационному номеру выявления пожара, благодаря чему огнетушащее вещество через блок 140 форсунок подают в вагон, в котором возник пожар. Более того, на этапе S140 блок 110 управления фиксирует состояние внутреннего помещения вагона в реальном времени с помощью блока 150 камер наблюдения, имеющего идентификационный номер камеры, который соответствует идентификационному номеру выявления пожара.
Номер вагона, определенный на этапе S140, и изображение помещения вагона передают в комнату машиниста или комнату управления в здании 175 станции. В ответ на это на этапе S170 пассажирам подают команду на эвакуацию или сигнал тревоги. В итоге вагон, в котором случился пожар, и состояние этого вагона могут быть определены немедленно, и могут быть быстро приняты соответствующие меры противодействия.
Ниже со ссылкой на фиг.9 описана работа системы автоматического тушения пожара в соответствии со вторым предпочтительным вариантом осуществления настоящего изобретения.
В начале, на этапе S210 запоминают номера вагонов поезда, идентификационные номера выявления пожара блоков 120 выявления пожара 120, которые соответствуют номерам вагонов, идентификационные номера подачи блоков 130 подачи огнетушащего вещества, которые соответствуют номерам вагонов, и идентификационные номера камер наблюдения блоков 150 камер наблюдения, которые соответствуют номерам вагонов.
На этапе S220 блок 120 выявления пожара определяет, имеется ли в настоящее время пожар. При возникновении пожара на этапе S230 сигнал о пожаре передают на блок 110 управления, который определяет идентификационный номер выявления пожара блока 120 выявления пожара, передавшего сигнал о пожаре.
На этапе S240 блок 110 управления определяет номер вагона поезда, который соответствует установленному идентификационному номеру выявления пожара, и открывает клапан 130b с помощью привода 130а блока 130 подачи огнетушащего вещества, имеющего идентификационный номер подачи, который соответствует установленному номеру вагона поезда. Благодаря этому огнетушащее вещество через блок 140 форсунок подают в вагон, в котором возник пожар. Более того, на этапе S250 блок 110 управления фиксирует состояние внутреннего помещения горящего вагона в реальном времени с помощью блока 150 камеры наблюдения, имеющего идентификационный номер камеры, который соответствует идентификационному номеру выявления пожара.
Номер вагона, определенный на этапе S240, и изображение помещения вагона, полученное на этапе S250, передают в комнату машиниста или комнату управления в здании 175 станции. В ответ на это на этапе S270 пассажирам подают команду на эвакуацию или сигнал тревоги. В итоге вагон, в котором случился пожар, и состояние этого вагона могут быть определены немедленно, и могут быть быстро приняты соответствующие меры противодействия.
На фиг.10 приведена диаграмма, поясняющая способ автоматического определения момента ремонта или замены блока 130 подачи огнетушащего вещества.
Как показано на диаграмме, на этапе S310 запоминают опорное значение давления, необходимого для распыления огнетушащего вещества из блока 130 подачи огнетушащего вещества в случае возникновения пожара. На этапе S320 предварительно запоминают номера вагонов поезда, идентификационные номера выявления пожара блоков 120 выявления пожара, которые соответствуют номерам вагонов, и идентификационные номера подачи блоков 130 подачи огнетушащего вещества, которые соответствуют идентификационным номерам выявления пожара.
На этапе S330 определяют давление в корпусе 130d блока 130 подачи огнетушащего вещества, который наполнен огнетушащим веществом. На этапе S340 блок 110 управления сравнивает полученное значение давления с заранее сохраненным опорным значением. Если полученное значение давления ниже предварительно сохраненного опорного значения, то на этапе S350 блок 110 управления фиксирует, что соответствующий блок 130 подачи огнетушащего вещества поврежден, определяет идентификационный номер выявления пожара, который соответствует идентификационному номеру подачи соответствующего блока 130 подачи огнетушащего вещества, в завершение определяет номер вагона, который соответствует идентификационному номеру выявления пожара.
На этапе S360 блок 110 управления выдает сигнал тревоги, относящийся к выявленному номеру вагона и подробности о повреждении блока 130 подачи огнетушащего вещества с помощью блока 165 оповещения.
В итоге наличие повреждения и момент замены каждого блока 130 подачи огнетушащего вещества, установленного в каждом вагоне поезда, могут быть автоматически определены без необходимости проверки с определением вручную состояния этих блоков.
На этапе S320 запоминают только номера вагонов поезда и идентификационные номера подачи блоков 130 подачи огнетушащего вещества, которые соответствуют этим номерам вагонов. После этого на этапе S350 можно непосредственно определить номер вагона по идентификационному номеру подачи блока 130 подачи огнетушащего вещества.
Как показано и описано выше, состояние, в котором находятся блоки 140 форсунок и блоки 120 выявления пожара в вагонах поезда, и наличие пожара блок 110 управления определяет отдельно от блока 130 подачи огнетушащего вещества и проведение работы по тушению пожара. Однако в другом варианте блок форсунок, блок выявления пожара и блок управления могут быть непосредственно установлены в блоке подачи огнетушащего вещества, и при этом может проводиться работа по тушению пожара.
В другом варианте, отличном от этого, датчик форсунки и ударный датчик могут быть непосредственно установлены в блоке подачи огнетушащего вещества, при этом ударное давление определяется ударным датчиком, когда блок подачи огнетушащего вещества бросается в зону пожара. В этом случае огнетушащее вещество распыляется через блок форсунок.
До настоящего момента изобретение описано и проиллюстрировано на примере предпочтительных вариантов его осуществления. Однако настоящее изобретение не ограничено описанными примерами. Специалистам в данной области техники ясно, что могут быть внесены многие изменения и модификации, не выходящие за пределы предмета изобретения, определяемого прилагаемой формулой.
Промышленная применимость
Настоящее изобретение позволяет автоматически и быстро тушить пожар и легко фиксировать состояние огнетушителей. Более того, настоящее изобретение может быть использовано в качестве автоматической системы пожаротушения, которая позволяет отслеживать состояние пожара.
Формула изобретения
1. Система автоматического тушения пожара в поезде, содержащая: блоки выявления пожара, размещенные в вагонах поезда и выполненные с возможностью выявления возникновения пожара; блок управления для приема сигнала от блока выявления пожара и определения наличия пожара; блоки форсунок, установленные в вагонах поезда и выполненные с возможностью распыления огнетушащего вещества, когда блок управления определяет наличие пожара; и блоки подачи огнетушащего вещества, содержащие корпуса, связанные с блоками форсунок и наполненные огнетушащим веществом при заданном давлении, клапаны для избирательного открывания и закрывания корпусов и блоков форсунок и приводы для приведения в действие клапанов под управлением блока управления, при этом блокам выявления пожара присвоены идентификационные номера выявления пожара, соответствующие номерам вагонов поезда, а блокам подачи огнетушащего вещества присвоены идентификационные номера, соответствующие идентификационным номерам выявления пожара, причем блок управления определяет идентификационный номер выявления пожара блока выявления пожара, который передает сигнал о пожаре, и включает привод блока подачи огнетушащего вещества, соответствующий указанному идентификационному номеру выявления пожара.
2. Система по п.1, в которой каждый блок подачи огнетушащего вещества содержит блок датчика давления для определения давления огнетушащего вещества, причем блок управления определяет идентификационный номер выявления пожара, соответствующий идентификационному номеру подачи блока подачи огнетушащего вещества, в котором давление ниже заданного значения, и определяет номер вагона, соответствующий указанному идентификационному номеру выявления пожара.
3. Система по п.1, дополнительно содержащая блоки камер наблюдения, установленные в вагонах поезда, которым присвоены идентификационные номера камеры наблюдения, соответствующие указанным идентификационным номерам выявления пожара, при этом блок управления определяет идентификационный номер выявления пожара блока выявления пожара, который передает сигнал о пожаре, и записывает изображение с помощью блока камеры наблюдения, имеющего идентификационный номер камеры наблюдения, который соответствует указанному идентификационному номеру выявления пожара.
4. Система по п.1, в которой блокам выявления пожара присвоены идентификационные номера выявления пожара, соответствующие номерам вагонов поезда, и блокам подачи огнетушащего вещества присвоены идентификационные номера подачи, соответствующие номерам вагонов поезда, причем блок управления определяет номер вагона, соответствующий идентификационному номеру выявления пожара блока выявления пожара, который передает сигнал о пожаре, и включает привод блока подачи огнетушащего вещества, идентификационный номер подачи которого соответствует указанному номеру вагона поезда.
5. Система по п.4, в которой каждый блок подачи огнетушащего вещества содержит датчик давления для определения давления огнетушащего вещества, и блок управления определяет идентификационный номер выявления пожара, соответствующий идентификационному номеру подачи блока подачи огнетушащего вещества, в котором давление ниже заданного значения, и определяет номер вагона, соответствующий указанному идентификационному номеру выявления пожара.
6. Система по п.4, дополнительно содержащая блоки камер наблюдения, установленные в вагонах поезда, которым присвоены идентификационные номера камер наблюдения, соответствующие указанным идентификационным номерам выявления пожара; при этом блок управления определяет номер вагона, соответствующий идентификационному номеру выявления пожара блока выявления пожара, который передает сигнал о пожаре, и записывает изображение с помощью блока камеры наблюдения, имеющего идентификационный номер камеры наблюдения, соответствующий указанному номеру вагона поезда.
7. Система по любому из пп.1-6, дополнительно содержащая терминалы связи, установленные в вагонах поезда и выполненные с возможностью обеспечения связи с комнатой машиниста поезда или зданием станции.
8. Система по любому из пп.1-6, дополнительно содержащая вспомогательный источник питания, который подает вспомогательное питание на приводы, клапаны, датчики давления, блок управления и блоки выявления пожара, когда прекращается подача питания с токосъемника поезда.
9. Система по любому из пп.1-6, в которой огнетушащим веществом является фторкетон.
РИСУНКИ
|
|