|
|
(21), (22) Заявка: 2008109511/14, 12.03.2008
(24) Дата начала отсчета срока действия патента:
12.03.2008
(46) Опубликовано: 10.06.2009
(56) Список документов, цитированных в отчете о поиске:
AM 662 А2, 09.12.1999. RU 2261699 C2, 10.10.2005. KZ 10066 A, 16.04.2001. SU 1292780 A1, 28.02.1987. SU 1044287 А, 30.09.1983. SU 1666123 A1, 30.07.1991. SU 1409279 A1, 15.07.1988. US 3908664 A, 30.09.1975.
Адрес для переписки:
660022, г.Красноярск-22, ул. Партизана Железняка, 1, Медицинская академия, патентный отдел
|
(72) Автор(ы):
Тюрюмин Василий Сергеевич (RU), Малков Алексей Борисович (RU), Винник Юрий Семенович (RU), Самотесов Павел Афанасьевич (RU)
(73) Патентообладатель(и):
Государственное образовательное учреждение высшего профессионального образования “КРАСНОЯРСКАЯ ГОСУДАРСТВЕННАЯ МЕДИЦИНСКАЯ АКАДЕМИЯ ФЕДЕРАЛЬНОГО АГЕНТСТВА ПО ЗДРАВООХРАНЕНИЮ И СОЦИАЛЬНОМУ РАЗВИТИЮ” (RU)
|
(54) ПЕРИСТАЛЬТИЧЕСКОЕ ДРЕНАЖНОЕ УСТРОЙСТВО
(57) Реферат:
Изобретение относится к медицине, в частности к хирургии, и может быть использовано в лечении закрытых раневых полостей мягких тканей. Перистальтическое дренажное устройство включает резервуар с антисептическим раствором, сборник экссудата, приводящую трубку, соединяющую емкость с антисептиком с полостью раны, аспирационную трубку, воздуховодную соединительную трубку, одним концом зафиксированную к емкости с антисептическим раствором, воздухозаборную трубку и резиновую грушу. В широкой части груши герметично закреплены аспирационная и соединительная воздуховодная трубки. На конце узкой части груши закреплена отточная трубка, которая установлена в сборнике экссудата. Нижний конец воздухозаборной трубки закреплен на приводящей трубке при помощи инъекционной иглы. Приводящая трубка снабжена зажимом. Применение изобретения позволяет обеспечить постоянное поступление раствора антисептика в закрытую раневую полость, регулировать скорость поступления раствора и постоянный цикличный активный отток промывных вод из дренируемой раневой полости. 1 з.п. ф-лы, 1 ил.
Изобретение относится к медицине, в частности к хирургии, и может быть использовано в лечении закрытых раневых полостей мягких тканей.
Известен активный открытый проточно-промывной антибактериальный дренаж, предназначенный для лечения гнойных полостей [1]. Дренаж содержит две дренажные апирогенные полихлорвиниловые трубки различного диаметра. По приточной трубке в гнойную полость поступает раствор антисептика, а вторая трубка служит для оттока гнойного смыва. Однако известное устройство не может обеспечить эффективный отток смывной жидкости, так как он осуществляется самотеком под действием силы тяжести самой жидкости. При этом вследствие пассивного оттока жидкости из открытой гнойной полости происходит закупорка отточной трубки частицами экссудата, что приводит к повышению давления в самой полости, вызванному притекающим в нее раствором антисептика.
Известен также антибактериальный дренаж двухпросветной трубкой с вакуум-аспирацией [1], обеспечивающий программированное промывание гнойных послеоперационных ран раствором антисептика с одновременной дозированной вакуум-аспирацией гнойного смыва. Аспирацию осуществляют с помощью виброаспиратора, сконструированного на основе виброкомпрессора. Однако известное дренажное устройство является энергоемким и предназначено для промывания только герметически закрытых гнойных полостей.
Наиболее близким к предлагаемому по технической сущности является устройство [2] для дренирования гнойных полостных ран, обеспечивающее проведение активного проточно-аспирационного дренирования, содержащее резервуар с антисептическим раствором, сборник экссудата, приводящую трубку, соединяющую резервуар с полостью раны, аспирационную трубку, соединяющую полость раны со сборником, при этом устройство дополнительно снабжено соединительной трубкой, соединяющей резервуар со сборником. Однако известное устройство не может обеспечить эффективное дренирование открытых раневых полостей, т.к. процесс дренирования происходит циклически и зависит от притока антисептика в раневую полость, при этом в сборник экссудата поступают промывные воды с воздухом, а когда воздух из открытой раневой полости попадает в сборник экссудата, то разрежение в нем падает и для создания его заново необходимо определенное время. В это время раствор антисептика поступает в раневую полость и, переполняя ее, воздействует на раневую стенку своим давлением.
Задачей предлагаемого перистальтического дренажного устройства является эффективная санация раневой полости за счет регулируемого поступления раствора антисептика и постоянный цикличный активный отток промывных вод из дренируемой раневой полости.
Поставленную задачу осуществляют за счет того, что устройство дополнительно содержит воздухозаборную трубку и резиновую грушу, в широкой части которой герметично закреплены аспирационная и соединительная воздуховодная трубки, на конце узкой части груши закреплена отточная трубка, которая установлена в сборнике экссудата, при этом нижний конец воздухозаборной трубки закреплен на приводящей трубке при помощи инъекционной иглы, а приводящая трубка снабжена зажимом, при этом соединительная воздуховодная и воздухозаборная трубки снабжены зажимами, а отточная трубка имеет меньший диаметр, чем аспирационная трубка.
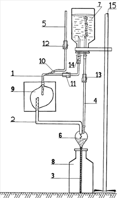
На чертеже изображена схема предлагаемого перистальтического дренажного устройства, которое состоит из следующих элементов: приводящая трубка (1), аспирационная трубка (2), отточная трубка (3), соединительная воздуховодная трубка (4), воздухозаборная трубка (5), резиновая груша (6), резервуар с антисептическим раствором (7), сборника экссудата (8), зажимы (11), (12) и (13), капельница (14), стойки для капельницы (15). Емкость с антисептиком (7) устанавливают вверх дном выше закрытой раневой полости (9) больного на стандартной стойке для капельницы (15). Емкость для промывных вод (8) и резиновую грушу (6) устанавливают ниже закрытой раневой полости (9) больного. Емкости (7) и (8) представляют собой стандартные стеклянные бутыли объемом 400 мл. Резиновая груша (6) представляет собой полый резиновый сосуд объемом 230 мл, негерметично установленный на емкости (8). На широкой части резиновой груши (6) герметично закреплена аспирационная трубка (2) и нижний конец соединительной воздуховодной трубки (4). На узкой части резиновой груши (6) герметично закреплена отточная трубка (3). Таким образом, резиновая груша (6) и соединительная воздуховодная трубка (4) герметично соединяют в единое вакуумное пространство эластичную аспирационную трубку (2) и емкость с раствором антисептика (7). Емкость (7) сообщается с закрытой раневой полостью (9) посредствам приводящей трубки (1), по которой раствор антисептика поступает в закрытую раневую полость (9). Раневой смыв из закрытой раневой полости (9) по аспирационной трубке (2) поступает в полость резиновой груши (6). Трубки (1) и (2) имеют различный диаметр в зависимости от размеров дренируемой раневой полости, при этом приводящая трубка (1) снабжена зажимом (11) для регулирования тока раствора антисептика в закрытую раневую полость (9) и капельницей (14). Соединительная воздуховодная трубка (4) также снабжена зажимом (13) для предупреждения попадания раствора антисептика в соединительную воздуховодную трубку (4) в начальный период работы пульсирующего дренажного устройства, а также для регулирования поступления воздуха в емкость с антисептиком (7). Трубки (1), (4) и (5) выполняются из полихлорвинила и имеют диаметр 2-3 мм, а трубки (2) и (3) выполняются из силикона, при этом аспирационная трубка (2) имеет диаметр 6-7 мм, а отточная трубка (3) имеет диаметр 4-5 мм. Разница в диаметрах трубок (2) и (3) необходима для того, чтобы отток промывных вод из полости резиновой груши (6) был медленнее, чем приток в нее из дренируемой раны. Из-за этой разницы в полости резиновой груши (6) образуется «водяное зеркало», которое предотвращает попадание воздуха из окружающей среды через емкость для промывных вод (8) в полость резиновой груши (6). Нижний конец воздухозаборной трубки (5) закреплен на приводящей трубке (1) при помощи инъекционной иглы (10). Верхний конец воздухозаборной трубки (5) закреплен на стойке для капельницы (15) выше уровня жидкости, находящегося в резервуаре с антисептическим раствором (7). Воздухозаборная трубка (5) предназначена для дополнительного подсоса воздуха из окружающей среды в закрытую раневую полость (9). Воздухозаборная трубка (5) снабжена зажимом (12), необходимым для регулирования объема поступающего из окружающей среды воздуха.
Принцип работы предлагаемого перистальтического дренажного устройства основан на создании отрицательного давления в полости резиновой груши (6), создающегося в ней за счет разрежения в емкости с антисептиком (7) при поступлении антисептика в закрытую раневую полость (9) под действием силы тяжести. По отгонной трубке (3) происходит отток промывных вод из резиновой груши (6) в емкость для промывных вод (8) под действием силы тяжести. Через воздухозаборную трубку (5) происходит дополнительный подсос воздуха из окружающей среды, что устраняет присасывающее действие закрытой раневой полости (9), которое препятствует оттоку промывных вод. Засосавшыйся из окружающей среды воздух попадает по аспирационной трубке в резиновую грушу (6), после чего в ней теряется разрежение, создавшееся ранее. В это время закрытая раневая полость (9) заполняется антисептиком, после чего антисептик начинает поступать в воздухозаборную трубку (5). Тем временем в полости резиновой груши (6) вновь создается отрицательное давление, и аспирация промывных вод возобновляется.
Перистальтическое дренажное устройство работает следующим образом. Нижний конец приводящей трубки (1) фиксируют на верхнем полюсе закрытой раневой полости (9) больного, а верхний конец аспирационной трубки (2) для оттока промывных вод герметично фиксируют на нижнем полюсе закрытой раневой полости (9) больного. Нижний конец аспирационной трубки (2) для оттока промывных вод герметично фиксируют на широкой части резиновой груши (6). Отточную трубку (3), закрепленную на узком конце резиновой груши (6), опускают на дно сборника экссудата (8). Нижний конец соединительной воздуховодной трубки (4) герметично фиксируют на широкой части резиновой груши (6), а верхний конец соединительной воздуховодной трубки (4) герметично фиксируют на резервуаре с антисептическим раствором (7). Нижний конец воздухозаборной трубки (5) закрепляют на нижней части приводящей трубки (1) при помощи инъекционной иглы (10). Верхний конец воздухозаборной трубки (5) закрепляют на стойке для капельницы (15) выше уровня жидкости, находящегося в резервуаре с антисептическим раствором (7). Зажимом (12) перекрывают воздухозаборную трубку (5) таким образом, чтобы ее просвет сузился на 2/3 исходного диаметра воздухозаборной трубки (5). Зажимом (13) перекрывают соединительную воздуховодную трубку (4). Открывают зажим (11) на приводящей трубке (1). Затем примерно через 30 с после начала поступления антисептика в раневую полость по приводящей трубке (1) открывают зажим (13) на соединительной воздуховодной трубке (4). После проведенных вышеозначенных манипуляций раствор антисептика из емкости (7) по приводящей трубке (1) начинает поступать в закрытую раневую полость (9), а промывные воды из нее по аспирационной трубке (2) начинают активно аспирировать в полость резиновой груши (6), а затем по отточной трубке (3) поступают в емкость для промывных вод (8). Воздух из окружающей среды начинает подсасываться в закрытую раневую полость (9) через воздухозаборную трубку (5). Затем происходит активная аспирация промывных вод из дренируемой раневой полости (9), после чего активная аспирация временно прекращается вследствие поступления в полость резиновой груши (6) воздуха, засосавшегося через воздухозаборную трубку (5). Так как прекратилась активная аспирация, закрытая раневая полость (9) заполняется антисептиком, притекающим в нее из резервуара с антисептическим раствором (7), после чего антисептик начинает поступать в воздухозаборную трубку (5) через инъекционную иглу (10). Через 1,5-2 минуты в полости резиновой груши (6) вновь создается отрицательное давление, после чего аспирация промывных вод возобновляется. По аспирационной трубке (2) начинает аспирироваться раствор антисептика, уже находящийся в раневой полости, а также антисептик, попавший в воздухозаборную трубку (5) во время отсутствия активной аспирации. Происходит данный процесс циклически, до тех пор пока не прекратится поступление антисептика из резервуара с антисептическим раствором (7) по приводящей трубке (1) в дренируемую раневую полость (9).
Частоту и продолжительность дренирования устанавливает врач. Лечебное действие дренажа обеспечивают за счет регулируемого поступления раствора антисептика в закрытую раневую полость больного, более продолжительной его экспозиции в ране, а также циклического активного оттока промывных вод. Кроме того, во время циклического дренирования в раневой полости образуется перепад давления каждые 1,5-2 минуты: повышенное давление создается за счет притекающего в рану под действием силы тяжести раствора антисептика, а отрицательное давление создается во время активной аспирации промывных вод под действием вакуума. Этот перепад давления является непродолжительным и не оказывает какого-либо отрицательного влияния на рану, а наоборот, способствует лучшему отхождению секвестров и некротизированных частей со стенок дренируемой раневой полости, тем самым ускоряя процесс очищения раны и образования грануляционной ткани.
Применение предлагаемого перистальтического дренажного устройства позволяет обеспечить постоянное поступление раствора антисептика в закрытую раневую полость, регулировать скорость поступления раствора и постоянный цикличный активный отток промывных вод из дренируемой раневой полости.
Источники информации
1. Гульман М.И., Винник Ю.С., Миллер С. В.. Атлас дренирования в хирургии. – Красноярск, 2004. – С.20, С.18-19.
2. “Устройство для дренирования гнойных полостных ран” AM 662 А2, А61М 27/00, от 09.12.1999.
Формула изобретения
1. Перистальтическое дренажное устройство, включающее резервуар с антисептическим раствором, сборник экссудата, приводящую трубку, соединяющую емкость с антисептиком с полостью раны, аспирационную трубку и воздуховодную соединительную трубку, одним концом зафиксированную к емкости с антисептическим раствором, отличающееся тем, что дополнительно содержит воздухозаборную трубку и резиновую грушу, в широкой части которой герметично закреплены аспирационная и соединительная воздуховодная трубки, на конце узкой части груши закреплена отточная трубка, которая установлена в сборнике экссудата, при этом нижний конец воздухозаборной трубки закреплен на приводящей трубке при помощи инъекционной иглы, а приводящая трубка снабжена зажимом.
2. Устройство по п.1, отличающееся тем, что соединительная воздуховодная и воздухозаборная трубки снабжены зажимами, а отточная трубка имеет меньший диаметр, чем аспирационная трубка.
РИСУНКИ
|
|