|
(21), (22) Заявка: 2007148828/14, 28.01.2008
(24) Дата начала отсчета срока действия патента:
28.01.2008
(46) Опубликовано: 10.06.2009
(56) Список документов, цитированных в отчете о поиске:
RU 2173180 С2, 10.09.2001. RU 2197997 С2, 10.02.2003. RU 2200588 С2, 20.03.2003. ЕР 0064858 А1, 17.11.1982. WO 2005/094921 А1, 13.10.2005. US 3631847 А, 04.01.1972.
Адрес для переписки:
105554, Москва, ул. Первомайская, 66, кв.135, пат.пов. Т.К.Широковой
|
(72) Автор(ы):
Сеид-Гусейнов Алексей Асадович (RU), Яковлев Андрей Викторович (RU), Чехонин Валерий Павлович (RU)
(73) Патентообладатель(и):
Бурнашов Сергей Иванович (RU), Сеид-Гусейнов Алексей Асадович (RU), Яковлев Андрей Викторович (RU)
|
(54) УСТРОЙСТВО ДЛЯ ДОЗИРОВАННОЙ ИНЪЕКЦИИ ЛЕКАРСТВЕННОГО ПРЕПАРАТА
(57) Реферат:
Изобретение относится к медицинской технике, в частности к устройствам для дозированной инъекции лекарственного препарата, и может быть использовано пациентом для самостоятельного лечения, например, сахарного диабета. Устройство для дозированной инъекции лекарственного препарата состоит из картриджа, корпуса, установленного на нем держателя картриджа с лекарственным препаратом, механизма дозирования дозы препарата, выполненного в виде штока с поршнем, предназначенным для выдавливания препарата из картриджа, и содержащего элемент гайки и ответную резьбовую часть, и механизма продвижения штока во время инъекции. Устройство также содержит механизм внешнего давления, предназначенный для создания резьбового зацепления между элементом гайки и ответной резьбовой частью, и механизмы стопорения элемента гайки и ответной резьбовой части. Ответная резьбовая часть выполнена на штоке, установленном с возможностью продольного перемещения относительно корпуса. Механизм продвижения штока выполнен в виде втулки, связанной с приводом ее вращения. На торце втулки с возможностью поворота относительно нее установлен элемент гайки, представляющий собой сектор диска, один конец которого свободно подвешен на штифте. Механизм внешнего давления выполнен в виде пружинящей проволоки, контактирующей с элементом гайки и втулкой. Технический результат – повышение точности дозированной подачи жидких лекарственных средств из сменного картриджа; упрощение конструкции, в том числе, за счет совмещения функций механизма дозирования и механизма освобождения штока поршня (для быстрой смены картриджа) в одном механизме; упрощение работы пользователя с устройством за счет уменьшения количества манипуляции. 3 з.п. ф-лы, 4 ил.
Предлагаемое изобретение относится к медицинской технике, в частности к устройствам для дозированной инъекции лекарственного препарата, и может быть использовано пациентом для самостоятельного лечения, например, сахарного диабета.
Наибольшее распространение для дозированной подачи жидких веществ получили устройства поршневого типа, так называемые шприцы-дозаторы с механизмом микроподачи типа винт-гайка.
В известных конструкциях используют разрезную (разъединяющуюся) гайку, которая может оставаться в зацеплении с винтом с помощью внешнего давления на нее и выходить из зацепления при снятии внешнего давления.
Известен шприц-дозатор для хранения и дозированной подачи вязких материалов, включающий корпус, установленный на нем держатель картриджа с препаратом, механизм дозирования препарата и механизм продвижения штока во время инъекции типа винт-гайка (см. опубл. заявку РФ 92008124 по кл. А61М 5/32, 1992 г.).
Однако основным недостатком известного устройства является невозможность быстрой и простой смены картриджа.
Наиболее близким по технической сущности к предлагаемому техническому решению является устройство для дозированной инъекции лекарственного препарата, состоящее из корпуса, установленного на нем держателя картриджа с лекарственным препаратом, механизма дозирования дозы препарата, выполненного в виде штока с поршнем, предназначенным для выдавливания препарата из картриджа, и содержащего элемент гайки с выступом, предназначенным для ее стопорения, и ответную резьбовую часть, механизма внешнего давления, предназначенного для создания резьбового зацепления между элементом гайки и ответной резьбовой частью, и механизма продвижения штока во время инъекции (см. патент РФ 2173180 по кл. А61М 5/24, 1996 г.).
Недостатками известного решения являются:
– Недостаточная точность дозирования, которая определяется шагом резьбы на шпинделе и диаметром головки, вращающей шпиндель. При реальных размерах шприца, а значит, и значениях этих параметров перемещение поршня картриджа с помощью головки вручную может составить лишь десятые доли шага резьбы, что в ряде случаев недостаточно.
– Сложность подведения штока к поршню картриджа в случае использования картриджа, наполненного лекарственным препаратом лишь наполовину, т.к. при смене картриджа шток всегда задвинут в начальное положение, соответствующее полностью заполненному картриджу.
– Неуниверсальность конструкции, т.к. в ней нет средств, которые бы предохраняли механизм дозирования от поломки, когда инъекцию пытаются произвести без иглы.
– Сложность конструкции, т.к. необходимо обеспечить перемещение гайки в корпусе в продольном направлении, и невозможность поворота ее относительно корпуса. При этом требуется обеспечить внешнее давление на две половины гайки по всей длине корпуса при движении гайки по шпинделю.
– Сложность изготовления и сборки конструкции из-за большого количества стопорящих элементов, продольных направляющих канавок и выступов.
– Обеспечение внешнего давления на две половины гайки производится по всей длине корпуса при движении гайки по шпинделю.
– Сложность изготовления гибкого штока.
Задачами, решаемыми предлагаемым изобретением, являются создание устройства, позволяющего обеспечить:
повышенную точность дозированной подачи жидких лекарственных средств из сменного картриджа;
упрощение конструкции за счет совмещения функций механизма дозирования и механизма освобождения штока поршня (для быстрой смены картриджа) в одном механизме;
упрощение работы пользователя с устройством за счет уменьшения количества манипуляций.
Технический результат достигают созданием устройства для дозированной инъекции лекарственного препарата, состоящего из картриджа, корпуса, установленного на нем держателя картриджа с лекарственным препаратом, механизма дозирования дозы препарата, выполненного в виде штока с поршнем, предназначенным для выдавливания препарата из картриджа, и содержащего элемент гайки и ответную резьбовую часть, и механизма продвижения штока во время инъекции, которое согласно изобретению содержит механизм внешнего давления, предназначенный для создания резьбового зацепления между элементом гайки и ответной резьбовой частью, и механизмы стопорения элемента гайки и ответной резьбовой части, причем ответная резьбовая часть выполнена на штоке, установленном с возможностью продольного перемещения относительно корпуса, а механизм продвижения штока выполнен в виде втулки, связанной с приводом ее вращения, при этом на торце втулки с возможностью поворота относительно нее установлен элемент гайки, представляющий собой сектор диска, один конец которого свободно подвешен на штифте, а механизм внешнего давления выполнен в виде пружинящей проволоки, контактирующей с элементом гайки и втулкой.
Установка механизмов стопорения элемента гайки и ответной резьбовой части на корпусе позволяет упростить конструкцию.
Выполнение механизма стопорения элемента гайки в виде упругой пластины, которая имеет контакт с выступом элемента гайки, позволяет производить ускоренную смену картриджа путем быстрого освобождения штока из резьбового зацепления.
Выполнение механизма стопорения ответной резьбовой части в виде штыря, входящего в зацепление с продольным пазом, выполненным на штоке, позволяет исключить вращение штока и обеспечить его продольное перемещение.
Выполнение механизма внешнего давления в виде пружинящей проволоки, контактирующей с элементом гайки и втулкой, позволяет создать внешнее давление только в месте взаимодействия гайки и втулки, что значительно упрощает технологический процесс.
Проведенные патентные исследования показали, что не известны технические решения с указанной совокупностью существенных признаков в аналогичных устройствах для дозированной инъекции лекарственного препарата, т.е. предлагаемое решение соответствует критерию «новизна».
Считаем, что сведений, изложенных в материалах заявки, достаточно для практического осуществления изобретения.
Сущность предлагаемого устройства для дозированной инъекции лекарственного препарата поясняется нижеследующим описанием и чертежами, где:
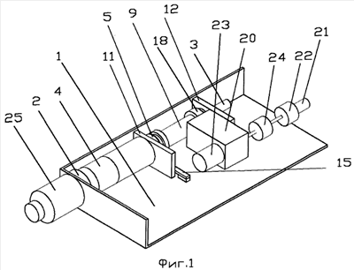
на фиг.1 показан внешний вид устройства для дозированной инъекции лекарственного препарата;
на фиг.2 показан механизм стопорения ответной резьбовой части;
на фиг.3 показано рабочее положение втулки и гайки;
на фиг.4 показано взаимное положение упругой пластины и изогнутого конца пружинящей проволоки в момент наибольшего приближения к друг другу.
Устройство для дозированной инъекции лекарственного препарата состоит из корпуса 1, установленного на нем держателя 2 картриджа с лекарственным препаратом, механизма дозирования дозы препарата, выполненного в виде штока 3, предназначенного для выдавливания с помощью поршня 4 препарата из картриджа, и содержащего элемент гайки 5 с выступом 6, предназначенным для ее стопорения, и ответную резьбовую часть 7, механизма внешнего давления, предназначенного для создания резьбового зацепления между элементом гайки и ответной резьбовой частью, механизма продвижения штока во время инъекции, механизмов стопорения элемента гайки и ответной резьбовой части, которые установлены на корпусе 1.
При этом ответная резьбовая часть 7 выполнена на штоке 3, который установлен с возможностью продольного перемещения относительно корпуса 1.
Шток 3 имеет продольный паз 8, предназначенный для предотвращения его вращения.
Механизм продвижения штока выполнен в виде втулки 9, связанным с приводом ее вращения 10 (не показан) и установленным на торце втулки с возможностью поворота относительно нее элемента гайки 5.
При этом втулка 9 может быть установлена в отверстиях опорных пластин 11 и 12, закрепленных на нижней стенке корпуса 1, внутри нее в продольном направлении выполнено отверстие, по которому свободно может перемещаться шток 3. Сама втулка 9 не имеет возможности перемещения в продольном направлении.
Элемент гайки 5 представляет собой сектор диска с резьбой, один конец которого свободно подвешен на штифте 13, запрессованном на втулке 9. Во втулке сделан поперечный вырез (не показан), позволяющий резьбе сектора войти в зацепление с ответной резьбой штока 3. Зацепление обеспечивают механизмом внешнего давления, выполненным в виде пружинящей проволоки 14, контактирующей с элементом гайки 5 и втулкой 9.
Предлагаемое устройство имеет механизм стопорения элемента гайки, который может быть выполнен в виде упругой пластины 15, которая имеет контакт с выступом 6 элемента гайки.
Один из вариантов расположения механизма стопорения элемента гайки может быть выполнен, например, следующим образом.
Поперек втулки 9 напротив элемента гайки 5 на нижней стенке корпуса одним концом закреплена упругая пластина 15, другой (свободный) конец пластины (в положении втулки с элементом гайки, показанном на фиг.3) расположен напротив выступа 6 элемента гайки 5.
В выступе 6 может быть выполнено углубление 16 для того, чтобы пластина не соскальзывала с поверхности выступа при надавливании элемента гайки на конец пластины.
Свободный конец пластины расположен на такой высоте и с таким поперечным смещением относительно центра гайки, чтобы он не упирался в изогнутый конец пружинящей проволоки 14 в положении втулки с гайкой, показанном на фиг.4.
Предлагаемое устройство также имеет механизм стопорения ответной резьбовой части, выполненный в виде штыря 17, входящего в зацепление с продольным пазом 8, выполненным на штоке.
Привод вращения втулки может быть выполнен в виде шестерни 18, размещенной на втулке и входящей в зацепление с шестерней 19 (не показано), размещенной на выходном валу понижающего обороты редуктора 20 с большим передаточным числом. Вращение входного вала редуктора может осуществляться ручным и (или) электромеханическим приводом. Для ручного вращения используют ручку 21, расположенную напротив входного вала редуктора и вращающую его через фрикционное соединение 22. В качестве электромеханического привода используют электромотор 23. На входном валу редуктора расположен счетчик 24 числа оборотов со сбросом, который может быть как механическим, так и электронным.
Работу предлагаемого устройства осуществляют следующим образом.
Картридж вставляют в держатель 2 с торца корпуса и фиксируют в нем с помощью головки 25, ввинчивающейся в корпус 1.
Предлагаемое устройство готово к дозированному введению лекарственного препарата.
Далее вращением (ручным или с помощью электромеханического привода) входного вала редуктора, вызывающим вращение втулки 9 с элементом гайки 5 по часовой стрелке (глядя на торец втулки со стороны гайки), так как резьба элемента гайки 5 находится в зацеплении с ответной резьбой штока 3 под давлением пружинящей проволоки 14, а пластина 15 не препятствует вращению гайки вместе с втулкой, шток 3 надавливает на поршень 4 картриджа. Шток продвигается по резьбе в продольном направлении, так как его вращение предотвращают штырем 17, входящим в зацепление с продольным пазом 8 в штоке. В результате подают дозу, соответствующую показаниям счетчика оборотов.
При необходимости смены картриджа вращением входного вала редуктора, вызывающим вращение втулки 9 против часовой стрелки, производят освобождение штока 3 из резьбового зацепления для возможности свободного продвижения штока 3 в продольном направлении.
Это происходит следующим образом.
Когда свободный конец пластины упирается в углубление 16 в выступе 6 элемента гайки 5, при дальнейшем вращении втулки 9 элемент гайки 5, вращаясь на штифте 13, отодвигается от штока 6, резьба гайки выходит из зацепления с резьбой штока.
Элемент гайки упирается своей внешней стороной во внутреннюю боковую поверхность корпуса 1, препятствуя дальнейшему вращению втулки 9.
Этот момент определяют по возросшему усилию на входном валу редуктора.
При снятии усилия на входном валу редуктора элемент гайки остается в указанном положении, так как давления пружинящей проволоки 14 на элемент гайки, вызывающего вращение втулки 9, недостаточно для того, чтобы провернуть шестерни редуктора со стороны выходного вала из-за большого передаточного числа редуктора и, соответственно, большой результирующей силы трения покоя, вызванной хотя бы наличием силы трения покоя на входном валу редуктора и на осях промежуточных шестерен, особенно ближайших к входному валу редуктора.
После освобождения штока 3 из резьбового зацепления можно вставлять картридж с лекарством.
Следует отметить, что шток 3 никогда не выступает за пределы отсека для картриджа, поэтому при смене картриджа нет опасности поломки или сгибания штока в поперечном направлении.
После установки картриджа с лекарством без иглы (или катетера) и фиксации его в корпусе с помощью головки 25, если картридж заполнен лекарством полностью, шток будет введен во втулку до упора и можно переводить устройство в режим подачи дозы. Если картридж заполнен лекарством не до конца, то следует перевернуть устройство картриджем вниз. Тогда шток 3 соскользнет вниз и упрется в поршень 4 картриджа. Именно в этом положении надо переводить устройство в режим подачи дозы.
Предлагаемое устройство переводится в режим подачи дозы вращением входного вала редуктора, вызывающим вращение втулки 9 по часовой стрелке. При этом элемент гайки 5 выходит из зацепления со свободным концом упругой пластины 15, резьба гайки входит в зацепление с резьбой штока и устройство готово к подаче дозы.
Этот момент может быть определен по показаниям счетчика оборотов 24, так как число оборотов от начала вращения до этого момента известно, или по возросшему усилию на входном валу редуктора, так как жидкий лекарственный препарат не будет вытекать из картриджа без иглы (или катетера) и поршень невозможно будет вдавить в картридж.
Фрикционное соединение 22 для ручного привода служит для того, чтобы избежать поломки механизма дозирования в случаях возросшего усилия на входном валу редуктора. При этом вращение ручки не передается на входной вал редуктора и изменения показаний счетчика прекращаются. Когда используют электромеханический привод, всегда можно ограничить мощность привода для предотвращения поломки механизма в упомянутых случаях.
В случае когда усилие на входном валу редуктора возрастает из-за отсутствия иглы или перегиба катетера, имеется еще одно свойство механизма, предохраняющее его от поломки. При вращении входного вала редуктора, вызывающего вращение втулки 9 с элементом гайки 5 по часовой стрелке, возрастает давление элемента гайки 5 на шток 3 (и наоборот), которое становится достаточным для того, чтобы отодвинуть гайку от штока, преодолевая сопротивление пружинящей проволоки. Шток выйдет из зацепления с элементом гайки и резьба на них не будет разрушена.
Был изготовлен и опробован опытный образец предлагаемого устройства.
Испытания показали работоспособность устройства. Освобождение штока в предлагаемом устройстве происходит при повороте втулки всего на 10-15 град.
Формула изобретения
1. Устройство для дозированной инъекции лекарственного препарата, состоящее из картриджа, корпуса, установленного на нем держателя картриджа с лекарственным препаратом, механизма дозирования дозы препарата, выполненного в виде штока с поршнем, предназначенным для выдавливания препарата из картриджа, и содержащего элемент гайки и ответную резьбовую часть, и механизма продвижения штока во время инъекции, отличающееся тем, что оно содержит механизм внешнего давления, предназначенный для создания резьбового зацепления между элементом гайки и ответной резьбовой частью, и механизмы стопорения элемента гайки и ответной резьбовой части, причем ответная резьбовая часть выполнена на штоке, установленном с возможностью продольного перемещения относительно корпуса, а механизм продвижения штока выполнен в виде втулки, связанной с приводом ее вращения, при этом на торце втулки с возможностью поворота относительно нее установлен элемент гайки, представляющий собой сектор диска, один конец которого свободно подвешен на штифте, а механизм внешнего давления выполнен в виде пружинящей проволоки, контактирующей с элементом гайки и втулкой.
2. Устройство для дозированной инъекции по п.1, отличающееся тем, что механизмы стопорения элемента гайки и ответной резьбовой части установлены на корпусе.
3. Устройство для дозированной инъекции по п.1, отличающееся тем, что механизм стопорения элемента гайки установлен на корпусе и выполнен в виде упругой пластины, которая имеет контакт с выступом элемента гайки.
4. Устройство для дозированной инъекции по п.1, отличающееся тем, что механизм стопорения ответной резьбовой части выполнен в виде штыря входящего в зацепления с продольным пазом, выполненным на штоке.
РИСУНКИ
|