|
|
(21), (22) Заявка: 2007148687/14, 24.12.2007
(24) Дата начала отсчета срока действия патента:
24.12.2007
(46) Опубликовано: 10.06.2009
(56) Список документов, цитированных в отчете о поиске:
SU 1088699 А, 30.04.1984. SU 1161107 А, 15.06.1985. SU 1734742 А1, 23.05.1992. FR 2359603 А1, 24.02.1978.
Адрес для переписки:
652050, Кемеровская обл., г. Юрга, ул. Ленинградская, 26, ЮТИ ТПУ, Д.А. Чинахову
|
(72) Автор(ы):
Лелюх Борис Федорович (RU)
(73) Патентообладатель(и):
Государственное образовательное учреждение Высшего профессионального образования Томский политехнический университет (RU)
|
(54) ТРОСТЬ ДЛЯ ИНВАЛИДОВ ПО ЗРЕНИЮ
(57) Реферат:
Изобретение относится к медицинским приспособлениям для инвалидов по зрению. Трость для инвалидов по зрению содержит штангу белого цвета с рукояткой для удержания. Рукоятка выполнена с овальным сечением и имеет возможность фиксации винтовым зажимом при установке к штанге под удобным углом. На другом конце штанги жестко закреплены: поперечина с осями по концам со свободно насаженными на них колесами и стойка с двумя коническими подвижными тарелками из упругого металла и пружиной между ними. Тарелки установлены с возможностью соударения. В результате трость позволяет уменьшить утомляемость инвалидов и исключить необходимость простукивания дороги перед собой. 3 ил.
Изобретение относится к медицинским приспособлениям, конкретно – к тростям для инвалидов по зрению.
Известны трости с острым или обрезиненным наконечником на одном конце и отогнутой рукояткой – для удержания трости пальцами рук – на другом конце штанги. Эти трости принимаются за аналог. За прототип принимается «Палка для слепых» по авторскому свидетельству SU 1088699 (Ищенко В.Б.), 30.04.1984.
Недостатком таких тростей является необходимость непрерывно простукивать дорогу перед собой, т.е. делать тысячи ударов, что очень утомительно, даже при очень легкой трости.
Цель данного изобретения – уменьшить утомляемость инвалида, разработав конструкцию трости, исключающую необходимость простукивания дороги для получения информации о ее рельефе.
Задача решалась с учетом того, что инвалиды по зрению имеют повышенную чувствительность слуха и кожи пальцев (тактильную).
Поставленная цель достигается тем, что трость для инвалидов по зрению, содержащая штангу (белого цвета) с поворотной рукояткой овального сечения, фиксируемой в нужном положении винтовым зажимом -на одном конце, а на другом конце – жестко закрепленную на середине своей длины поперечину с двумя осями по концам, на которых могут свободно вращаться колеса; в месте крепления поперечины к штанге жестко закреплена перпендикулярно поперечине и штанге стойка, на которой подвижно закреплены на некотором расстоянии друг от друга две конические тарелки, разделенные пружиной. Сущность заявляемого поясняется чертежами, где
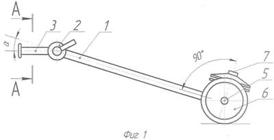
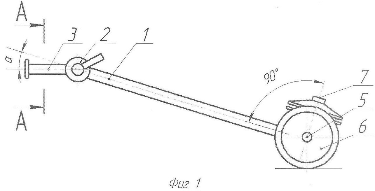
на фиг.1 изображена трость для инвалидов по зрению – вид сверху;
на фиг.2 – то же, вид сбоку;
на фиг.3 – разрезы по А-А на фиг.1 и по Б-Б на фиг.2.
Трость состоит из штанги 1 белого цвета, на одном конце которой посредством винтового зажима 2 установлена поворотная рукоятка 3 овального сечения, расположенного так, что большая ось овала параллельна поперечине 4, установленной на другом конце штанги 1. По концам поперечины 4 соосно с ней установлены оси 5 со свободно сидящими на них колесами 6. В месте крепления к штанге 1 поперечины 4 перпендикулярно плоскости, в которой они расположены, установлена стойка 7 с двумя, расположенными на ней на некотором расстоянии друг от друга, коническими тарелками 8, между которыми находится пружина 9.
Трость работает следующим образом.
Трость берется за рукоятку 3 в левую или правую руку, колеса 6 опускаются на дорогу. Это – рабочее положение. Оценивается удобство расположения рукоятки 3. При необходимости, разжав винтовой зажим 2, корректируют ее расположение, изменяя угол отгиба . Потом начинается движение. При попадании одного из колес 6 в выбоину поперечина 4 перекашивается под действием силы тяжести. Этот перекос по штанге 1 передается на рукоятку 3, а она, будучи овальной в сечении, через тактильные ощущения пальцев и ладони сигнализирует об этой выбоине инвалиду, который реагирует на этот сигнал, сообразуясь со своим опытом.
При провале обоих колес 6 (например, сход колес со ступеньки лестницы или провал их в обрыв) конец трости падает до касания штангой 1 края провала (ступеньки или обрыва). При встрече штанги 1 с краем, она испытывает торможение (удар от падения). При этом верхняя тарелочка 8 под действием перегрузки от удара сожмет пружину 9 и произойдет соударение тарелочек 8 краями. Так как тарелочки 8 изготовлены коническими из тонкого листа упругого металла, то их соударение вызовет звучание, которое вместе с тактильным сигналом, переданным по штанге 1 на рукоятку 3, из-за удара штанги 1 о край обрыва предупредит инвалида об опасности.
Формула изобретения
Трость для инвалидов по зрению, содержащая штангу с рукояткой для удержания, отличающаяся тем, что штанга имеет поверхность белого цвета, а рукоятка выполнена с овальным сечением и имеет возможность фиксации винтовым зажимом при установке к штанге под удобным углом, при этом на другом конце штанги жестко закреплены: поперечина с осями по концам со свободно насаженными на них колесами и стойка с двумя коническими подвижными тарелками из упругого металла и пружиной между ними, причем тарелки установлены с возможностью соударения.
РИСУНКИ
|
|