|
|
(21), (22) Заявка: 2008109291/14, 28.02.2008
(24) Дата начала отсчета срока действия патента:
28.02.2008
(46) Опубликовано: 10.06.2009
(56) Список документов, цитированных в отчете о поиске:
КОНОВАЛОВ С.В. Профилактика и лечение ранних и поздних осложнений стомы. Автореф.дисс.канд.мед.наук. 2004, 12. RU 2143228 C1, 27.12.1999. RU 2123807 C1, 27.12.1998. RU 2192178 C1, 10.11.2002. RU 2155029 C1, 27.08.2000. UA 18135 U, 15.10.2006. AM 1085 A1, 08.05.2002. AKLE C.A. Endoprotheses for colonic strictures. Br.J.Surg. 1998, 85(3), 10-4. GOMEZHERRERO H. et al. Placement of colonic stent by percutaneous colostomy in a case of malignant stenosis, Cardiovasc. Inter ent. Radiol., 2001, 24(1), 76-9.
Адрес для переписки:
450000, г.Уфа-Центр, Ленина, 3, БАШГОСМЕДУНИВЕРСИТЕТ, патентный отдел
|
(72) Автор(ы):
Ибатуллин Артур Альбертович (RU), Тимербулатов Махмуд Вилевич (RU), Гайнутдинов Фазыл Мингазович (RU), Биганяков Рашит Ядкарович (RU), Ибатуллин Рустам Тахирович (RU)
(73) Патентообладатель(и):
Государственное образовательное учреждение высшего профессионального образования “БАШКИРСКИЙ ГОСУДАРСТВЕННЫЙ МЕДИЦИНСКИЙ УНИВЕРСИТЕТ ФЕДЕРАЛЬНОГО АГЕНТСТВА ПО ЗДРАВООХРАНЕНИЮ И СОЦИАЛЬНОМУ РАЗВИТИЮ” (ГОУ ВПО БГМУ РОСЗДРАВА) (RU)
|
(54) СПОСОБ ЛЕЧЕНИЯ СТРИКТУР КИШЕЧНЫХ СТОМ
(57) Реферат:
Изобретение относится к медицине, а именно к хирургии. Выполняют рассечение стриктуры. После рассечения стриктуры в устье стомы на 3-4 недели устанавливают стент. Стент выполнен в виде эластичного пластикового цилиндра. Диаметр стента соответствует внутреннему диаметру стомы. Наружная поверхность стента имеет выступ, препятствующий проваливанию в стому. Пространство между стентом и стомой заполняют противовоспалительной мазью. Способ позволяет предотвратить рецидив заболевания. 2 ил.
Изобретение относится к медицине, а именно к хирургии, и может быть применено при операциях по поводу стриктуры кишечных стом.
Известен способ хирургического лечения стриктур пожизненных кишечных стом у больных с тяжелой соматической патологией и квартальным раком, состояние которых не позволяет выполнить реконструкцию стомы (Профилактика и лечение ранних и поздних осложнений колостомы. Коновалов Сергей Вениаминович. Автореферат диссертации на соискание доктора медицинский наук, Санкт-Петербург – 2004, стр.12). Существующий метод, заключающийся в рассечении стриктуры, имеет существенные недостатки: рассечение грануляционной ткани в области стомы, приведшей к развитию стриктуры, сопровождается выраженной кровоточивостью в первые 2-3 суток после операции, что значительно затрудняет выполнение бужирования. В последующем, в ближайшие 3-4 недели, в связи с выраженным рубцовым процессом в области рассеченной стриктуры происходит разрастание грануляционной ткани, приводящее к рецидиву стриктуры, требующей выполнения повторного вмешательства.
Технический результат: предотвращение рецидива заболевания.
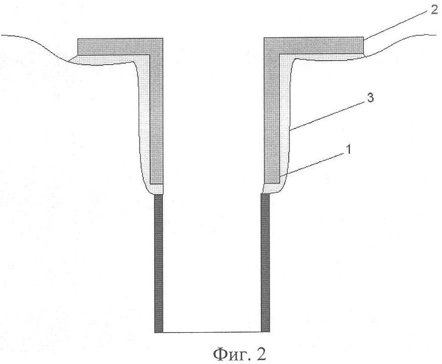
Предлагаемый способ иллюстрируется следующими фигурами: на фиг.1 изображен стент, на фиг.2 – схема способа лечения.
Предлагаемый способ лечения стриктуры кишечной стомы осуществляется следующим образом: после выполнения рассечения стриктуры кишечной стомы в устье стомы устанавливают эластичный пластиковый цилиндр 1 (стент), по диаметру соответствующий внутреннему диаметру стомы. Наружная окружность цилиндра имеет выступ 2, препятствующий проваливанию в стому. Затем пространство 3 между стентом и стомой заполняют антисептической мазью с противовоспалительным и заживляющим эффектом, например левомеколь. В случае необходимости, для кровоостанавливающего эффекта в первые 2-3 суток вокруг стента устанавливают гемостатическую губку, выполняющую роль тампонирования кровоточащей раны. Стент устанавливают на срок 3-4 недели, в течение которого происходит рубцевание и эпителизация в области рассеченной стриктуры. Фиксацию стента осуществляют с помощью калоприемника или лейкопластырем при его отсутствии. Внутренний канал стента беспрепятственно пропускает содержимое кишечника, а сам стент легко снимается и устанавливается самим пациентом во время туалета.
Способ позволяет сократить риск развития рецидива стриктуры стомы в 2,5 раза.
Данный способ применен у 7 онкологических больных со стриктурой кишечной стомы.
Клинический пример:
Больная З. 65 лет поступила в экстренном порядке с клиникой острой толстокишечной непроходимости через 2 суток после начала заболевания. Проведены консервативные мероприятия: инфузионная, спазмолитическая терапия, очистительные клизмы в течение 6 часов без эффекта. Больная оперирована в экстренном порядке. На операции выявлена стриктурирующая опухоль сигмовидной кишки с явлениями толстокишечной непроходимости с увеличенными регионарными лимфатическими узлами. Выполнена резекция сигмовидной кишки по типу Гартмана с наложением концевой сигмостомы. Течение послеоперационного периода осложнилось нагноением параколостомической раны. Через 1,5 месяца после операции при осмотре больной было выявлено наличие стриктуры стомы диаметром менее 5 мм. Было выполнено рассечение стриктуры, даны рекомендации по бужированию стомы пальцем. Через 3 недели больная обратилась с жалобами на затруднение отхождения кала по стоме в связи с ее стриктурой, не пропускающей мизинец. Проведенное обследование выявило наличие множественных метастазов в печени, асцит и явления раковой интоксикации, что явилось противопоказанием для выполнения реконструкции стомы. В связи с этим было выполнено рассечение стриктуры под местной анестезией с установлением стента по описанной методике. Стент удален через 3 недели. При осмотре больной через 2 месяца диаметр стомы составил 1,5 см с эпителиальной выстилкой изнутри.
Формула изобретения
Способ лечения стриктуры кишечной стомы, включающий выполнение рассечения стриктуры, отличающийся тем, что после рассечения стриктуры в устье стомы на 3-4 недели устанавливают стент, выполненный в виде эластичного пластикового цилиндра, диаметр которого соответствует внутреннему диаметру стомы, а наружная поверхность имеет выступ, препятствующий проваливанию в стому, после чего пространство между стентом и стомой заполняют противовоспалительной мазью.
РИСУНКИ
|
|