|
|
(21), (22) Заявка: 2006126333/12, 26.01.2005
(24) Дата начала отсчета срока действия патента:
26.01.2005
(30) Конвенционный приоритет:
30.01.2004 DE 102004004859.2
(43) Дата публикации заявки: 10.03.2008
(46) Опубликовано: 10.06.2009
(56) Список документов, цитированных в отчете о поиске:
DE 4413884 A1, 26.10.1995. DE 19607148 A1, 28.08.1997. DE 19947980 A1, 19.04.2001. EP 0784957 A2, 23.07.1997. DE 19629612 A1, 29.01.1998. KR 10-1996-20924 A, 18.07.1996. RU 2153836 C1, 10.08.2000. SU 1476545 A1, 30.04.1989.
(85) Дата перевода заявки PCT на национальную фазу:
30.08.2006
(86) Заявка PCT:
EP 2005/050324 20050126
(87) Публикация PCT:
WO 2005/072591 20050811
Адрес для переписки:
191186, Санкт-Петербург, а/я 230, “АРС-ПАТЕНТ”, пат.пов. В.М.Рыбакову, рег. 90
|
(72) Автор(ы):
ХАММ Сильвио (DE), ИЛЛИГ Роланд (DE), ШРЁТЕР Йорг (DE)
(73) Патентообладатель(и):
БСХ БОШ УНД СИМЕНС ХАУСГЕРЕТЕ ГМБХ (DE)
|
(54) ПЫЛЕСОС С КАЧАЮЩИМСЯ ЭЛЕМЕНТОМ УПРАВЛЕНИЯ
(57) Реферат:
Качающийся элемент управления предназначен для включения посредством выключателя различных функций электроприбора, в частности пылесоса. Элемент управления выполнен в виде пластины и установлен в подшипниках на электроприборе с возможностью поворота на оси в направлении включения выключателя. Элемент управления имеет ползунок с рабочей поверхностью, который для регулировки рабочего параметра пылесоса имеет возможность перемещения по предусмотренному на элементе управления пути перемещения. Путь перемещения ползунка расположен параллельно оси поворота элемента управления и выше ее. Путь перемещения ползунка и ось поворота расположены в одной плоскости, в которой лежит нормаль к рабочей поверхности ползунка. Вследствие параллельности оси поворота элемента управления и пути перемещения длина плеча силы, приложенной к рабочей поверхности ползунка относительно оси поворота элемента управления, сохраняет постоянное значение при любом положении ползунка. Путем задания такого постоянного плеча силы обеспечивается возможность особенно надежного согласования между ползунком и пластиной элемента управления. 2 н. и 14 з.п. ф-лы, 6 ил.
Область техники
Изобретение относится к пылесосу согласно ограничительной части пункта 1 формулы изобретения.
Уровень техники
Использование в пылесосах элементов управления в виде качающихся (поворотных) пластин для включения различных функций электроприборов общеизвестно. Известно также применение в пылесосах качающихся пластин, содержащих исполнительный элемент, например, ползунковый потенциометр для задания частоты вращения вентилятора пылесоса. В таких пластинах возникает проблема, состоящая в том, что при воздействии на ползунковый потенциометр к пластине прилагается такое усилие, что самопроизвольно включается и управляемый пластиной выключатель.
Из патентного документа DE 19607148 С2 известна качающаяся пластина со встроенным ползунковым потенциометром. В этой пластине предусмотрены упоры, препятствующие самопроизвольному включению выключателя при воздействии на ползунковый потенциометр. Согласно этому решению на внутренней стороне пластины в области, по меньшей мере, одного из элементов управления предусмотрен контрупор, направленный против упора, предусмотренного на корпусе пылесоса, причем, по меньшей мере, один из этих упоров имеет такие очертания в области соприкосновения при срабатывании пластины, что при воздействии на упор и контрупор перпендикулярной силовой составляющей эти упоры соскальзывают друг с друга.
Однако такое решение имеет недостаток, состоящий в том, что для того чтобы упоры могли функционировать, ползунковый потенциометр обязательно должен быть расположен в средней части пластины. Другой недостаток этой конструкции пластины и ползункового потенциометра состоит в том, что усилие, передаваемое на пластину, изменяется в зависимости от положения рабочей поверхности управления ползункового потенциометра. Например, при среднем положении поверхности управления ползункового потенциометра на пластину не передается практически никакого усилия, которое могло бы вызвать включение пластины. В то же время в обоих крайних положениях ползункового потенциометра на пластину передаются через поверхность управления ползункового потенциометра такие усилия, которые приблизительно соответствуют усилию, требующемуся для включения пластины. Это обстоятельство затрудняет конструктивное согласование включения пластины и установки ползункового потенциометра.
Раскрытие изобретения
Задача изобретения состоит в устранении вышеуказанных недостатков. В частности, должна быть создана такая комбинация поворотной (качающейся) пластины с ползунком, при которой на пластину будут передаваться, по меньшей мере, приблизительно одинаковые усилия во время перемещения ползунка.
Согласно изобретению эта задача решена тем, что ход (путь) ползунка направлен, по меньшей мере в основном, параллельно оси поворота (качания) пластины.
Благодаря параллельному расположению оси поворота (качания) пластины и пути (хода) перемещения ползунка длина плеча относительно оси поворота при приложении силы к рабочей поверхности ползунка остается постоянной при любом положении ползунка. Задав значение такого постоянного плеча рычага, можно осуществить надежное согласование между ползунком и элементом управления, выполненным в виде поворотной (качающейся) пластины. Предпочтительные модификации изобретения являются предметом зависимых пунктов формулы изобретения.
Предпочтительно путь перемещения ползунка и ось поворота расположены в одной плоскости, нормальной к рабочей поверхности ползунка, т.е. той поверхности, к которой прикладывает усилие пользователь. Во время перемещения ползунка пользователем к рабочей поверхности ползунка прилагается сила, которая перпендикулярно к рабочей поверхности передается на кулисный элемент управления. Благодаря перпендикулярному положению рабочей поверхности ползунка относительно оси поворота элемента управления сила, приложенная к рабочей поверхности, передается на элемент управления в основном непосредственно вдоль оси поворота. Вследствие этого сила, передающаяся от рабочей поверхности ползунка к элементу управления, не может вызвать включение. Это обеспечивается тем, что приложенное усилие направлено непосредственно вдоль оси поворота элемента управления, не образуя плеча силы. При этом в элементе управления не возникает крутящего момента, который мог бы вызвать его включение. Хотя в идеальном случае приложенное усилие должно проходить прямо через ось поворота элемента управления, однако при данном конструктивном решении, предложенном в изобретении, достаточно, чтобы усилие, приложенное к рабочей поверхности ползунка, передавалось на элемент управления, по меньшей мере, очень близко к его оси поворота. В этом случае, правда, возникнет очень маленькое плечо действия силы и на элемент управления будет действовать очень малый крутящий момент. Однако при надлежащей конструктивной компоновке поворотной (качающейся) пластины и ползунка этот незначительный крутящий момент будет пренебрежимо мал. Такие малые крутящие моменты, действующие на элемент управления, могут быть компенсированы, например, с помощью пружины предварительного напряжения, описанной ниже.
В одном предпочтительном варианте реализации изобретения путь перемещения ползунка проходит над осью поворота элемента управления. Благодаря такой компоновке рабочая поверхность ползунка особенно благоприятным образом выступает из контура элемента управления, что делает пользование предлагаемым в изобретении электроприбором особенно удобным. Благодаря расположению пути перемещения ползунка над осью поворота элемента управления последняя конструктивно перекрывается таким образом, что конструктивные средства, обеспечивающие поворот элемента управления, оказываются в основном скрытыми от взгляда.
Ось поворота может предпочтительно проходить через две подшипниковые втулки, расположенные на элементе управления в лежащих друг против друга планках, между которыми проходит путь перемещения ползунка. В эти подшипниковые втулки входят две расположенные на электроприборе опорные шейки. Преимущество такого конструктивного решения состоит в том, что элемент управления может быть установлен простым способом путем защелкивания на электроприборе. При этом не требуются никакие дополнительные средства крепления для качающейся установки элемента управления на электроприборе. Благодаря этому мероприятию в особенности упрощается монтаж, а следовательно, снижается стоимость изготовления электроприбора. При этом необязательно, чтобы планки с подшипниковыми втулками были выполнены на элементе управления, а опорные шейки – на электроприборе. Планки с подшипниковыми втулками, наоборот, могут быть выполнены на электроприборе, а опорные шейки – на элементе управления. Все же в целях применения более дешевого инструмента для изготовления предлагаемого в изобретении элемента управления предпочтительнее вариант, при котором планки с подшипниковыми втулками предусматриваются на элементе управления.
В одном предпочтительном варианте реализации изобретения ползунок расположен на участке поверхности элемента управления, который, начинаясь от оси поворота, направлен в сторону, противоположную выключателю, так, что сила, приложенная к рабочей поверхности ползунка, воздействует на элемент управления навстречу направлению включения (фиг.6). При этом конкретном решении не преследуется цель передать через рабочую поверхность ползунка как можно меньшую силу на элемент управления или вообще не передавать на него никакой силы. Напротив, при этом конкретном решении на элемент управления должны передаваться через рабочую поверхность ползунка довольно значительные силы, если эти силы воздействуют на поворот элемента управления в направлении, противоположном его направлению включения. Это будет иметь место в особенности в том случае, если ползунок или путь перемещения ползунка будет расположен против направления включения пластины относительно оси поворота.
В альтернативном варианте изобретения ползунок расположен на участке поверхности элемента управления, который, начинаясь от оси поворота, проходит в направлении выключателя, а положение и форма рабочей поверхности ползунка выбраны таким образом, что сила, приложенная к рабочей поверхности, воздействует на элемент управления, проходя через его ось поворота или против направления включения (фиг.2-4). Это предлагаемое изобретением решение основано на том соображении, что определяющим является не то, в каком положении располагается ползунок или, точнее, путь перемещения ползунка относительно элемента управления, а, главным образом, положение и форма рабочей поверхности ползунка определяют, в каком направлении передаются усилия через ползунок на элемент управления. Согласно этому предпочтительному варианту изобретения предлагается придать ползунку, а точнее, его рабочей поверхности такую форму, при которой прилагаемые через рабочую поверхность усилия проходили бы предпочтительно через ось поворота так, чтобы приложенные усилия не могли вызвать поворот элемента управления в направлении его включения. Особенно предпочтительно, если форма ползунка, а точнее, его рабочей поверхности, будет выбрана так, чтобы приложенное усилие действовало на выключатель в направлении, противоположном его направлению включения. Это особенно эффективно препятствует повороту элемента управления в направлении включения при воздействии на ползунок.
Особенно удачная форма ползунка получается согласно изобретению в том случае, если сделать рабочую поверхность ползунка плоской и придать ей наклон относительно участка поверхности элемента управления так, чтобы приложенная к рабочей поверхности сила действовала в направлении, проходящем через ось поворота элемента управления (фиг.5). Благодаря плоской рабочей поверхности ползунка пользователю обозначается предпочтительная рабочая поверхность ползунка, чем в значительной степени обеспечивается, что пользователь будет воздействовать на ползунок именно там, где приложенное к ползунку усилие особенно благоприятно направлено на элемент управления. Наклон рабочей поверхности ползунка относительно элемента управления задает при этом направление приложенного усилия. Наклон выбирается для каждого конкретного случая в зависимости от конструкции элемента управления.
В одном предпочтительном конструктивном исполнении элемента управления согласно изобретению путь перемещения ползунка задается щелевидным отверстием в элементе управления, в котором ползунок перемещается по своему пути на элементе управления. При такой компоновке ползунок может как перемещаться на элементе управления по своему пути, так и располагаться на элементе управления, т.е. ползунок и элемент управления могут изготавливаться заранее, как предварительно собранный конструктивный элемент. Однако ползунок может также только перемещаться по элементу управления, но не закрепляться на нем. В этом варианте ползунок устанавливается не на элементе управления, а непосредственно на электроприборе, и только выступает наружу через щелевидное отверстие на верхней стороне элемента управления.
Для передачи своего перемещения на расположенный на электроприборе ползунковый регулятор ползунок может быть оснащен рычагом, соединенным с ползунковым регулятором. Ползунковым регулятором может, например, быть ползунковый потенциометр, представляющий собой резистор, по которому линейно перемещается токосъемник. Однако такие ползунковые потенциометры относительно дороги, поэтому им обычно предпочитают поворотные потенциометры, так называемые триммеры. Чтобы преобразовать поступательное движение ползунка во вращательное движение поворотного потенциометра, на электроприборе можно предусмотреть вращающийся ходовой винт, ось которого сцеплена с поворотным потенциометром, а винтовой контур – с ползунком. При таком решении желательно, чтобы ползунок для передачи своего линейного движения на пути перемещения по расположенному на электроприборе ползунковому регулятору был соединен с рычагом, сцепленным с ползунковым регулятором. При этом предпочтительно, чтобы рычаг имел насадку, входящую между двумя соединенными с ползунковым регулятором поводками, передающими движение ползунка по пути перемещения на ползунковый регулятор. Несмотря на применение рычага на ползунке, отдельного поводка и винтового передающего элемента, это решение в целом дешевле ползункового потенциометра.
В одном предпочтительном варианте реализации изобретения рычаг проходит через щелевидное отверстие в элементе управления и опирается на электроприбор для восприятия действующих в направлении включения сил, передающихся от рабочей поверхности ползунка. При этом ползунок в основном расположен не на самом элементе управления, а непосредственно на электроприборе. Преимущество такого решения состоит в том, что ползунок в значительной мере отделен от переключаемого элемента управления, а поэтому силы, возникающие при воздействии на ползунок, лишь в незначительной степени передаются на кулисный элемент управления. Приложенные силы в значительной степени передаются непосредственно через опору на электроприборе.
Предлагаемые в изобретении поводки предпочтительно имеют минимальную величину, при которой насадка рычага находится в скользящем зацеплении с поводками при повороте элемента управления в любое положение. С одной стороны, при этом обеспечивается возможность установки ползунком рабочих параметров электроприбора при повороте элемента управления в любое положение. С другой стороны, рычаг ползунка отъединен от поводков потенциометра таким образом, что и при нажатом отклоненном положении элемента управления в материале рычага ползунка не возникает напряжений. Особое преимущество описанной здесь конструкции состоит в том, что и при нажатом в положение включения элементе управления возможна одновременная настройка рабочих параметров электроприбора с помощью ползунка.
Поводки могут быть предусмотрены на кулисе, расположенной на установленном на электроприборе ходовом винте, который преобразует поступательное движение кулисы во вращательное движение для передачи на поворотный потенциометр. Такое решение позволяет заменить дорогой ползунковый потенциометр более дешевым поворотным потенциометром.
Рычаг ползунка может иметь опирающуюся на внутреннюю сторону элемента управления упругую пружинную фиксирующую защелку, которая предохраняет от вытаскивания рычаг ползунка, вставленный в щелевидное отверстие с наружной стороны элемента управления. Благодаря такой конструкции, в частности, упрощается монтаж ползунка на элементе управления. Посредством простого вставления предусмотренного на ползунке рычага в щелевидное отверстие элемента управления обеспечивается надежная установка и перемещение ползунка на элементе управления. Утеря ползунка после его установки на элементе управления становится невозможной. Особенно предпочтительно также то, что для установки ползунка на элементе управления не требуется никаких специальных средств крепления или опор. Благодаря этому изготовление электроприбора, оснащенного предлагаемым в изобретении элементом управления, не требует больших затрат.
В каждом варианте реализации изобретения может быть предусмотрен элемент предварительного напряжения, с помощью которого осуществляется предварительное поджатие элемента управления против направления включения, которое превышает требующуюся для перемещения ползунка силу, приложенную к элементу управления в направлении включения. Элемент предварительного поджатия служит для дополнительной страховки, чтобы даже при очень больших усилиях, приложенных к рабочей поверхности ползунка, дополнительно принимать их на себя так, чтобы к элементу управления прилагались лишь незначительные усилия, могущие вызвать включение элемента управления.
Предлагаемый в изобретении элемент управления может найти применение преимущественно в электрических бытовых приборах, а среди них, главным образом, в пылесосах. Именно в пылесосах требуется, с одной стороны, включать и выключать пылесос с помощью выключателя, а, с другой стороны, во время работы пылесоса устанавливать требуемую мощность. Такая регулировка рабочего параметра и включение функции реализуется с помощью предлагаемого в изобретении элемента управления особенно удобным и приятным для пользователя образом.
Краткий перечень фигур чертежей
Предпочтительный пример реализации элемента управления согласно изобретению рассмотрен ниже с помощью фигур 1-6.
На чертежах представлены:
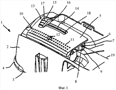
на фигуре 1 – перспективное изображение задней части пылесоса с элементом управления согласно изобретению;
на фигуре 2 – элемент управления в разрезе согласно фиг.1 в нажатом положении в направлении включения;
на фигуре 3 – элемент управления в разрезе согласно фиг.2 в исходном положении
на фигуре 4 – элемент управления в разрезе, опирающийся на корпус пылесоса, в нажатом положении в направлении включения;
на фигуре 5 – элемент управления в разрезе, когда ползунок расположен на линии, проходящей через ось поворота; и
на фигуре 6 – элемент управления в разрезе, когда ползунок расположен на плоском участке, который, начинаясь у оси поворота, отходит в сторону от выключателя.
Осуществление изобретения
На фиг.1 представлен в перспективном изображении вырез корпуса пылесоса 1, в задней части которого расположена крышка 2 корпуса. Крышка 2 корпуса насажена на нижнюю чашу 3 пылесоса 1 и охватывает неизображенные электрические компоненты пылесоса 1, как-то: воздуходувный агрегат, кабельный барабан или электронные элементы управления. Между крышкой 2 корпуса и нижней чашкой 3 проложена противоударная планка 4. На верхней стороне крышки 2 корпуса установлен с возможностью поворота элемент 5 управления. Для установки с возможностью поворота элемент 5 управления имеет две расположенные друг против друга планки 6. В каждой планке 6 установлена подшипниковая втулка 7. Подшипниковые втулки 7 выполнены в виде круглых отверстий в планках 6. В отверстие каждой подшипниковой втулки 7 входит опорная шейка 8. Опорные шейки 8 через посредство подшипникового кронштейна 9 соединяются с крышкой 2 корпуса. Как и планки 6, опорные шейки 8 выполняются в виде цельной конструкции вместе с крышкой 2 корпуса из пластмассы способом литья под давлением. Соединение подшипниковых втулок 7 и опорных шеек 8 представляет собой шарнирное устройство, позволяющее поворачиваться элементу 5 управления, выполненному в виде поворотной пластины.
На переднем участке 10 поверхности элемента 5 управления расположено множество полусферических выступов 11, которые не только указывают пользователю поверхность, нажимая на которую, он может перевести элемент 5 управления в положение включения, но и препятствуют соскальзыванию при нажатии на эту пластину. Для опознания функции, которая может быть введена в действие посредством переключения элемента 5 управления, выполненного в виде поворотной пластины, на верхней стороне элемента 5 управления в средней части участка 10 поверхности с полусферическими выступами 11 выполнено возвышение 12 в виде пиктограммы.
На заднем участке 13 поверхности элемента 5 управления имеется щелевидное отверстие 14. Из щелевидного отверстия выступает рабочая поверхность 15 ползунка 16. На рабочей поверхности 15 управления ползунка 16 также расположены полусферические выступы 17. Щелевидное отверстие 14 задает путь 18 перемещения ползунка, который расположен параллельно оси поворота 19 элемента 5 управления.
На фиг.2 элемент управления 5 изображен в разрезе в нажатом положении в направлении включения. Передний участок 10 поверхности с выступами 11 лежит над приформованным к элементу управления 5 контактным кулачком 20, который в направлении включения нажимает на шток 21 электрического выключателя 22. Выключатель 22 расположен в крышке 2 корпуса. На крышке 2 корпуса закреплен с возможностью поворота вокруг оси 19 элемент 5 управления. Проходящий параллельно оси 19 поворота путь 18 перемещения ползунка выходит из плоскости чертежа в положении, изображенном на фиг.2. На нижней стороне ползунка 16 с поверхностью 15 управления расположен рычаг 23, который неразъемно приформован к ползунку 16. Ползунок 16 посредством проходящего через щелевидное отверстие 14 рычага 23 проходит по элемента 5 управления вдоль пути перемещения ползунка. Рычаг 23 имеет упругую пружинную фиксирующую защелку 24, которая в смонтированном состоянии ползунка 16 прилегает к внутренней стороне 25 элемента 5 управления. На нижнем конце рычага 23 имеется выступ 26, который входит в два расположенных на фиг.2 друг за другом поводка 27. Два разнесенных между собой поводка 27 приформованы к кулисе 28.
Как показано на фиг.3, в кулисе 28 имеется шлиц 29, в который входит ходовой винт 30. К ходовому винту 30 приформована осевая шейка 31, которая в смонтированном состоянии вставлена в поворотный потенциометр 32. При перемещении ползунка 16 рычаг 23 со своим выступом 26 перемещается вдоль пути 18 ползунка. Одновременно выступ 26, сцепленный с поводками 27 кулисы 28, перемещает кулису 28. При движении кулисы 28 ходовой винт 30, входящий в шлиц 29, приводится во вращение. Вращение ходового винта 30 через осевую шейку 31 передается на поворотный потенциометр 32, который включен в неизображенную электрическую схему регулирования воздуходувного агрегата пылесоса 1. На фиг.3 изображен также выполненный в виде спиральной пружины элемент предварительного натяжения 33, который отжимает элемент управления в исходное положение против направления его включения.
На фиг.4 изображен вариант предлагаемого в изобретении элемента 5 управления, при котором ползунок 16 установлен не на элементе 5 управления, а на крышке 2 корпуса. Для этого на приформованном к ползунку 16 рычаге 23 предусмотрены опорные ребра 34, которыми рычаг 23, а следовательно, и ползунок 16, опирается на крышку 2 корпуса. Для того чтобы ползунок 16 мог перемещаться в крышке 2 корпуса, имеется щелевидная дорожка ползунка, в которой ходит и удерживается рычаг 23. Усилие нажатия на рабочую поверхность 15 ползунка 16 передается непосредственно на крышку 2 корпуса и не воздействует на поворотный элемент 5 управления. Для обеспечения надежного разъединения ползунка 16 и элемента 5 управления между собой размер щелевидного отверстия 14 выбран таким, чтобы и при нажатом во включенное положение элементе 5 управления (как показано на фиг.4) не возникало непосредственного контакта между рычагом 23 ползунка 16 и элементом 5 управления.
Еще в одном альтернативном варианте, изображенном на фиг.5, как нормаль к рабочей поверхности 15, так и рычаг 23 ползунка 16 проходят через ось 19 поворота элемента 5 управления. В этом варианте, несмотря на то, что ползунок 16 непосредственно опирается на элемент 5 управления, не возникает никаких усилий, которые могли бы вызвать непреднамеренный поворот элемента 5 управления в направлении включения, так как отсутствует плечо для сил, которые могли бы создать вращающий момент в направлении включения.
В дополнительном альтернативном варианте, изображенном на фиг.6, ползунок расположен на участке поверхности, который, начинаясь от оси поворота, направлен в сторону, противоположную выключателю 22. При этом как нормаль к рабочей поверхности 15, так и рычаг 23 проходят позади оси 19 поворота, т.е. с противоположной выключателю 22 стороны оси 19 поворота. В этом варианте при воздействии на ползунок 16 на элемент 5 управления всегда передается усилие, которое вызывает поворот элемента 5 управления в исходное положение, против направления включения. Таким образом, включение выключателя 22 поворотом элемента 5 управления во время перемещения ползунка 16 становится невозможным.
Формула изобретения
1. Элемент (5) управления для включения функции электроприбора (1) через посредство выключателя (22), установленный в подшипниках на электроприборе (1) с возможностью поворота на оси (19) поворота в направлении включения выключателя (22) и имеющий ползунок (16) с рабочей поверхностью (15), который для регулировки заданного рабочего параметра электроприбора выполнен с возможностью перемещения по предусмотренному на элементе (5) управления пути (18) ползунка, отличающийся тем, что путь (18) перемещения ползунка и ось (19) поворота, по меньшей мере, в основном параллельны друг другу.
2. Элемент управления по п.1, отличающийся тем, что путь (18) перемещения ползунка и ось (19) поворота расположены в одной плоскости, в которой лежит нормаль к рабочей поверхности (15) ползунка (16).
3. Элемент управления по п.1 или 2, отличающийся тем, что путь (18) перемещения ползунка проходит выше оси (19) поворота.
4. Элемент управления по п.1 или 2, отличающийся тем, что ось (19) поворота проходит через две подшипниковые втулки (7), образованные в лежащих друг против друга планках (6) на элементе (5) управления, между которыми проходит путь (18) перемещения ползунка, и в которые входят две расположенные на электроприборе (1) опорные шейки (8).
5. Элемент управления по п.1, отличающийся тем, что ползунок (16) расположен на участке (13) поверхности элемента (5) управления, который, начинаясь от оси (19) поворота, направлен в сторону, противоположную выключателю (22), так что усилие, передаваемое на элемент (5) управления от рабочей поверхности (15) ползунка (16), направлено против направления включения.
6. Элемент управления по п.1, отличающийся тем, что ползунок (16) расположен на участке (13) поверхности элемента (5) управления, который, начинаясь от оси (19) поворота, направлен в сторону выключателя (22), а положение и форма рабочей поверхности (15) ползунка (16) выбраны таким образом, что сила, приложенная к рабочей поверхности (15), проходит через ось (19) поворота.
7. Элемент управления по п.6, отличающийся тем, что рабочая поверхность (15) ползунка (16) выполнена плоской и имеет наклон относительно участка (13) поверхности элемента (5) управления, так что приложенное к рабочей поверхности (15) усилие действует в направлении, пересекающем ось (19) поворота.
8. Элемент управления по одному из пп.1, 2, 5-7, отличающийся тем, что путь (18) перемещения ползунка задается щелевидным отверстием (14) в элементе (5) управления, по которому ползунок (16) перемещается по своему пути (18) на элементе (5) управления.
9. Элемент управления по п.8, отличающийся тем, что ползунок (16) для передачи своего движения по пути (18) перемещения на установленный на электроприборе (1) ползунковый регулятор (28, 30, 32) соединен с рычагом (23), сцепляющимся с ползунковым регулятором (28, 30, 32).
10. Элемент управления по п.9, отличающийся тем, что рычаг (23) проходит через щелевидное отверстие (14) и для восприятия передаваемых через рабочую поверхность (15) ползунка (16) усилий, действующих в направлении включения, опирается на электроприбор (1).
11. Элемент управления по п.9 или 10, отличающийся тем, что рычаг (23) имеет насадку (26), которая помещается между двумя соединенными с ползунковым регулятором (28, 30, 32) поводками (27), передающими движение поводка (16) по пути (18) перемещения на ползунковый регулятор (28, 30, 32).
12. Элемент управления по п.11, отличающийся тем, что поводки (27) имеют минимальную величину, при которой насадка (26) рычага (23) находится в скользящем зацеплении с поводками (27) при повороте элемента (5) управления в любое положение.
13. Элемент управления по п.11, отличающийся тем, что поводки (27) предусмотрены на кулисе (28), которая помещается на установленном в электроприборе (1) ходовом винте (30), преобразующем поступательное движение кулисы (28) во вращательное движение для привода поворотного потенциометра (32).
14. Элемент управления по одному из пп.9, 10, 13, отличающийся тем, что рычаг (23) имеет опирающуюся на внутреннюю сторону элемента (5) управления упругую пружинную фиксирующую защелку (24), которая предохраняет от вытаскивания рычаг (23) ползунка (16), вставленный в щелевидное отверстие (14) с наружной стороны элемента (5) управления.
15. Элемент управления по одному из пп.1, 2, 5-7, 9, 10, 13, отличающийся тем, что предусмотрен элемент (33) предварительного напряжения, с помощью которого осуществляется предварительное поджатие элемента (5) управления против направления включения, которое превышает требующуюся для перемещения ползунка (16) силу, приложенную к элементу (5) управления в направлении включения.
16. Бытовой электроприбор, в особенности пылесос, с элементом (5) управления, заявленным в любом из пп.1-15.
РИСУНКИ
|
|