|
|
(21), (22) Заявка: 2007145167/12, 06.12.2007
(24) Дата начала отсчета срока действия патента:
06.12.2007
(46) Опубликовано: 10.06.2009
(56) Список документов, цитированных в отчете о поиске:
GB 8665 А, 17.07.1913. US 1564301 А, 08.12.1925. RU 28604 U1, 10.04.2003. SU 412884 A, 03.06.1974. SU 208215 A, 20.03.1968. US 6698061 B2, 02.03.2004.
Адрес для переписки:
171256, Тверская обл., г. Конаково, ул. Горького, 8, кв.13, Е.И. Овечкину
|
(72) Автор(ы):
Овечкин Евгений Игоревич (RU)
(73) Патентообладатель(и):
Овечкин Евгений Игоревич (RU)
|
(54) ДЕРЖАТЕЛЬ ДЛЯ ШТОР, ГАРДИН, ЗАНАВЕСОК
(57) Реферат:
Изобретение относится к средствам для крепления штор, гардин, занавесок и других аналогичных предметов к карнизам или направляющим. Держатель выполнен в виде единого конструктивного элемента – кольца. Кольцо 1 имеет в нижней части зажим. Кольцо 1 держателя в его нижней части выполнено разрезным вдоль его продольной и поперечной оси так, что нижняя часть кольца 1 держателя разделена на две симметричные пластины 2 и 3, имеющие в своем поперечном сечении плоские поверхности, которые обращены друг к другу. Торцевые края пластины 2 и 3 нижней части кольца 1 держателя снабжены радиально расположенными приливами 4 и 5, ориентированными наружу от обода кольца 1. Приливы 4 и 5 выполнены под наклоном друг к другу и образуют зажимные губки 6 и 7 зажима. Зажимная губка 7 имеет отверстие 8, а зажимная губка 6 снабжена шипообразным выступом 9, который в рабочем положении держателя размещен в отверстии 8 зажимной губки 7. Технический результат изобретения заключается в обеспечении надежной фиксации полотна шторы, а также гардины или занавески при их размещении на карнизе или направляющих за счет эффективной конструкции зажима. Разработанный держатель отличается усовершенствованной и высокотехнологичной реализацией, поскольку выполнен в виде единого конструктивного элемента. 2 з.п. ф-лы, 3 ил.
Изобретение относится к средствам для крепления штор, гардин, занавесок и других аналогичных предметов к карнизам или направляющим.
Известны различные конструкции держателей для штор, гардин и занавесок, выполненные в виде двух пластин с зубьями на концах и соединяющего их пружинящего элемента (патент Германии 2241460, A47H 13/01; авторские свидетельства 1725740, 1725741, А47Н 13/01; патент Франции 987375, D06F 55/02; патент ФРГ 931369, A47H 13/01). Недостатком подобных зажимов является их определенная конструктивная сложность, материалоемкость и недостаточная эксплуатационная надежность крепления штор.
Известны также держатели для штор и занавесок, выполненные в виде кольца, в нижней части которого закреплен зажим (патент Германии 2630437, A47H 13/01; патент РФ 2050822, А47Н 13/02). Наличие кольца, размещенного на карнизе или на направляющих, повышает удобство перемещения полотна шторы или гардины. Вместе с тем, к недостаткам таких держателей следует отнести их конструктивную сложность (держатель состоит из комбинации нескольких элементов) и недостаточную эксплуатационную надежность зажима.
Известен держатель для шторы, выполненный в виде кольца, имеющего в нижней части зажим (авторское свидетельство 208215, A47H 13/01). Для повышения надежности крепления зажим образован фиксатором, выполненным в виде рамки с выступами, расположенными в нижней части ее внутренней стороны, и приливами, имеющимися на кольце, на один из которых помещен фиксатор, а другой является упором для него. Конструкция зажима не обеспечивает надежности крепления шторы, т.к. небольшие насечки одного прилива и соответствующие выступы другого прилива и механизм заклинивания полотна с помощью фиксатора при взаимодействии не обеспечивают должного усилия между элементами зажима необходимого для надежной фиксации полотна шторы.
Известен держатель для шторы, выполненный в виде комбинированного кольца, имеющего в нижней части зажим (патент GB 8665, класс 44), наиболее близкий по технической сущности к патентуемому изобретению и который выбран в качестве прототипа.
Кольцо держателя выполнено в виде комбинации двух полуколец, соединенных между собой фиксатором, или в виде комбинации пружинного элемента и плоского держателя, содержащего установочную канавку для пружины.
Кольцо держателя в его нижней части выполнено разрезным вдоль его продольной и поперечной оси. Нижняя часть кольца держателя разделена на две симметричные пластины, имеющие в своем поперечном сечении плоские поверхности, обращенные друг к другу. Торцевые края пластин снабжены радиально расположенными приливами, ориентированными наружу от обода кольца держателя и расположенными параллельно друг другу. Приливы образуют зажимные губки зажима. Одна из зажимных губок имеет отверстие, а другая снабжена полусферическим выступом, установленным с возможность взаимодействия с отверстием зажимной губки.
Держатель имеет ограничитель максимальной деформации кольца и продольного перемещения зажимных губок.
Анализ показывает, что держатель по патенту GB 8665 не обеспечивает надежности крепления шторы, т.к. приливы, образующие зажимные губки, выполнены параллельно друг другу, а отверстие одной зажимной губки и соответствующий полусферический ответный выступ другой зажимной губки не обеспечивают должного усилия между элементами зажима необходимого для надежной фиксации полотна шторы.
К недостаткам держателя-прототипа следует отнести неэффективную конструкцию ограничителя максимальной деформации кольца и конструктивную сложность комбинированного кольца, который выполнен из нескольких составных элементов.
Настоящее изобретение решает задачу повышения надежности фиксации полотна шторы, гардины или занавески при их размещении на карнизе и направляющих, а также упрощения конструкции держателя и повышения технологичности его изготовления.
Решение поставленной задачи достигается следующим образом.
Держатель для штор (гардин или занавесок) аналогичен держателю по патенту GB 8665 и выполнен в виде кольца, имеющего в нижней части зажим. Кольцо держателя в его нижней части выполнено разрезным вдоль его продольной и поперечной оси так, что нижняя часть кольца держателя разделена на две симметричные пластины, имеющие в своем поперечном сечении плоские поверхности, которые обращены друг к другу. Торцевые края пластин снабжены радиально расположенными приливами, ориентированными наружу от обода кольца держателя. Приливы образуют зажимные губки зажима, расположенные с возможностью продольного перемещения относительно друг друга. Держатель снабжен ограничителем максимальной деформации кольца и продольного перемещения зажимных губок, согласно патентуемому изобретению кольцо держателя выполнено в виде единого конструктивного элемента, одна из зажимных губок имеет отверстие, а другая снабжена шипообразным выступом, установленным с возможностью взаимодействия с отверстием зажимной губки. Приливы, образующие зажимные губки и расположенные на торцевых краях поверхности сечения, выполнены под наклоном друг к другу.
Патентуемое изобретение предусматривает, что ограничитель максимальной деформации кольца и продольного перемещения зажимных губок образован двумя соответствующими торцевыми краями кольца держателя, каждый из которых ограничивает плоский участок пластины нижней части кольца.
Согласно изобретению кольцо держателя может быть выполнено из различных материалов: пластмассы, металла и других эластичных материалов.
Технический результат патентуемого изобретения заключается в обеспечении надежной фиксации полотна шторы (гардины, занавески) при их размещении на карнизе или направляющих за счет эффективной конструкции зажима, который предусматривает надежную фиксацию шипообразного выступа одной зажимной губки, имеющего оптимальную длину и конфигурацию в оппозитном ему отверстии другой зажимной губки, имеющей адекватные размеры и конфигурацию.
Разработанный держатель отличается усовершенствованной и высокотехнологичной конструкцией, поскольку выполнен в виде единого конструктивного элемента, что соответственно исключает необходимость каких-либо сборочных операций, характерных для большинства держателей аналогичного назначения, при этом изготовление патентуемого держателя легко реализовать на современном технологическом оборудовании.
Сущность изобретения поясняется примером конкретной реализации патентуемого держателя и графическими материалами, на которых представлены:
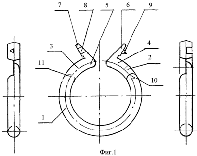
Фиг.1 – общий вид держателя с разведенными губками зажима;
Фиг.2 – общий вид держателя в рабочем положении;
Фиг.3 – вид держателя сбоку.
Держатель для штор, гардин и занавесок выполнен в виде кольца, имеющего в нижней части зажим.
Кольцо 1 держателя (фиг.1) в его нижней части выполнено разрезным вдоль его продольной и поперечной оси так, что нижняя часть кольца 1 держателя разделена на две симметричные пластины 2 и 3, имеющие в своем поперечном сечении плоские поверхности, которые обращены друг к другу.
Кольцо 1 держателя может быть выполнено из пластмассы, металла и других материалов, обладающих эластичными свойствами, например из полипропилена или каплена. Геометрические размеры кольца 1 могут быть различными в зависимости от выбранного материала, конструкции карниза и направляющих. В частности, кольцо держателя может быть выполнено диаметром от 10 до 100 мм, а толщина может составлять от 4-7 до 8-16 мм.
Торцевые края пластины 2 и 3 нижней части кольца 1 держателя снабжены радиально расположенными приливами 4 и 5, ориентированными наружу от обода кольца 1. Приливы 4 и 5 выполнены под наклоном друг к другу и образуют зажимные губки 6 и 7 зажима.
В рабочем положении держателя (фиг.2) зажимные губки 6 и 7 сомкнуты, плотно прижаты друг к другу, а плоские поверхности пластин 2 и 3 нижней части кольца 1 обращены друг к другу. Зажимные губки 6 и 7 расположены с возможностью продольного перемещения относительно друг друга. Зажимная губка 7 имеет отверстие 8, а зажимная губка 6 снабжена шипообразным выступом 9, который в рабочем положении держателя размещен в отверстии 8 зажимной губки 7 (фиг.3). В патентуемом держателе надежная фиксация полотна шторы достигается:
– высокими эластичными свойствами кольца 1, которые обеспечивают высокий уровень прижатия зажимных губок 6 и 7 друг к другу;
– оптимальной длиной шипообразного выступа 9, которая подобрана с учетом толщины прилива 4 и 5, а также с учетом размеров и конфигурации отверстия 8 зажимной губки 7.
Для повышения долговечности работы и исключения возможности разрушения держателя при превышении допустимой деформации кольца 1 в процессе крепления полотна шторы держатель снабжен ограничителем максимальной деформации кольца 1 и продольного перемещения зажимных губок 6 и 7, который образован двумя соответствующими торцевыми краями 10 и 11 кольца держателя.
Торцевые края 10 и 11 кольца 1 ограничивают соответственно общую конструктивную длину плоских поверхностей пластин 2 и 3 нижней части кольца 1. В рабочем положении держателя (фиг.2) между зажимными губками 6 и 7 и торцевыми краями 10 и 11 предусмотрены плоские участки 12 и 13, которые обеспечивают возможность перемещения зажимных губок 6 и 7 в процессе деформации кольца 1 при навешивании полотна шторы. Конструктивная длина плоских участков 12 и 13 определяется расчетным путем и зависит, в частности, от диаметра кольца 1 и его материала. Оптимальная длина плоских участков 12 и 13 обеспечивает оптимальный зазор между зажимными губками 6 и 7 при деформации кольца 1 в процессе крепления полотна шторы и исключает разрушение кольца 1 за счет ограничения максимального хода зажимных губок.
Патентуемый держатель используют следующим образом.
На карнизе или направляющих размещают необходимое количество держателей, которые ориентируют зажим вниз. При деформации боковых поверхностей кольца 1 зажимные губки 6 и 7 перемещаются соответственно по плоским участкам 12 и 13 пластин 2 и 3, что приводит к образованию зазора между зажимными губками. Удерживая кольцо 1 в деформированном положении, в образовавшийся зазор между губками 6 и 7 вставляют полотно шторы (гардины, занавески) и отпускают кольцо 1. При снятии усилий деформации с боковых сторон кольца 1 зажимные губки 6 и 7 возвращаются в исходное положение, при этом шипообразный выступ 9 зажимной губки 6 входит в отверстие 8 зажимной губки 7, обеспечивая тем самым надежную фиксацию полотна шторы между зажимными губками 6 и 7 на карнизе или направляющих. Аналогичную операцию по закреплению полотна шторы проводят со всеми держателями.
Испытания опытной партии патентуемого держателя подтвердили его эксплуатационную прочность, простоту и удобство в применении, а также высокую надежность крепления полотна штор, гардин и занавесок, что обуславливает:
– несомненные преимущества разработанной конструкции по сравнению с устройствами аналогичного назначения;
– объективные перспективы массового производства и широкого использования патентуемого держателя на территории РФ и ближнего и дальнего зарубежья.
Формула изобретения
1. Держатель для штор, гардин, занавесок, выполненный в виде кольца, имеющего в нижней части зажим, кольцо держателя в его нижней части выполнено разрезным вдоль его продольной и поперечной осей так, что нижняя часть кольца держателя разделена на две симметричные пластины, имеющие в своем поперечном сечении плоские поверхности, которые обращены друг к другу, торцевые края пластин снабжены радиально расположенными приливами, ориентированными наружу от обода кольца держателя, приливы образуют зажимные губки зажима, расположенные с возможностью продольного перемещения относительно друг друга, при этом держатель снабжен ограничителем максимальной деформации кольца и продольного перемещения зажимных губок, отличающийся тем, что кольцо держателя выполнено в виде единого конструктивного элемента, одна из зажимных губок имеет отверстие, а другая снабжена шипообразным выступом, установленным с возможностью взаимодействия с отверстием зажимной губки, приливы, расположенные на торцевых краях поверхности сечения, выполнены под наклоном друг к другу, а ограничитель максимальной деформации кольца и продольного перемещения зажимных губок образован двумя торцевыми краями кольца держателя, каждый из которых ограничивает соответствующий плоский участок пластины нижней части кольца.
2. Держатель по п.1, отличающийся тем, что кольцо держателя выполнено из пластмассы, металла.
3. Держатель по п.1, отличающийся тем, что кольцо держателя выполнено диаметром от 10 до 100 мм, а толщина составляет от 4-7 до 8-16 мм.
РИСУНКИ
|
|