|
|
(21), (22) Заявка: 2007120722/12, 05.06.2007
(24) Дата начала отсчета срока действия патента:
05.06.2007
(43) Дата публикации заявки: 10.12.2008
(46) Опубликовано: 10.06.2009
(56) Список документов, цитированных в отчете о поиске:
US 5375430 А, 27.12.1994. US 5505010 А, 09.04.1996. JP 10192006 A, 28.07.1998. DE 10041113 A1, 21.03.2002. RU 2050807 C1, 27.12. 1995. KR 20040027579 A, 01.04.2004.
Адрес для переписки:
125009, Москва, Б. Дмитровка, 21/7, кв.38, С.П. Александрову
|
(72) Автор(ы):
Александров Сергей Петрович (RU), Фукалова Ольга Юрьевна (RU)
(73) Патентообладатель(и):
Федеральное агентство по образованию Государственное образовательное учреждение высшего профессионального образования “Российский заочный институт текстильной и легкой промышленности” (RU)
|
(54) ОБУВЬ С ПРИНУДИТЕЛЬНОЙ ВЕНТИЛЯЦИЕЙ И АМОРТИЗАЦИЕЙ
(57) Реферат:
Обувь с принудительной вентиляцией и амортизацией относится к обувной отрасли легкой промышленности. Данная конструкция может быть использована при производстве обуви на среднем каблуке. Обувь содержит верх обуви, основную стельку, вкладную стельку и формованную подошву, включающую каблук, имеющий в своем теле полость для установки трехкамерного пневмонасоса. Пневмонасос имеет три рабочих камеры для подачи воздуха к плантарной части стопы и закрывается сверху вырезанными в основной и вкладной стельках круглыми пластинами, имеющими ряд сквозных прорезей и отверстий. Дно цилиндра трехкамерного пневмонасоса опирается на внутреннюю поверхность полости каблука, а нижний поршень упирается в возвратно-амортизационную пружину. На неходовой поверхности подошвы обуви проделаны каналы системы распределения воздуха, а отверстия в отводных трубопроводах находятся непосредственно под соответствующими отверстиями в основной и вкладной стельках подошвы обуви. Регулировочная шайба через каждые 90° имеет пазы для более прочной фиксации с помощью шариков, расположенных в стенке цилиндра пневмонасоса. В отверстие подошвы, после регулировки, вставляется пробка, состоящая из того же материала. При ходьбе в фазе переднего толчка происходит нарастание нагрузки на пяточную часть обуви, где расположены вырезанные диски в основной и вкладной стельках. Через круглые пластины нагрузка передается к верхнему поршню пневмонасоса. Поршень выдавливает воздух из верхней камеры через отверстия, имеющиеся в нем, а также в основной и вкладной стельках, для обдува и охлаждения пяточно-геленой части стопы. Шток поршня пневмонасоса приводит в движение нижний поршень, который через отводное отверстие выдавливает воздух, находящийся в нижней камере, в распределительную систему воздушных трубопроводов для обдува и охлаждения носочно-пучковой части стопы. При этом он одновременно сжимает возвратно-амортизационную пружину. При заднем толчке в соответствующие камеры нагнетается воздух из внешней среды. Движение воздуха в средней камере происходит в противофазе. Технический результат, который достигается при использовании заявленной обуви, заключается в том, что позволяет повысить комфортность обуви за счет принудительного обдува всей плантарной поверхности стопы и е боковых поверхностей с помощью одного трехкамерного пневмонасоса. 5 з.п. ф-лы, 4 ил.
Изобретение относится к области обувной промышленности, а именно к конструкции принудительно вентилируемой и амортизируемой обуви.
Уровень техники
Наиболее близким по технической сущности является выбранная за прототип конструкция вентилируемой обуви, которая включает в себя трехкамерный пневмонасос, систему забора воздуха из внешней среды и систему распределения воздуха по плантарной поверхности стопы (Александров С.П., Ярдухина С.П. «Обувь с принудительной вентиляцией». Метрологическое обеспечение, стандартизация и сертификация в сфере услуг. Международный сборник научных трудов. Шахты 2007). Распределительная система воздуховодов прототипа направлена выходными отверстиями к зонам плантарной части стопы, выделяющими наибольшее количество пота и естественный доступ воздуха к которым наиболее затруднен. А также содержит среднюю камеру, образованную нижней поверхностью закрепленного в цилиндре диска и верхней поверхностью нижнего поршня, которая обеспечивает обдув и охлаждение стопы при обратном движении нижнего поршня.
Между верхней поверхностью днища цилиндра и нижней поверхностью нижнего поршня расположена возвратная пружина сжатия, с помощью которой осуществляется обратный ход сдвоенных поршней.
Причины, препятствующие получению требуемого результата
Прототип имеет недостаток, заключающийся в том, что зона обдува сконцентрирована в носочно-пучковой части обуви, что оставляет пяточно-геленочную часть без принудительной вентиляции. Пяточную часть стопы, для более полного испарения пота и охлаждения, следует обдувать как по нижней, так и по боковой поверхности пяточной части. Также имеющаяся в прототипе возвратная пружина не регулируется и поэтому нельзя осуществить ее поднастройку на изменяющуюся массу носчика.
Технический результат
Использование предлагаемого изобретения позволяет повысить комфортность обуви за счет принудительного обдува всей плантарной поверхности стопы и ее боковых поверхностей с помощью одного трехкамерного пневмонасоса, две камеры которого работают на обдув носочно-пусковой части, а третья камера – на обдув пяточно-геленочной частей. В процессе обдува происходит испарение выделяемого стопой пота, охлаждение стопы и вынос из внутриобувного пространства паров пота и продуктов взаимодействия пота с внутренними деталями обуви и кожей стопы. Все это повышает гигиенические свойства обуви. Установленная возвратно-амортизационная пружина осуществляет амортизацию тела человека при переднем толчке, а предусмотренная ее регулировка позволяет настраивать амортизационный механизм на любую массу носчика. Все устройство достаточно компактно и может быть вмонтировано в каблук средней высоты (30-40 мм).
Сущность изобретения
Изобретение направлено на решение задачи принудительного обдува воздухом, забираемым из внешней среды, всей поверхности стопы для ее охлаждения и испарения выделяемого пота, а также для амортизации тела человека при переднем толчке в наиболее опасной его фазе, когда кости голени и бедра спрямлены, и реакция от основания передается практически без амортизации к жизненно-важным органам человека.
Существенным отличием предлагаемого изобретения является то, что с помощью одного пневмонасоса осуществляется принудительная вентиляция всей стопы, включая плантарную и боковые части, а также осуществляется амортизация тела человека регулируемым механизмом, поднастраеваемым на любую массу носчика.
Обувь с принудительной вентиляцией и амортизацией содержит верх обуви, основную стельку, вкладную стельку и установленный в полости каблучной части формованной подошвы обуви трехкамерный пневмонасос в виде полого цилиндра с камерами и с отверстиями для поступления воздуха. Она также имеет системы забора воздуха из внешней среды и распределения воздуха по плантарной части стопы с клапанами.
Трехкамерный пневмонасос имеет три рабочих камеры для подачи воздуха к плантарной части стопы, образованные: верхняя камера – между верхним поршнем и жестко закрепленным в теле цилиндра диском, средняя – между жестко закрепленным диском и нижним поршнем, нижняя – между нижним поршнем и регулировочной шайбой, причем нижний поршень упирается в возвратно-амортизационную пружину.
На неходовой поверхности подошвы обуви проделаны каналы системы распределения воздуха, а отверстия в отводных трубопроводах находятся непосредственно под соответствующими отверстиями в основной и вкладной стельках подошвы обуви. В пневмонасосе в верхнем поршне имеются четыре ряда вертикальных сквозных отверстий, содержащие клапан, расположенные на лучах, исходящие из центра верхнего поршня, причем три луча расположены с шагом 90°, а четвертый, направленный в сторону внутреннего свода стопы, находится под углом 45°.
Регулировочная шайба с резьбой контактирует с нижней поверхностью возвратно-амортизационной пружины с возможностью при ее повороте регулировать сжатие тарельчатой возвратно-амортизационной пружины для осуществления настройки ее работы под любую массу носчика.
На внутренней поверхности полого цилиндра установлены пружинные фиксаторы через 90° по длине хода регулировочной шайбы, а на боковой поверхности регулировочной шайбы имеются соответствующие пазы, что позволяет производить точную и надежную фиксацию регулировочной шайбы.
На основной стельке выполнен ряд сквозных прорезей размером по ширине ~1 мм, расположенных на лучах, начинающихся от сплошной центральной зоны пяточной части основной стельки, диаметром ~10 мм, причем три луча располагаются с шагом 90°, а четвертый, направленный в сторону внутреннего свода стопы, находится под углом 45° от третьего луча.
Вкладная стелька выполнена в пяточной части с рядом сквозных отверстий, расположенных на четырех лучах, три из которых имеют шаг 90°, а четвертый, направленный к внутреннему своду стопы и находящийся на луче под углом 45° от третьего луча и соответствующих прорезям в основной стельке.
В пяточной части основной стельки имеются четыре ряда сквозных отверстий, расположенных на четырех лучах, три из которых имеют шаг 90°, а четвертый, направленный к внутреннему своду стопы и находящийся под углом 45° от третьего луча, при этом отверстия на лучах основной стельки соединены четырьмя горизонтальными отверстиями, проходящими по направлению четырех лучей и располагающимися в толщине тела основной стельки.
Перечень чертежей
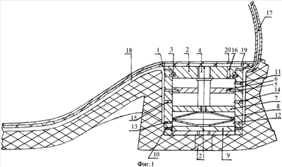
На фиг.1 изображен узел пяточной части обуви с вмонтированным трехкамерным пневмонасосом, имеющим полый цилиндр, два поршня, жестко закрепленный диск, три рабочих камеры, возвратно-амортизационную пружину, регулировочную шайбу, систему трубопроводов с клапанами.
На фиг.2 показана основная и вкладная стельки. На основной стельке вырезана круглая пластина, имеющая прорези для поступления воздуха к пяточной части стопы. На вкладной стельке показана вырезанная круглая пластина с расходящимися рядами сквозных отверстий.
На фиг.3 показана пяточная часть стопы в конструкции обуви с направлением потоков воздуха.
На фиг.4 показана циклограмма работы трехкамерного пневмонасоса.
Сведения, подтверждающие возможность осуществления изобретения.
Описание конструкции в статическом состоянии.
Конструкция обуви состоит из верха обуви, формованной подошвы, включающей в себя каблук, имеющий в своем теле полость для размещения в ней пневмонасоса, системы трубопроводов, размещенных на неходовой поверхности подошвы и в области задника, на которых установлены проходные клапаны, настроенные на определенное давление, и возвратно-амортизационной пружины.
Пневмонасос состоит из полого цилиндра 1, над верхней поверхностью которого располагается верхний поршень 2. Верхним упором для верхнего поршня служит стопорное кольцо 3. Верхний поршень соединен со штоком 4 при помощи резьбы. Также в полом цилиндре устанавливается при помощи четырех стопорных винтов 5 жестко закрепленный диск 6. В жестко закрепленном диске 6 имеется сквозное отверстие, через которое проходит шток 4, в нижней части которого располагается нижний поршень 7, закрепленный при помощи резьбы. Нижний поршень 7 своей нижней поверхностью упирается в возвратно-амортизационную пружину 8 тарельчатого типа, которая в свою очередь своей нижней поверхностью контактирует с регулировочной шайбой 9. Регулировочная шайба 9 на боковой поверхности имеет резьбу, а через каждые 90° имеет пазы для более надежного и точного позиционирования при помощи пружинных фиксаторов 10, находящихся на внутренней поверхности полого цилиндра 1, что позволяет производить настройку возвратно-амортизационной пружины 8 на любую массу носчика. Дно полого цилиндра опирается на внутреннюю полость каблука и так же, как и каблучная часть подошвы имеет соосное отверстие для поднастройки возвратно-амортизационной пружины 8. С внутренней стороны обуви верхний поршень 2 закрывается круглыми пластинами, вырезанными в основной и вкладной стельках.
Таким образом, в полом цилиндре 1 образуются три камеры:
– верхняя камера – между верхним поршнем 2 и жестко закрепленным диском 6;
– средняя камера – между жестко закрепленным диском 6 и нижним поршнем 7;
– нижняя камера – между нижним поршнем 7 и регулировочной шайбой 9.
Также в цилиндре имеются отверстия:
– два отверстия 11 и 12 в верхней и нижней камерах – для поступления воздуха из внешней среды в верхнюю и нижнюю камеры;
– отверстие 13 в нижней камере – для подачи воздуха под давлением в распределительную систему и охлаждения носочно-пучковой зоны стопы;
– отверстие 14 – для подачи воздуха из внешней среды в среднюю камеру;
– отверстие 15 – для подачи воздуха под давление в распределительную систему трубопроводов для испарения пота и охлаждения стопы из средней камеры;
– четыре отверстия 16 в верхнем поршне, расположенные на четырех лучах, три из которых имеют шаг 90°, а четвертый направлен в сторону внутреннего свода стопы и находится на луче под углом 45° от третьего луча – для поступления воздуха из верхней камеры во внутриобувное пространство для обдува и охлаждения пяточно-геленочной части и боковых поверхностей стопы. Все три отверстия цилиндра для поступления воздуха из внешней среды соединены между собой и внешней средой задним трубопроводом 17, а отверстия 13 и 15 нижней и средней камер, для подачи воздуха под давлением в распределительную систему и охлаждения носочно-пучковой части стопы, через передний трубопровод 18.
Система распределения переднего трубопровода находится в соответствующих каналах, проделанных на неходовой поверхности подошвы. Отверстия в отводных трубопроводах находятся непосредственно под соответствующими отверстиями в основной и вкладной стельках.
В соответствии с отверстиями на верхнем поршне 2 на основной стельке в вырезанной круглой пластине выполнен ряд сквозных прорезей размером по ширине ~1 мм, расположенных на лучах, начинающихся от сплошной центральной зоны пяточной части основной стельки, диаметром ~10 мм.
Отверстия в пяточной части вкладной стельки выполнены соосно отверстиям верхнего поршня.
Вариантом конструктивного выполнения круглой пластины основной стельки является четыре ряда сквозных вертикальных отверстий, соответствующих отверстиям на верхнем поршне, и сквозные отверстия вдоль отмеченных четырех рядов, которые просверлены на боковой поверхности в теле круглой пластины, соединяющие отверстия в рядах. Горизонтально расположенные отверстия предназначены для подачи воздуха к боковой поверхности пяточной части стопы.
Устройство в динамическом состоянии
Обувь с принудительной вентиляцией и амортизацией функционирует следующим образом. В фазе переднего толчка при наступлении задним краем каблука на опору пяточная часть стопы надавливает на круглые пластины (фиг.2) вкладной (фиг.2а) и основной (фиг.2б) стелек, которые в свою очередь передают усилие на верхний поршень 2 (фиг.1) пневмонасоса. Верхний поршень 2 (фиг.1), в силу его закрепления на штоке 4, передает усилие на нижний поршень 7 и через него на возвратно-амортизационную пружину 8, которая контактирует с регулировочной шайбой 9.
Под действием усилия со стороны пяточной части стопы верхний поршень 2 и нижний поршень 7 выдавливают воздух, находящийся в верхней и нижней камерах. Из верхней камеры воздух по каналам, просверленным в верхнем поршне 2 (фиг.1), по прорезям 19, проделанным в основной стельке, и по отверстиям 20 во вкладной стельке поступает к плантарной части пяточно-геленочной части стопы и к боковым поверхностям пяточной части (фиг.3). Воздух из нижней камеры через клапан 13 поступает в передний трубопровод 18 для обдува плантарной поверхности носочно-пучковой части стопы. В этой фазе движения клапаны 13, 14, 16 открыты, а клапаны 11, 12, 15 закрыты. При движении нижнего поршня 7 вниз средняя камера заполняется воздухом через клапан 14 и задний трубопровод 17. Происходящее во время движения нижнего поршня 7 вниз сжатие возвратно-амортизационной пружины 8 обеспечивает амортизацию тела человека и накопление энергии возвратно-амортизационной пружиной 8 для обратного хода. Настройка возвратно-амортизационной пружины 8 на определенную массу носчика осуществляется путем поворота регулировочной шайбы 9 по резьбе во внутренней боковой поверхности полого цилиндра 1 и позиционирования регулировочной шайбы 9 фиксаторами 10, помещенными в стенки полого цилиндра. Регулировка осуществляется через отверстия на дне цилиндра полого и нижней поверхности каблука, в последнее после регулировки вставляется пробка 21.
Когда давление со стороны стопы переносится с пяточной части на носочно-пучковую, возвратно-амортизационная пружина 8 распрямляется, осуществляя обратный ход. Нижний поршень 7 и верхний поршень 2 поднимаются вверх. Ограничителем их движения вверх служит стопорное кольцо 3. В нижней и верхней камерах образуется разрежение, из-за чего клапаны 13 и 16 закрываются, а клапаны 11 и 12 открываются и через них воздух поступает по заднему трубопроводу 17 из внешней среды.
Из средней камеры в этой фазе движения воздух выдавливается через клапан 15 в передний трубопровод 18, осуществляя дополнительную вентиляцию носочно-пучковой части стопы.
Порядок работы поршней и клапанов представлен на циклограмме (фиг.4), также представлен график нагрузки на стопу и выделен штрихточечной линией график нагрузки на пяточную часть стопы.
Формула изобретения
1. Обувь с принудительной вентиляцией и амортизацией, содержащая верх обуви, основную стельку, вкладную стельку и установленный в полости каблучной части формованной подошвы обуви трехкамерный пневмонасос в виде полого цилиндра с камерами и с отверстиями для поступления воздуха, а также с системами забора воздуха из внешней среды и распределения воздуха по плантарной части стопы с клапанами, при этом трехкамерный пневмонасос имеет три рабочих камеры для подачи воздуха к плантарной части стопы, образованные: верхняя камера – между верхним поршнем и жестко закрепленным в теле цилиндра диском, средняя – между жестко закрепленным диском и нижним поршнем, нижняя – между нижним поршнем и регулировочной шайбой, причем нижний поршень упирается в возвратно-амортизационную пружину, на неходовой поверхности подошвы обуви проделаны каналы системы распределения воздуха, а отверстия в отводных трубопроводах находятся непосредственно под соответствующими отверстиями в основной и вкладной стельках подошвы обуви, в которой в верхнем поршне имеются четыре ряда вертикальных сквозных отверстий, содержащие клапаны, расположенные на лучах, исходящие из центра верхнего поршня, причем три луча расположены с шагом 90°, а четвертый, направленный в сторону внутреннего свода стопы, находится под углом 45°.
2. Обувь по п.1, отличающаяся тем, что регулировочная шайба с резьбой контактирует с нижней поверхностью возвратно-амортизационной пружины с возможностью при ее повороте регулировать сжатие тарельчатой возвратно-амортизационной пружины для осуществления настройки ее работы под любую массу носчика.
3. Обувь по п.1 или 2, отличающаяся тем, что на внутренней поверхности полого цилиндра установлены пружинные фиксаторы через 90° по длине хода регулировочной шайбы, а на боковой поверхности регулировочной шайбы имеются соответствующие пазы.
4. Обувь по п.1, отличающаяся тем, что на основной стельке выполнен ряд сквозных прорезей размером по ширине ~1 мм, расположенных на лучах, начинающихся от сплошной центральной зоны пяточной части основной стельки, диаметром ~10 мм, причем три луча располагаются с шагом 90°, а четвертый, направленный в сторону внутреннего свода стопы, находится под углом 45° от третьего луча.
5. Обувь по п.1, отличающаяся тем, что вкладная стелька выполнена в пяточной части с рядом сквозных отверстий, расположенных на четырех лучах, три из которых имеют шаг 90°, а четвертый, направленный к внутреннему своду стопы и находящийся на луче под углом 45° от третьего луча, и соответствующих прорезям в основной стельке.
6. Обувь по п.1, отличающаяся тем, что в пяточной части основной стельки имеются четыре ряда сквозных отверстий, расположенных на четырех лучах, три из которых имеют шаг 90°, а четвертый, направленный к внутреннему своду стопы и находящийся под углом 45° от третьего луча, при этом отверстия на лучах основной стельки соединены четырьмя горизонтальными отверстиями, проходящими по направлению четырех лучей и располагающимися в толщине тела основной стельки.
РИСУНКИ
|
|